Конструкция дисковых и барабанных тормозов DAF
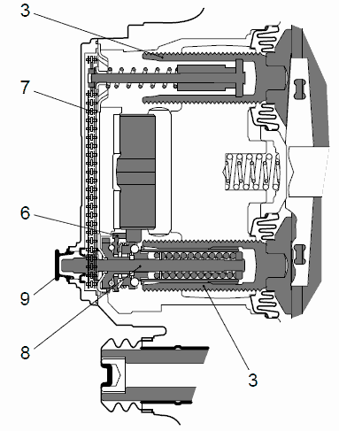
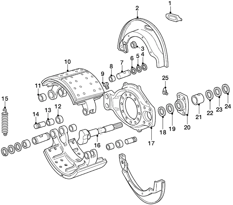
Тормозная скоба в сборе

1 Тормозная скоба
2 Держатель тормозной скобы
3 Резиновая втулка подшипника
4 Винт с внутренним шестигранником
5 Направляющая втулка
6 Крышка
6a Переходник
7 Медная втулка подшипника
8 Направляющая втулка
10 Защитная крышка
11 Винт с внутренним шестигранником
14 Пылезащитная крышка направляющей втулки
15 Шайба
16 Втулки подшипника
17 Тормозная колодка
18 Кронштейн крепления
19 Шайба
20 Контакт
21 Фиксатор
22 Упорные детали с пылезащитными крышками
23 Уплотнительные кольца
* В зависимости от типа датчика износа
Принцип действия
Тормоз
В дисковой тормозной системе используется пневматическая тормозная камера или цилиндр
пружинного тормоза.
Если включить тормоз, толкатель тормозного цилиндра давит на эксцентрически установленный рычаг
(1).
В двух точках с внутренней стороны тормозная колодка прижимается к тормозному диску (4) с помощью переходного колена (2) и резьбовых втулок (3).
Под действием реактивной силы в эксцентрике плавающая тормозная скоба (5) также нажимает на
противоположную тормозную колодку с той же силой.
Если стравить воздух из тормозной камеры или цилиндра пружинного тормоза, под действием пружины в переходном колене (2) переходное колено (2) и рычаг (1) установятся в положение запуска. Это обеспечивает необходимый в положении запуска зазор между тормозной колодкой и тормозным диском.

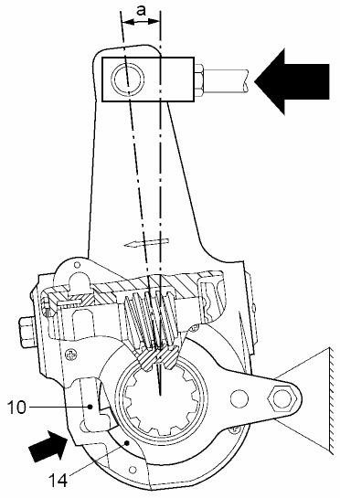
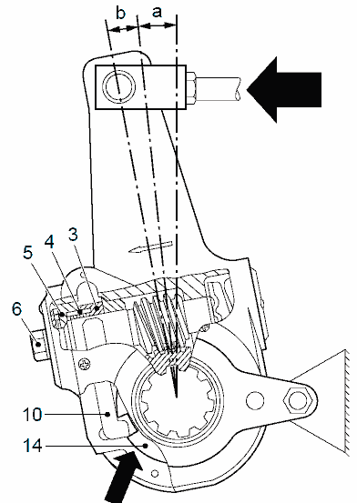
Регулировка
Одна из двух резьбовых втулок (3) оснащена механизмом автоматической регулировки зазора между тормозными колодками и тормозным диском.
Данный регулятор и эксцентрика имеют зубья (6), которые зацепляются друг за друга.
Если зазор очень большой, регулятор (8) вращается с помощью данных зубьев при следующем включении тормоза, и зазор уменьшается.
При условиях нормального зазора регулятор толкает тормозную колодку до начала вращения. Однако если вращение началось, оно поглощается муфтой скольжения.
Вращение регулятора передается другому регулятору по цепи (7).
При снятии резиновой крышки (9) на месте автоматического регулятора открывается шестигранник. С
помощью накидного гаечного ключа можно вручную установить зазор, отрегулировав данный шестигранник.
Тип регулятора 1

Тип регулятора 2

Контроль износа тормозных колодок
В зависимости от типа тормозной скобы она может оборудоваться индикатором износа или проводами
износа тормозных колодок. Они предупреждают водителя об износе тормозных колодок.
Индикатор износа
Индикатор износа, установленный на механизме регулировки тормозной скобы, состоит из резистора и
переключателя (1), соединенных последовательно. Переключатель нормально замкнут, и сопротивление в цепи равно значению резистора.
Если тормозные колодки изношены, цепь размыкается. В результате этого VIC включает предупреждающий символ износа тормозных колодок на щитке приборов.

Провода износа тормозных колодок
Провода износа тормозных колодок установлены на тормозных колодках.
Если тормозные колодки изношены до максимальной толщины, провода протираются. Если провода
протираются, цепь размыкается. В результате этого VIC включает предупреждающий символ износа
тормозных колодок на щитке приборов.
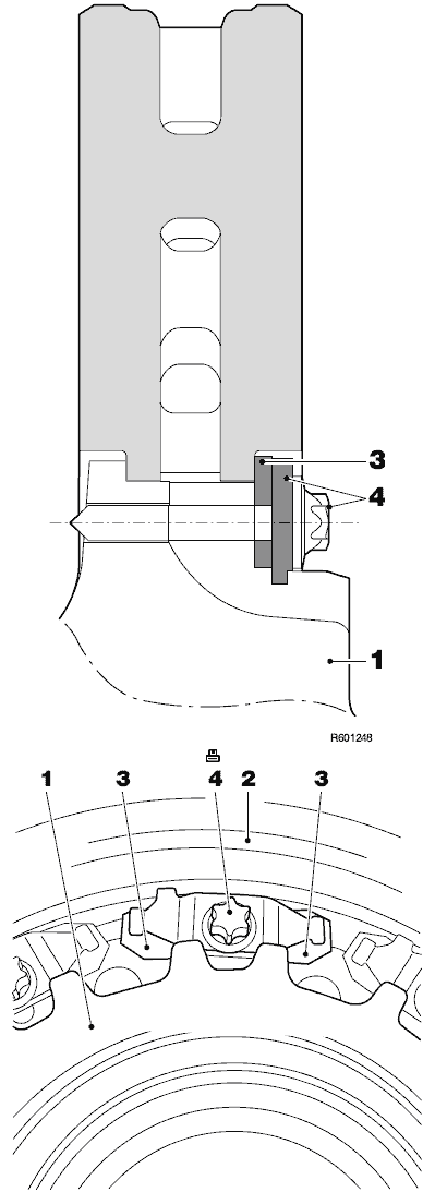
Тормозной диск в сборе

1 Ступица колеса
2 Шлицевой тормозной диск
3 Проставки
4 Пружинные элементы, включая болты
Шлицевой тормозной диск
Свойства
Свободное радиальное расширение при увеличении температуры приводит к сопротивлению тепловой трещины, снижению тепловой деформации и более продолжительному сроку службы тормозного диска.
- Снижение неравномерного износа тормозных колодок.
- Уменьшение веса.
- Снижение уровня шума тормозов за счет прерывающихся элементов.
- Тормозной диск можно снять отдельно от ступицы колеса.
Установка тормозного диска
Шлицевой тормозной диск (2) поддерживается плечом ступицы колеса (1). Тормозной диск (2)
удерживается с помощью пружинных элементов (4). Пружинные элементы (4) прикрепляются к ступице колеса (1) болтами. Проставки (3) между зубьями ступицы колеса (1) и зубьями тормозного диска (2) снижают передачу тепла ступице колеса (1).

Конструкция дисковой тормозной системы
Тормозная скоба в сборе

1. Болт с шестигранной головкой
2. Пружина сжатия
3. Тормозные колодки
4. Кронштейн замка
5. Кабельная планка
6. Винт крепления кабельного зажима
7. Тормозная скоба
8. Крышка
9. Пылезащитная крышка поршня тормоза
10. Пылезащитная крышка направляющей втулки
11. Втулка подшипника
12. Направляющая втулка (короткая)
13. Винт с внутренним шестигранником (короткий)
14. Крышка
15. Винт с внутренним шестигранником (длинный)
16. Направляющая втулка (длинная)
Барабанный тормоз с Z-образным разжимным кулачком в сборе

1 Резиновая втулка
2 Пылезащитная крышка
3 Пылезащитный колпачок
4 Уплотнительное кольцо
5 Регулировочный толкатель
6 Пылезащитная крышка регулировочного толкателя
7 Нажимной штифт
8 Опорная пластина
9 Втулка подшипника
10 Уплотнение Z-образного распределительного вала
11 Уплотнение картера Z-образного распределительного вала
12 Шайба
13 Промежуточный вал
14 Плоская крышка
15 Прокладка
16 Z-образный распределительный вал
17 Болт крепления
18 Шайба
19 Пружинный зажим
20 Пружина "C"
21 Контакт
22 Уплотнительное кольцо
23 Уплотнительное кольцо
24 Стопорное кольцо
25 Шестерня
26 Механизм блокировки регулятора
27 Пружина
28 Регулятор с ручным управлением
2 Пылезащитная крышка
3 Пылезащитный колпачок
4 Уплотнительное кольцо
5 Регулировочный толкатель
6 Пылезащитная крышка регулировочного толкателя
7 Нажимной штифт
8 Опорная пластина
9 Втулка подшипника
10 Уплотнение Z-образного распределительного вала
11 Уплотнение картера Z-образного распределительного вала
12 Шайба
13 Промежуточный вал
14 Плоская крышка
15 Прокладка
16 Z-образный распределительный вал
17 Болт крепления
18 Шайба
19 Пружинный зажим
20 Пружина "C"
21 Контакт
22 Уплотнительное кольцо
23 Уплотнительное кольцо
24 Стопорное кольцо
25 Шестерня
26 Механизм блокировки регулятора
27 Пружина
28 Регулятор с ручным управлением
Общая информация
Тормозные башмаки перемещаются наружу с помощью эксцентрикового Z-образного механизма. Когда Z-образный разжимной кулачок (1) выталкивает упоры (2) наружу, данные части образуют букву "Z", в
результате чего появилось название "Барабанный тормоз с Z-образным разжимным кулачком".

Принцип действия барабанного тормоза с Z-образным разжимным кулачком
Данный барабанный тормоз работает с помощью пневматического цилиндра пружинного тормоза.
Если включить рабочий тормоз или стояночный тормоз, толкатель тормозного цилиндра нажимает на
рычаг тормоза, который соединяется с Z-образным распределительным валом (1). Как только рычаг тормоза поворачивает Z-образный распределительный вал, упоры (2) и регулировочные толкатели (3)
устанавливают ведущий тормозной башмак (4) и ведомый тормозной башмак (7) вплотную к тормозному барабану.
Сразу после выключения рабочего тормоза или стояночного тормоза пружина в тормозной камере
устанавливает толкатель тормозного цилиндра, рычаг тормоза и Z-образный распределительный вал (1) в исходное положение, одновременно под действием пружины "C" (5) тормозные башмаки выходят из тормозного барабана. Это также значит, что регулировочные толкатели (3) и упоры (2)
возвращаются в исходное положение.
Тормозные башмаки (4) и (7) могут свободно переворачиваться на опорных поверхностях
регулировочных толкателей (3) и опорной пластины (6). За счет этого вся контактная поверхность
тормозного башмака вплотную прижимается к тормозному барабану, и, таким образом, башмаки
изнашиваются равномерно.
Автоматический механизм регулировки

Автоматический механизм регулировки установлен в корпусе (1) на опорной пластине (5) для предотвращения проникновения грязи и влаги. Пылезащитная крышка (2) установлена между корпусом и манжетой толкателя (3). Пылезащитный колпачок (4) предотвращает проникновение грязи в регулировочный толкатель (7) и на резьбу манжеты толкателя (3).
В результате износа тормозной колодки увеличивается зазор между тормозным башмаком и тормозным барабаном. Если зазор между тормозным башмаком и тормозным барабаном превышает заданное значение, автоматический механизм регулировки регулирует зазор обоих тормозных башмаков.
Принцип действия автоматического механизма регулировки
Зазор между тормозным башмаком и тормозным барабаном в основном определяется зазором между
винтовым зубцом толкателя (7) и винтовым зубцом шестерни (9). При включении тормозов Z-образный
разжимной кулачок (12) выталкивает регулировочный толкатель (7) наружу через упор (8). Если зазор между тормозными башмаками и тормозным барабаном соответствует техническим условиям, зазор между винтовым зубцом регулировочного толкателя (7) и винтовым зубцом шестерни (9) компенсирует смещение регулировочного толкателя (7), и зазор между тормозными башмаками и тормозным барабаном не регулируется.
Регулировка
В случае износа тормозных башмаков регулировочный толкатель (7) продвинется далее наружу, если
включить тормоза. Поскольку регулировочный толкатель (7) продвигается далее наружу, любой
зазор между винтовым зубцом регулировочного толкателя (7) и винтовым зубцом шестерни (9)
устраняется. В результате шестерня (9) также поворачивается, и за счет этого, в свою очередь, она
поднимается с конусного седла в корпусе (1).


Регулировочный толкатель (7) возвращается назад под действием тормозного башмака (13), если выключить тормоза. В результате шестерня (9) также возвращается, и устанавливается в конусное седло корпуса (1). Как только шестерня (9) устанавливается в седло в корпусе (1), она больше не может вернуться назад. Поскольку шестерня (9) больше не может вернуться назад, в результате вталкивания регулировочного толкателя (7) сам толкатель повернется. Как только регулировочный толкатель (7) повернутся, и манжета толкателя (3) заблокируется на месте с помощью тормозного башмака (13), манжета толкателя (3) переместится наружу. В результате этого зазор между тормозными башмаками
и тормозным барабаном уменьшится.
Вращательное движение регулировочного толкателя (7) со стороны шестерни механизма регулировки передается на другой толкатель по поперечному валу (6). Таким образом, оба тормозных башмака регулируются одновременно.

Механизм блокировки (10) ограничивает заднее расстояние шестерни (9) во время движения вниз. Это предотвращает случайный сброс тормозных башмаков во время движения шестерни (9) внутрь и наружу.
Ручной сброс и настройка тормозных башмаков
Перед снятием тормозного барабана необходимо сбросить тормозные башмаки. С помощью ручного регулятора (11) поверните шестерню (9) и регулировочные толкатели (7), чтобы снять тормозные башмаки с барабана.
После установки тормозного барабана с помощью ручного регулятора (11) установите первоначальный зазор между тормозными башмаками и тормозным барабаном.
Барабанный тормоз с S-образным разжимным кулачком в сборе

1 Резиновое уплотнение
2 Пылезащитная крышка
3 Резиновое уплотнение
4 Стопорная шайба
5 Шайба
6 Войлочное кольцо
7 Крепежный штифт
8 Втулка подшипника
9 Стопорный болт
10 Тормозной башмак
11 Втулка подшипника
12 Направляющий цилиндр
13 Втулка подшипника
14 Штифт
15 Пружина
16 S-образный распределительный вал
17 Опорная пластина
18 Шайба
19 Уплотнение
20 Корпус подшипника
21 Втулка подшипника
22 Уплотнение
23 Шайба
24 Стопорная шайба
25 Смазочный ниппель
Общая информация
Тормозные башмаки перемещаются наружу с помощью S-образного разжимного кулачка, поэтому
конструкция называется "Барабанный тормоз с S-образным разжимным кулачком".
Принцип действия барабанного тормоза с S-образным разжимным кулачком
Данный барабанный тормоз работает с помощью пневматического тормозного цилиндра или цилиндра
пружинного тормоза.
Если включить рабочий тормоз или стояночный тормоз, толкатель тормозного цилиндра нажимает на
автоматический регулятор тормоза, который соединяется с S-образным распределительным валом (1). Как только автоматический регулятор тормоза поворачивает S-образный распределительный вал, ведущий тормозной башмак (2) и ведомый тормозной башмак (4) устанавливаются вплотную к
тормозному барабану вокруг их точек вращения (3).
Сразу после выключения рабочего тормоза или стояночного тормоза пружина в тормозной камере
устанавливает толкатель тормозного цилиндра, автоматический регулятор тормоза и S-образный
распределительный вал (1) в исходное положение, одновременно под действием возвратных пружин (5)
тормозные башмаки (2) и (4) выходят из тормозного барабана.

Механизм автоматической регулировки тормоза
Цель
Механизм автоматической регулировки тормоза предназначен для автоматической компенсации любого зазора между тормозной колодкой и тормозным барабаном, возникшего в результате износа тормозной колодки. В результате ход цилиндра во время торможения остается более менее постоянным.
Принцип действия
В результате износа цилиндра возникает дополнительный зазор между колодкой и барабаном. Он
регулируется во время обратного хода механизма регулировки тормоза.
Ход тормозного цилиндра состоит из трех основных частей:
- основной тормозной ход (a), который соответствует нормальному зазору между колодкой и барабаном;
- дополнительный ход (b), который соответствует дополнительному зазору между колодкой и барабаном, возникшему в результате износа колодки;
- гибкий ход (c), связанный с гибкостью барабана, колодки, башмаков и кулачковым валом тормоза.


1. Корпус
2. Подшипник
3. Шестерня муфты свободного хода
4. Пружина муфты свободного хода
5. Конусное кольцо муфты свободного хода
6. Червячный вал
7. Поворотный подшипник
8. Резьбовая крышка
9. Зубчатое колесо
10. Стойка
11. Держатель пружины
12. Пружина
13. Резьбовая крышка
14. Управляющая пластина
Угол A: угол, соответствующий основному тормозному ходу.
Тормозной ход
Основной тормозной ход (a)
Основной тормозной ход определяется с помощью углубления в управляющей пластине (14),
которая крепится к картеру оси. В исходном положении стойка (10) должна прижиматься к верхнему краю углубления. Если ход превышает угол A, включается регулировочная система. Угол A соответствует основному тормозному ходу (a).

Дополнительный ход (b)
В случае превышения основного хода (a) под действием нижнего края углубления распределительной
пластины (14) стойка (10) поднимается вверх. За счет этого поворачивается зубчатое колесо (3).
Муфта свободного хода, состоящая из пружины (4) и конусной муфты (5), устанавливается между зубчатым колесом (3) и червячным валом (6), обеспечивая свободное вращение в данном направлении.

Во время гибкого хода под действием значительной силы червячный вал (6) перемещается по оси, преодолевая сопротивление пружины (12). В результате этого червячный вал выходит из конической муфты.
Как следствие, коническая муфта может свободно проворачиваться на определенное расстояние во время обратного хода, не вращая червячный вал, пока муфта и червячный вал снова не зацепятся.
С этого момента любое вращение шестерни снова будет влиять на длину хода. Такое построение
приводит к тому, что гибкость задействованного компонента не будет влиять на ход.

Регулировка
Во время хода возврата дополнительного хода (b) стойка (10) опускается вниз под действием верхней части углубления через стойку (10). Теперь зубчатое колесо (3) поворачивается в противоположном направлении, а муфта свободного хода (4) и (5) приводит в действие червячный вал (6). Червячный вал (6) поворачивает зубчатое колесо (9), и за счет этого выполняется регулировка тормоза.

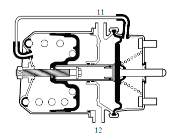
Тормозной цилиндр
Назначение
Тормозной цилиндр предназначен для прижимания тормозных башмаков или колодок к тормозным барабанам/дискам.

Принцип действия
При включении клапана ножного тормоза сжатый воздух поступает с нагнетательной стороны диафрагмы (1). Диафрагма (1) и штанга толкателя (2) выталкиваются наружу, преодолевая давление пружины. В результате этого тормозные башмаки прижимаются к тормозному барабану рычажным механизмом. Воздух на другой стороне диафрагмы может выйти из спускных отверстий и зазора
вокруг штанги толкателя.
После выключения тормозов штанга толкателя и диафрагма под действием винтовой пружины (3) возвращаются в исходное положение.
При выключении тормозов тормозной цилиндр всегда всасывает наружный воздух на стороне без давления.
После выключения тормозов штанга толкателя должна полностью вернуться в исходное положение.
Давление включения не должно превышать 0,5 бар.

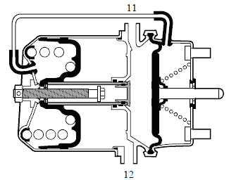
Цилиндр пружинного тормоза
Цель
Цилиндр пружинного тормоза предназначен для прижимания тормозных колодок/башмаков к диску/
барабану при включении рабочего или стояночного тормоза.

Работа цилиндра пружинного тормоза
Цилиндр пружинного тормоза состоит из двух частей: часть рабочего тормоза, которая представляет собой стандартный тормозной цилиндр, и часть для стояночного тормоза, которая представляет собой цилиндр пружинного тормоза.
Нормальное положение во время движения.
Давление в воздушном резервуаре должно находиться на безопасном уровне до начала движения. Если это не так, включается предупреждающий сигнал (например, звуковой).
Если давление подается в цилиндр пружинного тормоза, поршень сжимает мощную пружину. Нагрузка
со штанги толкателя снимается, и тормоз автомобиля выключается под действием пружины и т.д.
Ножной тормоз
Поскольку тормозной цилиндр и цилиндр пружинного тормоза отделены друг от друга, пружинный
тормоз не может влиять на работу рабочего тормоза.
При включении рабочего тормоза мощная пружина продолжает сжиматься, пока на диафрагму
тормозного цилиндра оказывается давление воздуха. При включении клапана ножного тормоза сжатый
воздух поступает через точку подключения 11 в пространство за диафрагмой.
Диафрагма со штангой толкателя выталкивается, преодолевая сопротивление пружины.
Воздух на другой стороне диафрагмы может выходить из выпускных отверстий. После выключения
тормозов штанга толкателя и диафрагма под действием пружины возвращаются в исходные положения.

Стояночный тормоз
В точке подключения 12 стравливается воздух.
После этого мощная пружина перемещает поршень с плунжером в направлении диафрагмы, выталкивая
штангу толкателя. В данной ситуации используется постоянная энергия сжатой мощной пружины.

Механическая разблокировка, цилиндр пружинного тормоза с болтом разблокировки
Если из-за неисправности в цилиндре пружинного тормоза отсутствует сжатый воздух, автоматически
включаются тормоза автомобиля.
Однако буксировка автомобиля все равно возможна.
Для этих целей в задней части цилиндра пружинного тормоза имеется разъединяющий болт. Если
повернуть данный болт против часовой стрелки гаечным ключом, мощная пружина сжимается.
Поскольку болт поставляется с упорным подшипником, необходимый момент затяжки не превышает 20-40 Нм.
Для указанного действия запрещается использовать гаечный ключ с пневматическим приводом.

После устранения неисправности и при наличии достаточного количества сжатого воздуха можно впустить воздух в цилиндр пружинного тормоза, используя клапан управления.
После этого нужно завернуть разъединяющий болт гаечным ключом и затянуть необходимым моментом.
Давление в контуре цилиндра пружинного тормоза должно быть не менее 6,5 бар.
Механическая разблокировка, цилиндр пружинного тормоза со штифтом управления
Если повернуть данный болт против часовой стрелки гаечным ключом, мощная пружина сжимается.
Поскольку болт поставляется с упорным подшипником, необходимый момент затяжки не превышает 20-40 Нм.
После поворота разъединяющего болта из его центральной части появляется штифт управления.
Поскольку в цилиндре пружинного тормоза имеется внутренний винтовой механизм, разъединяющий болт не высовывается при повороте.
Для указанного действия запрещается использовать гаечный ключ с пневматическим приводом.

После устранения неисправности и при наличии достаточного количества сжатого воздуха можно впустить воздух в цилиндр пружинного тормоза, используя клапан управления.
После этого нужно завернуть разъединяющий болт гаечным ключом и затянуть необходимым моментом.

Штифт управления передвигается назад внутрь при полном повороте разъединяющего болта. Давление в контуре цилиндра пружинного тормоза должно быть не менее 6,5 бар.
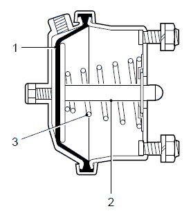
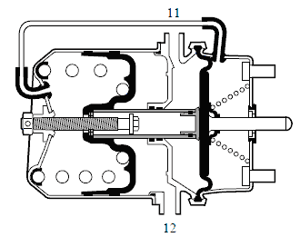
Трубка сапуна
Баланс давления поддерживается между пружинной камерой (D) и атмосферой посредством пружинной
камеры (E) для защиты пружинной камеры (D) от загрязнения и влаги.
Камеры сообщаются через соединительную трубку (C).

Сапун
Баланс давления поддерживается между пружинной камерой (B) и атмосферой через отверстие 11 и
предшествующий клапан (например, модулятор задней оси) для защиты пружинной камеры (B) от загрязнения и влаги. Камеры сообщаются с помощью сапуна (A). Сапун открывается при выключенной
рабочей тормозной системе, когда давление в отверстии 12 увеличивается для установки пружинного тормоза в положение движения. При включении рабочего тормоза сапун (A) закрывается, что
препятствует увеличению давления в пружинной камере (B).
