Для автомобилей, необорудованных тормозной системой EBS SCANIA

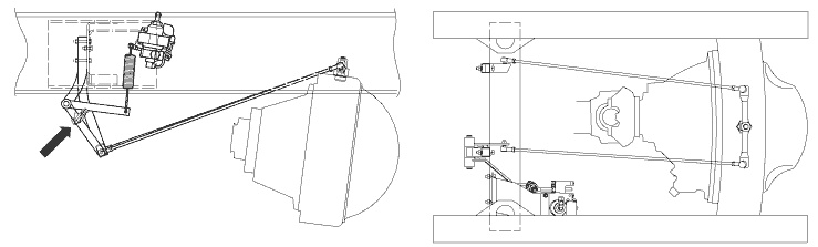
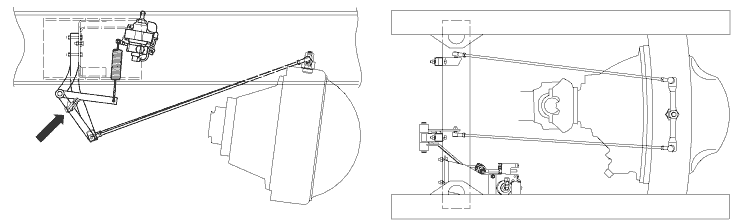
Расположение аппаратов на шасси

4 Тормозная камера
7c Ресивер переднего контура
7d Ресивер заднего контура
12 Тормозной кран
16 Аналоговый и релейный датчики давления, передний контур T1
16 Аналоговый и релейный датчики давления, задний контур T2
17 Выключатель стоп-сигнала B1
19 Ускорительный клапан, задний контур
19a Ускорительный клапан, противобуксовочная система TC
19c Ускорительный клапан, передний контур
19d Ускорительный клапан с повышенным давлением открытия, задний контур
49 Регулятор тормозных сил
51 Модулятор ABS, V3-V6 и V46-V47
55 Контрольный вывод
79 Аварийный тормозной клапан
84 Звуковой сигнализатор N1
W6 Визуальный сигнализатор падения давления воздуха
Тормозный краны Bosch и Wabco
Устройство и функционирование
Тормозной кран предназначен для управления торможением автомобиля и состоит из двух секций, обслуживающих соответственно передний и задний контуры рабочей тормозной системы. Секция заднего контура управляется механически от тормозной педали. Секция переднего контура управляется пневматически давлением воздуха в секции заднего контура.
Тормозной кран сконструирован таким образом, что при отказе любого контура второй контур остается работоспособным и обеспечивает затормаживание автомобиля.

Bosch Wabco
Установившееся состояние тормозного крана
После выравнивания давления в секциях переднего и заднего контуров впускные клапаны закрыты. Тормозной кран будет находиться в установившемся состоянии до тех пор, пока не изменится усилие нажатия на тормозную педаль или не упадет давление в одном из тормозных контуров.
Падение давления в переднем контуре
При утечке воздуха из переднего контура задний контур будет продолжать нормально функционировать, поскольку секция тормозного крана, управляющая задним контуром, приводится непосредственно от тормозной педали.

Падение давления в заднем контуре
При утечке воздуха из заднего контура секция тормозного крана, управляющая передним контуром, будет приводиться в действие не пневматически, а чисто механически от тормозной педали.
В исправном состоянии тормозной системы передний контур управляется пневматически
давлением воздуха в задней секции тормозного крана (аналогично ускорительному клапану). При отказе заднего контура передний контур управляется чисто механически от тормозной педали. В этом случае ход тормозной педали несколько увеличится. Кроме того, по сравнению со случаем исправного заднего контура, возрастет и усилие на педали, необходимое для достижения в переднем контуре одной и той же величины давления.

12 Вход от ресивера, передний контур
22 Выход, передний контур
11 Вход от ресивера, задний контур
21 Выход, задний контур
Модулятор АБС
Устройство и функционирование
Электропневматический модулятор включает в себя двойной электромагнитный клапан и два диафрагменных клапана.
Длительность управляющего электрического сигнала может быть очень короткой - порядка нескольких миллисекунд.
Модулятор АБС выполняет три функции:
• Увеличение давления
• Поддержание стабильного давления
• Уменьшение давления

1 Вход
2 Выход
3 Атмосферный выход
A Разъем
Регулятор тормозных сил
Устройство и функционирование
Регулятор тормозных сил устанавливается в заднем контуре и предназначен для регулирования давления в тормозных камерах в зависимости от вертикальной нагрузки на задний мост. При высокой
нагрузке на задний мост давление при торможении будет больше, чем при малой нагрузке.
Регулятор тормозных сил встроен в пневматический привод между задней секцией тормозного крана и ускорительным клапаном.
Применяется четыре типа регуляторов тормозных сил, устанавливаемых в задний контур:
Тип 1 используется на автомобилях с рессорной подвеской.
Тип 2 используется на автомобилях с пневматической подвеской.
Тип 3 поставляется в двух вариантах; тип 3а предназначен для автомобилей с рессорной подвеской. Тип 3б предназначен для автомобилей с пневматической подвеской.
Тип 3а Тип 3б

Тип 1, для автомобилей с рессорной подвеской
Рычаг регулятора тормозных сил соединен с задним мостом. Положение рычага и связанных с ним элементов регулятора зависит от хода сжатия подвески и нагрузки автомобиля. При малой нагрузке на мост регулятор тормозных сил снижает давление в тормозных камерах. При полной нагрузке на задний мост регулятор не уменьшает давление, и давление в тормозных камерах соответствует давлению на выходе тормозного крана.
При давлении торможения до 0,5 бар регулятор не действует. При этом величины давления на входе в регулятор и выходе из него одинаковы и не зависят от нагрузки на мост.

1 Вход
2 Выход
A Рыч га
Рычажный привод регулятора
Вариант исполнения рычажного привода регулятора тормозных сил зависит от конструкции заднего моста и тележки.
Регулирование давления
Чем выше нагрузка, тем больше рычаг А поворачивается против часовой стрелки. По мере увеличения нагрузки на задний мост разница между давлением на входе в регулятор и выходе из него уменьшается.
Если рычаг А находится в положении, соответствующем максимальной нагрузке, то разница в величинах входного и выходного давления отсутствует.
Тип 2, для автомобилей с пневматической подвеской
Регулятор тормозных сил получает сигнал о нагрузке автомобиля в виде давления воздуха в пневмоподвеске. Давление воздуха в пневматических баллонах подвески пропорционально вертикальной нагрузке на задний мост.

1 Вход
2 Выход
4 Вход от пневматической подвески
A Винт регулировки давления торможения
B Винт регулировки максимального снижения давления
Пневматические соединения регулятора
Давление воздуха в пневмоподвеске подводится к регулятору через вход 4.
Секция тормозного крана, управляющая задним контуром, подсоединена к входу 1.
Через выход 2 регулируемое давление воздуха поступает к ускорительному клапану заднего контура.
Давление торможения
Давление торможения на выходе регулятора тормозных сил зависит от усилия пружины, которое можно отрегулировать винтом А.
Максимальное снижение давления
Максимальное снижение давления регулятором зависит от усилия пружины, которое может быть отрегулировано винтом В.
Повреждение баллонов пневмоподвески
При разрыве баллона пневмоподвески рама опустится на ограничители хода, а давление на входе 4 регулятора упадет до нуля.
Аварийный тормозной клапан 79 обеспечивает функционирование регулятора тормозных сил, как при полной нагрузке автомобиля. При этом давление воздуха в заднем контуре равно полному давлению на выходе тормозного крана и не зависит от нагрузки на задний мост.
Аварийный клапан 79 подводит к регулятору тормозных сил давление воздуха в ресивере вместо давления в пневмобаллонах подвески. Давление воздуха на выходе регулятора не снижается и равно давлению на входе.

Аварийный тормозной клапан 79
Тип 3а, для автомобилей с рессорной подвеской
Рычаг регулятора тормозных сил соединен с задним мостом. Положение рычага и связанных с ним элементов регулятора зависит от хода сжатия подвески и нагрузки автомобиля. При малой нагрузке на мост регулятор тормозных сил снижает давление в тормозных камерах. При полной нагрузке на задний мост регулятор не уменьшает давление, и давление в тормозных камерах соответствует давлению на выходе тормозного крана.
При давлении торможения до 0,5 бар регулятор не действует. При этом величины давления на входе в регулятор и выходе из него одинаковы и не зависят от нагрузки на мост.

1 Вход
22 Выход (регулируемое давление)
A Крепление рычага
B Контрольный вывод
Рычажный привод регулятора
Вариант исполнения рычажного привода регулятора тормозных сил зависит от конструкции заднего моста и тележки.
Регулирование давления
Чем выше нагрузка, тем больше рычаг А поворачивается против часовой стрелки. По мере увеличения нагрузки на задний мост разница между давлением на входе в регулятор и выходе из него уменьшается.
Если рычаг А находится в положении, соответствующем максимальной нагрузке, то разница в величинах входного и выходного давления отсутствует.
Тип 3б, для автомобилей с пневматической подвеской
Регулятор тормозных сил получает сигнал о нагрузке автомобиля в виде давления воздуха в пневмоподвеске, которое пропорционально вертикальной нагрузке на задний мост.
Давление воздуха в пневмоподвеске подводится к регулятору через вход 41.
Секция тормозного крана, управляющая задним контуром, подсоединена к входу 1.
Через выход 22 регулируемое давление воздуха поступает к ускорительному клапану заднего контура.

1 Давление торможения от тормозного крана
22 Выход (регулируемое давление)
41 Вход от баллонов пневмоподвески
A Винт регулировки давления торможения
B Винт регулировки максимального снижения давления
Давление торможения
Давление торможения на выходе регулятора тормозных сил зависит от усилия пружины, которое можно отрегулировать винтом А.
Максимальное снижение давления
Максимальное снижение давления регулятором зависит от усилия пружины, которое может быть отрегулировано винтом В.
Повреждение баллонов пневмоподвески
При разрыве баллона пневмоподвески рама опустится на ограничители хода, а давление на входе 41 регулятора упадет до нуля.
Аварийный тормозной клапан 79 обеспечивает функционирование регулятора тормозных сил, как при полной нагрузке автомобиля. При этом давление воздуха в заднем контуре равно полному давлению на
выходе тормозного крана и не зависит от нагрузки на задний мост. Аварийный клапан 79 подводит к регулятору тормозных сил давление воздуха в ресивере вместо давления в пневмобаллонах подвески. Давление воздуха на выходе регулятора не снижается и равно давлению на входе.

Аварийный тормозной клапан 79
Аварийный тормозной клапан
Устройство и функционирование
Аварийный тормозной клапан устанавливается на автомобили с пневматической подвеской, которые
оборудованы регулятором тормозных сил.
Аварийный клапан обеспечивает полное давление торможения в заднем контуре в случае падения давления воздуха в пневматической подвеске, например, при разрыве баллонов подвески.

Функционирование клапана при полном опускании рамы
Если рама автомобиля полностью опущена, например, из-за разрыва баллонов подвески, аварийный клапан обеспечивает полное давление торможения в заднем контуре.
В этом случае вместо давления в баллонах подвески на вход регулятора тормозных сил подводится давление в ресивере. Аварийный клапан расположен так, что при полном опускании рамы он может приводиться в действие механическим упором.

1 Вход от баллонов пневмоподвески
2 Вход от ресивера заднего тормозного контура
3 Выход к регулятору тормозных сил
4 Обратный клапан
Ускорительный клапан
Устройство и функционирование
Ускорительный клапан (19/19d) предназначен для повышения быстродействия заднего контура рабочей
тормозной системы. Клапан расположен около заднего моста и соединен управляющей магистралью с тормозным краном, а питающей магистралью - с ресиверами сжатого воздуха.
Функцией ускорительного клапана является сокращение времени наполнения сжатым воздухом тормозных камер и их опорожнения. Эффект ускорения затормаживания получается за счет более
короткой воздушной магистрали, по которой тормозные камеры заполняются сжатым воздухом при затормаживании, по сравнению со случаем их заполнения воздухом, поступающим непосредственно от
тормозного крана.
Ускорительный клапан 19a устанавливается на дополнительном мосту и трехосных тележках и предназначен для отсоединения от привода тормозных камер дополнительного моста при включении в
работу противобуксовочной системы ТС.
Автомобили с двухосной передней тележкой и ускорительным клапаном 19с переднего контура также стали оснащаться ускорительными клапанами 19d заднего контура, начиная с автомобилей со
следующими номерами шасси: SSS1236236, SAN9009215 и SNL4386215. Ускорительный клапан 19d также используется в тормозной системе автомобилей, предназначенных для рынка США. Клапан 19d отличается увеличенным давлением открытия.
Применяются ускорительные клапаны 19/19a/19c двух марок - Wabco и Knorr, которые могут быть с отдельным или встроенным глушителем атмосферного выхода.
Ускорительный клапан 19d поставляется только от фирмы Wabco. Клапан марки Knorr перестал устанавливаться с января 2001 года, когда он был заменен аппаратом фирмы Wabco.
В 1999 году на автомобили с двухосной передней рессорной тележкой, оборудованные АБС и шинами 12R24 или большего размера, устанавливались два дополнительных ускорительных клапана
переднего тормозного контура с давлением открытия 0,2бар. Эти клапаны обеспечивают ускорение выпуска сжатого воздуха из тормозных камер переднего моста.

Принцип действия ускорительного клапана (Knorr и Wabco)
При торможении сжатый воздух, поступающий из тормозного крана в управляющую полость ускорительного клапана, открывает впускной клапан. Через открытый впускной клапан сжатый воздух из ресивера проходит через ускорительный клапан в тормозные камеры.

1 Вход от ресивера
2 Выход к тормозным камерам
4 Вход от тормозного крана (управляющая полость)
Аналоговый и релейный датчики давления
Устройство и функционирование
В воздушных магистралях, соединяющих ресиверы переднего и заднего контуров с соответствующими секциями тормозного крана, находятся аналоговые и релейные датчики давления. Аналоговый датчик
соединен с манометром для измерения давления воздуха в контуре, а релейный датчик включает и выключает визуальный и звуковой сигнализаторы.
Электрическая цепь релейного датчика находится в замкнутом состоянии, если давление воздуха не превышает 5 бар. При этом звучит зуммер и мигает визуальный сигнализатор, расположенных на приборной панели.
Датчики давления предназначены для предупреждения водителя о том, что давление воздуха в ресиверах недостаточно для нормальной работы тормозной системы.

16 Аналоговый и релейный датчики давления в переднем контуре T1
16 Аналоговый и релейный датчики давления в заднем контуре T2
W6 Визуальный сигнализатор низкого давления воздуха в контуре
84 Зуммер N1
Клапан ограничения давления
Устройство и функционирование
Седельные тягачи с кабинами типа P и R (4x2, 4x4) и величиной колесной базы до 3,7 м оборудованы клапаном ограничения давления в переднем контуре рабочей тормозной системы. Давление воздуха в контуре ограничивается только при движении тягача без полуприцепа. Клапан ограничения давления обеспечивает при интенсивном торможении улучшение распределения тормозных сил между
передними и задними колесами.
Степень ограничения давления воздуха зависит от размера тормозных камер на переднем мосту.
• Для тормозных камер размером 16" давление воздуха не ограничивается.
• Для тормозных камер размером 20" давление ограничивается до 6 бар.
• Для тормозных камер размером 24" или 30" давление ограничивается до 5 бар.
Примечание: Это не относится к автомобилям с кабиной типа Т, а также к автомобилям, оснащенным тормозной системой EBS.

Клапан ограничения давления на 5 бар начал устанавливаться на автомобили, начиная со следующих номеров шасси: SSS1240180, SAN9032532, SNL4393275 и SLA3503387.
6Клапан ограничения давления на 6 бар устанавливается на автомобили, начиная с номеров шасси SSS1241108, SAN9033438 и SNL4395112.
Описание клапана ограничения давления
Клапан ограничения давления 66a (V73) представляет собой электропневмоклапан.
Клапан может находиться в двух состояниях, которые соответствуют включенному и выключенному электромагнитному клапану.
При включенном электромагнитном клапане происходит ограничение давления воздуха в переднем контуре.

1 Вход от ресивера
2 Выход к тормозному крану
A Разъем
Электромагнитный клапан выключен
Если тягач сцеплен с полуприцепом, клапан открыт. Электромагнитный клапан обесточен.
Электромагнитный клапан включен
Если тягач и полуприцеп расцеплены, электромагнитный клапан включен.
Давление воздуха в клапане уравновешивается пружиной, отрегулированной на определенное усилие.
При достижении равновесия действующих сил клапан закрывается, ограничивая давление воздуха, подводимого к тормозному крану.
Регулятор тормозных сил
Общие сведения
На автомобилях, оснащенных регулятором тормозных сил, имеется диаграмма с характеристикой регулятора, которая наклеена на внутренней стороне крышки багажного отделения, расположенного над ветровым стеклом справа.
Диаграмма используется для настройки регулятора тормозных сил.
Можно также заказать эту диаграмму через отдел поставок запасных частей.
Существует два варианта диаграммы: один вариант предназначен для автомобилей с рессорной подвеской, второй - для автомобилей с пневмоподвеской.

Автомобили с рессорной подвеской
Настройка регулятора тормозных сил зависит от конструктивных особенностей заднего моста и тележки, а также от предельно допустимой нагрузки на ось.
Диаграмма используется для проверки и при необходимости для настройки регулятора тормозных сил.
Использование диаграммы
1 Определите, какой из двух графиков следует использовать (в зависимости от типа автомобиля). График A
предназначен для седельных тягачей, а график B - для автомобилей с грузовой платформой или кузовом.
2 Определите длину R рычага регулятора (в зависимости от варианта рессорной подвески).
3 Давление P1 на входе регулятора (от тормозного крана) должно составлять 6,0 бар.
4 Определите вертикальную нагрузку на задний мост или мосты тележки. При необходимости нагрузите автомобиль, так чтобы нагрузка на ось соответствовала диапазону нагрузок на диаграмме.
5 Верхние значения в каждой колонке (слева от диаграммы) соответствуют определенной длине рычага регулятора и позволяют определить, каким столбцом следует пользоваться в конкретном случае. Исходя из вертикальной нагрузки на задний мост (мост тележки) и длины рычага можно по графикам А или В определить положение рычага от начала отсчета и давление воздуха Р2 на выходе регулятора.
Примечание: За начало отсчета принято не низшее положение рычага на упоре регулятора, а точка, расположенная на расстоянии радиуса R мм от высшего положение рычага.

1 Тип автомобиля определяет график, который следует использовать.
2 Длина рычага R зависит от варианта рессорной подвески.
3 P1 - давление на входе регулятора (от тормозного крана)
4 Нагрузка на мост, х1000 кгс.
5 Верхние значения в каждой колонке соответствуют длине рычага и позволяют установить, какой колонкой следует пользоваться.
6 Выходное давление регулятора P2.
7 Обозначение диаграммы по каталогу запасных частей.
Пример использования диаграммы
• Грузовой автомобиль 4x2 с предельно допустимой осевой нагрузкой 11200 кгс имеет фактическую
нагрузку на задний мост 4000 кгс.
• На автомобиле установлена рессорная подвеска 7 x 15 + 6 x 14, длина рычага регулятора составляет: R= 90 мм.
Согласно графику В диаграммы, рычаг должен располагаться на расстоянии 50 мм от начала отсчета, а
давление воздуха Р2 на выходе регулятора должно быть 2,9 бар.
Проверка регулятора тормозных сил, тип 1 и 3а
1 Проверьте длину рычага по диаграмме.
2 При необходимости нагрузите автомобиль, так чтобы нагрузка на ось соответствовала диапазону нагрузок на диаграмме.
3 Определите по диаграмме требуемое давление Р2 на выходе регулятора, соответствующее давлению на входе 6,0 бар и фактической осевой нагрузке.
Для этого воспользуйтесь диаграммой.
4 Если фактически измеренное давление Р2 не соответствует требуемому значению по диаграмме, выполните настройку регулятора тормозных сил.

1 Вход
2 Выход
A Рыч га

1 Вход от тормозного крана
22 Выход (регулируемое давление)
A Крепление рычага
B Контрольный вывод (давление от тормозного крана)
Настройка регулятора тормозных сил, тип 1 и 3а
1 Проверьте регулятор тормозных сил, следуя инструкциям, которые приведены выше.
2 Отпустите тормозную педаль.
3 Отрегулируйте рычажный привод регулятора. Регулировка производится с помощью регулировочного винта.
Если давление на выходе регулятора недостаточно, необходимо отрегулировать привод так, чтобы
рычаг поднялся. Если давление на выходе регулятора слишком велико, необходимо отрегулировать привод так, чтобы рычаг опустился.
4 Повторно проверьте давление на выходе регулятора и при необходимости выполните настройку регулятора еще раз.

1 Вход
2 Выход
A Рыч га

1 Вход от тормозного крана
22 Выход (регулируемое давление)
A Крепление рычага
B Контрольный вывод (давление от тормозного крана)
Привод рычага и регулировочный винт регулятора тормозных сил, тип 1

Привод рычага регулятора и регулировочный винт на автомобилях 4x2 и 4x4

Привод рычага регулятора и регулировочный винт на автомобиле 6x2

Привод рычага регулятора и регулировочный винт на автомобилях 6x4 и 8x4 с тележкой AD1100P

Привод рычага регулятора и регулировочный винт на автомобилях 6x4 с тележкой AD1300 или AD1500P
Привод рычага и регулировочный винт регулятора тормозных сил, тип 3a

Привод рычага регулятора и регулировочный винт на автомобилях 4x2 и 4x4

Привод рычага регулятора и регулировочный винт на автомобилях 6x4 и 8x4 с тележкой AD1100P

Привод рычага регулятора и регулировочный винт на автомобилях 6x4 с тележкой AD1300 или AD1500P
Пневматическая подвеска
Регуляторы тормозных сил, используемые на автомобилях с пневмоподвеской, не имеют рычажного механического привода, которым отличаются регуляторы, устанавливаемые на автомобили с рессорной подвеской.
В данном случае настройка регулятора тормозных сил производится регулировочными винтами.
Использование диаграммы
1 Давление Р1 на входе регулятора от тормозного крана должно быть равно 6,0 бар.
2 Определите вертикальную нагрузку на задний мост или тележку. При необходимости нагрузите автомобиль, так чтобы нагрузка на ось соответствовала диапазону нагрузок на диаграмме.
3 Измерьте давление воздуха в пневмобаллонах задней подвески.
4 Требуемое давление P2 (4) на выходе регулятора снимается с графика в зависимости от фактической нагрузки на ось/тележку (2) или в зависимости от фактического давления в пневмобаллонах задней подвески (3).

1 Давление Р1 на входе от тормозного крана.
2 Вертикальная нагрузка на мост или тележку, x1000 кгс.
3 Давление Р3 в пневмобаллонах задней подвески.
4 Давление P2 на выходе регулятора.
5 Обозначение диаграммы по каталогу запасных частей.
Пример
• Грузовой автомобиль 6x2 с предельно допустимой нагрузкой на заднюю тележку 18 000 кгс имеет
фактическую нагрузку на тележку 8 000 кгс.
• Давление воздуха P3 в пневмобаллонах составляет 2,0 бар. Давление Р2 на выходе регулятора тормозных сил должно быть равно 3,0 бар.
Проверка регулятора тормозных сил, тип 2 и 3а
1 Присоедините манометр на 2,5 бар к контрольному выводу на тормозной камере заднего моста (для
измерения давления Р2 на выходе регулятора). Присоедините манометр на 2,5 бар к блоку
электромагнитных клапанов задней пневмоподвески (для измерения давления Р3 в пневмобаллонах).
Присоедините манометр на 15 бар к контрольному выводу заднего тормозного контура (для измерения
давления P1 на входе регулятора от тормозного крана).
2 С помощью кнопок управления пневмоподвеской установите давление в пневмобаллонах в соответствии с приведенной ниже таблицей.
Примечание: Если давление в пневмобаллонах увеличивается, отключите манометр.
Манометр, подключенный к пневмоподвеске, должен показывать следующее давление Р3, см. таблицу.

1 Вход
2 Выход
4 Вход от пневмоподвески
A Винт регулировки давления торможения
B Винт регулировки максимального снижения давления
Давление в пневмобаллонах подвески для настройки максимального снижения давления
Автомобили 4x2, 4x4 1.0 бар
Автомобили с прочими колесными формулами 0.5 бар
Давление в пневмобаллонах подвески для настройки давления торможения
Автомобили 4x2, 4x4 1.5 бар
Автомобили с прочими колесными формулами 0.8 бар
3 Если с помощью кнопок управления пневмоподвеской не удается установить требуемое давление
в пневмобаллонах, нагрузите автомобиль.
4 Нажмите на тормозную педаль и установите по манометру на 15 бар давление воздуха, равное 6,0 бар.
Измерьте давление воздуха на выходе регулятора (давление Р2) и проверьте его на соответствие
с требуемым значением.
Максимальное снижение давления Давление P2 должно соответствовать диаграмме, расположенной в кабине автомобиля.
Давление торможения Давление P2 должно находиться в диапазоне 1,6-1,9 бар.

1 Вход от тормозного крана
22 Выход регулятора к тормозным камерам (регулируемое давление)
41 Bход от пневмоподвески
A Винт регулировки давления торможения
B Винт регулировки максимального снижения давления
Настройка регулятора тормозных сил, тип 2 и 3б
Примечание: Настройка давления торможения на регуляторе тормозных сил типа 3б. Настройка выполняется с помощью винта 1 с головкой типа Torx. Винт расположен под чехлом. Гайка,
установленная на винт Torx, выполняет роль шайбы и не используется при настройке регулятора.
1 Выполните проверку регулятора тормозных сил.
2 Если давление на выходе регулятора не соответствует требуемому, произведите настройку регулятора.
Максимальное снижение давления
Вверните регулировочный винт 2 на два оборота, чтобы увеличить давление на выходе регулятора, или вращайте его в обратную сторону, чтобы снизить давление.
Давление торможения
Вверните регулировочный винт 1 на один оборот, чтобы снизить давление на выходе регулятора, или поверните его на один оборот в обратную сторону, чтобы увеличить давление.
3 Выполните повторную проверку регулятора.

1 Регулировка давления торможения
2 Регулировка максимального снижения давления

Проверка после настройки
При невозможности настроить регулятор тормозных сил необходимо его заменить.