Проверка компонентов автономного отопителя Webasto Thermo 300
Датчик температуры
Измерьте электрическое сопротивление датчика температуры с помощью омметра и сравните полученное значение с графиком. Предпочтительнее измерять сопротивление датчика при температуре от 20°C до 90°C, поэтому выдержите датчик в воде.

Сопротивление датчика в зависимости от температуры
Датчик пламени
Очистите стекло датчика и стеклянное окошко, если они загрязнены. Если датчик пламени поврежден или значения контрольного параметра не соответствуют требуемым, то датчик необходимо заменить.
- 1 Закройте датчик пламени.
- 2 Измерьте сопротивление, оно должно составлять < 20 кОм.
- 3 Откройте датчик и направьте на стекло датчика свет мощной лампы.
- 4 Измерьте сопротивление, оно должно составлять < 400 Ом.

1 Стекло датчика
2 Стеклянное окно
Электроды зажигания
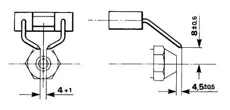
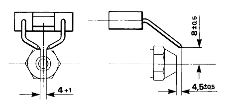
Примечание: Изоляция электродов должна быть исправна. При нарушении функционирования или при нарушении требуемого зазора или установочных размеров электроды подлежат замене.
- 1 Проверьте исправность изоляции электродов.
- 2 Проверьте зазор и установочные размеры, как показано на рисунке, и убедитесь в исправном состоянии электродов.

Зазор и установочные размеры электродов
Блок зажигания
Напряжение на электродах 20000 В.
ВНИМАНИЕ! Запрещается подключать к блоку зажигания электрическое питание при снятых электродах.
- 1 Подключите электрическое питание по схеме, показанной на рисунке.
- 2 При исправном состоянии блока зажигания между электродами должны быть электрические разряды.
Примечание: С блоком управления SG1572D следует использовать только блок зажигания с зеленой стенкой корпуса.

1 Зеленая стенка корпуса = правильный вариант
2 Напряжение на электродах 20000 В
Топливный насос
Примечание: Топливоподкачивающий насос проверяется после окончательного монтажа. Регулировка давления, развиваемого насосом, не предусмотрена. При необходимости замените насос.

Подключение манометра
Проверка с использованием манометра с градуированной шкалой 0-15 бар. Поскольку блок управления контролирует функционирование всех узлов в соответствии с алгоритмом запуска отопителя, то демонтаж блока зажигания с электродами невозможен. Однако, можно установить электроды зажигания, повернув их на 180° (концы электродов будут направлены вверх). При этом необходимо быть очень осторожным, поскольку на электродах возникает напряжение 20 кВ.
- 1 Снимите электроды зажигания и установите их, повернув на 180° (концы электродов будут направлены вверх).
Напряжение на электродах 20000 В.
- 2 Снимите форсунку.
- 3 Подсоедините манометр.
- 4 Закройте темным экраном датчик пламени.
- 5 Запустите дополнительный подогреватель.
- 6 Снимите показания манометра спустя примерно 13 с.
- 7 Выключите дополнительный подогреватель.
- 8 Отсоедините манометр.
- 9 Установите форсунку, затяните ее моментом 20 Н.м. Проверьте отсутствие признаков повреждений форсунки.
- 10 Установите блок зажигания.

1 Давление топлива, бар
2 Частота вращения насоса, об/мин
Зависимость давления топлива от оборотов насоса
Электродвигатель воздушного нагнетателя
Примечание: Проверка электродвигателя нагнетателя выполняется с установленной камерой сгорания. Если контрольный параметр не соответствует требуемым значениям, электродвигатель нагнетателя подлежит замене.
- 1 Проверьте отсутствие посторонних шумов.
- 2 Измерьте напряжение питания дополнительного подогревателя.
- 3 Запустите дополнительный подогреватель.
- 4 Измерьте частоту вращения нагнетателя и сравните ее с данными на графике.
- 5 Выключите дополнительный подогреватель.

Частота вращения нагнетателя в зависимости от напряжения питания
Электромагнитный клапан
Негерметичность электромагнитного клапана может быть обнаружена по дымлению отопителя в фазе выключения. Подобная неисправность приводит к пропуску топлива через форсунку. Небольшое дымление является нормальным явлением и обусловлено наличием остатка топлива между электромагнитным клапаном и форсункой.
- 1 Во избежание повреждения блока управления отсоедините от него разъем электромагнитного клапана.
- 2 Проверьте следующие параметры.
• Нижний предел функционирования, 17,0 В
• Диапазон, 19,2 – 28,8 В
• Потребляемая мощность при номинальном напряжении питания и температуре 20°C, 10 Вт
• Потребляемый ток, 0,42 A
Подогреватель форсунки (дополнительное оборудование)
Подогреватель форсунки включается, когда температура опускается ниже 0°C. Длительность работы подогревателя изменяется в зависимости от скорости нагрева подогревателя. Подогреватель форсунки выключается, когда температура, контролируемая термостатом, достигает +8°C.
Потребляемая мощность составляет
130 +/- 13 Вт.
- 1 Откройте или снимите корпус камеры сгорания.
- 2 Рассоедините электрический разъем подогревателя форсунки.
- 3 Подключите омметр к электрическому разъему подогревателя.
- 4 Охладите термостат охлаждающим спреем.
- 5 Измерьте сопротивление, оно должно составлять не более 4,5 Ом.