Конструкция и назначение двигателя D16C Volvo Truck
(обучение персонала)
Этот мануал доступен пользователям
с выходом 65 обновления

D16C является обозначением нового 16-литрового двигателя FH16, который вводится осенью 2003 года. Двигатель существует в двух вариантах по мощности, 550 л.с. или 610 л.с., и является прямым
шестицилиндровым дизельным двигателем с прямым впрыском, включающим турбокомпрессор,
промежуточный охладитель и систему впрыска топлива с электронным управлением (EMS).
Внимание: Момент 2800 Нм достигается только на высших передачах (начиная с 5H на коробках с прямой передачей VT2814 и с 4L на коробках с повышающей высшей передачей VTO2814).
Двигатель D16C имеет совершенно новую конструкцию, сравнимую с конструкцией D16B, но основанную на D9/D12 с цельной головкой цилиндра, верхним распредвалом, насосами-форсунками и замедлителем VEB.
Двигатель удовлетворяет требованиям к выбросам для Euro3 (EC01).
Полное обозначение двигателя (D16C 610) означает:
• D= Дизель
• 16= Объем цилиндров в литрах
• C= Поколение
• 610= Вариант (мощность в лошадиных силах)
Идентификация двигателя

Для идентификации двигателя имеются два ярлыка и различные данные по двигателю (1 и 2), расположенные спереди ECU двигателя. На обратной стороне блока управления имеется ярлык (3), где указан номер оборудования. Серийный номер двигателя (4) проштампован на левой стороне верхней передней кромки блока цилиндров.
Имеется также информация по данным отливки блока цилиндра (5), расположенная внизу на левой
стороне.
Верхний ярлык содержит следующую информацию:
№ шасси (автомобиля), серийный номер двигателя и штриховые коды.
Нижний ярлык содержит следующую информацию:
• Тип инжектора: 1= двигатель имеет насосы-форсунки Delphi
• Дроссельный тормоз: VEB= Система торможения двигателем Volvo; EPG= Дроссельный тормоз
• Модель двигателя: EC01= Уровень выхлопов Euro3
Головка цилиндра

Головка цилиндра выполнена из чугуна и является цельной, что создает условие для устойчивой опоры
подшипника верхнего распредвала.
Распредвал выполнен на семи кронштейнах с горизонтально разъемными подшипниками, оснащенных сменными корпусами подшипников.
Корпус подшипника для заднего кронштейна подшипника также выполнен как упорный подшипник.
Кожух термостата охлаждающей жидкости встроен непосредственно в головку цилиндра (A).
Каждый цилиндр имеет отдельные входные и выходные каналы с «поперечным потоком» (B).
Топливный канал насосов-форсунок просверлен через головку цилиндра в продольном направлении, и имеет обработанную на станке кольцеобразную камеру вокруг каждого насоса-форсунки (C).
Спереди имеется пробка (D), идущая в канал, для подачи давления масла в механизм коромысла.
Канал (E) для смазки распредвала и коромысел просверлен по центру на левой стороне головки цилиндра.

Насосы-форсунки расположены по центру между четырьмя клапанами, и удерживаются хомутом.
Нижняя часть насоса-форсунки разделена по направлению к оболочке системы охлаждения медной втулкой. Нижняя часть медной втулки имеет расширение, и уплотнена в верхней части уплотнительным кольцом (B). При замене медных втулок используйте те же инструменты, что и для D9A/D12D.
Направляющие втулки клапана и седла клапана изготовлены соответственно из легированного чугуна и стали, и являются сменными. Все клапаны имеют масляные уплотнения для направляющих клапана. Выпускные клапаны имеют большие диаметры головок и оснащены двойными пружинами (A). Впускные клапаны имеют одинарные пружины (C).
Блок цилиндров

Блок цилиндров выполнен из чугуна и отлит как цельное изделие.
Все каналы системы смазки выполнены непосредственно в блок. Имеется два продольных канала. С правой стороны блока, видимой спереди, имеются каналы охлаждения поршня; с левой стороны проходят главные каналы системы смазки.
Оба канала закрываются пробкой. Спереди имеются пробки с уплотнительными кольцами, сзади -
«цилиндрические пробки». Сзади блока имеется отлитый канал для подачи масла для трансмиссии
двигателя.

В вертикальном сечении (A) показаны гильза цилиндра и положение оболочки системы охлаждения в блоке.
В горизонтальном сечении (B) показана задняя часть насоса охлаждающей жидкости, встроенного
спереди блока. Кроме того, сбоку блока показана тарельчатая форма вокруг каждого цилиндра, что
обеспечивает высокую крутящую устойчивость блока и хорошие звукопоглощающие свойства.
Крышка коренного подшипника направляется втулками (1), запрессованными в блок цилиндров.
Для того, чтобы не допустить неправильную установку крышек коренных подшипников, в блоке имеется патрубок (2) и соответствующий выступ на крышке коренного подшипника (3). Крышка
коренного подшипника также промаркирована номерами 1-7, которые видно спереди двигателя.
Положение номеров разное, но они находятся в нижней части крышки в пределах отметок (4) или
(5), рисунок C. На нижней стороне крышки также отмечены стрелки (6), показывающие направление к
впускной стороне двигателя.
Усиливающая рама и маслосборник

С целью уменьшения вибрации в блоке цилиндров и соответствующего снижения уровня шумов
двигателя, установлена усиливающая рама (1) на нижней стороне блока. Усиливающая рама сделана
из листовой стали толщиной 6 мм, и закреплена болтами к нижней поверхности блока (A).
Маслосборник (2) выполнен из пластика литьем под давлением. Уплотнение состоит из цельной
отливки из резины, и расположено в канавке маслосборника. Маслосборник закреплен с помощью 16 подпружиненных винтов (B).
Уплотнительное соединение

Двигатель D16 имеет смазанные гильзы цилиндров, уплотненные в направлении блока цилиндров с помощью резиновых колец. Верхнее кольцо расположено непосредственно под втулкой гильзы.
Перед установкой гильзы наносится тонкая полоска герметика между втулкой гильзы и горизонтальной
поверхностью блока. Уплотнительная поверхность гильзы к прокладке является выпуклой.
Нижнее уплотнение состоит из двух колец, расположенных в канавке гильзы. Эти кольца сделаны из разных резиновых материалов, и имеют разные цвета, чтобы их нельзя было спутать.
Верхнее кольцо имеет черный цвет, а нижнее - фиолетовый.
На двигателях D16 направляющая гильзы находится над седлом гильзы.
Прокладка между головкой цилиндра, блоком и гильзой сделана из стали, и имеет уплотнения из вулканизированной резины для каналов охлаждающей жидкости и масла. Для защиты резиновых уплотнений при установке головки цилиндра, имеется ряд штампов.
Головка цилиндра, направляющие к блоку

Для обеспечения установки головки цилиндра на блоке цилиндров в точном положении, имеется
два цилиндрических направляющих штифта, отштампованных в блоке (1). В головке цилиндра
имеется два соответствующих направляющих отверстия (2) «фасонной формы».
Эта форма является направляющей, которая позволяет после нанесения герметика (3) на заднюю часть головки цилиндра переместить головку цилиндра на несколько миллиметров перед трансмиссионной пластиной, как показано на (A). Затем головка цилиндра опускается так, что направляющие штифты входят в широкую часть направляющего отверстия (B). После этого головку цилиндра можно плотно поставить на свое место к пластине распределительной шестерни, когда направляющие штифты входят в узкую часть направляющего отверстия (C). Таким образом, головка цилиндра точно устанавливается в боковом и продольном направлениях.
Штамп на прокладке головки цилиндра, упомянутый выше, означает, что головка цилиндра может
давить на прокладку без возможного повреждения резиновых уплотнений.
Поршень, гильза цилиндра и соединительный шток

Двигатель D16C имеет двухкомпонентные поршни, называемые маятниковыми поршнями. Головка
поршня (1) сделана из стали, а оболочка (3) из алюминия. Обе части смонтированы на опоре в поршневом пальце (2). Поршень имеет два компрессионных кольца и маслосъемное кольцо. Верхнее компрессионное кольцо (4) является «Клиновидного типа» с трапециевидным поперечным сечением. Среднее компрессионное кольцо (5) имеет прямоугольное поперечное сечение. Маслосъемное кольцо (6) ниже подпружинено.
Гильза цилиндра выполнена центробежной отливкой из легированного чугуна. Внутренняя поверхность гильзы обработана на станке (7).
Окончательная точная обработка поверхности гильзы выполняется методом, называемым хонингованием (8), при котором снимаются самые острые точки, оставшиеся после первоначальной
обработки.
Соединительный шток изготовлен штамповкой и разделен в нижнем конце (больший конец) методом продольного изгиба. Верхний конец имеет запрессованную втулку (9), смазываемую через просверленный канал (10). Каждый соединительный шток с обеих сторон имеет маркировку от 7 до 999
(11).
Распредвал и клапанной механизм

Двигатель D16C имеет верхний распредвал и четырехклапанную систему такой же конструкции, что и двигатели D9 и D12.
Распределительный вал имеет индукционно-упрочненную поверхность и подвешен на семи шейках со сменными вкладышами. Задний подшипник действует как упорный подшипник.
Между каждыми подшипниковыми шейками находятся три кулачка. Спереди это входной кулачок, кулачок впрыска и выходной кулачок.
Распределительный вал приводится от шестерни (1) на щите распределительных шестерен. Сзади
ведущей шестерни устанавливается гидравлический виброгаситель (2). На виброгасителе имеется также
шестерня датчика распределительного вала.
На рисунке показано поперечное сечение клапанного механизма для пары выходных клапанов. Принцип для входных клапанов тот же. Для двигателя VEB гидравлическая функция встроена в коромысло. Каждое коромысло действует от плавающего суппорта (3). Коромысло (4) смонтировано на подшипниках оси коромысла (5) с втулкой (6). Контакт с распредвалом происходит через ролик (7) и с помощью суппорта с шаровым гнездом (8).
Маркировка распредвала для основных установок (TDC) и для регулировок клапанов и инжекторов
выполнена на фланце (10) спереди заднего кронштейна подшипника (9). Маркировка изменяется в зависимости от типа дроссельного тормоза двигателя, EPG или VEB.
• Версия EPG: TDC и разряды 1-6.
• Версия VEB: TD и разряды 1-6 и отметки V1-V6.
Коленчатый вал, виброгаситель, маховик

Коленчатый вал изготовлен методом штамповки и имеет опорные поверхности высокочастотной
закалки, а также вырезы. Коленчатый вал закреплен в семи коренных подшипниках со сменными корпусами подшипников (1). В середине коренного подшипника (B) находится также упорный
подшипник, состоящий из четырех серповидных шайб (2).
Спереди коленчатый вал уплотнен тефлоновой прокладкой (3) на переднем фланце коленчатого вала. Также имеется задняя (C) тефлоновая прокладка (4), которая уплотняет обработанную на станке поверхность шестерни коленвала (5). Шестерня закреплена к коленчатому валу с помощью направляющего штифта (6) и двух винтов (7). На заднем фланце коленчатого вала имеется канавка для уплотнительного кольца (8), которое уплотняет пространство между фланцем и шестерней.

Смазка коленчатого вала выполняется по отдельным каналам в блоке цилиндров, к каждому коренному
подшипнику (1). Каждая шейка оси подшипника коленчатого вала имеет поперечный просверленный
канал (2). Канал идет к ближайшей шейке оси подшипника коленчатого вала (3).
Виброгаситель выполнен гидравлического типа, и закреплен болтами непосредственно к переднему
фланцу коленчатого вала. Виброгаситель также используется как шкив для клиновых ремней. В корпусе виброгасителя (4) имеется противовес в форме стального кольца (5), который может свободно поворачиваться на втулках (6).
Пространство между корпусом противовеса заполняется силиконовым маслом большой вязкости. Когда коленчатый вал вращается, от него идут импульсы (колебания), создаваемые поршнями. Вязкое силиконовое масло выравнивает импульсное вращение коленчатого вала благодаря равномерному вращению противовеса, и гасит колебания.
Маховик (7) и промежуточная шестерня (8) закреплены к заднему фланцу коленчатого вала с помощью 14 x M16 болтов (9). Маховик закреплен к коленчатому валу с таким же направляющим штифтом (10), что и шестерня. Зубчатое колесо маховика (11) является стяжным и сменным. На поверхности окружности вырезана канавка (12) для датчика маховика системы двигателя (3 x 18 канавок).
Трансмиссия двигателя

Трансмиссия двигателя располагается сзади двигателя на стальной пластине толщиной 6 мм (1) в соответствии с тем же принципом, что и для двигателей D9A. Пластина распределительной шестерни крепится к блоку цилиндров с помощью двух направляющих втулок (2 и 3), и уплотняется на блоке цилиндров и головке цилиндра с помощью силикона.
Шестерня коленчатого вала и двойная промежуточная шестерня маркируются вместе для правильной установки.
1 Пластина распределительной шестерни
2 Направляющая втулка для пластины распределительной шестерни и промежуточной шестерни 5
3 Направляющая втулка для пластины распределительной шестерни и промежуточной шестерни 11
4 Шестерня коленчатого вала
5 Промежуточное зубчатое колесо, двойное
6 Шестерня для отбора мощности (дополнительное оборудование)
7 Промежуточное колесо, регулируемое
8 Шестерня распредвала
9 Приводная шестерня, воздушный компрессор
10 Приводная шестерня, усилитель рулевого управления и топливоподкачивающий насос
11 Промежуточная шестерня, усилитель рулевого управления и питающий насос
12 Ведущая шестерня, масляный насос
13 Виброгаситель с зубчатым колесом для датчика распредвала
Промежуточная шестерня трансмиссии двигателя

A: Небольшая промежуточная шестерня, которая управляет сервонасосом усилителя руля и топливоподкачивающим насосом, смонтирована на подшипниках на двухрядном шариковом
подшипнике (1), и закреплена болтом (2). Болт проходит через пластину распределительной шестерни и крепится к блоку цилиндров. Ось промежуточной шестерни направляется той же направляющей втулкой (3), которая используется для пластины распределительной шестерни.
B: Эта промежуточная шестерня состоят из двух шестерен, соединенных болтами. Шестерня предварительно устанавливается на ступице (4) и монтируется на двух конических роликовых подшипниках (5). Ступица направляется той же направляющей втулкой (6), которая используется для пластины распределительной шестерни. На ступице также имеется направляющий штифт (7), который ведет в выемку в общем корпусе трансмиссии и маховика.
С: Регулируемая промежуточная шестерня монтируется на подшипниках с втулкой (8) на ступице (9). Втулка и упорная шайба (10) смазываются под давлением через канал (11), проходящий между блоком цилиндров и пластиной распределительной шестерни. Направляющий штифт (12) в нижней части ступицы обеспечивает постоянный зазор зубчатой передачи между двумя промежуточными шестернями. При регулировке нужно установить только зазор зубчатой передачи относительно шестерни распредвала.
Кожухи

Для трансмиссии двигателя существует два кожуха, оба отлиты из алюминия. Нижний кожух представляет собой общий корпус трансмиссии и маховика, и имеет точки фиксации для заднего
монтажа двигателя. Верхний кожух трансмиссии имеет встроенный маслоуловитель для вентиляции
корпуса распредвал.
Оба кожуха уплотнены герметиком относительно пластины распределительной шестерни. Уплотнение
между двумя кожухами выполнено из литой резины, расположенной в канавке верхнего кожуха. Крышка предназначена для системы отбора мощности, предоставляемой в качестве дополнительного
оборудования.
Отбор мощности двигателя

Дополнительное оборудование может поставляться с возможностью установки системы отбора
мощности. Отбор мощности управляется внешней шестерней двойной промежуточной шестерни, и устанавливается сзади корпуса трансмиссии/маховика.
Имеются различные варианты исполнения системы отбора мощности, например, с помощью
гидравлического насоса или механического типа.
На рисунке показан установленный гидравлический насос.
Монтаж двигателя

Двигатель имеет три монтажные точки на раме.
Они состоят из кронштейнов с элементами из вулканизированной резины. Переднее центральное
крепление (A) состоит из дуги стальных отливок (1), закрепленных болтами к передней части блока цилиндров, и резинового элемента (2), закрепленного болтами к переднему поперечному элементу. С правой стороны монтажа имеется крепление для ролика ремня вентилятора (3) и натяжного устройства ремня (4). Между передним креплением и поперечным элементом имеется стержень противодействия (5).
Каждое из двух задних креплений (B) состоит из двух частей. Кронштейны (6) закреплены болтами к общему корпусу трансмиссии и маховика.
Кронштейны с резиновым амортизатором (7) закреплены болтами к внутренней стороне сужения
элементов рамы.
Смазка и маслоагрегаты

Смазка двигателя происходит под давлением с помощью зубчатого насоса (1), расположенного сзади, приводом на коленчатый вал двигателя.
Корпус фильтра (2) закреплен к правой стороне двигателя, и имеет два полнопоточных фильтра (3) и
неполнопоточный фильтр (4). Маслоохладитель (5) расположен в оболочке системы охлаждения блока
цилиндров на правой стороне.
Поток масла в двигателе регулируется семью клапанами, распложенными в корпусе масляного фильтра.
A: Неполнопоточный клапан маслоохладителя (отмеченный 124)
B: Предохранительный клапан (отмеченный сиреневым цветом)
С: Редукционный клапан (отмеченный синим цветом)
D: Регулирующий клапан охлаждения поршня
E: Рабочий клапан охлаждения поршня
F: Перепускной клапан для неполнопоточного фильтра
G Неполнопоточный клапан для полнопоточного фильтра

Здесь приведен более подробный рисунок корпуса фильтра и положения клапанов. Стрелки в каналах
показывают направление потока масла между корпусом фильтра и блоком цилиндров.
Смазочная система, принцип работы

Масляный насос (1) гонит масло через нагнетательную трубку (2) к просверленным каналам в блоке цилиндров. Затем масло подается в маслоохладитель (3) и корпус фильтра (4). После фильтрации масла в двух полнопоточных фильтрах (5), оно подается в главный канал системы смазки блока цилиндров (6) для распределения на все точки смазки двигателя. Смазка головки цилиндра производится через просверленный канал к клапану VEB (7). В двигателях EPG клапаны заменены кожухом связи.
Воздушный компрессор (8) и турбокомпрессор (9) смазываются через наружные шланги. Масло
турбокомпрессора фильтруется неполнопоточным фильтром (10). Масло для охлаждения поршня
фильтруется полнопоточным фильтром, и направляется в канал охлаждения поршня блока цилиндров. Отсюда масло распыляется через форсунки (11) на нижнюю часть поршней.
A: Неполнопоточный клапан маслоохладителя
B: Предохранительный клапан
С: Редукционный клапан
D: Регулирующий клапан охлаждения поршня
E: Рабочий клапан охлаждения поршня
F: Перепускной клапан для неполнопоточного фильтра
G Неполнопоточный клапан для полнопоточного фильтра
Запуск в условиях сильного холода Запуск в условиях сильного холода должен производиться при температурах ниже -20° C.
Предохранительный клапан (B) открывается для защиты масляного насоса от высокого давления,
вследствие очень большой вязкости масла.
Редукционный клапан (C), неполнопоточный клапан (A) и рабочий клапан охлаждения поршня (E)
открываются из-за большой вязкости.
Холостой режим, горячий двигатель
При малых оборотах двигателя и при рабочей температуре двигателя все клапаны закрыты.
Езда на малых оборотах двигателя При езде на малых оборотах двигателя и при рабочей температуре двигателя, редукционный клапан (C) частично открывается для поддержания давления масла в нужных пределах. Клапан охлаждения поршня (E) открыт. Регулирующий клапан охлаждения поршня (D) начал регулировать поток в канал охлаждения поршня.
Езда на больших оборотах двигателя При езде на больших оборотах двигателя и при рабочей температуре двигателя, клапаны C и E открыты. Кроме того, регулирующий клапан (D) начинает подниматься вследствие повышенного давления с обратной стороны клапана.
Засоренные масляные фильтры Если полнопоточный фильтр засорился, то неполнопоточный клапан (G) открывается, и нефильтрованное масло перекачивается в смазочную систему двигателя. Если засорился неполнопоточный фильтр, то клапан (F) открывается, и в турбокомпрессор поступает масло,
профильтрованное через полнопоточный фильтр.
Масляный насос и маслоохладитель

Масляный насос расположен сзади двигателя, и закреплен болтами к нижней поверхности блока
цилиндров. Он управляется непосредственно от шестерни коленчатого вала. Зубчатое колесо насоса
имеет скошенные кромки для обеспечения низкого уровня шума, а оси смонтированы на подшипниках
непосредственно в корпусе насоса, сделанного из алюминия.
Всасывающий патрубок является двухкомпонентным. Фильтр грубой очистки (1) сделан из алюминия и закреплен болтами к усиливающей раме. Трубка (2) сделана из стали и уплотнена на концах резиновыми уплотнениями.
Нагнетательная трубка (3) сделана из стали и связана с блоком цилиндров с помощью патрубка.
Маслоохладитель закреплен болтами непосредственно на блоке цилиндров, под боковой крышкой оболочки системы охлаждения.
Система охлаждения поршня

Здесь показан поток масла для системы охлаждения поршня, когда клапан (E) открыт, а клапан (D) уравновешивает поток масла в канал охлаждения поршня. Форсунка охлаждения поршня расположена так, что струя масла направлена на нижнюю часть головки поршня.
Оптимальная работа системы охлаждения поршня достигается путем регулирования потока охлаждения поршня с помощью регулирующего клапана; при этом поток является постоянным и не зависящим от скорости оборотов двигателя.
Топливная система

Топливная система двигателя D16C имеет электронное управление (EMS), и в принципе такая же, что и для двигателей D9 и D12. Впрыск топлива происходит через насосы-форсунки, по одной на цилиндр, под высоким давлением.
Высокое давление получается механическим путем, через коромысла и верхний распредвал.
Количество топлива и точка впрыска регулируются электроникой через блок управления двигателя
(EECU), который получает сигналы от ряда датчиков.
На рисунке показаны основные компоненты, включенные в топливную систему, и также поток топлива системы питания.
1 Питающий насос
2 Фильтр грубой очистки, индикатор уровня бака
3 Корпус фильтра
4 Фильтр предварительной очистки с водоотделителем
5 Топливный фильтр
6 Соединительный вывод обратной линии
7 Блок управления двигателем
8 Неполнопоточный клапан со встроенным выпускным клапаном
9 Насос-форсунка
10 Топливный канал в головке цилиндра
Система питания топливом, принцип работы

Топливо всасывается питающим насосом (1) через фильтр грубой очистки (2), минуя электрический
топливный насос (3) и невозвратный клапан (4), в корпус фильтра. Задачей невозвратного клапана является предотвращение потока топлива обратно в бак, когда двигатель выключен. Топливо также проходит предварительный фильтр (5) с водоотделителем (6) перед тем, как выйти из корпуса фильтра.
Из корпуса фильтра топливо далее проходит через охлаждающую спираль блока управления (7). В разветвлении (8), топливо смешивается с возвратным топливом из головки цилиндра, и поступает на впуск питающего насоса.
В питающем насосе имеется два клапана.
Предохранительный клапан (9) открывается на стороне всасывания, когда давление становится
слишком высоким, например, если топливный фильтр засоряется. Невозвратный клапан (10) открывается, когда используется электрический топливный насос.
Топливо нагнетается от питающего насоса через основной фильтр (11), и далее - в продольный
топливный канал головки цилиндра (12), который питает топливом насосы-форсунки (13).
Запуск в условиях сильного холода должен производиться при температурах ниже -20° C.
Предохранительный клапан (B) открывается для защиты масляного насоса от высокого давления,
вследствие очень большой вязкости масла.
Редукционный клапан (C), неполнопоточный клапан (A) и рабочий клапан охлаждения поршня (E)
открываются из-за большой вязкости.
На кронштейне фильтра расположен датчик давления топлива (17) и патрубок (18) для дренажа системы. В водоотделителе (6) имеется датчик уровня (19), подающий водителю сигнал, когда уровень воды слишком большой. Дренаж осуществляется с помощью выключателя на панели приборов, который запускает электрический насос (3) и открывает сливной клапан (20).
Топливная система, компоненты

Несколько компонентов топливной системы являются одинаковыми или аналогичными тем, которые используются в двигателях D9A и D12D.
A: Насосы-форсунки Delphi типа E1. По принципу работы они такие же, что и для двигателей D9A и D12D, но имеют диаметры поршней большего размера и больший ход.
B: Кронштейн топливного фильтра такой же, что и для двигателей D9A и D12D. На кронштейне
фильтра находится электрический насос (1), используемый для вентиляции и дренажа воды.
Невозвратный клапан (2) встроен в насос; он предотвращает поступление топлива обратно в бак
при выключенном двигателе.
Патрубок (3) используется для дренажа топлива при снятии компонентов с системы. Патрубок имеет
маркировку «DRAIN (ДРЕНАЖ)» на кронштейне.
Электрический соединитель (4) предназначен для электрического насоса и датчика давления топлива.
Электрический соединитель (5) предназначен для датчика уровня (9) и клапана слива (10) в
водоотделителе (8).
Фильтр предварительной очистки (7) фильтрует сторону всасывания топлива перед тем, как оно
поступит в питающий насос. Основной фильтр (11) фильтрует топливо после стороны нагнетания
питающего насоса.
С: Топливоподкачивающий насос, так же как и для D9A, является зубчатым насосом, и установлен
сзади насоса усилителя руля (12). Питающий насос управляется от насоса усилителя руля через вал (13). В качестве уплотнения между двумя насосами используется уплотнительное кольцо (14), расположенное в канавке на фланце насоса усилителя руля. Передача мощности между насосами осуществляется через плавающий толкатель (15).
Корпус насоса (16) и крышка (17) сделаны из чугуна.
Валы привода насосов смонтированы в игольчатых подшипниках (18 и 19). Предохранительный клапан насоса (20) расположен в корпусе насоса, а невозвратный клапан (21) - на торцевом фланцевом конце насоса.
Топливо, просачивающееся через приводной вал насоса, выводится обратно на сторону всасывания
насоса через канал (22).
D: Блок управления двигателем (EMS) установлен с левой стороны двигателя, с резиновыми элементами
виброгасителя. Блок управления охлаждается топливом, которое на стороне всасывания проходит
через охлаждающую спираль, закрепленную к наружной стороне блока управления.
E: Неполнопоточный клапан, который идентичен клапану для двигателя D9A, имеет встроенный
выпускной клапан (23), и представляется собой комбинированный неполнопоточный/выпускной клапан.
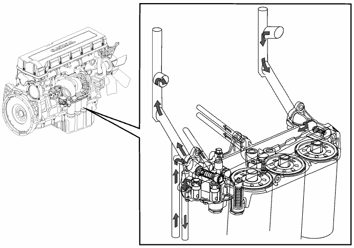
Насосы-форсунки

Насосы-форсунки Delphi типа E1. Они располагаются вертикально по центру цилиндров, между четырьмя клапанами. Насос-форсунка в принципе может быть разделен на три основные детали:
1 Деталь насоса
2 Деталь блока давления
3 Деталь распылителя
Насос-форсунка удерживается в своем положении в головке цилиндра с помощью хомута (1). Нижняя
часть инжектора разделена по направлению к оболочке системы охлаждения медной втулкой (2) и уплотнительным кольцом (3).
Кольцеобразная камера для питания топлива (4) вокруг каждого насоса-форсунки уплотнена двумя
уплотнительными кольцами (5 и 6).
В детали клапана имеется конус клапана (7), статор (8) и пружина возврата (9).
На электрическом соединении (10) насоса-форсунки имеется три отметки — номер детали (11), код
клапанной арматуры (12) и номер изготовления (13). При замене одного или нескольких насосов-форсунок, блок управления нужно запрограммировать на код клапанной арматуры для нового насоса-форсунки. Код клапанной арматуры программируется с помощью задания параметров в VCADS. Программирование необходимо выполнить только для насосов-форсунок, которые были заменены.
Воздухозаборник и воздушный фильтр

Воздухозаборник (FH16) сделан полностью из пластика, и расположен с левой стороны за задней
стенкой кабины. Соединение между частями кабины и шасси осуществляется через самоуплотняющийся
резиновый чехол (1). Внизу нижней соединительной трубки имеется резиновый клапан (2) для слива
воды. Защитная сетка (3) соединена с резиновым чехлом. От воздушного компрессора идет шланговое соединение (4) в чистую сторону воздухозаборника.
Корпус фильтра также сделан из пластика, и установлен на кронштейне шасси за кабиной.
Вкладыш фильтра (5) сделан из пропитанной бумаги, и имеет фиксированные уплотнения из резины с
обоих концов. Уплотнения также действуют как направляющие для вкладыша фильтра. Вкладыш
фильтр следует заменять через каждые 24 месяца, или если загорается сигнальная лампа (6). Для более
тяжелых условий работы может быть установлен дополнительный вторичный фильтр (7).
На трубке между корпусом фильтра и турбокомпрессором имеется комбинированный датчик для температуры воздуха и низкого давления (8). Датчик выдается сигнал к сигнальной лампе на панели приборов, если фильтр начинает засоряться.
Выпускной коллектор и турбокомпрессор

Выпускной коллектор состоит из трех частей теплостойкой литой стали. Стыки имеют подвижное
соединение с плотной посадкой. Между головкой цилиндра и фланцами коллектора имеются прокладки из листовой стали с графитовым покрытием.
Турбокомпрессор изготовлен фирмой Holsten, является типа MWE, и имеет турбину с байпасом.
Неполнопоточный клапан стороны выпуска предназначен для защиты турбокомпрессора путем уменьшения скорости вращения при выходах большой мощности. Клапан действует по турбодавлению в блоке давления (1) через плечо рычага.
A: Здесь показан выходной поток при низком турбодавлении. Клапан (2) закрыт, и весь выходной объем проходит через рабочее колесо турбины.
B: Когда турбодавление достигает приблизительно 185 кПа, клапан начинает открываться. Часть
выхлопных газов проходит через клапан мимо турбины, что уменьшает скорость вращения
турбокомпрессора.
Турбокомпрессор выполнен типа MWE (Улучшение регулировочных характеристик). Воздухозаборник
компрессора делится на две зоны — внутреннюю и внешнюю. Обе зоны соединены с помощью
кольцеобразной прорези.
С: При тяжелых условиях работы двигателя на низких оборотах, воздух, который не принимается двигателем, рециркулируется через кольцеобразную прорезь.
D: При высоких оборотах двигателя и высоком турбодавлении используется весь забор воздуха,
обеспечивая двигатель большим количеством воздуха. На практике это означает, что турбокомпрессор имеет более широкую рабочую область с улучшенным крутящим моментом.
Система охлаждения зарядного воздуха и подогреватель

Двигатель D16C оснащен системой охлаждения зарядного воздуха воздушного типа (промежуточный охладитель). Охладитель зарядного воздуха проходит перед радиатором и уменьшает входную температуру воздуха приблизительно на 100° C. Входной воздух становится более плотным, поэтому может быть впрыснуто большее количество топлива. Это обеспечивает более высокую мощность двигателя.
Холодный воздух также уменьшает напряжения на поршнях и клапанах.
Для стран с холодной зимой имеется электрический подогреватель (1) как опционное дополнительное
оборудование. Подогреватель подключается, когда ключ зажигания поворачивается в положение
подогревателя, если температура двигателя менее +10° C. Время перед подогревом и после подогрева регулируется блоком управления двигателем. На схеме показано время соединения в секундах в зависимости от температуры двигателя.
Преимуществом является более легкий запуск и уменьшение количества белого дыма в выхлопных
газах. Реле подогревателя (2) расположено в аккумуляторном ящике.
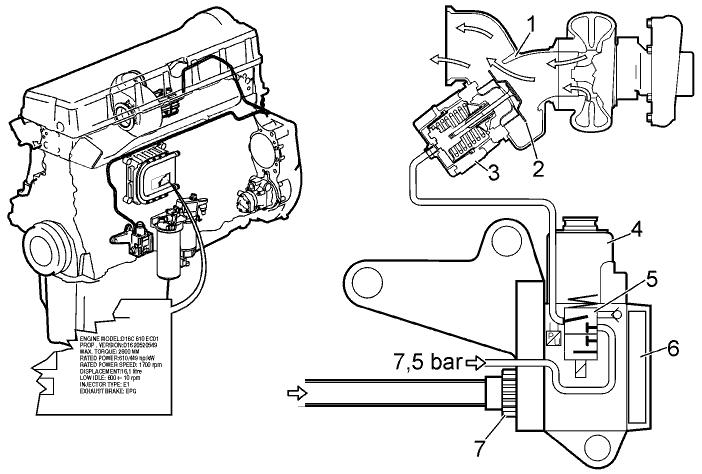
Регулятор давления выхлопа (EPG)

В стандартном исполнении двигатель D16C имеет регулятор давления выхлопа (обозначенный EPG на
идентификационном ярлыке). Регулятор давления выхлопа расположен вдоль корпуса турбины
турбосистемы, и выполняет две задачи:
1 В режиме холостого хода двигатель остается теплым за счет создания противодавления в выпускном коллекторе.
2 При езде вниз по склону он также действует как дроссельный тормоз.
Регулятор давления выхлопа состоит из корпуса заслонки (1), заслонки (2) и пневматического цилиндра (3). Сжатый воздух поступает из системы сжатого воздуха автомобиля, и регулируется пневмоклапаном, называемым AVU (блок пневмоклапана). Это клапан типа PWM (Модуляция по длительности импульса) и состоит из электромагнитного клапана (4), пневмоклапана (5) и печатной платы (6). Входное давление понижается до 7,5 бар, а выходное давление от пневматического цилиндра может изменяться в пределах 0,5-7,5 бар.
Регулирование осуществляется по сигналу PWM от блока управления двигателем через соединение (7). Для того, чтобы выполнялись различные требования к воздуху для дроссельного тормоза, блок управления двигателем посылает сигнал PWM на клапан AVU, где длительность импульса сигнала (в процентном отношении) определяет величину давления воздуха, подаваемого на цилиндр давления.
Здесь показано положение во время обычной езды.
На клапане AVU отсутствует мощность, заслонка полностью открыта, и выхлопные газы могут свободно проходить.

Здесь показаны две различные функции регулятора давления выхлопа.
A: Функция дроссельного тормоза. Когда выключатель замкнут и акселератор отпущен, блок управления двигателем посылает сигнал PWM с длительностью импульса 90% на клапан AVU. Клапан открывается и передает давление 7,5 бар на пневматический цилиндр. Заслонка закрывается, и в выпускном коллекторе повышается противодавление.
B: Функция регулирования температуры. Когда температура охлаждающей жидкости меньше 70° C
и применен стояночный тормоз, блок управления двигателем посылает сигнал PWM с длительностью
импульса 30% на клапан AVU. Клапан передает давление 2,3 бар на пневматический цилиндр.
Пониженное давление соответствует открытию заслонки на 1 мм при нормальном холостом режиме. Это создает противодавление в выхлопных газах, что обеспечивает более быстрый прогрев двигателя, и также удерживает его в теплом состоянии на холостых оборотах.
VEB (Система торможения двигателем Volvo)

VEB (Система торможения двигателем Volvo) является обозначением дроссельного тормоза Volvo. VEB включает две функции дроссельного тормоза. Обычный, стандартный, дроссельный тормоз (EPG), и компрессионный тормоз двигателя — VCB (Компрессионный тормоз Volvo) — встроены в клапанную систему двигателя. На нижнем ярлыке блока управления показано, оснащен ли двигатель VEB.
При активации VEB компрессионный тормоз двигателя обеспечивает конкретный уровень тормозного усилия, в зависимости от скорости.
Регулирование мощности дроссельного тормоза осуществляется изменением давления воздуха в
цилиндре EPG. Изменение управляется блоком управления двигателем. На схеме показана максимальная мощность, которую обеспечивает тормоз при разных скоростях оборотов двигателя.
Основные различия между двигателем с VEB и двигателем без VEB заключаются в регулирующем
клапане (1), коромыслах системы выхлопа (2), оси коромысла (3) и распределительном валу (4). Кроме
того, наборы данных блока управления двигателем отличаются между собой.
Для диагностики функции компрессионного тормоза двигателя существует пробка с резьбой на передней поверхности головки цилиндра (5).
Здесь может быть подключено оборудование для измерения давления масла в оси коромысла.
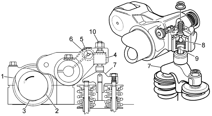
Регулирующий клапан

Для активации компрессионного тормоза двигателя используется давление масла двигателя. Давление
масла регулируется регулирующим клапаном (1), который расположен на головке цилиндра между
третьим и четвертым цилиндром. Масло поступает в регулирующий клапан через просверленный канал
(2) из главного канала системы смазки. Выпуск (3) происходит через трубку к оси коромысла.
Активация компрессионного тормоза двигателя происходит от электромагнитного клапана (5).
A: Нормальная эксплуатация двигателя. Давление на выпуске уменьшается приблизительно до 1 бар. Поршень клапана перемещается в положение равновесия между силой сжатия пружины с одной стороны, и давлением масла - с другой. Давление масла один бар является достаточным для смазки
распредвала и клапанного механизма.
B: Компрессионное торможение двигателя.
Когда электромагнитный клапан активирован, сливной канал открывается. Сжатие пружины толкает поршень вправо, и давление масла на ось коромысла возрастает.
Неполнопоточный клапан (14) регулирует давление питания топливом насосов-форсунок. Выпускной
клапан встроен в неполнопоточный клапан.
Воздух, содержащийся в потоке системы, вместе с небольшим количеством топлива, возвращается в
бак через линию (15) и ее соединительный вывод (16).
Распредвал и выходные коромысла

Распредвал двигателя, оснащенного VEB, кроме обычного выходного кулачка (1), имеет два
дополнительных кулачка — кулачок зарядки (2) и кулачок декомпрессии (3) — на каждом выходном
кулачке. Эти дополнительные кулачки имеют высоту подъема около 0,8 мм над базовой окружностью.
В выходном коромысле имеется гидравлический поршень (4) и невозвратный клапан (5). На коромысле снаружи имеется пластинчатая пружина (6), которая удерживает коромысло под давлением относительно суппорта (7). Для защиты клапанного механизма от сильных напряжений в гидравлическом поршне (8) существует ограничивающий давление клапан. Если давление становится слишком высоким для гидравлического поршня, то клапан открывается и выпускает часть масла через канал (9).
Регулировка клапанного зазора выполняется с помощью регулировочного винта (10).
Активация VEB

Для активации тормоза VEB должны выполняться следующие условия:
A: Выключатель дроссельного тормоза включен
B: Скорость оборотов двигателя свыше 100 об/мин
С: Скорость автомобиля свыше 5 км/час
D: Педаль сцепления полностью отпущена
E: Температура моторного масла свыше +55° C
F: Турбодавление ниже 0,5 бар

Когда водитель отпускает акселератор и выполняются вышеперечисленные условия, то активируется функция VEB. Блок управления двигателем выдает сигнал на клапан AVU (1), который выпускает воздух на EPG, заслонка которого закрывается (2). Одновременно, электромагнитный клапан (3) открывается так, что регулирующий клапан передает полное давление масла на выпускные коромысла.
Внимание: Если активируется ABS тормозной системы, то VEB автоматически отключается.
Функция коромысла

Здесь показана работа коромысла при нормальной эксплуатации двигателя. Давление масла в оси
коромысла регулируется приблизительно до 1 бар, что достаточно для обеспечения смазки. Масло
поступает на невозвратный клапан через канал (1) в коромысле. Давление масла действует на поршень
невозвратного клапана (2), но низкое давление масла не может превышать силу сжатия пружины (3). Шарик невозвратного клапана (4) находится вне седла, поэтому давление масла не повышается в
гидравлическом поршне (6).

Когда активируется компрессионный тормоз двигателя, давление масла в коромысле регулируется приблизительно до значения свыше 2 бар. Давление масла на поршень (2) превышает силу сжатия пружины (3), и шарик (4) перемещается в седло. Оставшаяся часть масла над гидравлическим
поршнем давит на поршень вниз к суппорту, в результате чего клапанной зазор устраняется при
перемещении коромысла вниз.
Открытие клапанов во время компрессионного торможения двигателя

Здесь показан принцип открытия клапанов при активации VEB.
A: Когда двигатель работает и давление масла в оси коромысла низкое, то давление на гидравлический поршень не действует.
Клапанной зазор выходных клапанов составляет около 1,7 мм, но пластинчатая пружина удерживает коромысло в контакте с суппортом, и ролик коромысла будет перемещаться выше, чем нижние кулачки на распределительном валу.
Нижние кулачки не вызовут открытие клапанов.
B: Здесь VEB активирован. Давление масла переместило гидравлический поршень вниз, и клапанной зазор исчез. Ролик коромысла теперь находится в контакте с базовой окружностью распредвала.
С: Здесь показан вид кулачка зарядки непосредственно под роликом коромысла.
Нижний кулачок обеспечивает небольшое и кратковременное открытие клапанов.
Соответствующее открытие клапанов происходит, когда кулачок декомпрессии проходит под роликом коромысла.
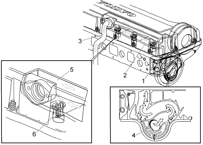
Вентиляция картера

Система вентиляции картера состоит из двух маслоуловителей, расположенных в верхнем кожухе трансмиссии (1), а также крышки клапана (2) и внешней трубки (3). В кожухе трансмиссии конструкция маслоуловителя представляет собой лабиринт с соединениями кожуха картера (4) в середине центра промежуточной шестерни. При вращении промежуточной шестерни создается зона, относительно свободная от масла. Крышка клапана имеет отлитый канал (5) с тремя сливными отверстиями (6).
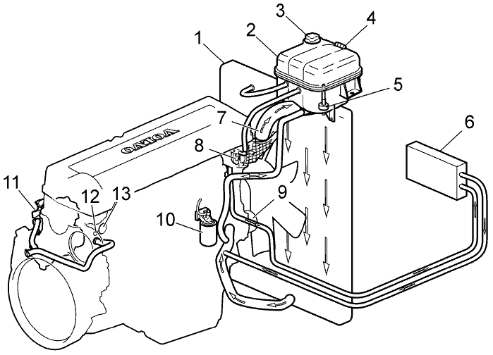
Система охлаждения

Здесь показаны внешние детали системы охлаждения, а также циркуляция охлаждающей жидкости. Задняя часть насоса охлаждающей жидкости встроена непосредственно в блок цилиндров. Термостат охлаждающей жидкости встроен непосредственно в головку цилиндра.
1 Радиатор
2 Расширительный бачок
3 Верхняя крышка заливки, включая нагнетательный клапан
4 Передняя крышка заливки
5 Датчик уровня
6 Нагреватель в кабине
7 Соединение, термостат охлаждающей жидкости с радиатором
8 Датчики температуры
9 Насос охлаждающей жидкости
10 Фильтр охлаждающей жидкости
11 Воздушный компрессор
12 Соединение для подогревателя двигателя (дизельного)
13 Соединение для электрического подогревателя (220 V, розетка)

Охлаждающая жидкость перекачивается с помощью насоса охлаждающей жидкости (1) епосредственно
в распределительную оболочку блока цилиндров на правой стороне блока. Часть охлаждающей
жидкости нагнетается в нижние оболочки охлаждения гильзы цилиндра через отверстие (2). Основные объемы охлаждающей жидкости нагнетаются вверх через маслоохладитель (3), и затем на верхние оболочки охлаждения гильзы цилиндра (4). Возвратная жидкость поступает в головку цилиндра от оболочки гильзы через каналы (5). Вся охлаждающая жидкость проходит через термостат (6) к радиатору, или через трубку (7) обратно к насосу охлаждающей жидкости. Выбор маршрута зависит от температуры двигателя.
Воздушный компрессор (8) соединен с блоком цилиндров и головкой цилиндра через внешние трубки и шланги.
Кронштейн фильтра охлаждающей жидкости (9) закреплен болтами на стороне крышки блока
цилиндров.
Насос охлаждающей жидкости и термостат

Термостат для циркуляции охлаждающей жидкости является поршневого типа, и имеет термочувствительный корпус с парафином, который регулирует открытие и закрытие.
A: Термостат в закрытом положении (холодный двигатель)
B: Термостат в открытом положении (горячий двигатель)
Насос охлаждающей жидкости (C) имеет заднюю часть с каналами для распределения охлаждающей
жидкости, которые обработаны на станке непосредственно в блоке цилиндров (1). Передняя (внешняя) часть имеет алюминиевый корпус (2), который содержит пластиковое рабочее колесо (3), уплотнение вала (4), подшипник (5) и шкив (6). Подшипником является комбинированный роликоподшипник с постоянной смазкой. Между уплотнением вала и подшипником имеется вентилируемая камера (7), выходящая за шкивом (8).

Здесь показана циркуляция охлаждающей жидкости через термостат и насос охлаждающей жидкости,
когда двигатель холодный (A) и когда двигатели имеют рабочую температуру (B).
Приводные ремни

Двигатель D16C имеет два приводных ремня, оба клиновидные. Внутренний ремень (1) обеспечивает привод для компрессора воздушного кондиционера (2) и генератора (3). Внешний ремень (4) обеспечивает привод для вентилятора (5) и насоса охлаждающей жидкости (6). Оба ремня имеют автоматические натяжные устройства для ремня (7 и 8). Для достижения нужной подгонки ремня вентилятора имеется ролик (9).
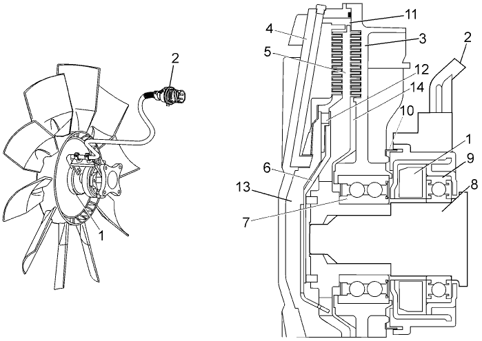
Вентилятор охлаждающей жидкости

Вентилятор радиатора является вязкостного типа с электрической функцией включения и отключения.
Включение и отключение происходит через электромагнит (1), который получает сигналы от блока управления двигателем через блок сцепления (2). Преимуществом этого типа вентилятора является улучшенная адаптация скорости вентилятора к требованиям для охлаждения.
На скорость вентилятора влияют различные параметры. При необходимости охлаждения следующая система может запросить дополнительную скорость вентилятора через блок управления двигателем.
• Температура охлаждающей жидкости
• Система сжатого воздуха
• Система КВ
• Температура зарядного воздуха
• Замедлитель
• Температура EECU
Основными компонентами вентилятора являются:
1 Соленоид
2 Блок сцепления
3 Корпус сцепления
4 Внешняя крышка
5 Ведущий диск
6 Клапан
7 Подшипник, корпус сцепления
8 Вал вентилятора
9 Подшипник, электромагнитный
10 Колесо датчика, датчик скорости вращения
11 Возвратный канал, силиконовое масло
12 Канал питания, силиконовое масло
13 Накопительная камера
14 Ведущая камера
Ведущий диск постоянно соединен с валом вентилятора и всегда вращается с той же скоростью, что и шкив вентилятора. Корпус сцепления закреплен к вентилятору и установлен на подшипниках на валу вентилятора, поэтому он может свободно вращаться относительно вала.
Работа вентилятора

На рисунке A показан вентилятор, когда электромагнит не активирован, например, когда вентилятор работает на холостом ходу.
Силиконовое масло при этом собирается во внешней накопительной камере. В результате действия центробежной силы масло собирается в камере по краям.
На рисунке B показано, что происходит при активации электромагнита. Магнитное поле, создается в валу вентилятора, что означает, что клапан подтягивается к валу и открывает канал питания. Силиконовое масло теперь перетекает в ведущую камеру и заполняет прорези между фланцами ведущего диска и канавкой в корпусе сцепления. Высокая вязкость силиконового масла действует как тормозная сила, увлекая корпус сцепления, в результате чего скорость вентилятора увеличивается. Центробежная сила увлекает силиконовое масло из ведущей камеры через возвратный канал обратно в накопительную камеру.
Это означает, что как только клапан закрылся, подача масла в ведущую камеру уменьшается, и скорость вентилятора падает.
Система управления двигателем

Топливная система двигателя D16C имеет полностью электронное управление количеством впрыска и
точкой впрыска. Система называется EMS (Система управления двигателем). Здесь кратко описаны
подробности системы, расположенной на двигателе.
Центральной частью системы является блок управления (A), расположенный на левой стороне
двигателя. Кабельные соединители датчиков двигателя являются соединителями типа DIN, и собираются в кабельной муфте (B).
Датчики системы управления двигателем (некоторые имеют двойное назначение):
1 Электромагнит и датчик скорости вращения, вентилятор охлаждающей жидкости. Расположен на ступице вентилятора.
2 Датчик уровня охлаждающей жидкости.
Расположен в расширительном бачке.
3 Температура охлаждающей жидкости.
Расположен на передней поверхности головки цилиндра.
4 Положение распредвала. Расположен на верхней крышке распределительной шестерни.
5 Давление и температура воздуха.
Комбинированный датчик, расположенный на чистой стороне корпуса фильтра.
6 Давление и температура зарядного воздуха.
Комбинированный датчик, расположенный в впускном коллекторе.
7 Положение маховика и скорость вращения.
Расположен сверху на корпусе маховика.
8 Давление и температура масла.
Комбинированные датчики, расположенные в канале смазки блока цилиндров.
9 Датчик давления топлива. Расположен под защитной крышкой корпуса фильтра.
10 Датчик уровня для водоотделителя. Расположен в баке водоотделителя.
11 Датчик уровня масла. Расположен в смазочном насосе. Соединение датчика закреплено на левой
стороне маслосборника.
12 Датчик давления в картере. Расположен на кронштейне генератора. Отверстие просверлено через кронштейн и блок цилиндров.
В блоке управления имеется датчик атмосферного давления и датчик температуры.
Кабельная разводка двигателя

Все кабельные соединения между датчиками и жгут проводки двигателя собраны в кабельной муфте для защиты от попадания воды и внешнего повреждения. Кабельная муфта расположена над блоком управления. Муфта сделана из пластика и состоит из трех частей. Внутренняя часть (A) закреплена болтами к двигателю и имеет крепления для всех кабелей и соединителей, управляющих двигателем. Снаружи имеется промежуточная перегородка (B) и внешняя крышка (C). Внутри внешней крышки имеется место для других кабелей автомобиля.