См. также:
Антиблокировочная тормозная система АБС-П
Сокращения и условные обозначения составных частей системы и сигналов, принятых в настоящем техническом описании:
- АТС - автотранспортные средства;
- ЭБУ - электронный блок управления;
- ЭПМ – электропневмомодулятор;
- АБС-П - АБС прицепа;
- ЭПМ-П - ЭПМ прицепа;
- ЭБП - электронный блок прицепной;
- ДЧВК - датчик частоты вращения колеса;
- ШИМ - широтно-импульсная модуляция;
- 1L, 1R - датчики соответственно левого и правого колес первой оси;
- 2L, 2R - датчики соответственно левого и правого колес второй оси;
- М1 - модулятор М1, используется только для осевого регулирования типа MAR в конфигурациях 1, 4;
- М2 - модулятор М2, используется для регулирования колес левого борта в конфигурациях 2 (алгоритм IR), 3 (алгоритм MSR), 4 (алгоритмы IR, InR);
- М3 - модулятор М3, используется для регулирования колес правого борта в конфигурациях 2 (алгоритм IR), 3 (алгоритм MSR), 4 (алгоритмы IR, InR).
Система АБС имеет две основные модификации: АБС-Т, применяемая на автомобилях-тягачах, и АБС-П, применяемая на прицепном составе.
АБС-Т и АБС-П могут применяться как автономно, так и совместно.
В данном руководстве описывается модификация АБС-П.
Система АБС-П предназначена для установки на прицепной состав (прицепы и полуприцепы) с пневматическим приводом тормозов.
Система АБС-П обеспечивает удовлетворение автотранспортным средством всем требованиям Приложения 13 Правил ЕЭК ООН в отношении эффективности торможения, энергопотребления и сигнализации. При этом обеспечивается выполнение требований в отношении АБС первой категории.
Система АБС-П изготовлена для условий эксплуатации "У" по ГОСТ 15150-69, при нижнем значении рабочей температуры минус 40°С.
Питание системы осуществляется от бортовой сети автомобиля с номинальным напряжением плюс 24 В, минус на "массе".
Изменение напряжения в бортовой сети от 18 до 30,5 В и перенапряжение в бортовой сети согласно ГОСТ 30241.1-96.
Система АБС-П позволяет обеспечить функцию счетчика пробега прицепного состава.
Максимальный диапазон скоростей АТС, в котором осуществляется регулирование:
- для режима АБС-регулирования с 5 до 125 км/ч.
Система АБС-П осуществляет регулирование при коэффициентах сцепления колес АТС с поверхностью дороги от 0,1 до 0,8 во всем диапазоне скоростей настоящего руководства по эксплуатации. При этом в процессе регулирования система АБС-П не приводит к колебаниям продольного замедления, ускорения АТС свыше 5 м/с3, а также к возникновению дополнительных нагрузок между звеньями АТС и в рулевом управлении.
Потребляемая мощность составляет:
- в режиме ожидания (контроля), не более – 15 Вт;
- во всех других режимах, не более – 300 Вт.
Рабочая среда для исполнительных устройств - воздух (возможно попадание влаги и масел).
Автоматический функциональный контроль системы АБС-П осуществляется за время не более 3с после включения питания.
Световой сигнал о нарушении работоспособности системы в любом звене АТС постоянный и индицируется на контрольной лампе до устранения неисправности.
Устройства функционального контроля и сигнализации системы контролируют и фиксируют следующие параметры и отказы:
- снижение питающего напряжения ниже минимального предела 18 В;
- снижение уровня сигнала датчиков ниже допустимого 0,2 В при зазоре между торцом датчика и зубом ротора 1,0 мм;
- обрыв или короткое замыкание в цепи датчика;
- обрыв или короткое замыкание в цепи исполнительных устройств (модуляторов);
- наличие рабочего напряжения на электроклапанах модуляторов до начала движения АТС и в течение времени более 1 с после включения питания;
- наличие рассогласования частоты вращения колес и амплитуды выходного сигнала датчика выше заданной величины;
- недостоверную величину скорости;
- нарушение заданных алгоритмов работы.
Система АБС-П проводит диагностирование, проверку своей конфигурации, работоспособности и тормозной эффективности непосредственно на АТС без демонтажа элементов, входящих в ее состав.
Уровень радиопомех от АТС, оборудованного системой АБС-П не превышает величин, установленных СТБ ГОСТ Р 51318.12.2001 и ГОСТ 28279-89.
Уровень звукового давления, создаваемого исполнительными устройствами, в составных полосах частот не превышает 72 дБ.
Система обеспечивает приоритет управления водителя на растормаживание колес.
Система АБС-П и ее элементы удовлетворяют требованиям ГОСТ 28751-90 по устойчивости к импульсным и длительным помехам в сети питания электрооборудования и электростатическим разрядам на корпус.
Показатели надежности системы следующие:
- 90% - ная наработка на отказ не менее 10 000 часов;
- гарантийный срок службы - не менее 2 лет или 50 тыс.км пробега АТС;
- срок службы системы не менее 10 лет или 800 тыс.км пробега, что соответствует сроку службы АТС.
УСТРОЙСТВО И РАБОТА ИЗДЕЛИЯ
Система содержит основные устройства (электронный блок управления, датчик частоты вращения колеса) и исполнительные устройства (модуляторы).
Электронный блок соединяется с исполнительными устройствами и датчиками с помощью соответствующих кабелей. К ЭБП кабели подключаются в соответствии с назначением колодок. При установке систем на автопоезд АБС-П соединяется с автомобилем последовательно соединенными кабелями, через которые от тягача через инфомодуль на АБС-П подается питание, а с ЭБП поступают
сигналы на контрольную лампу.
АБС-П и АБС-Т работают автономно.
Электронный блок управления системы может работать в двух режимах:
- рабочем;
- диагностическом.
При подаче питания на ЭБУ производится анализ состояния кнопки диагностики и линии WARN LAMP. Если кнопка нажата или линия замкнута на массу, блок переходит в режим выдачи диагностической информации. Если кнопка не нажата, блок переходит в рабочий режим.
В рабочем режиме система выполняет следующие функции:
- антиблокировочную функцию при торможении АТС;
- функцию начального и периодического тестирования элементов системы с целью выявления отказов;
- функцию сохранения информации об отказах в системе в ППЗУ;
- функцию расчета эффективности торможения и хранения данной величины в ППЗУ;
- функцию фиксации пробега прицепа.
УСТРОЙСТВО И РАБОТА СОСТАВНЫХ ЧАСТЕЙ ИЗДЕЛИЯ
Датчики частоты вращения колес
Датчики частоты вращения колес устанавливаются по одному на правое и левое передние и задние колеса. Эти датчики вырабатывают сигналы скорости, на основании которых ЭБУ посылает управляющие сигналы на исполнительные механизмы в соответствии со скоростью движения АТС и состоянием дороги.
Технические характеристики ротора:
- число зубьев ротора – 80 или 100 (допускается установка ротора с меньшим числом зубьев по согласованию с разработчиком АБС);
- средний диаметр зубчатого венца от 120 до 260 мм, высота зуба не менее 2,5 мм;
- отношение ширины зуба к ширине впадины по среднему диаметру зубчатого венца – 1;
Технические характеристики датчика:
- режим работы продолжительный номинальный S1 по ГОСТ 3940-84;
- усилие смещения датчика в осевом направлении при его установке от 100 до 200Н;
- электрическое сопротивление датчика – (1,3 ± 0,1) кОм;
- диапазон угловых скоростей зубчатого ротора от 0,43 до 12 об/с при скорости от 5 до 140 км/ч;
- датчик обеспечивает амплитуду выходного сигнала при угловой скорости ротора 0,43 об/с, сопротивлении нагрузки 1МОм и воздушном зазоре между торцем датчика и зубом ротора (0,7±0,01)мм не менее 0,35В;
- при зазоре до 1мм уменьшение амплитуды не составляет больше 30% от амплитуды при зазоре 0,7 мм;
- рабочий зазор между торцем датчика и зубом ротора от 0,5 до 1,2 мм;
- сопротивление электрической изоляции датчика не менее 100МОм;
- диапазон рабочих температур от минус 45 до плюс 160°С;
- датчик сохраняет работоспособность после воздействия температуры 180°С в течение 30 минут;
- усилие сочленения разъема датчика не более 34Н, а расчленения не более 30Н.
Количество циклов сочленения-расчленения не менее 500;
- датчик выдерживает воздействие вибрационных и ударных нагрузок по ГОСТ 3940-84 для изделий установленных вне двигателя.
Датчик частоты вращения колеса (см. рисунок 2) состоит из чувствительного элемента, содержащего постоянный магнит 1, обмотку 2. ДЧВК работает с зубчатым ротором 3, имеющим 100 зубьев. Концентратор магнитного потока 4 крепится жестко на неподвижной части перпендикулярно зубчатому ротору. Зубчатый ротор выполняется из магнито-мягкого материала, жестко устанавливается на ступице и вращается синхронно с колесом автотранспортного средства. При вращении зубчатого ротора воздушный зазор между ним и обмоткой чувствительного элемента изменяется, что приводит к изменению магнитного потока и появлению в обмотке переменного напряжения. Поскольку частота переменного напряжения пропорциональна скорости вращения зубчатого ротора, это позволяет определить скорость вращения колеса. Датчик постоянно отслеживает изменяющуюся скорость автомобиля.

1 - магнит, 2 - обмотка, 3 - зубчастый ротор, 4 - концентратор, 5 - кабель
Электропневматический модулятор ЭПМ-П
Исполнительный механизм (модулятор) представляет собой устройство, регулирующее давление в тормозных камерах колес по сигналам, поступающим от ЭБУ.
Электропневматические модуляторы (ЭПМ) предназначены для регулирования давления в тормозных камерах согласно управляющим электрическим командам, поступающим на электромагнитные клапана ЭПМ от электронного блока управления.
Технические характеристики модулятора:
- модулятор предназначен для работы в повторно-кратковременном режиме S3 по ГОСТ 3940-84 с продолжительностью одного цикла 40 с и временем работы 20c;
- номинальное напряжение питания 24В;
- пределы изменения напряжения питания от 18 до 30,5В;
- номинальный ток потребления 1,65А;
- рабочая среда - воздух (возможно попадание влаги и масел);
- рабочее давление от 0,03 до 0,82МПа;
- максимальное давление 1,0МПа;
- модулятор сохраняет работоспособность после воздействия давления на вход модулятора 1,32МПа в течение 5 минут;
- активное сопротивление обмоток электромагнита модулятора (15±1)Ом при температуре (20 ± 2)°С;
- негерметичность модулятора при давлении воздуха на входе 0,8МПа должна быть не более 5 см 3/мин;
- сопротивление изоляции модулятора не менее 20 МОм в нормальных климатических условиях и не менее 5 МОм при повышенной влажности;
- изоляция модулятора должна выдерживать воздействие переменного напряжения 550 В с частотой 50 Гц в течение 1 минуты;
- диапазон напряжения питания электромагнитов модулятора от 90% до 125% (от 21,6 до 30 В) от номинального с полным сохранением всех временных пневматических и электрических параметров функционирования. При этом при напряжениях от 18 до 21,6 В и от 30 до 30,5 В должна обеспечиваться полная работоспособность модулятора, где допускается уход пневматических временных параметров, не сказывающихся на работе системы в целом;
- остаточное давление в тормозной камере после сброса воздуха не более 0,005 МПа;
-модулятор обеспечивает время наполнения воздухом тормозной камеры объемом (1±0,1)л не более 200 мс, время выпуска воздуха из тормозной камеры - не более 210 мс, время запаздывания срабатывания не более 80мс;
- токи срабатывания клапанов модуляторов при номинальном напряжении:
- ЭПК отсечки, не более 0,95 А;
- ЭПК сброса, не более 0,65 А;
- усилие сочленения разъема модулятора с разъемом кабельной части не более 15 Н, усилие расчленения - не более 10 Н;
- уровень шума модулятора на открытом воздухе с частотой 5 Гц при давлении 0,8 МПа на расстоянии 10 метров не более 72 дБ;
- диапазон рабочих температур модуляторов от минус 45 до плюс 70°С;
- модуляторы выдерживают воздействие вибрационных и ударных нагрузок по ГОСТ 3940-84 для изделий, установленных вне двигателя;
- масса модулятора (1,1±0,5) кг.
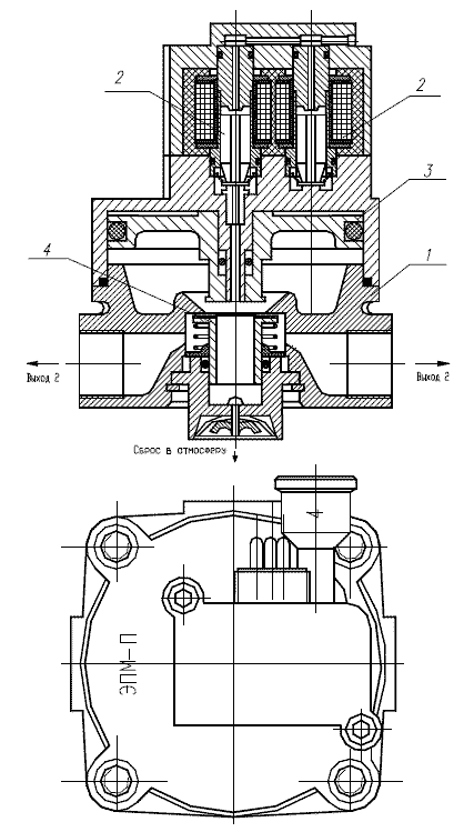
ЭПМ-П обеспечивает управление давлением в тормозных камерах (исполнительных пневмоцилиндрах одностороннего действия) по трехфазному алгоритму (подъем, сброс и выдержка давления). Объем пневмоцилиндров от 0,8 до 2,0 л.
Составными частями ЭПМ-П крышка 1 (см. рисунок 3) с входным, выходным и бросовым отверстиями, корпус 5 с управляющим входом и размещенные в корпусе пилотные электромагнитные клапаны 2 (ПЭК) и пневмоусилители 3.
ЭПМ-П имеют ПЭК "О" - отсечки давления и ПЭК "C" - сброса давления.
В исходном положении (в обесточенном состоянии) конструкция ЭПМ-П обеспечивает пневматическую связь тормозной магистрали (тормозного крана) с управляющей полостью пневмоусилителя.
Модулятор ЭПМ-П подключается следующим образом: вход "4" к тормозной магистрали, вход "1" к ресиверу, два выхода 2 к тормозным камерам.
В исходном положении (обесточенном состоянии) ПЭК "О" не перекрывает канал подачи воздуха от тормозного крана в управляющую полость над поршнем 3. Поэтому при нажатии на педаль тормоза воздух из тормозной магистрали поступает в управляющую полость над поршнем и передвигает поршень вниз. Поршень отжимает клапан 4, перекрывающий доступ воздуха из ресивера в тормозные камеры, начинается торможение колес.
При подаче напряжения на ПЭК "О" клапан перекрывает доступ воздуха из тормозной магистрали в управляющую полость на поршень. Если после этого подается сигнал на ПЭК "С", клапан сброса открывает канал сброса воздуха в атмосферу и удаляет воздух из управляющей полости. При этом поршень отжимается избыточным давлением в рабочей полости под поршнем вверх. Если в момент, когда ПЭК "О" включен, а ПЭК "С" выключен, водитель отпускает педаль тормоза, то давлением в управляющей полости под поршнем отжимается клапан "приоритета". Воздух из управляющей полости удаляется через тормозную магистраль. Поршень идет вверх и сбрасывает в атмосферу воздух из тормозных камер.

Модулятор ЭПМ - П
Электронный блок управления системы АБС прицепа/полуприцепа (ЭБП)
Электронный блок управления системы АБС прицепа/полуприцепа конструктивно представляет собой крышку, на которой расположена плата защищенная панелью и основной корпус, в который вводятся кабели, для чего в удобных местах выбиваются перегородки. На кабели устанавливаются колодки, и они подключаются к плате.
Технические характеристики электронного блока управления:
- масса блока ЭБП не более 3 кг;
- номинальное напряжение питания блока 24 В;
- потребляемая мощность блока не более 20 Вт;
- максимально потребляемая мощность в режиме АБС с учетом исполнительных устройств 250 ВТ;
- диапазон рабочих температур блока от минус 40 до плюс 55°С;
Электронный блок управления обеспечивает:
- прием входных сигналов с индуктивных датчиков(сопротивлением обмоток катушек датчиков (1,3±0,1)кОм), частота принимаемых сигналов от 10 до 1400 Гц, амплитуда сигнала на частоте 10 Гц не менее 0,05В, на частоте 1400 Гц - не более 40В;
- выдачу управляющих воздействий в виде прямоугольных импульсов на модуляторы давления (электромагнитные клапаны "сброса" и "отсечки" с активным сопротивлением не менее 15 Ом, 6 выходов к обмоткам электромагнитов). Длительность импульсов от 10 до 500 мс;
- выдачу сигнала на электромеханический счетчик пробега (номинальный ток 1 А, ток короткого замыкания - 7,2 А);
- управление работой сигнальной лампы "АВS - прицепа" тип А24-2 (ГОСТ 2023.1);
- время готовности ЭБП после включения питания не более 2 с;
- диагностику элементов системы АБС в режиме непрерывного контроля:
а) проверку состояния датчиков на обрыв и короткое замыкание при включении питания и в режиме движения;
б) проверку состояния электромагнитов модуляторов на обрыв и короткое замыкание при включении питания и далее с периодом 1с;
в) проверку состояния контроллера, с автоматическим отключением неисправного контура или системы в целом;
г) фиксирование снижения питающего напряжения ниже предела 18В;
д) фиксирование снижения уровня сигнала датчиков ниже порога чувствительности 0,2 В при частоте более 45 Гц.
е) фиксирует превышение питающего напряжения выше предела 31 В;
ж) фиксирует недостоверные значения сигнала датчиков.
ЭБП может работать в одном из двух режимов:
- рабочем (режим управления системой тормозов при экстренном торможении АТС с блокировкой одного или нескольких управляемых колес);
- диагностическом (режим выдачи информации о неисправностях в системе).
Существует пять разновидностей рабочих режимов (конфигураций): 2S/1M, 2S/2M, 4S/2M, 4S/3M, 4S/4М где iS - число индуктивных датчиков скорости (число управляемых колес АТС), jM - число модуляторов давления для регулирования давления в тормозных камерах.
Конфигурация 1- 2S/1M применяется для управления одноосным полуприцепом с использованием одного модулятора для управления давлением в тормозных камерах двух управляемых колес. Для регулирования давления в данном режиме используется алгоритм MAR (модифицированного осевого регулирования).
Конфигурация 2- 2S/2M применяется для управления одноосным полуприцепом с использованием двух модуляторов для управления давлением в тормозных камерах двух управляемых колес. Для регулирования давления в данном режиме используется алгоритм IR (индивидуального регулирования).
Конфигурация 3- 4S/2M применяется для управления двухосным полуприцепом с использованием двух модуляторов для управления давлением в тормозных камерах двух управляемых колес. Для регулирования давления в данном режиме используется алгоритм MSR (модифицированного регулирования по борту). При этом каждый модулятор управляет давлением сразу в двух тормозных камерах колес одного борта.
Конфигурация 4 - 4S/3M применяется для управления двух/трехосным полуприцепом или прицепом с использованием трех модуляторов для управления давлением в тормозных камерах управляемых колес. Для регулирования давления в тормозных камерах колес первой оси в данном режиме используется алгоритм MAR. Для колес второй оси используется алгоритм IR. При наличии третьей оси применяется алгоритм косвенного регулирования InR.
Конфигурация ЭБП (системы) хранится в виде кода в ППЗУ (EPROM) отказов ЭБУ и может быть установлена (изменена) на этапе производства (установка конфигурации под конкретный заказ) или с помощью диагностического тестера (при переустановке системы АБС на АТС с другой колесной формулой или с другой конфигурацией тормозных магистралей).
При подаче питания на ЭБП первым делом производится анализ состояния кнопки диагностики и состояния линии WARN LAMP. Если кнопка нажата или линия замкнута на «массу», блок переходит в режим выдачи диагностической информации. Выход из данного режима возможен только при выключении питания.
Если кнопка не нажата, блок переходит в рабочий режим. Нажатие на кнопку диагностики уже в рабочем режиме не оказывает на ЭБП никакого влияния. Это сделано для предотвращения входа в режим диагностики, если в процессе движения из-за вибраций или ударов произошло несанкционированное замыкание контактов кнопки диагностики.
Вывод диагностической информации в ЭБП системы АБС прицепа производится с помощью так называемых блинк-кодов, при этом информация одновременно выводится как на лампу диагностики, расположенную в общем, корпусе со счетчиком пробега, или лампу «WARN» в кабине водителя, так и на лампу неисправности, расположенную в кабине тягача.
Вывод информации производится следующим образом.
- Старт - лампы зажигаются на время 2,5с, после чего гаснут и следует пауза также 2,5с.
- Вывод информации о текущей конфигурации ЭБП - лампа зажигается от 1 до 4 раз на время 0,5с, время паузы между соседними зажиганиями ламп также 0,5с. Число морганий и определяет номер конфигурации ЭБП (1 раз - конфигурация 1, 2 раза - 2 и т.д.). После вывода номера конфигурации пауза 2,5с.
- Вывод информации об отказах (если таковые зафиксированы в ЭБУ) - при отсутствии неисправностей в системе производится переход опять к старту. Вывод каждого кода неисправности состоит из двух последовательностей: Р1 и Р2 с паузой между ними 2 с. Пауза между выводом кодов соседних неисправностей составляет 4 с. Во время вывода последовательностей Р1 и Р2 лампы моргают с частотой 1 Гц (0,5 с горит, 0,5 с - пауза). Коды неисправностей приведены в приложении 2. После вывода данных о последней зафиксированной в ППЗУ отказов неисправности производится возврат к старту, процесс вывода прекращается только после выключения питания блока.
При запуске в рабочем режиме блок первым делом определяет, движется ли АТС. Если АТС стоит на месте, последовательно производится тестирование датчиков, модуляторов, внутренних схем ЭБП. При этом лампа неисправности постоянно горит. Если в ходе тестирования обнаружены неисправности, их коды фиксируются в ППЗУ отказов. Если неисправности не обнаружены, блок продолжает работу. Лампа неисправности гасится, как только АТС набрало скорость 10 км/ч. С этого момента блок полностью готов к работе. Лампа не гасится, если зафиксирован хотя бы один отказ в датчиках или модуляторах, при этом работа блока в режиме АБС запрещается, и блок выполняет функции периодического тестирования датчиков и исполнительных элементов. Данное тестирование производится постоянно с периодом 1с для своевременного обнаружения и фиксации неисправно-
стей.
При движении АТС блок постоянно измеряет скорости всех подключенных к нему колес, а также их ускорения, и при превышении некоторых пороговых величин, влекущих за собой блокировку колес, приводит в действие алгоритмы антиблокировочного регулирования. В течение АБС - регулирования путем целенаправленного изменения давления воздуха в тормозных камерах блок пытается
предотвращать блокировку колес и поддерживать проскальзывание колес на уровне, обеспечивающем оптимальное сцепление с дорожным покрытием в данных дорожных условиях. АБС - регулирование производится вплоть до уменьшения скорости АТС до 8 км/ч либо до момента, когда сам водитель прекратил торможение. В зависимости от конфигурации системы АБС блок применяет различные алгоритмы регулирования. Для предупреждения водителя о том, что торможение производится на грани блокировки колес, лампа неисправности в кабине тягача моргает с частотой 2 Гц (1с горит, 1с - пауза).
Блок не начинает АБС - регулирования при начальной скорости торможения менее 10 км/ч.
Во время движения блок постоянно контролирует пройденный АТС путь. Контроль пробега производится только по показаниям датчика переднего левого колеса, который используется во всех конфигурациях. Функция определения пробега не действует, только если неисправен указанный датчик.
При наборе скорости, движении с постоянной скоростью, торможении без угрозы блокировки колес, наличии неисправностей в датчиках или модуляторах блок не оказывает никакого влияния на действия водителя.
Система питания и встроенные защиты:
- напряжение питания блока от 18 до 30,5 В;
- электронная часть блока запитывается от клеммы 15;
- силовая часть - от клеммы 30.
Потребляемая мощность:
- по клемме 15 – 2,5 Вт;
- по клемме 30 - в зависимости от числа подключенных модуляторов, режима работы (есть, или нет торможение с блокировкой колес). При экстренном торможении потребляемая мощность зависит от частоты срабатывания модуляторов, т.е. от состояния дорожного покрытия. Максимальная пиковая мощность наблюдается при одновременном включении всех обмоток всех модуляторов в конфигурации 4 и составляет 300 Вт при номинальном напряжении в бортсети 27 В.
В состоянии покоя (нет АБС - регулирования) потребляемая мощность по клемме 30 ничтожно мала (ток покоя порядка десятков микроампер).
Система питания блока защищена с помощью мощных ограничителей напряжения от импульсных наводок в бортсети и от переполюсовки напряжения питания. Напряжение питания ограничивается диодами на уровне от 33 до 36 В. Подача напряжения выше 33 В, а также переполюсовка напряжения питания приводит к перегоранию плавких предохранителей.
Все входы и выходы блока защищены от короткого замыкания на плюс или «массу» бортсети, а также от импульсных наводок напряжением до 100 В.
В блоке приняты меры против влияния на его работу высокочастотных излучений, а также меры подавления собственных излучений на высоких частотах.
Точность измерения скорости вращения колеса ± 0,25 км/ч.
Время измерения скорости:
- при скорости АТС до 10 км/ч............…..60 мс;
- при скорости АТС выше 10 км/ч............20 мс.
Время измерения ускорения колеса................60 мс
Время проведения расчетов по АБС – регулированию - 5 мс
Алгоритмическая точность определения пробега АТС - 1%.
Фактическая точность зависит от степени износа шин левого переднего колеса и давления в шине, т.е. реального радиуса качения. При выходе из строя датчика переднего левого колеса функция счетчика пробега не выполняется. По включению питания отсчет пройденных метров начинается с нуля, т.е. блок не учитывает то число метров, которое прошло АТС после последнего переключения счетчика километров пробега до выключения питания.
Система не начинает АБС-регулирования:
- при начальной скорости торможения менее 8 км/ч;
- при неисправности в электропитании мощных ключей управления модуляторами.
Система питания блока защищена с помощью мощных ограничителей напряжения от импульсных наводок в бортсети и от переполюсовки напряжения питания.
Напряжение питания ограничивается диодами на уровне 33…36 В. При подаче напряжения выше 31,5 В блок отключается и зажигается WARN LAMP, а также переполюсовка напряжения питания приводит к перегоранию плавких предохранителей. ПОЭТОМУ КАТЕГОРИЧЕСКИ ЗАПРЕЩАЕТСЯ ИСПОЛЬЗОВАТЬ ВМЕСТО ПРЕДОХРАНИТЕЛЕЙ ВСЯКОГО РОДА «ЖУЧКИ», ТАК КАК БЛОК МОЖЕТ ВЫЙТИ ИЗ СТРОЯ.
При работе ЭБП в режиме диагностики световой мигающий код циклически индицируется на щитке приборов или дополнительной контрольной лампой "INF", подключенной к контакту 3 разъема БУ АБС.
Световой мигающий код состоит из трех последовательных информационных блоков: стартового, системного и блока ошибок.

При подаче питания на ЭБП первым делом производится анализ состояния кнопки диагностики. Если кнопка нажата, блок переходит в режим выдачи диагностической информации. Выход из данного режима возможен только при выключении питания. Если кнопка не нажата, блок переходит в рабочий режим. Нажатие на кнопку диагностики уже в рабочем режиме не оказывает на систему никакого влияния. Это сделано для предотвращения входа в режим диагностики, если в процессе движения из-
за вибраций или ударов произошло несанкционированное замыкание контактов кнопки диагностики.
Перечень возможных неисправностей
Пояснения к таблице кодов неисправностей
Датчики
Неисправности типа короткого замыкания (к.з.) или обрыва датчика полностью соответствуют своим названиям. Для их устранения следует рекомендовать:
- прозвонить кабель датчика (сначала каждую жилу в отдельности, затем на к.з. между ними, к.з. жил на массу, т.е. выяснить, исправен ли кабель датчика);
- прозвонить датчик на его сопротивление и к.з. его выводов на корпус;
- заменить неисправный элемент (кабель, датчик) или устранить плохие контакты (зачистка, обжимка и т.д.).
Неисправность типа "недопустимая скорость колеса” устанавливается блоком в следующих случаях:
- фиксации реально не достижимых ускорений колеса;
- фиксации недопустимой скорости более 150 км/ч).
Для устранения рекомендовать то же, что в предыдущем случае плюс проверку взаимного расположения датчика и ротора и биений в ступице ("восьмерку"). Если замена датчика, кабеля, ротора не привела к устранению, возможна неисправность в ЭБУ (компараторы).
Модулятор, счетчик пробега
Неисправности 1, 2, 3, 4, 5 полностью соответствуют своим названиям. Для устранения рекомендовать найти причину к.з., обрыва, замыкания на плюс (в кабеле или самом модуляторе). Кроме того, если, например, одновременно установлены ошибки типа "обрыв клапана впуска" и "обрыв клапана выпуска", велика вероятность обрыва общего провода модулятора или всего кабеля.
Неисправность 6 (другие неисправности модулятора) устанавливается блоком в случаях, когда он не может достоверно идентифицировать неисправность, например, к.з. между выпуском модулятора М1 и впуском модулятора М3 и тому подобные вещи.
В этом случае следует рекомендовать более углубленную прозвонку исполнительных элементов и их кабелей.
Электронный блок
Ошибка (6,3)- напряжение питания ниже нормы - фиксируется блоком, если напряжение на клемме 30 ниже 18 В. Эта ошибка фиксируется только на скоростях АТС, больших 10 км/ч, для исключения ее установки при пуске двигателя.
Возможные причины:
- обрыв питающего провода (плюса или корпусного);
- перегорание предохранителя;
- вышел из строя мощный ключ в ЭБП (наименее вероятная ошибка).
Ошибка (6,4) - внутренняя ошибка ЭБП - фиксируется блоком при нарушении связи между процессором и ППЗУ отказов. Устранение - замена ЭБП.
Ошибка (6,5) - неверная конфигурация системы - фиксируется, если блок обнаруживает, что к нему подключены элементы (датчики, модуляторы), которые не подключаются в данной конфигурации или, наоборот, не подключены элементы, которые должны быть в данной конфигурации. Способ устранения - полная проверка системы коммутации на правильность подключения или смена конфигурации блока, если подключение соответствует желаемому.
ТЕКУЩИЙ РЕМОНТ
Текущий ремонт системы АБС-П
Система АБС-П проводит диагностирование, проверку своей конфигурации, работоспособности и тормозной эффективности непосредственно на АТС без демонтажа элементов, входящих в его состав.
При включенном ЭБП АБС контролируется исправность системы и самого ЭБП с помощью встроенной системы контроля и диагностики.
В случае обнаружения неисправности в системе ЭБП:
- включает контрольную лампу АБС;
- заносит код неисправности в память отказов;
- отключает электронное управление контуром тормозной системы, в котором была обнаружена неисправность.
Код содержит информацию о причине неисправности и неисправном элементе системы и используется в дальнейшем при проведении диагностики системы и определении характера неисправности.
После определения характера неисправности и неисправного элемента системы необходимо:
1. Отключить АБС-П выключателем АБС.
2. Ключ замка включения стартера переключить в положение ВЫКЛЮЧЕНО.
3. Переключить ЭБП в рабочий режим путем отключения линии L (контакт 14 ЭБУ АБС) от «массы» бортсети автомобиля.
4. Устранить выявленную неисправность.
После устранения неисправности необходимо провести контроль системы АБС- П для проверки ее работоспособности и последующего стирания кода неисправности из устройства запоминания отказов.
Перед началом контроля системы АБС-П проверьте исправность штатного электрооборудования пневмосистемы и предохранителей системы АБС. Напряжение бортсети и давление в пневмосистеме АТС должно соответствовать номинальным значениям, плавкие вставки предохранителей должны быть целыми и соответствовать номиналам, указанным в схеме.
Стирание кода неисправности
Стирание кодов неисправности производится после устранения дефектов.
После вывода текущей неисправности следует пауза 2с, после которой выводится код следующей неисправности. Если в течение этой паузы нажать кнопку диагностики и удерживать ее нажатой до начала вывода следующей неисправности или стартового импульса (если данная неисправность последняя в списке), то код следующей неисправности будет стерт из ППЗУ. Опрос положения кнопки производится однократно непосредственно перед началом вывода кода следующей неисправности или
стартового импульса, поэтому кнопку для стирания кода текущей неисправности можно нажимать в любой момент в течение вывода ее собственного кода или последующей 2-х секундной паузы.
Если необходимо стирание всех кодов, то достаточно однажды нажать кнопку и удерживать ее нажатой все время, пока выводятся коды отказов. Через 2с после вывода кода последней зафиксированной неисправности ППЗУ отказов будет полностью стерто.
Если коды отказов были стерты, сами неисправности не были устранены, то их коды будут восстановлены в ППЗУ при первом же включении системы в рабочем режиме.
Назначение контактов ЭБП

AV – зеленый провод
EV – красный провод
SL1, М1 – красный разъем
SL2, М2 – желтый разъем
SLR, М3 – зеленый разъем
S1L – датчик переднего левого колеса;
S1R – датчик переднего правого колеса;
S2L – датчик заднего левого колеса;
S2R – датчик заднего правого колеса;
М1 – модулятор передней оси;
М2 – модулятор левого борта;
М3 – модулятор правого борта.
КОДЫ НЕИСПРАВНОСТЕЙ
ЭБУ СИСТЕМЫ АБС ПРИЦЕПА/ПОЛУПРИЦЕПА



В зависимости от конфигурации блока к нему подключаются:
1.Конфигурация 2S/1M:
Датчики S1L, S1R + Модулятор М1 --- принцип регулирования MAR
2. Конфигурация 2S/2M:
Датчики S1L + Модулятор М2 --- принцип регулирования IR
Датчики S1R + Модулятор М3 --- принцип регулирования IR
3. Конфигурация 4S/2M:
Датчики S1L, S2L + Модулятор М2 --- принцип регулирования MSR
Датчики S1R, S2R + Модулятор М3 --- принцип регулирования MSR
4. Конфигурация 4S/3M:
Датчики S1L, S1R + Модулятор М1 --- принцип регулирования MAR
Датчики S2L + Модулятор М2 --- принцип регулирования IR
Датчики S2R + Модулятор М3 --- принцип регулирования IR
Примечание - Смена конфигурации блока производится только диагностическим тестером.

1 - кабель питания, 2 - блок управления, 3 - модулятор, 4 - датчик колеса, 5 - кабель датчика, 6 - кабель модулятора

1 - датчик колеса, 2 - модулятор, 3 - блок управления, 4 - пропорциональный клапан, 5 - пневмоцилиндр, 4 - рейка топливного насоса