Задний модуль HM Mercedes Actros
- Цветовая маркировка проводов -
- bl Синий
- br Коричневый
- ge Жёлтый
- gn Зелёный
- gr Серый
- rs Розовый
- rt Красный
- sw Чёрный
- vi Фиолетовый
- ws Белый
- tk Бирюзовый (бензин)
- or Оранжевый
- tr Световое табло
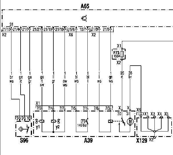
А39: Агрегаты Nummek

- А39: Агрегаты Nummek
- А65: Задний модуль НМ
- F73: Предохранитель Мост "Nummek"
- S96: Выключатель перегрузки моста "Nummek"
- Х129: Распределитель электроэнергии 'клемма 31'
- yl: Электромагнитный клапан 'Опустить'
- у2: Электромагнитный клапан 'Поднять'
А65: Электропитание Задний модуль НМ


- А65: Блок управления Задний модуль НМ
- F51: Предохранитель блока управления FM передний модуль, клемма 30
- F52: Предохранитель блока управления Задний модуль НМ, клемма 30
- U167: Действительно только для а/м с интегральной задней частью
- Х128: Распределитель электроэнергии 'клемма 30'
- Х128.1: Распределитель электроэнергии 'клемма 30' ( Интегральная задняя часть)
- Х129: Распределитель электроэнергии 'клемма 31'
- Х129.1: Распределитель электроэнергии 'клемма 31' ( Интегральная задняя часть)
В5: Датчик давления "Стояночный тормоз"

- А65: Блок управления Задний модуль НМ
- В5: Датчик давления 'Стояночный тормоз'
- S14: Контрольный выключатель блокировки межколёсного дифференциала на заднем мосту 1.
- U192: Только для тип а/м 6x2
- XR.5.9: Спаечный соединитель проводо
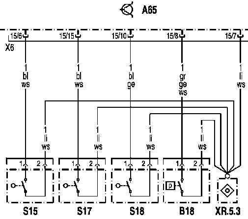
В18: Датчик давления "Контроль опрокидывающего устройства"

- А65: Блок управления Задний модуль НМ
- В18: Датчик давления 'Контроль опрокидывающего устройства'
- S15: Контрольный выключатель блокировки межколёсного дифференциала на заднем мосту 2.
- S17: Контрольный выключатель блокировки межосевого дифференциала в раздаточной коробке
- S18: Контрольный выключатель задней блокировки межосевого дифференциала
- XR.5.3: Спаечный соединитель проводов
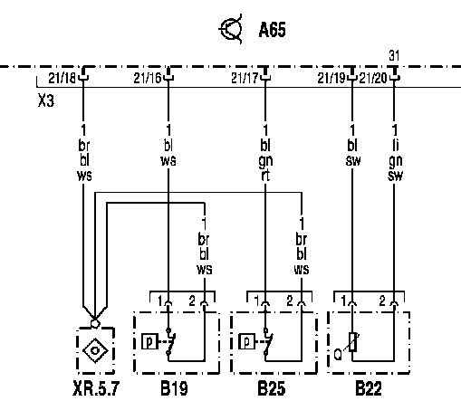
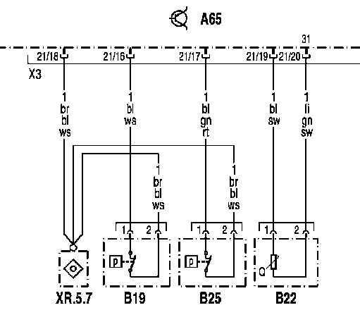
В19: Датчик давления "Вторичные потребители"

- А65: Блок управления Задний модуль НМ
- В19: Датчик давления 'Вторичные потребители'
- В22: Датчик уровня топлива
- В25: Датчик давления 'Тормозной контур 3'
- XR.5.7: Спаечный соединитель проводов
В22: Датчик уровня топлива

- А65: Блок управления Задний модуль НМ
- В19: Датчик давления 'Вторичные потребители'
- В22: Датчик уровня топлива
- В25: Датчик давления 'Тормозной контур 3'
- XR.5.7: Спаечный соединитель проводов
В25: Датчик давления "Тормозной контур 3"

- А65: Блок управления Задний модуль НМ
- В19: Датчик давления 'Вторичные потребители'
- В22: Датчик уровня топлива
- В25: Датчик давления 'Тормозной контур 3'
- XR.5.7: Спаечный соединитель проводов
В40 / В41: Датчик износа тормозных колодок на 1-ом заднем мосту слева / Датчик износа тормозных колодок на 1-ом заднем мосту справа

- А65: Блок управления Задний модуль НМ
- В40: Датчик износа тормозных колодок на 1-ом заднем мосту слева
- В41: Датчик износа тормозных колодок на 1-ом заднем мосту справа
- Х100.7: Промежуточное(ые) штекерное(ые) соединение(я)
- Х100.8: Промежуточное(ые) штекерное(ые) соединение(я)
- XR.6.1: Место спайки проводов 'кл. 31'
- XR.6.2: Спаечный соединитель проводов
В42 / В43: Датчик износа тормозных колодок на 2-ом заднем мосту слева / Датчик износа тормозных колодок на 2-ом заднем мосту справа

- А65: Блок управления Задний модуль НМ
- В42: Датчик износа тормозных колодок на 2-ом заднем мосту слева
- В43: Датчик износа тормозных колодок на 2-ом заднем мосту справа
- Х100.5/6 Промежуточное(ые) штекерное(ые) соединение(я)
- XR.6.3 Место спайки проводов 'кл. ЗГ
- XR.6.4 Спаечный соединитель проводов
В49 / В50: Датчик температуры "Масло заднего моста" / Датчик температуры "Масло раздаточной коробки"

- А65: Блок управления Задний модуль НМ
- В49: Датчик температуры 'Масло заднего моста'
- В50: Датчик температуры 'Масло раздаточной коробки'
В52 / В53: Датчики перемещения на ведущем мосту

- А65: Блок управления Задний модуль НМ
- В52: Левый датчик перемещения ведущего моста
- В53: Правый датчик перемещения ведущего моста
- XR.5.6 Спаечный соединитель проводов
В54 / В55 / В5б: Датчики давления

- А65: Блок управления Задний модуль НМ
- В54: Левый датчик давления ведущего моста
- В55: Правый датчик давления ведущего моста
- В5б: Датчик давления переднего моста
- XR.54.10: Место спайки проводов 'кл. 31'
- XR.54.11: Место спайки проводов 'Кл. Электропитание'
- U95: Только на а/м с полностью воздушной подвеской с указателем нагрузки на оси
В71: Датчик "Системное давление тормозного контура 1 и 2"

- А65 : Блок управления Задний модуль НМ
- В71: Датчик 'Системное давление тормозного контура' 1 и 2
- В71b1: Датчик 'Системное давление тормозного контура 1'
- В71Ь2: Датчик 'Системное давление тормозного контура 2'
В76: Датчик конденсата

- А65: Блок управления Задний модуль НМ
- В50 Датчик температуры раздаточной коробки
- В7б Датчик конденсата
- R6 Подогрев влагоотделителя
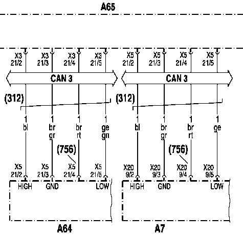
CAN3: Шина CAN рамы

- А7: Блок управления Базовый модуль GM
- А64: Блок управления FM передний модуль
- А65: Блок управления Задний модуль НМ
- CAN 3: Шина CAN рамы
- (312): Провода скручены.
- (756): Провод пробуждения
ЕЗ / Е56: Задний габаритный фонарь, левый

- А65: Блок управления Задний модуль НМ
- ЕЗ: Задний габаритный фонарь, левый
- Е3е1: Задний габаритный огонь / Контурный огонь
- Е3е2: Задний габаритный огонь
- ЕЗеЗ: Стоп-сигнал
- Е3е4: Фонарь заднего хода
- Е3е5: Указатель сигнала поворота
- ЕЗеб: Задний противотуманный огонь А/м елевым рулём
- Е3е7: Освещение номерного знака А/м с левым рулём
- Е5б: Фонарь контурного огня, левый ОПЦИОНАЛЬНО
Е4 / Е57: Задний габаритный фонарь, правый

- А65: Блок управления Задний модуль НМ
- Е4: Задний габаритный фонарь, правый
- Е4е1: Задний габаритный огонь / Контурный огонь
- Е4е2: Задний габаритный огонь
- Е4еЗ: Стоп-сигнал
- Е4е4: Фонарь заднего хода
- Е4е5: Указатель сигнала поворота
- Е4еб: Задний противотуманный огонь А/м с правым рулём
- Е4е7: Освещение номерного знака А/м с правым рулём
- Е57: Фонарь контурного огня, правый ОПЦИОНАЛЬНО
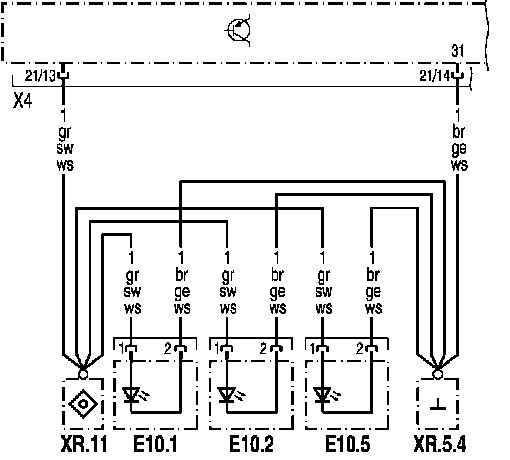
Е10 / Е11: Боковые маркерные фонари


- А65: Блок управления Задний модуль НМ
- ЕЮ. 1/ЕЮ.2/ЕЮ.5: Боковой маркерный огонь, левый
- Продолжение электросхемы по клавише F7
- Е11.1/Е11.2/Е11.5: Боковой маркерный огонь, правый
- XR.5.4: Сварная точка Масса
- XR.11: Спаечный соединитель проводов
- XR.12: Спаечный соединитель проводов
R6: Подогрев влагоотделителя

- А65: Блок управления Задний модуль НМ
- В50: Датчик температуры раздаточной коробки
- В7б: Датчик конденсата
- R6: Подогрев влагоотделителя
S14: Контрольный выключатель блокировки межколёсного дифференциала на заднем мосту 1.

- А65: Блок управления Задний модуль НМ
- В5: Датчик давления 'Стояночный тормоз'
- S14: Контрольный выключатель блокировки межколёсного дифференциала на заднем мосту 1.
- U192: Только для тип а/м 6x2
- XR.5.9 Спаечный соединитель проводов
S15: Контрольный выключатель блокировки межколёсного дифференциала на заднем мосту 2.

- А65: Блок управления Задний модуль НМ
- В18: Датчик давления 'Контроль опрокидывающего устройства'
- S15: Контрольный выключатель блокировки межколёсного дифференциала на заднем мосту 2.
- S17: Контрольный выключатель блокировки межосевого дифференциала в раздаточной коробке
- S18: Контрольный выключатель задней блокировки межосевого дифференциала
- XR.5.3: Спаечный соединитель проводов
S17: Контрольный выключатель блокировки межосевого дифференциала в раздаточной коробке

- А65: Блок управления Задний модуль НМ
- В18: Датчик давления 'Контроль опрокидывающего устройства'
- S15: Контрольный выключатель блокировки межколёсного дифференциала на заднем мосту 2.
- S17: Контрольный выключатель блокировки межосевого дифференциала в раздаточной коробке
- S18: Контрольный выключатель задней блокировки межосевого дифференциала
- XR.5.3: Спаечный соединитель проводов
S18: Контрольный выключатель задней блокировки межосевого дифференциала

- А65: Блок управления Задний модуль НМ
- В18: Датчик давления 'Контроль опрокидывающего устройства'
- S15: Контрольный выключатель блокировки межколёсного дифференциала на заднем мосту 2.
- S17: Контрольный выключатель блокировки межосевого дифференциала в раздаточной коробке
- S18: Контрольный выключатель задней блокировки межосевого дифференциала
- XR.5.3: Спаечный соединитель проводов
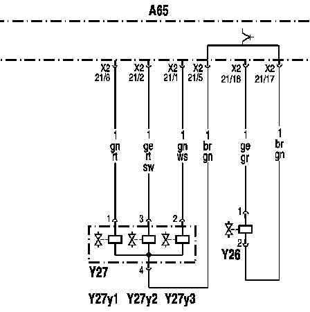
Y26: Электромагнитный клапан "Передний мост"

- А65: Блок управления Задний модуль НМ
- U95: Только на а/м с полностью воздушной подвеской с указателем нагрузки на оси
- Y26: Электромагнитный клапан регулировка уровня переднего моста
Y27: Блок электромагнитных клапанов регулировки уровня (тип а/м 4x2)

- А65: Блок управления Задний модуль НМ
- Y26: Электромагнитный клапан регулировка уровня переднего моста
- Y27: Блок электромагнитных клапанов регулировки уровня (тип а/м 4x2)
- Y27yl: Электромагнитный клапан 'Подать воздух'
- Y27y2: Электромагнитный клапан 'Ведущий мост слева'
- Y27y3: Электромагнитный клапан 'Ведущий мост справа'
Y53-Y56: Пропорциональные клапаны в амортизаторах (Только в случае системы регулирования поперечных колебаний)

- А65: Блок управления Задний модуль НМ
- U25: Только в случае системы регулирования поперечных колебаний
- Y53: Пропорциональный клапан '1-ый задний мост слева'
- Y54: Пропорциональный клапан '1-ый задний мост справа'
- Y55: Пропорциональный клапан '2-ой задний мост слева'
- Y56: Пропорциональный клапан '2-ой задний мост справа'