Описание системы ECAM MAN TGA и автобус
Электронная пневматическая система
ECAM – Electronically Controlled Air Management
Электронная пневматическая система ECAM предназначена для установки на грузовых автомобилях и
автобусах с пневматической тормозной системой, оборудованных или необорудованных пневматической
подвеской и/или прочими дополнительными пневматическими устройствами, и устанавливается между
воздушным компрессором и ресиверами.
Особенности ECAM
Система ECAM объединяет интегрированные в одном корпусе системные компоненты:
- Регулятор давления
- Патрон воздушной сушилки
- Многоконтурный защитный клапан
- Клапаны ограничения давления
- Предохранительные клапаны
- Система регенерации без отдельной регенерационной емкости
- Разъем для подключение пневматического контура другого автомобиля
- Отопление (опция)
- Дублирующая система
- Стояночная тормозная система
- Соединение шины данных CAN
- Диагностика X200
- Блок управления (ECU)
С возможностями для дополнительных функций:
- Холостой ход воздушного компрессора при запуске двигателя
- Регулирование регенерационной последовательности патрона воздушной сушилки
- Управление последовательностью наполнения ресиверов
- Индикация давления на бортовом дисплее
- Контроль давления ресиверов датчиками давления
- Контроль состояния пневматической системы
- Информация по техобслуживанию и неисправностям
- Предпочтительная нагрузка воздушного компрессора в режиме принудительного холостого хода
Преимущества ECAM
- Компактность устройства
- Свободно программируемый интервал включения регулятора давления
- Управляемая регенерационная последовательность
- Стандартный патрон воздушной сушилки
- Индивидуальное ограничение давления для каждого контура
- Последовательность наполнения тормоз/дополнительные потребители при возникновении
электрической помехи через индивидуальные предварительно напряженные обратные клапаны
- Индикация давления на дисплее
- Стартовая разгрузка при зажигании "ВКЛ"
- Отсутствие регенерационной емкости
- Способности сохранять служебные свойства при повреждении
- Отсутствие кабелей манометра, ведущих к кабине
- Сокращенное число пневматических магистралей и резьбовых соединений
- Соответственно сокращенное число мест утечки
ECAM устанавливает новую планку развития пневматических систем для грузовых автомобилей и
автобусов.
Значительные особенности и преимущества:
Система ECAM объединяет несколько компонентов, собранных в одном корпусе, в т.ч. такие компоненты,
как электронный регулятор давления, патрон воздушной сушилки, многоконтурный защитный клапан,
предохранительные клапаны, система регенерации, заправочный разъем для подключения
пневматического контура другого автомобиля, управляющая электроника с интегрированными сенсорами
давления и шина данных CAN "Трансмиссия" с бортовой диагностической системой, а также внешняя
диагностическая система.
Интервал включения и давление отключения электронного регулятора давления свободно
программируются и ограничены только максимальным рабочим давлением. Система ECAM предоставляет
возможность индивидуального управления и ограничения давления в контурах.

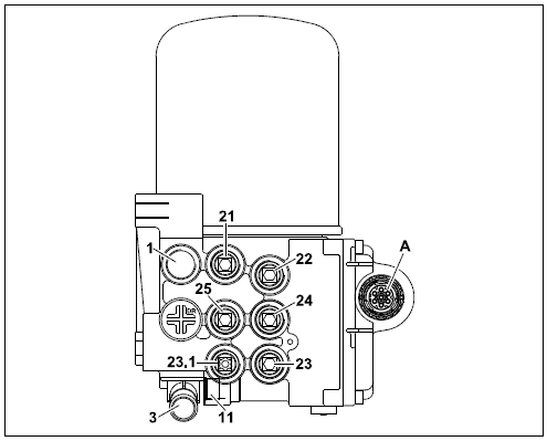
Электрические разъемы (A)
Пневматические разъемы

Пневматические параметры
- Рабочее давление 14,0 бар макс.
- Давление отключения регулятора давления, электрич. 12,5 ± 0,3 бар (8 – 13 бар параметрированное)
- Интервал включения регулятора давления, электрич. 2,0 ± 0,2 бар (0,6 – 2 бар параметрированное)
- Давление отключения регулятора давления, дублирование 12,5 ± 0,5 бар (8 – 13 бар регулируемое)
- Интервал включения дублирующего регулятора давления 2,5 ± 0,5 бар
- Давление в контуре электр. K 21, K 22 12,5 ± 0,3 бар (8 - 13 бар параметрированное)
- Давление в контуре, дублирование K 24 10,0 бар +0,5/-2 бар (8 – 13 бар параметрированное)
- Давление в контуре электр. K 23/K 23.1 8,5 бар 0,0/-1,3 бар
- Давление в контуре электр. K 25 12,5 ± 0,3 бар (8 - 13 бар параметрированное)
- Давление в контуре, дублирование K 21, K 22, K 24, K 25 12,5 ± 0,5 бар (8 - 13 бар регулируемое)
- Давление в контуре, дублирование K 23 8,5 бар 0,0/- 1,3 бар
- Дин. защитное давление контура электр. K 21-K 24 6,5 бар, 0,0/+1,0 бар (4,5 – 8 бар параметрированное)
- Дин. защитное давление контура, дублирование K 21-K 24 6,5 бар, 0,0/+ 1,0 бар
- Предохранительный клапан регулятора давления 13,5 бар, 0,0/+ 1,5 бар
- Предохранительный клапан K 23/K 23.1 8,6 бар, 0,0/+ 0,4 бар
- Мех. предохранительный клапан контура
(давление открытия) K 21-25 6,5 бар 0,0/+0,8 бар (6 – 8 бар регулируемое)
- Подключение пневматического контура другого
автомобиля, разъем 11 (режим дублирования) 11 бар мин./12,5 бар макс.
- Доп. разность давлений K 23/K 23.1 0,2 бар ± 0,2 бар
Электрические параметры
- Питающее напряжение (блок управления) U = 16,8 – 32 В
- Номинальное напряжение (блок управления) U = 24 В
- Пробное напряжение (блок управления) U = 27,6 В ± 0,4 В
- Перенапряжение (блок управления) U = 36 В/1ч (при 40 °C)
- Потребление тока макс. 16В – 32В I = 1,25 A ± 10%