См. также:
Электросхема модульной панели переключателей MSF Mercedes Actros
- Цветовая маркировка проводов -
- bl Синий
- br Коричневый
- ge Жёлтый
- gn Зелёный
- gr Серый
- rs Розовый
- rt Красный
- sw Чёрный
- vi Фиолетовый
- ws Белый
- tk Бирюзовый (бензин)
- or Оранжевый
- tr Световое табло
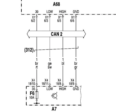
Электропитание и подключение CAN блока управления

- А68: Блок управления MSF модульная панель переключателей (модуль переключателей 4 'Master')
- А7: Базовый модуль
Выключатель блокировки (А82)

- А68: Блок управления MSF модульная панель переключателей (модуль переключателей 4 'Master')
- А82: Контрольный выключатель блокировки
Поворотный выключатель света и регулятор угла наклона света фар
- А68: Блок управления MSF модульная панель переключателей (модуль переключателей 4 'Master')
- S24: Поворотный выключатель света
- S26: Система регулировки угла наклона фар
Левый выключатель на рулевой колонке
- А68: Блок управления MSF модульная панель переключателей (модуль переключателей 4 'Master')
- S25: Левый выключатель на рулевой колонке

