Электросхема отопителя ZHE
- Цветовая маркировка проводов -
- bl Синий
- br Коричневый
- ge Жёлтый
- gn Зелёный
- gr Серый
- rs Розовый
- rt Красный
- sw Чёрный
- vi Фиолетовый
- ws Белый
- tk Бирюзовый (бензин)
- or Оранжевый
- tr Световое табло
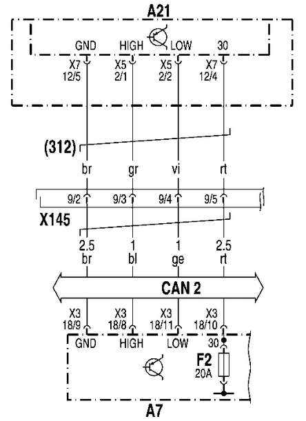
А21: Блок управления ZHE дополнительное отопление

- А21: Блок управления ZHE дополнительное отопление
- А7: Базовый модуль
- F2: Предохранитель шины CAN салона (точка звезды 1 / 2 / 3, кп. 30)
- Х145: Штекерное соединение 'Дополнительный отопитель'
Указание :
- Штекеры Х5 и Х7 находятся в блоке управления.
А21ЬЗ: Датчик перегрева
A21ml: Вентилятор горелки
А21г1: Штифт накаливания / Датчик пламени

- А21: Блок управления ZHE дополнительное отопление
- А21ЬЗ: Датчик перегрева
- A21ml: Вентилятор горелки
- А21г1: Штифт накаливания / Датчик пламени
М1б: Дозирующий насос

- А21: Блок управления ZHE дополнительное отопление
- М1б: Топливный насос-дозатор
- Х145: Штекерное соединение 'Дополнительный отопитель'
- Х4.1: Штекерное соединение 'Кабина водителя-шасси'
А21а0: Панель управления отопителем

- А21: Блок управления ZHE дополнительное отопление
- А21а0: Панель управления отопителем
- Х145: Штекерное соединение 'Дополнительный отопитель'