См. также:
Автономный отопитель Spheros Thermo 300
Общие сведения
Автономный жидкостный отопитель подключен к штатным системам отопления кабины и охлаждения двигателя. Дополнительный отопитель работает независимо от двигателя и обеспечивает как предпусковой подогрев и поддержание температурного режима двигателя, так и отопление кабины автомобиля.
Автономный отопитель подключен также к электрической и топливной системам автомобиля. Отопитель включает в себя теплообменник и управляется по сигналам датчика температуры.
Основными узлами отопителя являются: нагнетатель воздуха в камеру сгорания, топливоподкачивающий насос, теплообменник и камера сгорания. Контроль и управление процессом
горения топлива осуществляет блок управления и блок зажигания с электродами. Блок управления использует сигналы датчика пламени, датчика температуры и теплового реле защиты от перегрева. Кроме того, на автомобиль устанавливается отдельный насос для обеспечения циркуляции охлаждающей жидкости.

- 1. Корпус камеры сгорания
- 2. Патрубок подвода охлаждающей жидкости
- 3. Защита от перегрева
- 4. Датчик температуры
- 5. Патрубок отвода охлаждающей жидкости
- 6. Теплообменник
- 7. Выход выпускной системы
- 8. Штуцер слива топлива
- 9. Входное отверстие для воздуха
- 10. Подача топлива
- 11. Защитный отражатель
Наименование
Нагнетатель воздуха в камеру сгорания
Нагнетатель засасывает воздух через защитный отражатель и корпус и затем подает его в камеру сгорания для обеспечения достаточного количества воздуха для нормального горения топлива.

- 1. Защитный отражатель
- 2. Кожух
- 3. Рабочее колесо воздушного нагнетателя
- 4. Электродвигатель воздушного нагнетателя
Топливный насос
Привод топливоподкачивающего насоса осу-ществляется от электродвигателя нагнетателя с помощью соединительной муфты. Топливоподкачивающий насос подает топливо под давлением около 10 бар в форсунку, которая обеспечивает распыливание топлива. Для прекращения подачи топлива служит электромагнитный клапан, установленный на топливоподкачивающем насосе.
Предварительный подогрев форсунки
При очень низкой температуре окружающего воздуха возможно нарушение функционирования отопителя, если топливная форсунка предварительно не прогрета. При температуре ниже 5 °C термостат включает нагревательный элемент в топливной форсунке. Время работы нагревательного элемента зависит от скорости отвода тепла от камеры сгорания. Нагревательный элемент выключается, когда термостат регистрирует окружающую температуру +8°C.
Предварительный обогрев сопел рекомендуется для автомобилей, работающих на биодизельном топливе (FAME).
Если дополнительный отопитель не оснащен предварительным подогревателем форсунки, то
подогреватель может быть дополнительно установлен на стадии эксплуатации отопителя.

- 1. Топливный насос
- 2. Электромагнитный клапан
- 3. Предварительный подогрев форсунки
Теплообменник
Тепло газов в камере сгорания передается охлаждающей жидкости двигателя в теплообменнике автономного отопителя.
Камера сгорания
Топливовоздушная смесь поджигается и сгорает. Затем тепло горячих газов отбирается в
теплообменнике.

- 1. Теплообменник
- 2. Камера сгорания
Блок управления
Блок управления получает сигналы различных датчиков, установленных в отопителе, и регулирует процесс горения топлива.
Имеется 2 типа блока управления. Более новый и улучшенный тип блока управления оснащен
встроенными реле и т.д. Наименование нового блока управления: SG1572D.
В запасные части поставляется только новый тип блока управления, см. также пункт Блок зажигания с электродами.

- Блок управления SG1572D

- Блок управления, старый тип
Датчик пламени
Датчик пламени постоянно контролирует наличие горения топлива. Датчик состоит из фоторезистора, который изменяет свое сопротивление в зависимости от интенсивности пламени. Датчик пламени подключен к блоку управления, который может контролировать процесс горения топлива и обнаруживать некоторые нарушения функционирования отопителя

- Датчик пламени
Блок зажигания с электродами
Блок зажигания вырабатывает высокое напряжение, которое обеспечивает электрический разряд между электродами зажигания. Электрический разряд поджигает топливовоздушную смесь.
При выпуске нового блока управления SG1572D блок зажигания также был модернизирован. С указанным блоком управления следует использовать только блок зажигания с зеленой стенкой корпуса.

- 1. Блок зажигания, старый вариант
- 2. Блок зажигания, новый вариант с зеленой
- стенкой корпуса
- 3. Электроды воспламенения
Датчик температуры
Датчик температуры подключен к блоку управления и дает сигнал температуры охлаждающей
жидкости, выходящей из автономного отопителя.

- 1. Датчик температуры
- 2. Защита от перегрева
Защита от перегрева
Тепловое реле состоит из биметаллического выключателя, который обеспечивает защиту от перегрева. Во избежание повреждений автономный отопитель выключается, когда температура охлаждающей жидкости на выходе достигает 125°C. Тепловое защитное реле после срабатывания может быть принудительно возвращено во включенное состояние.
Циркуляционный насос
Жидкостный насос установлен на автомобиле отдельно от отопителя. Насос обеспечивает принудительную циркуляцию охлаждающей жидкости по системам автомобиля и через автономный отопитель. Насос включается по сигналам блока управления и постоянно работает при включенном автономном отопителе.
В зависимости от особенностей системы отопления автомобиля используются насосы различной производительности.
Насос U 4814 – стандартный насос для простых систем отопления.
Насос U 4816 – использовался в системах отопления с высоким сопротивлением потоку охлаждающей жидкости.
U 4851 и U 4852 заменили U 4816. Ни в одном из упомянутых насосов не используются угольные щетки. Поэтому эти насосы обладают очень длительным сроком службы. Кроме того, насосы имеют встроенную защиту от превышения допустимых оборотов, которая выключает и блокирует включение электродвигателя, например, при отсутствии охлаждающей жидкости.
Примечание:
Запрещается работа жидкостного насоса при отсутствии охлаждающей жидкости.

- Жидкостные насосы
Функционирование отопителя
Автономный отопитель может быть запущен и выключен с помощью выключателя или с помощью программирования таймера. Это зависит от комплектации отопителя. При работающем отопителе горит контрольная лампа или соответствующий индикатор на дисплее пульта управления. Выключение отопителя происходит по специальной процедуре, см. раздел "Выключение отопителя". Отопитель может быть отрегулирован так, что максимальная температура будет ограничена на уровне примерно
20°C. Цель состоит в экономии топлива, см. электрическую схему.

Контрольная лампа / Индикатор задействования AH1
Предварительный подогреватель форсунки BE1 (дополнительное оборудование)
Циркуляционный насос CM2
Блок воспламенения DU1
Вентилятор подачи воздуха в камеру сгорания EM1
Электромагнитный клапан FY1
Датчик пламени GB1
- 1. Включение отопителя (выключатель или таймер)
- 2. Поджиг топлива
- 3. Горение
- 4. Сигнал датчика температуры о достижении верхнего предела температуры
- 5. Сигнал датчика пламени об отсутствии горения
- 6. Продувка камеры сгорания / фаза охлаждения
- 7. Сигнал датчика температуры о достижении нижнего предела температуры
- 8. Команда на выключение отопителя (выключатель)
- 9. Отопитель выключен
- 10. Фаза предварительного подогрева топливной форсунки
- 11. Запуск
- 12. Фаза проверки датчика пламени
- 13. Электрический разряд зажигания
- 14. Период безопасности, примерно 25 с.
- 15. Фаза выключения
Включение отопителя
При включении отопителя загорается контрольная лампа и начинают работать нагнетатель воздуха, топливоподкачивающий насос и жидкостный насос. Если отопитель оснащен предварительным подогревателем форсунки и температура ниже 0°C, то включается также подогреватель форсунки.
Спустя примерно 12 с включается зажигание (разряд высокого напряжения). Примерно через 1 с открывается электромагнитный клапан топливоподкачивающего насоса, и форсунка начинает подавать топливо в камеру сгорания.
Топливовоздушная смесь поджигается электрическим разрядом. При появлении устойчивого горения блок зажигания выключается.
Фаза горения
При достижении границ рабочего диапазона температуры блок управления контролирует работу отопителя, включая и выключая камеру сгорания, для того чтобы поддерживать температуру охлаждающей жидкости, выходящей из отопителя, на стабильном уровне. Разность температуры охлаждающей жидкости при включении и выключении камеры сгорания обычно составляет около 15°C.
Если температура поднимается выше предельного уровня, то электромагнитный клапан прекращает подачу топлива и начинается процесс выключения отопителя. После исчезновения пламени нагнетатель воздуха и жидкостный насос продолжают работать. Процесс выключения завершается примерно через 90 секунд с одновременным выключением нагнетателя воздуха.
Жидкостный насос продолжает работать, контрольная лампа горит. Как только температура
охлаждающей жидкости снизится до нижнего предела регулирования, отопитель будет автоматически запущен вновь.
Выключение отопителя
При выключении отопителя горение топлива прекращается. Контрольная лампа гаснет и начинается заключительная фаза. Нагнетатель воздуха и жидкостный насос останавливаются спустя примерно 90-120 с. Повторный запуск отопителя во время фазы охлаждения запрещен.
Экономичный режим
В экономичном режиме температура охлаждающей жидкости в контуре отопителя поддерживается на более низком уровне. Это обеспечивает уменьшение тепловых потерь при снижении потребной тепловой производительности отопителя, например, в режиме поддержания определенного теплового состояния. В свою очередь это снижает расход топлива.
Выключение отопителя при появлении неисправностей
Отопитель выключается при возникновении одной из следующих неисправностей: При этом контрольная лампа гаснет, и нагнетатель воздуха и жидкостный насос останавливаются спустя примерно 90-120 с.
Неисправности, обнаруженные при включении отопителя
• короткое замыкание или разрыв цепи датчика температуры
• короткое замыкание или разрыв цепи датчика пламени
• разрыв цепи электромагнитного клапана
Неисправности, обнаруженные в процессе запуска отопителя
• датчик пламени дает сигнал наличия горения до включения зажигания
• отсутствие горения в течение примерно 25 секунд от начала запуска
Неисправности, обнаруженные в процессе работы отопителя
• падение напряжения питания примерно до 20 В (не менее 12 с)
• повышение напряжения питания примерно до 29 В (дольше 6 с)
• прерывание горения дольше чем на 10 секунд
• короткое замыкание цепи датчика температуры в процессе работы
• разрыв цепи датчика температуры в процессе работы
• короткое замыкание цепи датчика пламени в процессе работы
• короткое замыкание цепи электромагнитного клапана в процессе работы
Неисправности, обнаруженные в процессе выключения отопителя
• Наличие пламени в течение более 30 с после начала фазы выключения отопителя при работающих нагнетателе воздуха и жидкостном насосе, продолжающих работать еще 90 с
Неисправности, вызванные перегревом
• При перегреве срабатывает тепловое защитное реле, которое выключает отопитель.
После охлаждения отопителя и устранения причины перегрева необходимо перевести тепловое реле в рабочее состояние, нажав на кнопку.
Электрическая система
Электрическая схема для двухосного автобуса

- 1. Центральный электрический блок
- 2. Панель приборов
- 3. Дополнительный отопитель, расположен на
- левом борту перед задним мостом
Схема электрических соединений сочлененного автобуса

- 1. Центральный электрический блок
- 2. Панель приборов
- 3. Центральный электрический блок сочлененного автобуса
- 4. Дополнительный отопитель, расположен на левом борту перед задним мостом
Электрическая схема дополнительного отопителя

Обозначения на электрической схеме
- A1 Отопитель
- A2 Блок управления
- B1 Датчик пламени
- B2 Датчик температуры
- B3 Защита от перегрева
- B4 Термостат
- E1 Предварительный подогрев форсунки
- F2 Плавкий предохранитель, 24 A
- F3 Плавкий предохранитель, 25 A
- F6 Плавкий предохранитель, 5 A
- H3 Подсветка дисплея (часы)
- H4 Подсветка на дисплее индикатора работы отопителя
- K1 Реле жидкостного насоса
- K2 Реле, нагнетатель воздуха и подогреватель форсунок
- M1 Нагнетатель воздуха в камеру сгорания
- M2 Циркуляционный насос
- P Пульт управления типа 1529
- S3 Выключатель отдельного включения жидкостного насоса
- U1 Блок зажигания
- U2 Электроды воспламенения
- A Электрический разъем, 6-штыревой
- C Электрический разъем, 1-штыревой
- D Электрический разъем, 4-штыревой
- X1 Электрический разъем, 6-штыревой
- X2 Электрический разъем, 2-штыревой
- X3 Электрический разъем, 8-штыревой
- Y1 Электромагнитный клапан
Описание работы
Общие сведения
Во избежание травмирования персонала и повреждения автомобиля при проведении ремонта дополнительного отопителя необходимо соблюдать определенные меры предосторожности.
Если необходимо выполнить серьезный ремонт отопителя, то часто оказывается проще демонтировать камеру сгорания и продолжать ремонт на верстаке.
ПРЕДOCTEPEЖЕНИЕ!
Проверку функционирования отопителя с включением разрешается выполнять только в хорошо проветриваемых помещениях или при подключении системы отсоса отработавших газов. Ввиду опасности пожара запрещается запускать автономный отопитель при открытом корпусе камеры сгорания.
Примечание:
При выполнении на автомобиле электросварочных работ необходимо рассоединять разъем блока управления дополнительного отопителя.
В противном случае блок управления может выйти из строя.
Запрещается отключать электрическое питание во время работы дополнительного отопителя.
Это требование распространяется также на фазу заключительной продувки камеры сгорания.
Корпус камеры сгорания требуется снимать, например, во время покраски, когда окружающая температура может становиться выше +85°C. Это необходимо, поскольку блок управления не может выдерживать такие высокие температуры.
Регулировочные операции
Регулирование содержания CO2
Подача воздуха в камеру сгорания регулируется поворотом регулировочного кольца.
Проверка содержания CO2 в отработавших газах и последующая регулировка подачи воздуха в камеру сгорания должна выполняться в следующих случаях.
• предпродажная подготовка автомобиля
• ремонт камеры сгорания
• неустойчивое, неровное горение
• проверка функционирования
• замена топливной форсунки

- Допустимое содержание CO2
Регулировка
1. Проверьте электрическое питание блока управления.
2. Включите отопитель примерно на 5 минут.
3. Измерьте содержание в отработавших газах CO2 и твердых частиц, сравните полученные значения с графиками.
4. Отпустите фиксирующий болт и отрегулируйте с помощью кольца содержание CO2 в отработавших газах.
5. Затяните фиксирующий болт моментом 1,0 + 0,5 Н.м.

- Допустимое содержание твердых частиц в Bacharach
Примечание:
Содержание CO2 в отработавших газах зависит от состава топлива и высоты над уровнем моря
(0,1% на каждые 100 м подъема). Если невозможно обеспечить регулировкой требуемых значений или содержание твердых частиц слишком велико, выполните следующее.
• Проверьте состояние камеры сгорания со стороны подачи воздуха и замените ее при
наличии повреждений.
• Проверьте давление, развиваемое топливоподкачивающим насосом, и при необходимости замените насос.
• Замените топливную форсунку.
• Проверьте частоту вращения нагнетателя воздуха, учитывая изменение содержания CO2 в зависимости от напряжения.

Регулирование содержания CO2
- 1. Стопорный болт
Проверка элементов
Датчик температуры
Измерьте электрическое сопротивление датчика температуры с помощью омметра и сравните
полученное значение с графиком. Предпочтительнее измерять сопротивление датчика при температуре от 20°C до 90°C, поэтому выдержите датчик в воде.

- Сопротивление датчика в зависимости от температуры
Датчик пламени
Очистите стекло датчика и стеклянное окошко, если они загрязнены. Если датчик пламени поврежден или значения контрольного параметра не соответствуют требуемым, то датчик необходимо заменить.
1. Закройте датчик пламени.
2. Измерьте сопротивление, оно должно быть меньше 20 кОм.
3. Откройте датчик и направьте на стекло датчика свет мощной лампы.
4. Измерьте сопротивление, оно должно быть меньше 400 Ом.

- 1. Стекло датчика
- 2. Стеклянное окно
Электроды воспламенения
Примечание:
Изоляция электродов должна быть исправна.
При нарушении функционирования или при нарушении требуемого зазора или установочных размеров электроды подлежат замене.
1. Проверьте исправность изоляции электродов.
2. Проверьте зазор и установочные размеры, как показано на рисунке, и убедитесь в исправном состоянии электродов.

- Зазор и установочные размеры электродов
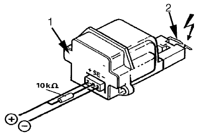
Блок зажигания
ПРЕДOCTEPEЖЕНИЕ!
Напряжение на электродах 20000 В.
ВНИМАНИЕ!
Запрещается подключать к блоку зажигания электрическое питание при снятых электродах.
1. Подключите электрическое питание по схеме, показанной на рисунке.
2. При исправном состоянии блока зажигания между электродами должны быть электрические разряды.
Примечание:
Совместно с новым блоком управления SG1572D допускается использовать только блок зажигания нового типа, отличающийся внешне зеленой стенкой корпуса.

- 1. Чёрная стенка корпуса = старый вариант.
Зелёная стенка корпуса = новый вариант.
- 2. Напряжение на электродах 20000 В
Топливный насос
Примечание:
Топливоподкачивающий насос проверяется после окончательного монтажа. Регулировка давления топлива не допускается. При необходимости замените насос.
Для проверки используйте манометр с пределом измерений 0-15 бар. Поскольку блок управления контролирует функционирование всех узлов в соответствии с алгоритмом запуска отопителя, то демонтаж блока зажигания с электродами невозможен. Однако, можно установить электроды зажигания, повернув их на 180° (концы электродов будут направлены вверх).
При этом необходимо быть очень осторожным, поскольку на электродах возникает напряжение
20 кВ.
1. Снимите электроды зажигания и установите их, повернув на 180° (концы электродов будут направлены вверх).
ПРЕДOCTEPEЖЕНИЕ!
Напряжение на электродах 20000 В.
2. Снимите форсунку.
3. Подсоедините манометр.
4. Закройте темным экраном датчик пламени.
5. Запустите отопитель.
6. Снимите показания манометра спустя примерно 13 с.
7. Выключите отопитель.
8. Отсоедините манометр.
9. Установите форсунку, затяните ее моментом 20 Н.м. Проверьте отсутствие признаков повреждений форсунки.
10. Установите блок зажигания.

- Подключение манометра

Зависимость давления топлива от оборотов насоса
- 1. Давление топлива, бар
- 2. Частота вращения насоса, об/мин
Электродвигатель воздушного нагнетателя
Примечание:
Проверка электродвигателя нагнетателя выполняется с установленной камерой сгорания. Если
контрольный параметр не соответствует требуемым значениям, электродвигатель нагнетателя
подлежит замене.
1. Проверьте отсутствие посторонних шумов.
2. Измерьте напряжение питания отопителя.
3. Запустите отопитель.
4. Измерьте частоту вращения нагнетателя и сравните ее с данными на графике.
5. Выключите отопитель.

- Частота вращения нагнетателя в зависимости от напряжения питания
Электромагнитный клапан
Негерметичность электромагнитного клапана может быть обнаружена по дымлению отопителя в фазе выключения. Подобная неисправность приводит к пропуску топлива через форсунку. Небольшое дымление является нормальным явлением и обусловлено наличием остатка топлива между электромагнитным клапаном и форсункой.
1. Во избежание повреждения блока управления отсоедините от него разъем электромагнитного клапана.
2. Проверьте следующие параметры.
– Нижний предел функционирования, 17,0 В
– Диапазон, 19,2 – 28,8 В
– Потребляемая мощность при номинальном напряжении питания и температуре 20°C, 10 Вт
– Потребляемый ток, 0,42 A
Подогреватель форсунки (дополнительное оборудование)
Подогреватель форсунки включается, когда температура опускается ниже 0°C. Длительность работы подогревателя изменяется в зависимости от скорости нагрева подогревателя.
Подогреватель форсунки выключается, когда температура, контролируемая термостатом, достигает +8°C.
Потребляемая мощность составляет 130 +/- 13 Вт.
1. Откройте или снимите корпус камеры сгорания.
2. Рассоедините электрический разъем подогревателя форсунки.
3. Подключите омметр к электрическому разъему подогревателя.
4. Охладите термостат охлаждающим спреем.
5. Измерьте сопротивление, оно должно составлять не более 4,5 Ом.
Ремонт
Общие сведения
Из-за опасности перегрева запрещается отключать электрическое питание при работающемм отопителе.
Описываемые ниже ремонтные операции выполняются на отопителе, демонтированном с автомобиля. Любые другие операции по разборке отопителя приведут к аннулированию гарантии.
При наличии достаточного доступа к отопителю на автомобиле можно также заменить следующие узлы без демонтажа отопителя:
• тепловое реле защиты от перегрева
• датчик температуры
• корпус камеры сгорания
• блок зажигания
• датчик пламени
• камера сгорания
ПРЕДOCTEPEЖЕНИЕ!
Блок зажигания вырабатывает очень опасное высокое напряжение. Отключите электрическое питание, прежде чем открывать корпус камеры сгорания.