Распределение штекеров пассажирской двери TMB Mercedes Actros
Распределение штекеров электромотора стеклоподъёмника
'Дверь переднего пассажира'

- Штекер на электромоторе стеклоподъёмника М8
Распределение контактов в случае кода FZ3
- 1: Электромотор стеклоподъёмника (-)
- 2: Датчик Холла (+)
- 3: Не занято
- 4: Электромотор стеклоподъёмника (+)
- 5: Датчик Холла (-)
- б: Сигнальный провод датчика Холла
Распределение контактов в случае кода FZ1
-1: Электромотор стеклоподъёмника (-)
- 2: Не занято
- 3: Не занято
- 4: Электромотор стеклоподъёмника (+)
- 5: Не занято
- б: Не занято
Распределение штекеров зеркала 'Дверь переднего пассажира'

- 1: Подогрев зеркала (-)
- 2: Подогрев зеркала (+)
- 3: Регулирование положения зеркала по горизонтали
- 4: Регулирование положения зеркала (-)
- 5: Регулирование положения зеркала по вертикали
- б: Не занято
Распределение штекеров электромотора блокировки
'Дверь переднего пассажира'

- 1: Сигнал 'Дверь переднего пассажира РАЗБЛОКИРОВАНА'
- 2: Сигнал 'Дверь переднего пассажира ЗАБЛОКИРОВАНА'
- 3: Электромотор блокировки (-)
- 4: Электромотор блокировки (+)
- 5: Не занято
- б: Сигнал 'Дверь переднего пассажира ОТКРЫТА'
ГП Указание :
- Указанная полярность на контакте 3/4 действительна при процессе разблокировки.
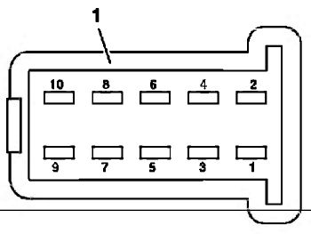
Распределение штекеров панели выключателей 'Дверь переднего пассажира'

- 1: Штекер на панели выключателей 'Дверь переднего пассажира'
Распределение контактов ;
- 1: Не занято
- 2: Не занято
- 3: Не занято
- 4: Не занято
- 5: Не занято
- б: Клавиша управления освещением площади рабочего места/внутрисалонным освещением
- 7: Клавиша управления стеклоподъёмником двери переднего пассажира
- 8: Не занято
- 9: Клемма 31 (масса)
- 10: Подсветка органов управления панели выключателей 'Дверь переднего пассажира'
Расположение штекерных соединений на блоке управления
Дверной модуль переднего пассажира ТМВ

- XI: Штекерное соединение 10-полюсное
- Х2: Штекерное соединение 32-полюсное
Распределение штекеров XI на блоке управления
Дверной модуль переднего пассажира ТМВ

- 1: Электромотор блокировки (-)
- 2: Электромотор блокировки (+)
- 3: Подогрев зеркала (+)
- 4: Электромотор стеклоподъёмника двери переднего пассажира (+)
- 5: Подогрев зеркала (-)
- б: Электромотор стеклоподъёмника двери переднего пассажира (-)
- 7: Клемма 31 (масса)
- 8: CAN-Low
- 9: CAN-High
- 10: Клемма 30
Распределение штекеров Х2 на блоке управления
Дверной модуль переднего пассажира ТМВ

- 1: Провод к блоку управления Базовый модуль GM устанавливается только в сочетании с блоком управления EDW
система противоугонной сигнализации (код FZ5).
- 2: Не занято
- 3: Клемма 31 (масса)
- 4: Подсветка органов управления панели выключателей 'Дверь переднего пассажира'
- 5: Клавиша управления освещением площади рабочего места/внутрисалонным освещением
- б: Клавиша управления стеклоподъёмником двери переднего пассажира
- 7: Не занято
- 8: Не занято
- 9: Не занято
- 10: Сигнал 'Дверь переднего пассажира РАЗБЛОКИРОВАНА' от электромотора блокировки
- 11: Сигнал 'Дверь переднего пассажира ЗАБЛОКИРОВАНА' от электромотора блокировки
- 12: Не занято
- 13: Не занято
- 14: Не занято
- 15: Электромотор регулировки положения зеркала 'Вертикально'
- 16: Электромотор регулировки положения зеркала 'Горизонтально'
- 17: Светодиод 'Центральная блокировка'
- 18: Датчик Холла (+) на электромоторе стеклоподъёмника
- 19: Датчик Холла (-) на электромоторе стеклоподъёмника
- 20: Сигнал датчика Холла на электромоторе стеклоподъёмника
- 21: Не занято
- 22: Не занято
- 23: Не занято
- 24: Внутрисалонная клавиша 'Разблокировать/заблокировать'
- 25: Плафон освещения в нижнем торце двери 'Дверь переднего пассажира' (-)
- 26: Не занято
- 27: Сигнал 'Дверь переднего пассажира ОТКРЫТА' от концевого выключателя защёлки двери в электромоторе блокировки
- 28: Не занято
- 29: Не занято
- 30: Не занято
- 31: Плафон освещения в нижнем торце двери 'Дверь переднего пассажира' (+)
- 32: Электромотор регулировки положения зеркала 'Передний пассажир' (-)
ГП Указание :
- Контакты 18,19, 20 для датчика Холла электромотора стеклоподъёмника заняты только в случае кода FZ3.
Назначение контактов штекерного соединения Х23.1

- 1: Провод к блоку управления Базовый модуль GM устанавливается только в сочетании с блоком управления EDW система
противоугонной сигнализации (код FZ5).
- 2: CAN-High
- 3: Клемма 31 (масса)
- 4: Клемма 30
- 5: CAN-Low