См. также:
Подвеска кабины грузового автомобиля DAF
Подвеска на винтовых пружинах
Кабина крепится к шасси при помощи передних и задних винтовых пружинных элементов. В зависимости от типа кабины эта подвеска может быть регулируемой. В передней части находится стабилизатор.
Элемент винтовой пружины
Элемент винтовой пружины регулирует перемещение кабины. Оптимальный комфорт достигается, когда кабина установлена точно горизонтально и не подвергается вертикальным перемещениям при движении автомобиля.
Элемент винтовой пружины состоит из:
винтовой пружины, которая обеспечивает возможность перемещения кабины и удерживает ее на заданной высоте;
амортизирующего элемента, включающего в себя:
управляющий цилиндр, в котором происходит фактическое гашение колебаний при помощи поршня со штоком, где клапанная коробка гасит ход отдачи амортизатора;
донный клапан, который гасит удары неровностей дороги совместно с клапанной коробкой поршня;
коллекторную трубку, подающую избыток масла (возникающий при вымещении штоком поршня) через донный клапан.

Винтовая пружина
Высота кабины должна быть повторно отрегулирована при существенном увеличении веса кабины, например, при установке тяжелого дополнительного оборудования.
Высоту кабины можно отрегулировать путем перемещения кольца (1).
В моделях кабины более раннего выпуска установлен элемент винтовой пружины с регулировочным кольцом, расположенным в верхней части пружины.
В моделях кабины более нового выпуска установлен элемент винтовой пружины с регулировочным кольцом, расположенным под нижней частью пружины.
Амортизатор работает следующим образом:
Ход сжатия толкает поршень (7) вниз относительно управляющего цилиндра (8). Вследствие этого масло из нижней камеры поршня через отверстия и каналы поршня поступает в верхнюю камеру, объем которой увеличивается. Давление масла над и под поршнем одинаково.
Для компенсации объема, занимаемого штоком поршня (3), масло из-под поршня поступает через
донный клапан (9) в коллекторную трубку (10).
Сопротивление, преодолеваемое маслом во время таких перемещений, гасит ход сжатия амортизатора.
Ход отдачи толкает поршень (7) вверх относительно управляющего цилиндра (8).
Вследствие этого давление, оказываемое на масло в верхней камере поршня, заставляет масло
двигаться через отверстия и каналы поршня в нижнюю камеру, находящуюся под поршнем.
Сопротивление, преодолеваемое маслом во время таких перемещений, гасит ход отдачи амортизатора.
Для компенсации объема, занимаемого штоком поршня в верхней камере, масло поступает через донный клапан в коллекторную трубку или выходит из нее.

Балка стабилизатора
Назначение
Балка стабилизатора предназначена для поддержания вертикального положения кабины на шасси при
выполнении поворотов и сохранения мягкости работы подвески кабины.
Балка стабилизатора также является одним из элементов подвески кабины.
Принцип действия
Балка стабилизатора соединяет левую и правую стороны подвески кабины и предотвращает
"схватывание" подвески и шасси.
Когда шасси начинает наклоняться под действием сил, действующих при выполнении поворота, кабина
сохраняет вертикальное положение на шасси, несмотря на мягкость подвески.

кабине (11) при помощи втулок подшипников скольжения (7). Эти втулки подшипников скольжения
можно смазать через смазочный ниппель (1). На втулках подшипников скольжения установлены сальники (8). Эти сальники предотвращают попадание грязи во втулки. Сайлент-блоки (4) установлены на обоих концах стабилизатора для крепления последних к опорам кабины (9) и (10). Сайлент-блоки предотвращают передачу вибраций шасси на кабину.
Балка стабилизатора (1) крепится к кабине (9) при помощи втулок подшипников скольжения (3). На
втулках подшипников (3) скольжения установлены сальники (4). Эти сальники предотвращают попадание грязи во втулки. Сайлент-блоки установлены на концах стабилизатора для крепления последних к опорам кабины. Сайлент-блоки предотвращают передачу вибраций шасси на кабину.

Пневматическая подвеска

Пневматическая подвеска кабины подключена к контуру 4 системы подачи воздуха. Воздух из этой системы (1) подается на клапаны регулировки высоты.
Клапаны регулировки высоты (2) и (6) регулируют давление воздуха, поступающего на элементы пневматической подвески (5) и (8). При нагнетании воздуха рычажный механизм вдавливает клапан регулировки высоты. В результате клапан регулировки высоты пропускает больше воздуха в элементы пневматической подвески. Когда кабина поднимается на заданную высоту, клапан регулировки высоты прекращает подачу воздуха (1) и удерживает кабину на этой высоте. При выпускании воздуха клапан регулировки высоты позволяет воздуху выйти из элементов пневматической подвески, и кабина
опускается.
При наклоне кабины ее можно выровнять при помощи регулировки клапанов регулировки высоты.
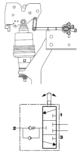
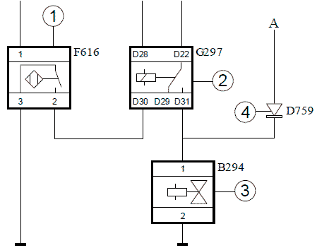
Отключение передней части подвески кабины
Передняя часть подвески кабины отключается при помощи электропневматического клапана подвески кабины (B294) (3). Этот электропневматический клапан-реле может активироваться реле
пневматической подвески кабины (G297) (2) или контуром стоп-сигнала (A).
При откидывании кабины включается датчик блокировки кабины (F616) (1).
В результате реле пневматической подвески кабины (G297) (2) замыкается на "массу" и подает
напряжение на электропневматический клапан подвески кабины (B294) (3).
Отключается регулировка элементов пневматической подвески в передней части.
Когда водитель нажимает на педаль тормоза, контур стоп-сигнала (A) и диод (D759) (4) подают напряжение на электропневматический клапан подвески кабины (B294) (3).
Отключается регулировка элементов пневматической подвески в передней части.
Диод (D759) (4) предотвращает включение стоп-сигналов при откинутой кабине.

Принцип действия баллона пневморессоры
Высота регулируется путем изменения объема воздуха, поступающего в баллоны пневморессоры. При
увеличении веса кабины в баллоны пневморессоры подается больше воздуха. В результате увеличивается длина баллонов пневморессоры, и кабина поднимается до заданной высоты. При уменьшении нагрузки кабины воздух из баллонов пневморессоры выпускается, и кабина опускается.
Принцип действия амортизатора
Амортизатор работает следующим образом:
Ход сжатия толкает поршень (7) вниз относительно управляющего цилиндра (8). Вследствие этого масло из нижней камеры поршня через отверстия и каналы поршня поступает в верхнюю камеру, объем которой увеличивается. Давление масла над и под поршнем одинаково.
Для компенсации объема, занимаемого штоком поршня (3), масло из-под поршня поступает через
донный клапан (9) в коллекторную трубку (10).
Сопротивление, преодолеваемое маслом во время таких перемещений, гасит ход сжатия амортизатора.
Ход отдачи толкает поршень (7) вверх относительно управляющего цилиндра (8).
Вследствие этого давление, оказываемое на масло в верхней камере поршня, заставляет масло
двигаться через отверстия и каналы поршня в нижнюю камеру, находящуюся под поршнем.
Сопротивление, преодолеваемое маслом во время таких перемещений, гасит ход отдачи амортизатора.
Для компенсации объема, занимаемого штоком поршня в верхней камере, масло поступает через нижний клапан в коллекторную трубку.

Клапан регулировки высоты
Клапаны регулировки высоты регулируют высоту кабины. Клапаны регулировки высоты крепятся
рычажным механизмом в передней и задней части кабины.

Соединительный стержень подсоединяется к трехходовому клапану в клапане. Трехходовой клапан задействуется при подъеме и опускании кабины. При нагнетании воздуха в подвеску кабины стержень
управления трехходового клапана проворачивается. В результате клапан пропускает большее
количество воздуха (1) в элементы пневматической подвески, а кабина перемещается в более высокое
положение. Воздух нагнетается, пока трехходовой клапан не достигнет установленной высоты, а клапан не займет центральное положение. При выпуске воздуха из подвески кабины трехходовой клапан перемещает стержни вниз (3), позволяя воздуху выйти из элементов пневматической подвески, и кабина опускается.
Выпускное воздушное отверстие, между двумя частями корпуса клапана регулировки высоты,
открывается при выпуске газов.