Электросхемы рулевого управления EHZ Atego II
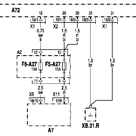
Фрагменты электросхемы : Держатель предохранителя

- А72: EHZ электронно-гидравлический дополнительный рулевой привод
- А7 Базовый модуль GM
- А2 Держатель предохранителя
- F6-A27 Предохранитель блока управления EHZ, клемма 15
- F5-A27 Предохранитель блока управления EHZ, клемма 30
Фрагменты электросхемы : Точка звезды CAN на консоли

- А72: EHZ электронно-гидравлический дополнительный рулевой привод
- CAN1 Шина CAN а/м
- Z2 Точка звезды CAN на консоли
Фрагменты электросхемы : Датчики давления В94 (PSX), В95 (PSY)

- А72: EHZ электронно-гидравлический дополнительный рулевой привод
- ХЗ.З, Х4.4, Х4.1 Штекерное соединение 'Плата штекеров - Кабина водителя - шасси'
- Х155 Штекерное соединение на конструктивном узле В95 (PSX), В94 (PSY), В131 (TSX)
- В95 (PSX) Датчик давления 'Контур рулевого управления'
- В94 (PSY) Датчик давления 'Центрирующий контур'
- В96 Датчик угла поворота управляемых колёс 'Передний мост'
- В97 Датчик угла поворота управляемых колёс 'Дополнительный мост'
- В131 (TSX) Датчик температуры 'Дополнительный мост'
Фрагменты электросхемы : Датчик угла поворота рулевого колеса В96, В97

- А72: EHZ электронно-гидравлический дополнительный рулевой привод
- ХЗ.З, Х4.4, Х4.1 Штекерное соединение 'Плата штекеров - Кабина водителя - шасси'
- Х155 Штекерное соединение на конструктивном узле В95 (PSX), В94 (PSY), В131 (TSX)
- В95 (PSX) Датчик давления 'Контур рулевого управления'
- В94 (PSY) Датчик давления 'Центрирующий контур'
- В9б Датчик угла поворота управляемых колёс 'Передний мост'
- В97 Датчик угла поворота управляемых колёс 'Дополнительный мост'
- В131 (TSX) Датчик температуры 'Дополнительный мост'
Фрагменты электросхемы : Датчик температуры В131 (TSX)

- А72: EHZ электронно-гидравлический дополнительный рулевой привод
- ХЗ.З, Х4.4, Х4.1 Штекерное соединение 'Плата штекеров - Кабина водителя - шасси'
- Х155 Штекерное соединение на конструктивном узле В95 (PSX), В94 (PSY), В131 (TSX)
- В95 (PSX) Датчик давления 'Контур рулевого управления'
- В94 (PSY) Датчик давления 'Центрирующий контур'
- В9б Датчик угла поворота управляемых колёс 'Передний мост'
- В97 Датчик угла поворота управляемых колёс 'Дополнительный мост'
- В131 (TSX) Датчик температуры 'Дополнительный мост'
Фрагменты электросхемы : Клапаны Y75 (SP 201), Y76 (SP O il), Y77 (SP 051), Y78 (SP 041)

- А72: EHZ электронно-гидравлический дополнительный рулевой привод
- Х120, Х121 Штекерное соединение на конструктивном узле Гидравлический блок управления 'Дополнительный управляемый мост'
- Х4.1, Х4.2, Х4.4 Штекерное соединение 'Плата штекеров - Кабина водителя - шасси'
- Y75 (SP 201) Контрольный клапан
- Y76 (SP011) Управляющий клапан
- Y77 (SP051) Клапан разблокировки
- Y78 (SP071) Сборный клапан
- Y97 (SP041) Клапан управления давлением 'Центрирующий контур'