Электросхема управления движением FR Mercedes Actros
- Цветовая маркировка проводов -
- bl Синий
- br Коричневый
- ge Жёлтый
- gn Зелёный
- gr Серый
- rs Розовый
- rt Красный
- sw Чёрный
- vi Фиолетовый
- ws Белый
- tk Бирюзовый (бензин)
- or Оранжевый
- tr Световое табло
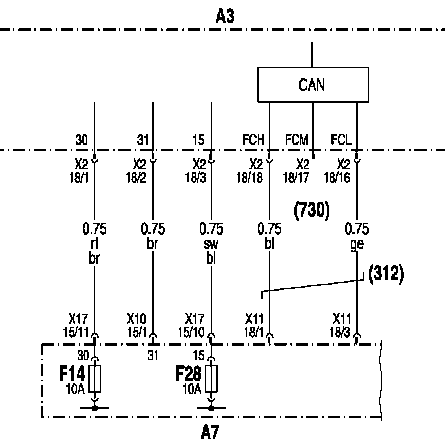
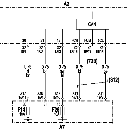
АЗ: Электропитание блока управления FR система управления движением

- АЗ: Блок управления FR система управления движением
- А7: Базовый модуль
А4: Блок управления FLA электрофакельный подогреватель воздуха
Аб: Блок управления MR система управления двигателем

- АЗ: Блок управления FR система управления движением
- А4: Блок управления FLA электрофакельный подогреватель воздуха
- Аб: Блок управления MR система управления двигателем
- Х2.2: Штекерное соединение 'Кабина водителя-шасси'
А7: Базовый модуль

- АЗ: Блок управления FR система управления движением
- А7: Базовый модуль
А15: Модуль рычага переключения GS управление переключением передач

- АЗ: Блок управления FR система управления движением
- А15: Модуль рычага переключения GS управление переключением передач
- Х73: Штекерное соединение 1 на консоли переключения
А1б: Блок управления GS управление переключением передач

- АЗ: Блок управления FR система управления движением
- А7: Блок управления Базовый модуль GM
- А1б: Блок управления GS управление переключением передач
- Х2.1: Штекерное соединение 'Кабина водителя-шасси'
В1: Датчик педали газа

- АЗ: Блок управления FR система управления движением
- В1: Датчик педали газа
В2: Датчик перемещения сцепления
ВЗ: Датчик числа оборотов 'Промежуточный вал'

- АЗ: Блок управления FR система управления движением
- В2: Датчик перемещения сцепления
- ВЗ: Датчик числа оборотов 'Промежуточный вал'
- Х2.1: Штекерное соединение 'Кабина водителя-шасси'
- Х29: Штекерное соединение для КП
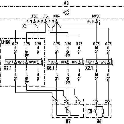
Вб: Двухпозиционный датчик уровня охлаждающей жидкости
В7: Датчик контроля воздушного фильтра

- АЗ: Блок управления FR система управления движением
- Вб: Двухпозиционный датчик уровня охлаждающей жидкости
- В7: Датчик воздушного фильтра
- Х2.1: Штекерное соединение 'Кабина водителя-шасси'
- Хб.1: Штекерное соединение 'Кабина водителя-шасси'
- (751): Воздушный фильтр на двигателе
- (752): Воздушный фильтр в задней части рамы
УКАЗАНИЯ :
- Следующая иллюстрация доступна по клавише F7
- Варианты конструктивного узла В7 по клавише F2
В4б: Датчик высокого-низкого давления

- АЗ: Блок управления FR система управления движением
- В4б: Датчик высокого и низкого давления Кондиционер
- X I.3: Штекерное соединение 'Кабина водителя-шасси'
G2: Генератор
Р2: INS комбинация приборов

- АЗ: Блок управления FR система управления движением
- G2: Генератор
- Р2: Блок управления INS комбинация приборов
- Х2.1: Штекерное соединение 'Кабина водителя-шасси'
РЗ: МТСО модульный тахограф

- АЗ: Блок управления FR система управления движением
- РЗ: Блок управления ТСО тахограф
- Х124.1: Штекерное соединение 'Крыша' со стороны водителя
S2: Рычаг задействования 'Управление двигателем/тормозом-замедлителем'
S2 (240): Выключатель ретардера
S3: Выключатель делителя

- АЗ: Блок управления FR система управления движением
- S2 (240): Выключатель ретардера
- S3: Выключатель делителя
S2: Рычаг задействования 'Управление двигателем/тормозом-замедлителем'
S2 (297): Выключатель 'Темпомат/Temposet'

- АЗ: Блок управления FR система управления движением
- S2 (297): Выключатель 'Темпомат/Temposet'
S7: Датчик задней передачи
S9: Датчик нейтрального положения

- АЗ: Блок управления FR система управления движением
- S7: Датчик задней передачи
- S9: Датчик нейтрального положения
- Х2.1: Штекерное соединение 'Кабина водителя-шасси'
- Х29: Штекерное соединение для КП
Y1: Электромагнитный клапан 1 - постоянный дроссель
Y2: Электромагнитный клапан 2 - моторный тормоз

- АЗ: Блок управления FR система управления движением
- Y1: Электромагнитный клапан 1 - постоянный дроссель
- Y2: Электромагнитный клапан 2 - моторный тормоз
- Х3.1: Штекерное соединение 'Кабина водителя-шасси'
Y29: Электромагнитный клапан делителя 1
Y30: Электромагнитный клапан делителя 2

- АЗ: Блок управления FR система управления движением
- Y29: Электромагнитный клапан делителя 1
- Y30: Электромагнитный клапан делителя 2
- Х2.1: Штекерное соединение 'Кабина водителя-шасси'
- Х29: Штекерное соединение для КП