Описание двигателя M11 CUMMINS
С системой STC

С системой CELECT™ Plus

Схемы двигателя
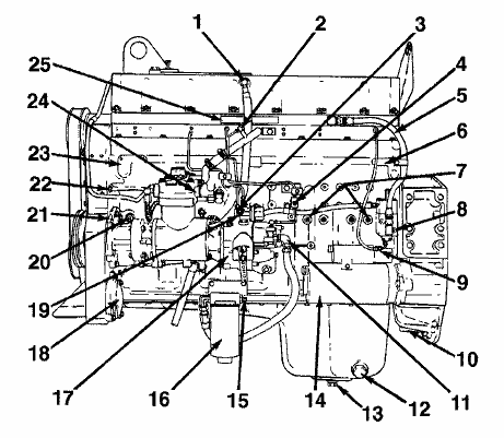
На рисунках показано расположение основных комплектующих двигателя, фильтров, точек слива и контрольно-измерительных устройств и органов управления двигателя. На нижеприведенных рисунках обозначения и места расположения комплектующих представлены условно. Расположение некоторых комплектующих зависит от применения и особенностей установки двигателя.
С системой STC

Вид со стороны топливного насоса
1. Отверстие для измерения прорыва газов в картер двигателя
2. Регулятор IMP/AFC
3. Регулятор ручной блокировки клапана отключения подачи топлива
4. Патрубок слива топлива в топливный бак
5. Подающий маслопровод STC
6. Серийный номер двигателя
7. Штуцеры измерения температуры/давления масла
8. Распределительный клапан масла STC
9. Трубка датчика давления топлива STC
10. Датчик зубчатого венца маховика
12. Боковое отверстие для слива масла
13. Нижнее отверстие для слива масла
14. Стартер
15. Штуцер подачи топлива
16. Топливный фильтр
17. Топливный насос
18. Устройство крепления насоса гидроусилителя рулевого механизма
19. Переходник для измерения давления топлива в магистрали высокого давления
20. Переходник для измерения давления в масляной магистрали
21. Переходник для измерения температуры масла
22. Маслоотводной трубопровод STC
24. Выпускной трубопровод воздушного компрессора
25. Паспортная табличка двигателя.
2. Регулятор IMP/AFC
3. Регулятор ручной блокировки клапана отключения подачи топлива
4. Патрубок слива топлива в топливный бак
5. Подающий маслопровод STC
6. Серийный номер двигателя
7. Штуцеры измерения температуры/давления масла
8. Распределительный клапан масла STC
9. Трубка датчика давления топлива STC
10. Датчик зубчатого венца маховика
12. Боковое отверстие для слива масла
13. Нижнее отверстие для слива масла
14. Стартер
15. Штуцер подачи топлива
16. Топливный фильтр
17. Топливный насос
18. Устройство крепления насоса гидроусилителя рулевого механизма
19. Переходник для измерения давления топлива в магистрали высокого давления
20. Переходник для измерения давления в масляной магистрали
21. Переходник для измерения температуры масла
22. Маслоотводной трубопровод STC
24. Выпускной трубопровод воздушного компрессора
25. Паспортная табличка двигателя.

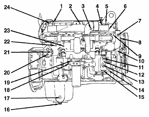
Вид с выпускной стороны двигателя
1. Отводные отверстия система охлаждения двигателя
2. Термостат управления открытием жалюзи
3. Датчик вентилятора
4. Контур подачи нагревателя
5. Подпиточная трубка радиатора
6. Входной патрубок охлаждающей жидкости
7. Отверстие для слива масла
8. Устройство крепления нагревателя маслосборника масляного поддона
9. Трубопровод подачи масла к тормозу двигателя Jacobs®
10. Устройство крепления нагревателя охлаждающей жидкости
11. Возвратный контур нагревателя
12. Штуцер измерения температуры охлаждающей жидкости.
2. Термостат управления открытием жалюзи
3. Датчик вентилятора
4. Контур подачи нагревателя
5. Подпиточная трубка радиатора
6. Входной патрубок охлаждающей жидкости
7. Отверстие для слива масла
8. Устройство крепления нагревателя маслосборника масляного поддона
9. Трубопровод подачи масла к тормозу двигателя Jacobs®
10. Устройство крепления нагревателя охлаждающей жидкости
11. Возвратный контур нагревателя
12. Штуцер измерения температуры охлаждающей жидкости.
Двигатели М11 с системой CENTRY®

Вид со стороны топливного насоса
1. Датчик давления в магистрали высокого давления
2. Топливный блок
3. Трубка датчика регулятора коэффициента избытка воздуха
4. Плавкие предохранители, 5 А
5. Разъем заземления системы
6. Датчик частоты вращения двигателя
7. Гидромеханический исполнительный механизм STC
8. Кронштейн для покупных разъемов С5 и С6
9. Разъем С5
10. Разъем С6
11. Разъем кабеля передачи данных двигателя
12. Жгут проводов двигателя
13. Топливный насос
14. Электронный модуль управления
15. Электронный распределительный клапан топлива
16. Клапан отключения подачи топлива.
2. Топливный блок
3. Трубка датчика регулятора коэффициента избытка воздуха
4. Плавкие предохранители, 5 А
5. Разъем заземления системы
6. Датчик частоты вращения двигателя
7. Гидромеханический исполнительный механизм STC
8. Кронштейн для покупных разъемов С5 и С6
9. Разъем С5
10. Разъем С6
11. Разъем кабеля передачи данных двигателя
12. Жгут проводов двигателя
13. Топливный насос
14. Электронный модуль управления
15. Электронный распределительный клапан топлива
16. Клапан отключения подачи топлива.
С системой CELECT™ Plus

Вид со стороны топливного насоса
1. Отверстие для измерения прорыва газов в картер двигателя
2. Разъем подключения кабеля передачи данных компьютерного сервисного инструмента
3. Датчик давления окружающего воздуха
4. Электронный модуль управления
5. Серийный номер двигателя
6. Датчик температуры масла (под электронным модулем управления)
7. Штуцер подачи топлива
8. Стартер
9. Датчик зубчатого венца маховика
10. Боковое отверстие для слива масла
11. Нижнее отверстие для слива масла
12. Вакуумный топливный переходник
13. Патрубок слива топлива в топливный бак
14. Топливный фильтр
15. Топливный насос
16. Штуцер подсоединения приспособления Compuchek® к магистральному топливопрово ду высокого давления
17. Насос гидроусилителя рулевого управления (место установки)
18. Датчик давления масла
19. Штуцер для измерения давления масла
20. Датчик контроля положения коленчатого вала двигателя
21. Компрессор кондиционера (место установки)
22. Паспортная табличка двигателя.

Вид с выпускной стороны двигателя
1. Датчик температуры во впускном коллекторе
2. Отверстие для подачи эфира
3. Отверстие измерения давления до воздушного вторичного охладителя
4. Отверстие измерения давления после воздушного вторичного охладителя
5. Датчик давления воздуха во впускном коллекторе
6. Впускной коллектор
7. Термостат управления открытием жалюзи
8. Датчик вентилятора
9. Отводное отверстие охлаждающей жидкости
10. Датчик температуры охлаждающей жидкости
11. Контур подачи нагревателя
12. Вакуумный впускной патрубок водяного насоса
13. Подпиточная трубка верхнего бачка радиатора
14. Отверстие измерения давления водяного насоса
15. Впускной патрубок охлаждающей жидкости
16. Пробка отверстия для слива масла
17. Устройство крепления нагревателя маслосборника масляного поддона
18. Отверстие измерения давления масла после фильтра
19. Отверстие измерения давления масла до фильтра
20. Отверстие измерения давления охлаждающей жидкости в блоке цилиндров
21. Устройство крепления нагревателя охлаждающей жидкости
22. Контур подачи отопителя транспортного средства
23. Штуцер измерения температуры охлаждающей жидкости
24. Датчик давления воздуха во впускном коллекторе.
Топливная система с электронным управлением
Описание системы CENTRY™
Система CENTRY™ - это интеллектуальная система, предназначенная для оптимизации управления работой двигателей, устанавливаемых на горном, строительном, сельскохозяйственном и другом внедорожном оборудовании. Эту систему можно применять со всеми моделями двигателей, использующими топливную систему PT. Система CENTRY™ осуществляет управление частотой вращения двигателя и давлением топлива в зависимости от сигнала, поступающего от электронного модуля управления подачей топлива и с учетом особенностей рабочего оборудования и/или
конкретной модели двигателя.
Система CENTRY™ состоит из гидромеханической и электронной подсистем. Электронная подсистема осуществляет управление подачей топлива при помощи клапана электронного управления подачей топлива (EFC), тогда как гидромеханическая подсистема является вспомогательным средством обеспечения максимального крутящего момента и стабильных оборотов двигателя.

Электронная подсистема
В эту подсистему входят:
1. Электронный модуль управления
2. Основной жгут проводов двигателя
3. Датчик давления в магистрали
4. Датчик частоты вращения двигателя
5. Электронный клапан управления подачей топлива

Система CENTRY™ предназначена для работы как с 12-вольтовым, так и с 24-вольтовым покупным электрооборудованием.
Следующие компоненты 12- и 24- вольтовых систем являются различными:
1. Электронный модуль управления
2. Клапан электронного управления подачей топлива
3. Клапан отключения подачи топлива
4. Электрический привод ступенчатого регулирования опережения впрыска (если используется)
5. Дополнительное устройство отключения двигателя (если используется)

Следующие компоненты одинаковы для 12- и 24-вольтовых систем.
1. Основной жгут проводов двигателя
2. Датчик давления в магистрали
3. Датчик частоты вращения двигателя
4. Покупной интерфейс для включателя подачи топлива.

Описание системы CELECT™ Plus
Устанавливаемая на двигателе система CELECT™ включает в себя:
1. Клапан отключения подачи топлива
2. Датчик давления масла
3. Датчик наддува во впускном коллекторе
4. Охлаждающую пластину
5. Электронный модуль управления
6. Разъем AMP жгута проводов двигателя

7. Покупной жгут проводов
8. Разъем AMP жгута проводов двигателя
9. Отверстие подачи топлива
10. Отверстие выхода топлива
11. Топливный шестеренчатый насос
12. Датчик температуры масла (под электронным модулем управления)
13. Датчик контроля положения коленчатого вала двигателя (EPS)
14. Датчик температуры охлаждающей жидкости (в опоре термостата)
15. Датчик уровня охлаждающей жидкости (в радиаторе) - устанавливается по дополнительному заказу*.
16. Датчик температуры во впускном коллекторе
17. Датчик давления окружающего воздуха
Разъем кабеля передачи данных системы CELECT™ расположен на жгуте проводов двигателя перед электронным модулем управления.


На двигателях, оборудованных системой CELECT™, на верхней части электронного модуля управления установлены две паспортные таблички. На левой паспортной табличке указаны: номер по каталогу (P/N), серийный номер (S/N) и код даты изготовления электронного модуля управления (D/C). На правой табличке указаны сведения о калибровке двигателя.

Конструктивно форсунки представляют собой закрытые форсунки струйного типа. Форсунка в сборе включает в себя соленоидный распределительный клапан.
Электронный модуль управления обрабатывает информацию, полученную от датчиков, и управляет открытием и закрытием соленоида форсунки. Это позволяет регулировать количество топлива, подаваемое на каждую форсунку, и с высокой точностью контролировать момент впрыска для каждой форсунки. В свою очередь это дает возможность создавать требуемую мощность и крутящий момент для двигателя.

Система CELECT™ Plus получает данные от следующих компонентов:
1. Датчик контроля положения коленчатого вала двигателя (EPS)
2. Датчик скорости транспортного средства VSS*
3. Датчик положения педали акселератора*
4. Включатель проверки режима холостых оборотов*
5. Датчик положения педали рабочего тормоза*
6. Датчик положения педали сцепления*
7. Датчик давления воздуха во впускном коллекторе
8. Датчик температуры охлаждающей жидкости
* Указанные датчики относятся к покупному оборудованию, они не установлены на двигателе.
9. Датчик уровня охлаждающей жидкости*
10. Датчик температуры во впускном коллекторе
11. Датчик давления масла
12. Датчик температуры масла (под электронным модулем управления)
13. Датчик давления окружающего воздуха
* Указанные датчики относятся к покупному оборудованию, они не установлены на двигателе.


Датчик положения коленчатого вала двигателя позволяет получить данные о частоте вращения двигателя и положении коленчатого вала двигателя.
Этот датчик установлен на задней стороне картера распределительных шестерен над вспомогательным
приводом.

Датчик скорости машины установлен в корпусе коробки передач. Датчик фиксирует частоту вращения выходного вала коробки передач. Электронный модуль управления рассчитывает скорость транспортного средства. При помощи этих сведений, а также предварительно запрограммированного размера шин и данных о шестеренных передачах, электронный модуль регулирует частоту вращения двигателя с целью управления скоростью передвижения транспортного средства при помощи круиз-контроля (системы автоматического управления скоростью).
Если в комплектное оборудование входит механический спидометр, то на выходе коробки передач можно установить датчик с приводом от тросика.

Датчик положения акселератора установлен на педали акселератора в сборе. Использование тормозов
двигателя возможно только тогда, когда педаль акселератора находится в положении холостых оборотов.
При нажатии на педаль акселератора датчик отключает тормоза двигателя и механизм отбора мощности.
При нажатии на педаль акселератора система круизконтроля блокируется.

Педаль акселератора в сборе снабжена включателем проверки режима холостых оборотов; он служит для подтверждения установки педали акселератора в положение низких холостых оборотов.

Включатель тормозов устанавливается в пневмопроводе рабочих тормозов транспортного средства. Когда педаль тормоза отпущена, включатель замкнут. При нажатии педали тормоза включатель размыкается. В разомкнутом положении включатель отключает систему круиз-контроля и механизм отбора мощности.

Включатель сцепления установлен вблизи педали или рычажного механизма сцепления.

Когда сцепление включено, включатель замкнут. Включатель размыкается, когда сцепление выключено (педаль выжата). При этом тормоз двигателя, система круиз-контроля или механизм отбора мощности отключаются.

Датчик давления воздуха во впускном коллекторе (1) и датчик температуры во впускном коллекторе (2) установлены внутри впускного коллектора. Датчик давления воздуха во впускном коллекторе отслеживает избыточное давление во впускном коллекторе, используемое при работе регулятора коэффициента избытка воздуха. Датчик температуры во впускном коллекторе служит для измерения температуры воздуха на впуске в турбонагнетатель. Этот датчик используется также системой защиты двигателя.

Датчик температуры охлаждающей жидкости двигателя расположен на корпусе опоры термостата. Он предоставляет данные для оптимизации момента впрыска, что позволяет уменьшить токсичность выхлопных газов; этот датчик также используется системой защиты двигателя.

Датчик уровня охлаждающей жидкости (1) установлен в верхнем бачке радиатора или расширительном бачке
- в зависимости от производителя комплектного оборудования. Он представляет собой включатель,
приводимый в действие уровнем жидкости, и относится к системе защиты двигателя.
ПРИМЕЧАНИЕ: Этот датчик устанавливается по дополнительному заказу, поэтому он установлен не на
всех двигателях.

Датчик давления окружающего воздуха (1) расположен со стороны топливного насоса двигателя прямо
под электронным модулем управления. Он предназначен для управления подачей топлива.

Датчик температуры масла (2) установлен со стороны топливного насоса двигателя за электронным модулем управления. Датчик давления масла (1) установлен в масляной магистрали со стороны топливного насоса двигателя между топливным насосом и передней стенкой картера распределительных шестерен.
Эти датчики измеряют температуру и давление масла, величины которых используются при работе системы защиты двигателя.
