MR Частота вращения/мощность снижена MB Actros

- Датчик коленчатого вала; нет сигнала
- Разрыв цепи датчика положения коленчатого вала

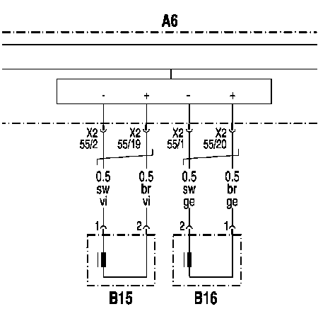
Фрагмент электросхемы датчика положения

- А6: Блок управления MR система управления двигателем
- Х2: Штекерное соединение (55-полюсное)
- В15: Датчик положения коленвала
- В16: Датчик положения распредвала
MR система управления двигателем

- 1: Блок управления MR система управления двигателем
- 2: Штекерное соединение (55-полюсное)
- 3: Штекерное соединение (16-полюсное)
- 4: Датчик положения коленвала
- 5: Штекерное соединение датчика уровня масла
Назначение штекерных соединений Х2 (слева) и XI (справа) на
блоке управления MR система управления двигателем

a) Штекерное соединение Х2 (55-полюсное):
- 0: Электростатический маслоотделитель (Диагностический провод)
- 1: Датчик положения распредвала (-)
- 2: Датчик положения коленвала (-)
- 3: Обратная связь датчика температуры охлаждающей жидкости
- 4: Обратная связь датчика температуры топлива
- 5: Датчик числа оборотов турбонагнетателя (-)
- 6: Датчик давления масла (активный датчик) - Питание 5 В
- 7: Комбинированный датчик 'Давление и температура нагнетаемого воздуха': питание - 5 V
- 8: Не используется
- 9: Обратная связь ТНВД цилиндров 2 ряда
- 10: Датчик давления масла (активный датчик) - Провод массы
- 11: Электростатический маслоотделитель ( Провод массы )
- 12: Обратная связь пропорциональных клапанов 1, 3 и 4
- 13: Не используется
- 14: Не используется
- 15: Обратная связь датчика температуры масла
- 16: Обратная связь ТНВД цилиндров 1 ряда
- 17: Не используется
- 18: Управление стартером 'Клемма 50'
- 19: Датчик положения коленвала (+)
- 20: Датчик положения распредвала (+)
- 21: Не используется
- 22: Не используется
- 23: Комбинированный датчик 'Давление и температура нагнетаемого воздуха': обратная связь
- 24: Датчик числа оборотов турбонагнетателя (+)
- 25: Вход кнопки пуска двигателя
- 26: Не используется
- 27: Электростатический маслоотделитель (Провод питания 24 V)
- 28: Не используется
- 29: Комбинированный датчик 'Давление и температура нагнетаемого воздуха': сигнал давления
- 30: Питание кнопки пуска и остановки двигателя
- 31: Не используется
- 32: Датчик давления масла (активный датчик) - Сигнальный провод
- 33: Сигнал датчика уровня масла
- 34: Сигнал датчика температуры охлаждающей жидкости
- 35: Вход кнопки остановки двигателя
- 36: Сигнал датчика температуры топлива
- 37: Не используется
- 38: Управление ТНВД 6 цилиндра
- 39: Сигнал датчика температуры масла
- 40: Не используется
- 41: Пропорциональный клапан 3
- 42: Не используется
- 43: Пропорциональный клапан 4
- 44: Управление ТНВД 5 цилиндра
- 45: Управление ТНВД 4 цилиндра
- 46: Не используется
- 47: Управление ТНВД 3 цилиндра
- 48: Комбинированный датчик 'Давление и температура нагнетаемого воздуха': сигнал температуры
- 49: Обратная связь датчика уровня масла
- 50: Пропорциональный клапан 2
- 51: Пропорциональный клапан 1
- 52: Обратная связь пропорционального клапана 2
- 53: Управление ТНВД 2 цилиндра
- 54: Управление ТНВД 1 цилиндра
b) Штекерное соединение XI (16-полюсное):
- 1: CAN-H
- 2: CAN-L
- 3: CAN-GND (масса)
- 4: CAN-GND (масса)
- 5: Клемма 30
- 6: Клемма 30
- 7: Не используется
- 8: Клемма 50 (вход)
- 9: Клемма 31 (масса)
- 10: Не используется
- 11: Клемма 31 (масса)
- 12: Управление стартером 'Клемма 50'
- 13: Диагностический разъем ISO (провод активации контроля токсичности ОГ)
- 14: Обратная связь пропорц