Компоненты автономного кондиционера
Блок управления отопителя/кондиционера
Штекерная разводка контактов штекера A

Штекер A

Штекерная разводка контактов штекера B

Штекер B

Штекерный разъем бортовой сети

Штекерный разъем бортовой сети с разъемом X1 и разъемом X4
Штекерная разводка контактов X1, фиолетовый

Штекерная разводка контактов X4, зеленый

Устройство управления обогрева кабины с автономным кондиционером (А474)

Органы управления обогрева кабины с автономным кондиционером

Распределение воздуха

Индикация на дисплее устройства управления обогрева кабины с автономным кондиционером (А474)

Индикация на дисплее обогрева кабины с автономным кондиционером

В режиме движения символ льдоаккумулятора (3) мигает по-разному. С помощью четырех различных световых сигналов символа в течение 10-секундного интервала сообщается об оставшейся мощности зарядки или состоянии аккумулятора.
Различают следующие варианты:

Штекерная разводка контактов

Штекер A

Датчик температуры воздуха на внутреннем выпуске системы климат-контроля (B393)

(1) Датчик температуры внутреннего воздуха
Датчик температуры внутреннего воздуха кондиционера встроен в устройство управления обогревом кабины водителя с кондиционером (A474).
Датчик наружной температуры

Измеренная наружная температура служит базовым параметром для регулировки. Сигналы других датчиков обеспечивают согласование требуемой теплопроизводительности, охлаждающей способности и работы вентилятора.
Значения сопротивления датчика наружной температуры

Датчик испарителя

Датчик испарителя измеряет температуру испарителя и служит для регулирования холодопроизводительности. Когда температура ниже 0°С, защита от замерзания блокирует процесс регулирования. Это выполняется за счет отключения (5,5°C) и включения (7°C) компрессора хладагента.
Значения сопротивления датчика испарителя

Датчик теплообменника (датчик температуры продуваемого воздуха)

В зависимости от необходимой мощности обогрева управляющая электроника вычисляет температуру выдува. Регулирование осуществляется за счет управления импульсным водяным клапаном (задание рабочего цикла) в регуляторе расхода воды.
Значения сопротивления датчика теплообменника

Кондиционер с радиатором
Кондиционер состоит из системы обогрева и корпуса фильтра. В корпусе фильтра находится радиатор, в котором охлаждается воздух и удаляется влага.

Функция радиатора (дисковый испаритель):
Заменяет в кондиционере стандартный испаритель (отсутствует расширительный клапан)
Охлаждается с помощью протекающего по нему водного раствора глизантина
Охлаждается с помощью протекающего по нему водного раствора глизантина
Регулирующий и распределительный блок

(1) Заливная горловина
(2) Патрубок для удаления воздуха, к компенсационному бачку
(3) от льдоаккумулятора
(4) к льдоаккумулятору
(5) от радиатора
(6) к радиатору
(7) Электронные подключения
(8) к испарителю
(9) от испарителя
Функция:
Регулирование и распределение количества хладоносителей
Постоянное удаление воздуха
Подключение для заполнения
Постоянное удаление воздуха
Подключение для заполнения
Электрические подключения, регулирующий и распределительный блок
Штекер X1, серый

Штекер X2, зеленый

Испаритель

(1) Расширительный клапан
(2) Впускное отверстие для водного раствора глизантина
(3) Выпускное отверстие для водного раствора глизантина
Функция:
Интерфейс между стандартным и вторичным контурами циркуляции
Охлаждение хладоносителя (водный раствор глизантина в соотношении 50 % — 50 %) посредством хладагента (парообразный R 134a).
Охлаждение хладоносителя (водный раствор глизантина в соотношении 50 % — 50 %) посредством хладагента (парообразный R 134a).
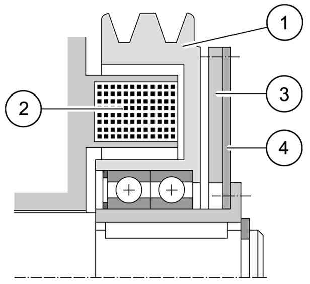
Льдоаккумулятор

(1) Выпускное отверстие для водного раствора глизантина
(2) Впускное отверстие для водного раствора глизантина
Конструкция льдоаккумулятора: отдельный аккумулирующий элемент

В общей сложности 132 аккумулирующих элемента заполнены водой на 90 %.

Канал (1) для протекания хладоносителя.
Компенсационный бачок

Компрессор с электромагнитной муфтой (Y114)
Установленный в автомобиле компрессор играет для кондиционера роль привода, образуя в системе охлаждения точку раздела между стороной высокого и низкого давления. На впуск компрессора (сторона низкого давления) от испарителя поступает холодный хладагент, и компрессор его сжимает. В ходе этого процесса хладагент разогревается и нагнетается в конденсатор (сторона высокого давления).
Включение и отключение компрессора осуществляет электромагнитная муфта (Y114).
Электромагнитная муфта выключена

(1) Ременный шкив
(2) Электромагнит
(3) Пластина якоря
(4) Упругая пластина
Электромагнитная муфта включена

Гидробак (патрон осушителя)

От конденсатора хладагент течет в патрон (1) осушителя, где содержится резерв хладагента, что позволяет выравнивать изменяющийся расход хладагента в испарителе. Гидробак встроен на стороне высокого давления в циркуляционном контуре хладагента после конденсатора. В нем находится хладагент, поступающий из конденсатора в жидком состоянии, там он собирается и соединяется с хладагентом, уже находящимся в ресивере-осушителе.
Реле высокого/низкого давления гидробака (B203)

Для контроля или ограничения режима давления в закрытом циркуляционном контуре после гидробака устанавливается реле высокого/низкого давления (1).
Это реле давления (1) включается перед электромагнитной муфтой компрессора при недостаточном давлении в системе для защиты ее от повреждения.
Если давление в системе ниже прибл. 2 бар, например из-за недостатка хладагента в циркуляционном контуре, реле высокого/низкого давления открывается и выключает компрессор. Если давление в системе увеличивается, например в результате сильного загрязнения конденсатора, то реле высокого/низкого давления выключает компрессор при давлении прибл. 28 бар.
Конденсатор

Конденсатор (1) предназначен для сгущения и охлаждения нагретого хладагента. Он установлен в автомобиле таким образом, что охлаждается встречным потоком воздуха, поступающим от вентилятора системы охлаждения двигателя.
Компрессор нагнетает нагретый до 60-100°С хладагент в змеевик конденсатора. Большое количество пластин конденсатора обеспечивает получение большой площади и соответственно хороший принудительный теплообмен. Нагретый газ отдает тепло встречному потоку, его температура становится ниже точки росы, и он конденсируется. Жидкий хладагент выходит из конденсатора и подается далее в гидробак (патрон осушителя).
Присоединительные вентили
С помощью присоединительных вентилей в агрегат можно заливать или сливать хладагент. Для проверки кондиционера к нему можно присоединить манометр. Присоединительные вентили выполнены в виде игольчатых клапанов.

(1) Присоединительный элемент
(2) Игольчатый клапан
Чтобы присоединительные вентили нельзя было перепутать, они сделаны разного размера.
Большой клапан — сторона давления — сторона высокого давления

Клапан стороны нагнетания (1) находится за правым входом.
Малый клапан — сторона всасывания — сторона низкого давления

Клапан стороны всасывания (1) находится рядом с распределительным и регулирующим блоком.
С соединительных клапанов необходимо снять заглушки.
Серводвигатели (шаговые двигатели)
Серводвигатели (шаговые двигатели) заменяют существующие тросы Боудена. Они соединены электрическим соединением с блоком управления кондиционера (A250) и управляются в зависимости от заданной настройки устройства управления. С помощью вращательного движения серводвигателя открываются или закрываются различные заслонки и клапаны в корпусах фильтров или кондиционере.
Принцип: при каждом электрическом импульсе шаговые двигатели поворачиваются на заданный угол α. Электроника считает все повороты влево и вправо, что позволяет всегда знать точное положение оси. Направление вращения двигателя определяется разводкой электрических Pin шагового двигателя.
Разводка Pin

Пример к таблице:
К примеру, шаговый двигатель находится в положении c (Pin 1+, Pin 3 и Pin 4 -) и должен повернуться на один заданный угол влево: необходимо выбрать разводку Pin из верхней строки (положение b; Pin1+, Pin 3 и Pin 6 -).
К примеру, шаговый двигатель находится в положении c (Pin 1+, Pin 3 и Pin 4 -) и должен повернуться на один заданный угол вправо: необходимо выбрать расположение Pin в нижней строке (положение d; Pin1+, Pin 4 и Pin 5 -).
Схема внутренних соединений

Серводвигатель (шаговый двигатель) рециркуляционного воздуха

Серводвигатель «Рециркуляционный воздух» (1) находится в камере на корпусе фильтра. Он открывается или закрывается в зависимости от заданной пользователем настройки заслонки рециркуляционного воздуха.
Серводвигатель (шаговый двигатель) регулировочного клапана температуры (перепускная заслонка)

Серводвигатель «Обход» (1) установлен сбоку на кондиционере.
(2) Направление движения
Серводвигатель (шаговый двигатель) распределения воздуха/боковые форсунки

Серводвигатели «Боковая форсунка» (1) и «Распределение воздуха» (2) находятся сверху на кондиционере.
(3) Направление движения
Хладагент R 134a
Чтобы обеспечить в кондиционере процесс испарения, в качестве рабочей среды применено вещество с низкой температурой кипения, называемое хладагентом. Известно, что по мере понижения давления воды также понижается температура кипения. Аналогично ведут себя все однородные жидкости. Когда давление падает, температура кипения понижается, когда давление растет, температура кипения увеличивается. Хладагент (тетрафторэтан) 134a является неполностью галогенизированным веществом из группы фторуглеводородных соединений (FKW, химическая формула CF3CH2F), кипит при 26,5°С. Время существования в атмосфере неполностью галогенизированных веществ мало, и поскольку они не содержат хлор, то не разрушают озоновый слой. Кроме того, их вклад в парниковый эффект сравнительно мал. Хладагент R 134a бесцветный, его запах слегка напоминает эфир. При контакте хладагента с огнем или горячими поверхностями возможно образование продуктов распада (пары) с сильным раздражающим действием, при соединении с воздухом возможно образование взрывоопасной смеси. Продуктами распада являются галогеноводород и карбонилгалогенид. При существенном превышении значений ПДК в воздухе 134a может оказывать наркотическое действие.
Доливаемое количество холодильного масла
Масло, необходимое для смазки компрессора, находится в системе охлаждения вместе с хладагентом, при останове кондиционера оно оседает на его деталях. Поэтому после замены деталей в кондиционер вместе с хладагентом необходимо долить немного масла.
Обратите внимание, что с хладагентом и кондиционером необходимо использовать определенный тип масла и что смешивать различные типы масел ни в коем случае нельзя.
Масло для кондиционера является гигроскопичным, то есть оно поглощает воду из влажного воздуха. Поэтому оставлять масло для кондиционера в незакрытом контейнере ни при каких обстоятельствах нельзя!