Сигналы компонентов тормозной системы EBS 5 KNORR
Блок управления, EBS, характеристики сигналов

Условия:
- Ключ зажигания находится в положении для езды.
- Двигатель выключен.
- Измерение напряжения.
- U = напряжение постоянного тока в вольтах (В)
- Uакк. = напряжение аккумуляторных батарей
Точки измерения в скобках означают номера штырьков разъема.





Одноканальный модулятор, характеристики сигналов

Вывод Описание
- 1 Давление подпитки
- 2 Тормозное давление на камере
- 4 Резервная линия с крана рабочего тормоза
Условия:
- Измерительный блок 9998699 подключен к адаптеру 9990180 между модулятором и жгутом проводов.
- Измерение напряжения.
- Ключ зажигания находится в положении для езды.
- U = напряжение постоянного тока в вольтах (В)
- Uакк. = напряжение аккумуляторных батарей
Точки измерения в скобках означают номера штырьков разъема.


Двухканальный модулятор, характеристики сигналов

Условия:
- Измерительный блок 9998699 с шаблоном 9990221 подключен к адаптеру 9990180 между модулятором и жгутом проводов.
- Измерение напряжения.
- Ключ зажигания находится в положении для езды.
- U = напряжение постоянного тока в вольтах (В)
- Uакк. = напряжение аккумуляторных батарей
Точки измерения в скобках означают номера штырьков разъема.
Пневматические соединения
Вывод Описание
- 1 Давление подпитки
- 4 Резервная линия с крана рабочего тормоза
- 21 Тормозное давление для левой стороны (не 8x2 или 6x2 с дополнительным задним мостом)
- 22 Тормозное давление для правой стороны (не 8x2 или 6x2 с дополнительным задним мостом)



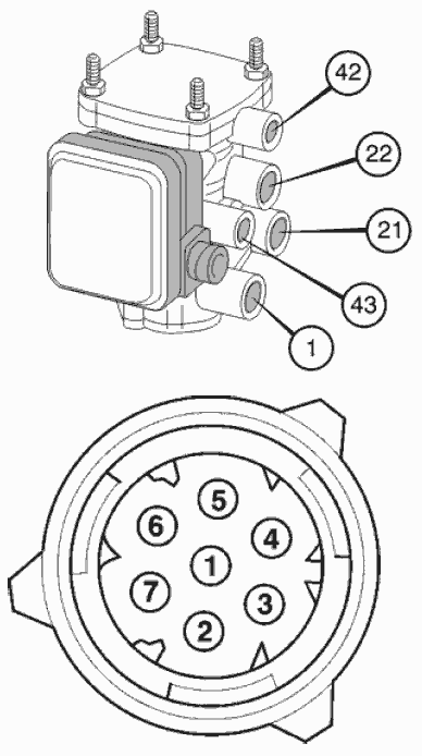
Модулятор прицепа, характеристики сигналов

Условия:
- Адаптер 9998567 подключен между модулятором и жгутом проводов.
- Измерение напряжения.
- Ключ зажигания находится в положении для езды.
- U = напряжение постоянного тока в вольтах (В)
- Uакк. = напряжение аккумуляторных батарей
Точки измерения в скобках означают номера штырьков разъема.

Пневматические соединения
Вывод Описание
- 1 Давление подпитки
- 42 Впуск крана рабочего тормоза
- 43 Впуск стояночного тормоза
- 21 Выпуск/давление подпитки на прицеп
- 22 Управляющее давление на прицеп
Электромагнитный клапан, ABS, характеристики сигналов

Условия:
- Адаптер 88890039 подключен между компонентом и жгутом проводов.
- Измерение напряжения.
- Ключ зажигания находится в положении для езды.
- U = напряжение постоянного тока в вольтах (В)
- Uакк. = напряжение аккумуляторных батарей
Точки измерения в скобках означают номера штырьков разъема.

Пневматические соединения
Вывод Описание
- 1 Впускной клапан
- 2 Выпускной клапан
Кран рабочего тормоза, характеристики сигналов

Условия:
- Адаптер 9990180 подключен между датчиком и жгутом проводов.
- Измерение напряжения.
- Ключ зажигания находится в положении для езды.
- U = напряжение постоянного тока в вольтах (В)
- Uакк. = напряжение аккумуляторных батарей
Точки измерения в скобках означают номера штырьков разъема.
Пневматические соединения
Вывод Описание
- 11 Контур 1 подпитки
- 12 Контур 2 подпитки
- 21 Выпускной контур 1
- 22 Выпускной контур 2


Датчик движения, характеристики сигналов

Условия:
- Адаптер 9990116 подключен между датчиком и жгутом проводов.
- Измерение напряжения.
- Ключ зажигания находится в положении для езды.
- U = напряжение постоянного тока в вольтах (В)
- Uакк. = напряжение аккумуляторных батарей
Точки измерения в скобках означают номера штырьков разъема.


Датчик угла поворота рулевого колеса, характеристики сигналов

Условия:
- Адаптер 9990020 с измерительным блоком 9998699 подключен между датчиком и жгутом проводов.
- Измерение напряжения.
- Ключ зажигания находится в положении для езды.
- U = напряжение постоянного тока в вольтах (В)
- Uакк. = напряжение аккумуляторных батарей
Точки измерения в скобках означают номера штырьков разъема.

Разъем прицепа, характеристики сигналов

Условия:
- Адаптер 9998544 с измерительным блоком 9998699 подключен между датчиком и жгутом проводов.
- Измерение напряжения.
- Ключ зажигания находится в положении для езды.
- U = напряжение постоянного тока в вольтах (В)
- Uакк. = напряжение аккумуляторных батарей
Точки измерения в скобках означают номера штырьков разъема.
