Описание дополнительного отопителя Webasto Thermo 300
Автономный жидкостный отопитель подключен к штатным системам отопления кабины и охлаждения двигателя. Дополнительный отопитель работает независимо от двигателя и обеспечивает как предпусковой подогрев и поддержание температурного режима двигателя, так и отопление кабины автомобиля. Автономный отопитель подключен также к электрической и топливной системам автомобиля. Отопитель включает в себя теплообменник и управляется по сигналам датчика температуры.
Основными узлами отопителя являются: нагнетатель воздуха в камеру сгорания, топливоподкачивающий насос, теплообменник и камера сгорания. Контроль и управление процессом горения топлива осуществляет блок управления и блок зажигания с электродами. Блок управления использует сигналы датчика пламени, датчика температуры и теплового реле защиты от перегрева. Кроме того, на автомобиле имеется отдельный насос для обеспечения циркуляции охлаждающей жидкости.

1 Корпус горелки
2 Патрубок подвода охлаждающей жидкости
3 Тепловое реле защиты от перегрева
4 Датчик температуры
5 Патрубок отвода охлаждающей жидкости
6 Теплообменник
7 Токсичность отработавших газов
8 Штуцер слива топлива
9 Входное отверстие для воздуха
10 Штуцер подвода топлива
11 Защитный отражатель
Нагнетатель воздуха в камеру сгорания
Нагнетатель засасывает воздух через защитный отражатель и решетку в крышке и затем подает его в камеру сгорания для обеспечения достаточного количества воздуха для нормального горения топлива.

1 Защитный отражатель
2 Крышка
3 Рабочее колесо воздушного нагнетателя
4 Электродвигатель воздушного нагнетателя
Топливный насос
Привод топливоподкачивающего насоса осуществляется от электродвигателя нагнетателя с помощью соединительной муфты. Топливоподкачивающий насос подает топливо под давлением около 10 бар в форсунку, которая обеспечивает распыливание топлива. Для прекращения подачи топлива служит электромагнитный клапан, установленный на топливоподкачивающем насосе.

1 Топливный насос
2 Электромагнитный клапан
3 Предварительный подогрев форсунки
Предварительный подогрев форсунки
При очень низкой температуре окружающего воздуха возможно нарушение функционирования отопителя, если топливная форсунка предварительно не прогрета. При температуре ниже 0°C термостат включает нагревательный элемент в топливной форсунке. Время работы нагревательного элемента зависит от скорости отвода тепла от камеры сгорания. Нагревательный элемент выключается, когда термостат регистрирует окружающую температуру +8°C.
Если дополнительный подогреватель не оснащен предварительным подогревателем форсунки, установку можно выполнить при обслуживании.
Теплообменник
Тепло газов в камере сгорания передается охлаждающей жидкости двигателя в теплообменнике автономного отопителя.

1 Теплообменник
2 Камера сгорания
Камера сгорания
Топливовоздушная смесь поджигается и сгорает. Затем тепло горячих газов отбирается в теплообменнике.
Блок управления
Блок управления получает сигналы различных датчиков дополнительного подогревателя, и регулирует процесс горения топлива.

Блок управления SG1572D
Датчик пламени
Датчик пламени постоянно контролирует наличие горения топлива. Датчик состоит из фоторезистора, который изменяет свое сопротивление в зависимости от интенсивности пламени. Датчик пламени подключен к блоку управления, который может контролировать процесс горения топлива и обнаруживать некоторые нарушения функционирования отопителя

Датчик пламени
Блок зажигания с электродами
Блок зажигания вырабатывает высокое напряжение, которое обеспечивает электрический разряд между электродами зажигания. Электрический разряд поджигает топливовоздушную смесь.

1 Блок зажигания
2 Электроды зажигания
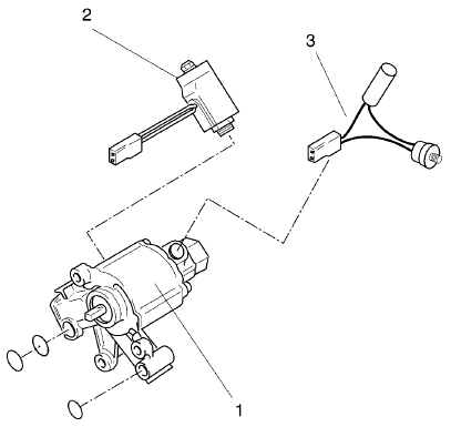
Датчик температуры
Датчик температуры подключен к блоку управления и регистрирует температуру охлаждающей жидкости, выходящей из дополнительного подогревателя.
Тепловое реле защиты от перегрева
Тепловое реле состоит из биметаллического выключателя, который обеспечивает защиту от перегрева. Во избежание повреждений дополнительный подогреватель выключается, когда температура охлаждающей жидкости на выходе достигает 125°C. Тепловое защитное реле после срабатывания может быть принудительно возвращено во включенное состояние.

1 Датчик температуры
2 Тепловое реле защиты от перегрева
Циркуляционный насос
Жидкостный насос установлен на автомобиле отдельно от подогревателя. Насос обеспечивает принудительную циркуляцию охлаждающей жидкости по системам автомобиля и через дополнительный подогреватель. Насос включается по сигналам блока управления и постоянно работает при включенном дополнительном подогревателе.
В зависимости от особенностей системы отопления автомобиля используются насосы различной производительности.
Насос U 4814 – это стандартный насос, предназначенный для простых систем отопления.
Насос U 4852 (опция) не имеет угольных щеток и поэтому обладает очень длительным сроком службы. Кроме того, насос имеют встроенную защиту от превышения допустимых оборотов, которая выключает и блокирует включение электродвигателя, например, при отсутствии охлаждающей жидкости.
Примечание: Запрещается работа жидкостного насоса при отсутствии охлаждающей жидкости.

Жидкостные насосы