Тренинг персонала RENAULT TRUCKS (DXi 12)
двигатель и топливная система


ТЕХНИЧЕСКИЕ ДАННЫЕ
Двигатель DXi 12 440/480
Рабочий объем цилиндров 12130 см3
Внутренний диаметр цилиндров 131 мм
Ход поршня 150 мм
Вес 1155 кг
Топливная аппаратура
Насос-форсунки Delphi E1
Порядок впрыска 1 5 3 6 2 4
1-й цилиндр со стороны газораспределения
Макс. обороты при нагрузке 1900 об/мин
Форсированный режим 2400 об/мин
Режим холостых оборотов 600-650 об/мин
Замедлители двигателя 12-литровый, 480 лс, 440 лс
Горный тормоз — серийно Компрессионный тормоз, называемый ОПТИБРЕЙК (Optibrake) — серийно в комплектации с коробкой передач ОПТИДРАЙВЕР II
ХАРАКТЕРИСТИКИ КРУТЯЩЕГО МОМЕНТА

ГОЛОВКА БЛОКА
Головка блока цилиндров – цельнометаллическая. Она оснащена четырьмя клапанами на каждый цилиндр.
Подшипники распределительного вала съемные.
Ось коромысел моноблочная и включает в себя канал подачи масла для смазки коромысел и управления тормозом ОПТИБРЕЙК.
Топливопровод для подачи топлива к форсункам и обратный топливопровод от форсунок совмещены в головке блока.

РАСПРЕДВАЛ
Двигатель Dxi 12 оснащен верхнерасположенным распределительным валом.
Распредвал имеет 6 кулачков для впускных клапанов, 6 кулачков для выпускных клапанов и 6 дополнительных кулачков для управления работой насос-форсунок.


В модификациях с ОПТИБРЕЙК метки V служат для регулировки выпускных клапанов.

Метка TDC указывает на ВМТ 1/6.
Метки 1 – 6 служат для регулировки клапанов.

Если двигатель оснащен ОПТИБРЕЙК, то кулачки выпускных клапанов особой формы, что обеспечивает работу компрессионного тормоза.

ГОРНЫЙ ТОРМОЗ

1 коленчатый вал
2 промежуточная шестерня
3 водяной насос
4 воздушный компрессор
5 распредвал
6 промежуточная шестерня (регулируемая)
7 насос рулевой колонки
8 привод шкива и топливного насоса
9 промежуточная шестерня
10 гидравлический насос (опция)
11 маслонасос
Шестерня 6 регулируется с целью изменения межзубенного зазора.


Для нормальной работы двигателя необходимо, чтобы в состоянии покоя этот клапан был минимально открыт.


ОПТИБРЕЙК
ФУНКЦИОНИРОВАНИЕ

Напряжение подано на первый электроклапан.
Горный тормоз включается при давлении 7,5 бар. Эффект замедления получается максимальным.

В данный момент все электроклапаны обесточены.
Отработавшие газы свободно проходят в выхлопную трубу.

При срабатывании второго электроклапана тормоз на выхлопе запитывается давлением 2 бара при
одновременном действии функции удержания тепла (Warm Hold).
ТОРМОЗ ОПТИБРЕЙК
Описание:
ОПТИБРЕЙК двигателя — компрессионный тормоз, работающий в сочетании с горным тормозом на выхлопе (2-3). Он вызывает раскрытие двух выпускных клапанов в определенные моменты временидополнительно к циклу выхлопа:
– в начале компрессии
– в конце компрессии.
Для этого в конструкцию добавлены:
– два выступа на кулачках выпускных клапанов (1)
– два специальных коромысла (4), которые сокращают зазор между коромыслом и клапаном
– электромагнитный клапан (5), позволяющий варьировать давление масла в оси коромысел.

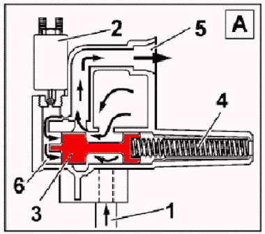
РАБОТА ТОРМОЗА ОПТИБРЕЙК
ФУНКЦИОНИРОВАНИЕ
В начале компрессии (А) под действием первого выступа открываются выпускные клапаны для заполнения цилиндра за счет противодавления, порождаемого горным тормозом.
Это позволяет увеличить давление в цилиндре во время такта компрессии и увеличить работу в такте покоя.
В конце компрессии (Б) второй выступ снова открывает выпускные клапаны для удаления давления из цилиндра, чтобы исключить использование энергии расширения.

ФУНКЦИОНИРОВАНИЕ РЕГУЛИРУЮЩЕГО ЭЛЕКТРОКЛАПАНА
Назначение электроклапана – регулировать давление масла, подаваемого к механизму коромысел. Давление на входе (1), который сообщается с каналом смазочного масла в блоке цилиндров, всегда равно давлению масла в двигателе. Выход (5) соединен с осью коромысел. Компрессионный тормоз включается электроклапаном (2), которым управляет блоком EMS.
А: При работе двигателя без торможения поршень (3) частично перекрывает выход (5), давление масла опускается до приблизительно одного бара. Этого давления достаточно для смазки подшипников распредвала и клапанного механизма. Электроклапан при этом обесточен.

Б: При торможении двигателем на электроклапан (2) подается напряжение, он срабатывает и открывает отводящий канал.
Масло из камеры (6) проходит через отводящий канал, а пружина (4) давит на поршень (3). При этом выход (5) свободно пропускает масло, которое доходит до оси коромысел с максимальным давлением.

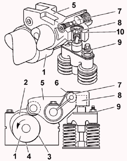
ФУНКЦИОНИРОВАНИЕ ВЫПУСКНЫХ КЛАПАНОВ
Распределительный вал (1) двигателя, оснащенного тормозом ОПТИБРЕЙК, на каждом кулачке
выпускного клапана (2) имеет кулачок компрессии (3) и кулачок декомпрессии (4).
У каждого коромысла (5) есть свой обратный клапан (7) и поршень (8).
Упругая пластина (6) удерживает коромысло в состоянии покоя, прижимая его к скобе клапана.
Зазор клапанов регулируется при помощи регулировочной пластины (9), находящейся на скобе клапана.
Обратный клапан (7) состоит из поршня (11), пружины (12) и шарика (13).

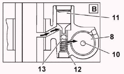
А: При свободной работе двигателя давление масла на оси коромысел не велико.
Поршень (11) опущен под действием пружины. Конец поршня давит на шарик (13), масло свободно проходит в обоих направлениях через обратный клапан.
В пространстве над поршнем коромысла (8) давление масла не создается.
В этом положении выпускные клапаны не находятся в контакте с дополнительными кулачками распредвала.

B: При работе с функцией ОПТИБРЕЙК электроклапан увеличивает давление масла, которое становится равным давлению масла в двигателе.
Под этим давлением клапан (11) перемещается, и пружина (12) давит на шарик (13).
При этом масло может идти только от коромысел к поршню (8). Когда дополнительные кулачки распредвала (3) и (4) вызывают перемещение коромысел, выпускные клапаны зажаты.
Клапан (10) ограничивает давление над поршнем (8).

Скобы выпускных клапанов имеют особую форму.
Для регулировки зазоров на уровне коромысел существуют специальные регулировочные щупы разных размеров.

ШАТУННО-ПОРШНЕВАЯ ГРУППА
Поршни составные (головка поршня стальная, юбка — алюминиевая).


Примечание:
При манипуляциях с шатунами будьте осторожны, чтобы не повредить зону стыка.
При обратной сборке шатуна должна быть обеспечена идеальная чистота.
Обязательно помечайте шатуны и соответствующие головки, чтобы не ошибиться при обратной сборке.
МАСЛЯНЫЙ КОНТУР

1 Клапан регулировки давления
2 Обходной клапан фильтра турбокомпрессора
3 Клапан охлаждения поршней
4 Обходной клапан главных фильтров
5 Предохранительный клапан (холодного масла)
6 Термостат контура масла
7 Главные масляные фильтры
8 Масляный фильтр смазки турбокомпрессора
9 Воздушный компрессор
10 Турбокомпрессор
11 Электроклапан ОПТИБРЕЙК
12 Маслоохладитель
13 Сопла охлаждения поршней
14 Маслонасос
ГИЛЬЗЫ
Гильзы мокрого типа. Их герметичность обеспечивается силиконовым валиком под ободком А и под уплотнительным кольцом В в верхней части гильзы.
Герметичность нижней половины обеспечивается тремя кольцевыми прокладками.

СИСТЕМА ОХЛАЖДЕНИЯ
КОНТУР ОХЛАЖДЕНИЯ
1 Водяной насос
2 Теплообменник
3 Термостат
4 Гильза

ТЕРМОСТАТ ВОДЫ
Термостат установлен на переднем правом краю головки блока цилиндров.
Для доступа к уплотнительному кольцу (2) необходимо снять соединительную трубку (3) и термостат (1).

ТЕПЛООБМЕННИК

ТОПЛИВНАЯ АППАРАТУРА
ОПИСАНИЕ
Система впрыска двигателя Dxi12 соответствует норме Евро 3 фаза 1. Это первый двигатель компании Рено Тракс, оснащенный насос-форсунками. Особенность такой системы впрыска в том, что насос и форсунка составляют одно целое. Это занимает гораздо меньше места по сравнению с системами COMMON RAIL и UNIT PUMP (насосы и форсунки отделены). Система размещается непосредственно в головке блока и управляется распределительным валом

НОВШЕСТВА
Водителю предоставляются новые возможности:
1) Автоматическая прокачка контура низкого давления при сливе топлива или замене топливных фильтров.
Для этого на панели приборов существует специальный включатель прокачки контура. При нажатии на эту кнопку электронному блоку управления впрыском (EMS) передается запрос на включение электромотора в головке топливного фильтра на несколько минут.

Условия включения электромотора:
- автомобиль стоит
- двигатель остановлен
- зажигание включено
- включен стояночный тормоз.
2) Автоматическое удаление воды из поддона фильтра грубой очистки.
Если датчик в фильтре грубой очистки обнаруживает наличие воды, достаточно нажать на кнопку включателя на панели приборов для включения электромагнитного клапана под фильтром сепаратора.
Условия – такие же, как для прокачки. Дополнительные условия – обнаружение воды датчиком и зажигание пиктограммы на дисплее IC0 4.
При соблюдении этих условий электроклапан удаления воды из фильтра тонкой очистки и электронасос включаются на несколько секунд.

3) Автоматический предварительный подогрев воздуха.
Блок EMS включает преднагрев воздуха, если температура охлаждающей жидкости ниже 20°C, в режиме предварительного нагрева или последующего нагрева с зажиганием пиктограммы на дисплее.
4) Быстрый разогрев двигателя при пуске (функция Warm Up) или же его подогревание во время работы (функция Warm Hold) c яелью поддержания температуры путем закрытия заслонки на выхлопе. Эти функции активируются, если:
– скорость автомобиля меньше 5 км в час в течение более 60 секунд или включен стояночный тормоз,
– температура охлаждающей жидкости и воздуха меньше определенного порога (50°C / 15°С),
– небольшой крутящий момент двигателя.
Примечание:
Функции регулировки и ускорения холостых оборотов задействуются при помощи ручки круиз-онтроля, как и прежде.
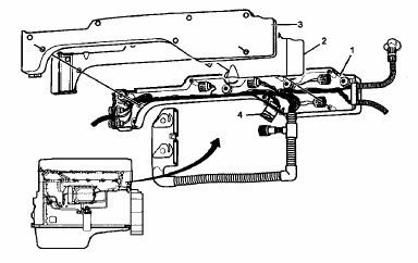
ТОПЛИВНЫЙ КОНТУР
Топливный контур высокого давления
Топливо впрыскивается под большим давлением через насос-форсунки (по одной на каждый цилиндр). Высокое давление создается механически верхнерасположенным распредвалом и специальными коромыслами (по одному на каждую форсунку). Качество топлива и регулировка опережения впрыска контролируется блоком EMS на основе данных, поступающих от датчиков.
Местонахождение

Контур высокого давления включает в себя:
1 Топливоподающий насос
2 Топливный бак
3 Корпус фильтра
4 Фильтр грубой очистки с влагоотделителем
5 Фильтр тонкой очистки топлива
6 Блок управления впрыском EMS
7 Разгрузочный клапан
8 Насос-форсунка
9 Топливопровод в головке блока
Функционирование
Топливоподающий насос (1) выкачивает топливо из бака (2) и подает его к корпусу топливного фильтра через электронасос (3). Топливный фильтр состоит из фильтра грубой очистки (4) и влагоотделителя (5). После фильтра топливо проходит через охладитель EMS (6) до разгрузочного клапана (7), где топливо из бака смешивается с топливом, поступающим из канала в головке блока (8) и со стороны всасывания топливо-подающего насоса.
Топливоподающий насос подкачивает топливо через главный фильтр (9) в топливный канал головки блока. Этот канал запитывает каждую насос-форсунку (10) при помощи кольцевой канавки в корпусе форсунки. Разгрузочный клапан (7) позволяет регулировать давление запитки. Обратный клапан (11), находящийся в топливном электронасосе (3), предохраняет от возврата топлива в топливный бак при выключенном двигателе.

1 Топливый насос
2 Топливный бак
3 Электрический насос
4 Фильтр грубой очистки
5 Влагоотделитель
6 Охладитель
7 Разгрузочный клапан
8 Топливный канал в головке блока
9 Главный фильтр тонкой очистки
10 Насос-форсунки
11 Возвратный клапан
12 Клапан-ограничитель давления
13 Отводящий клапан
16 Дренажный клапан
18 Датчик наличия воды
19 Электроклапан удаления воды
20 Дренажный болт
21 Датчик давления
22 Подгреватель топлива
ОПИСАНИЕ КОМПЛЕКТУЮЩИХ
ТОПЛИВОПОДАЮЩИЙ НАСОС
Насос (1) — шестеренный, приводится в движение каскадом шестерен.
Насос оснащен двумя рабочими клапанами:
Клапан-ограничитель давления (12) используется для возврата топлива к всасывающей стороне насоса, когда давление слишком высоко (например, в случае засорения топливного фильтра).
Отводящий клапан (13) открывается, если работает электрический топливный насос (3).

ФИЛЬТРУЮЩИЙ БЛОК
Топливный электронасос (3) запускается водителем путем нажатия на кнопку выключателя.
Этот насос используется в двух случаях:
• Продувка контура. В этом случае электронасос включается и работает около 5 минут. Воздух через клапан (16) уходит в ресивер. Циркуляция топлива в контуре протекает нормально, но открыт отводящий клапан.
• Обезвоживание фильтра грубой очистки (4). В случае обнаружения воды датчиком (18) открывается дренажный электроклапан (19) и через него вода удаляется. Одновременно с этим запускается топливный электронасос примерно на 20 секунд для создания нужного давления в контуре.

Дренажный болт (20) находится в корпусе фильтра. Его можно использовать для ускорения очистки контура.
Датчик давления (21) также смонтирован на корпусе топливного фильтра. Он измеряет давление в
топливопроводе после фильтра.
Подогреватель топлива (22) находится в бачке влагоотделителя.

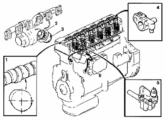
НАСОС-ФОРСУНКИ
Описание
Насос-форсунки марки DELPHI типа E1 установлены вертикально в центре цилиндров между четырьмя
клапанами.
Насос-форсунка состоит из трех основных частей:
- A. насос
- B. исполнительный механизм
- C. форсунка
Форсунка удерживается в головке блока вилкообразного держателя (1), а ее нижняя часть отделена от контура охлаждения медной гильзой (2) и кольцевой прокладкой (3).
Канал (4) вокруг каждой форсунки заполняется топливом, его герметичность обеспечивают кольцевые прокладки (5) и (6).
Исполнительный механизм состоит из якоря (7), бобины (8) и возвратной пружины (9).

На заводе-изготовителе всем насос-форсункам после испытаний присваивается определенный код калибровки. Коды калибровок всех шести форсунок регистрируются в памяти блока EMS, чем обеспечивается одинаковый расход топлива и одинаковые регулировки системы впрыска для всех двигателей. Этим самым гарантируется также соблюдение норм по токсичности отработавших газов.

Рядом с электрическим разъемом каждой форсунки находятся три серии чисел — номенклатурный номер
изделия (11), код калибровки (12) и заводской номер (13).
В случае замены форсунки (или нескольких форсунок) в памяти блока EMS следует зарегистрировать новый калибровочный код (или коды).
Запись нового кода выполняется при помощи диагностической программы Diag NG3.

ФУНКЦИОНИРОВАНИЕ:
Функционированием каждой насос-форсунки управляет распредвал двигателя через соответствующее коромысло. Насос-форсунка состоит из односекционного насоса и форсунки системы EUP, которая применялась в двигателях E.TECH.
Фаза запитки
Заправка форсунки происходит в момент, когда под действием пружины шток насоса уже поднялся до высоты, при которой коромысло уже не опирается на кулачок вала. EMS в этот момент не подает напряжения на бобину, поэтому золотник (1) открыт. Топливо свободно поступает из топливного канала в полость насоса через исполнительный механизм.

Фаза впрыска
Шток насоса продолжает опускаться. Блок EMS подает электропитание на бобину и злотник осекает топливный канал от цилиндра насоса.
Давление дизтоплива резко нарастает, в результате чего поднимается игла форсунки. Эта фаза определяет собой опережение впрыска.
Впрыск продолжается, пока бобина под напряжением, а шток опускается. Эта фаза определяет вспрыскимое количество (расход топлива).

Шток насоса продолжает опускаться. Блок EMS снимает напряжение с бобины и определяет таким образом окончание впрыска. Золотник открывается, и избыток топлива из полости насоса возвращается в топливный канал.

БЛОК-СХЕМА EMS 2

* Новое
ЭЛЕКТРОННЫЙ БЛОК УПРАВЛЕНИЯ ВПРЫСКОМ
Электронный блок управления впрыском EMS2 — новый, он получает питание от силового реле, которым управляет процессор VECU одновременно с тахографом и блоком BBM (если последний входит в комплектацию). Кроме того, он обменивается информацией с другими э.б.у. через шину связи J1939/1, а в ограниченной конфигурации при неполадках — через J1587.
ПРИМЕЧАНИЕ:
Э.б.у. поставляется незапрограммированным, поэтому он не может разрешать запуск двигателя, пока его не запрограммируют через компьютер DIAG NG3.
МЕСТОНАХОЖДЕНИЕ
Э.б.у. прикрепляется к двигателю. У него 2 разъема (зеленого цвета). Блок охлаждается дизтопливом, проходящим через специальный охладитель (оранжевого цвета).

ФУНКЦИИ
В электронном блоке управления впрыском EMS заложены новые функции, которых не было в э.б.у. EECU двигателей DCI и ETECH.

ПРИМЕЧАНИЕ
Функцией индикации включенной передачи (DMS) теперь управляет EMS (до э.б.у.
управления автомобилем). Этим обеспечивается более быстрый вывод информации на дисплей по всем передачам (включая задние).
Как и в двигателях E.TECH, вентилятор управляется блоком EMS в зависимости от температуры охлаждающей жидкости, включения замедлителей на трансмиссии, а также давления хладагента кондиционера. Кроме того, на основании данных о работе компрессора, температуре наружного воздуха и скорости автомобиля блок VECU может передать EMS запрос включения вентилятора, чтобы улучшить охлаждение воздуха, поступающего из компрессора.
УПРАВЛЯЕМЫЙ СТАРТЕР
Стартером управляет EMS2. Благодаря этому добавляется функция защиты стартера при неправильном
использовании, а также возможность дистанционного пуска двигателя при помощи BBM в безопасном
режиме.
В целях обеспечения дополнительной безопасности при включении стартера его реле, управляемое EMS (-), запитывается
(+) при помощи второго реле, активируемые сигналом от блока VECU.

В соответствии с этим EMS не включает стартер в следующих условиях:
– задействована блокировка впрыска топлива (иммобилайзер)
– работает двигатель
– не одинаковый VIN в памяти блоков APM, VECU и EMS
– включена передача
– перегрев стартера (определяется путем вычисления по времени активации)
– неисправный датчик распредвала и маховик двигателя.
При выполнении одного из этих условий максимальное время активации зависит от температуры охлаждающей жидкости (ориентировочно, максимальное время порядка 30 секунд при температуре – 40°C и около 10 секунд при температуре выше 0°C). При превышении нормального времени активации стартера на дисплее появляется соответствующее указание (обратный счет времени).
Новое: предусмотрен специальный аварийный режим (Safety Mode), который позволяет вручную запустить стартер. Стартер активируется на протяжении всего времени, пока ключ зажигания остается в замке в положении стартера, кроме следующих случаев:
- двигатель работает, задействован иммобилайзер или ошибка при контроле номера шасси (VIN).
Примечание: этот аварийный режим необходимо использовать при выполнении теста компрессии.
ОГРАНИЧЕНИЕ СКОРОСТИ АВТОМОБИЛЯ
В новой системе скорость автомобиля непосредственно ограничивается блоком EMS (прежде эту функцию выполнял VECU). Уменьшение порога ограничения или считывание текущей величины ограничения выполняется при помощи диагностического компьютера и программы Diag NG3.

ДАТЧИКИ
МЕСТОНАХОЖДЕНИЕ

1 Датчик давления газов в картере
2 Датчик скорости вентилятора
4 Датчик распредвала
5 Датчик давления масла
6 Датчик давления и T° воздуха
8 Датчик T° охлаждающей жидкости
9 Датчик маховика двигателя
10 Датчик давления дизтоплива
11 Датчик наличия воды
12 Датчик уровня и температуры масла
Большинству датчиков соответствуют электрические разъемы, находящиеся под крышкой двигателя, которую следует снимать при каждой проверке электрических соединений.

ДАТЧИКИ
ФУНКЦИОНИРОВАНИЕ:
Примечание: Некоторые датчики могут иметь общие цепи питания.
Неисправность самого датчика или его цепи питания может привести к нескольким неисправностям одновременно. Исполнительные устройства, зависящие от EMS, управляются «электрическим нулем» («массой»).
Датчик пьезоэлектрический
Пьезоэлектрический
Предупредить водителя о механической неисправности двигателя

Датчик скорости вентилятора
Датчик Холла
Контроль скорости вентилятора. В случае неполадки вентилятор включается принудительно

И ЕЩЕ 22 ДАТЧИКА....
Продолжение будет доступно пользователям
с выходом 64 обновления