Элементы конструкции автомобиля Mercedes-Benz Actros
Содержание
1. Кабина и органы управления автомобилем Actros 2
1.1. Многофункциональный дисплей
1.2. Многофункциональное рулевое колесо
1.3. Функциональные кнопки на рулевом колесе
1.4. Подрулевой переключатель и переключатель света
1.5. Расположение контрольных ламп на инструментальной панели
1.6. Электрическая сеть модульных панелей переключателей
1.7. Джойстик управления коробкой передач
2. Коробка передач
2.1. Режим Eco-Roll
2.2. Режим мощности
2.3. Режим маневрирования
2.4. Режим раскачивания
2.5. Темпомат поддержания скорости и ограничитель скорости
2.6. Адаптивный круиз-контроль (ART)
3. Ведущие мосты
4. Пневматическая подвеска автомобиля
4.1. Общее устройство пневмоподвески
4.2. Принцип работы пневматической подвески
4.3. Применение пневмоподвески
5. Тормозная система автомобиля. Антиблокировочная система тормозов
5.1. Общее устройство тормозной системы
5.2. Устройство модулятора тормозных сил автомобиля Actros 2
5.3. Устройство и принцип работы антиблокировочной системы тормозов (ABS)
5.3.1. Эффективность работы ABS в процессе эксплуатации
5.3.2. Эксплуатационная надежность ABS
5.4. Система помощи при трогании автомобиля (блокировка против скатывания автомобиля)
5.5. Система экстренного торможения Brake Assist (ВА)
5.6. Активная система торможения (Active Brake Assist – ABA)
5.7. Тормоз длительного действия
6. Наиболее важные элементы, обеспечивающие безопасность движения автомобиля
6.1. Обзорность из кабины водителя автомобиля
6.2. Наличие видеокамер заднего и бокового обзора
6.3. Дублирующие габаритные огни на кузове-фургоне автомобиля
7. Обитаемость кабины автомобиля
8. Диагностическая система Telligent
9. Система отопления и вентиляции кузова-фургона
9.1. Краткое описание устройства и работы
9.2. Особенности эксплуатации
9.3. Техническое обслуживание
9.4. Требования безопасности и предупреждения
10. Система кондиционирования кузова-фургона
10.1. Схема кондиционера и принцип его работы
10.2. Конструкция кондиционера
10.3. Причины выхода кондиционера из строя
10.4. Правила эксплуатации кондиционеров
1. Оборудование кабины и органы управления автомобилем Actros 2
Кабина автомобиля Actros 2 оборудована системой подрессоривания и демпфирует вибрационные и ударные воздействия от неровностей дороги благодаря амортизационным стойкам и специальным опорам (рисунок 1.1).
Кабина имеет ровный пол и высоту 1,92 м.

Рисунок 1.1 – Система подрессоривания кабины
Комфортные сиденья водителя и пассажира снабжены пневматической демпфирующей подвеской. Сиденье водителя (рисунок 1.2) для обеспечения удобного рабочего положения имеет регулирование высоты относительно пола кабины и продольное регулирование с функцией памяти, регулирование угла наклона спинки (плавное) и глубины посадки подушки, а также регулируемый по высоте ремень безопасности. Сиденье пассажира имеет откидную подушку и наклоняемую спинку.

Рисунок 1.2 – Сиденье водителя
В исполнении Single Cab (рисунок 1.3), высота кабины и расположение кресла пассажира у задней стенки позволяют человеку стоять в полный рост, а также предоставляет большое пространство для ног. Боковая стенка кабины обита мягкой тканью и имеется лампа для чтения.

Рисунок 1.3 – Интерьер кабины в исполнении Single Cab
Внизу за спинками сидений расположено спальное место (рисунок 1.4, а), под которым размещены три вещевых отсека, средний из которых может быть использован под холодильник объемом 25 л (рисунок 1.4, б). Кабина также может оснащаться вторым, расположенным над нижним, спальным местом
(рисунок 1.4, в), или багажной полкой.

Рисунок 1.4 – Спальные места и холодильник в кабине
Кабина оборудована эффективными системами обогрева и вентиляции с устройством регулирования и распределения подаваемого воздуха и кондиционирования с ручным управлением.
В качестве опций могут быть установлены система климат-контроля, управляющая параметрами температуры, нагнетания и распределения воздуха, автономные системы кондиционирования и дополнительного отопления и система Air Quality, которая, при необходимости, автоматически
переключается с режима нагнетания наружного воздуха в кабину на режим рециркуляции воздуха.
Устанавливаемый датчик дождя и света повышают удобство управления и безопасность. В дождь автоматически включаются стеклоочистители, а при наступлении сумерек – включается ближний свет.
На основании сиденья водителя расположен разъем для сжатого воздуха. К разъему может быть подключен, например, пневматический пистолет с гибким шлангом для чистки кабины.
Расположение органов управления автомобилем показано на рисунке 1.5.

Рисунок 1.5 – Органы управления автомобилем:
1 – инструментальная панель приборов с многофункциональным дисплеем;
2 – многофункциональное рулевое колесо; 3 – панель переключателей; 4 – радар; 5 –
джойстик управления коробкой передач
В панели управления на двери водителя (рисунок 1.6, а) находятся переключатели для изменения положения и подогрева зеркал заднего вида, а также для электрических стеклоподъемников, центрального замка и системы привода замков. Сферический вентиляционный дефлектор предотвращает запотевание боковых стекол.
Инструментальная панель приборов (рисунок 1.6, б) отражает функциональное состояние и готовность к движению систем автомобиля.
Перед началом движения автоматически проверяются уровень масла в двигателе, уровень охлаждающей жидкости, износ накладок тормозных колодок и др. Система контроля состояния аккумуляторных батарей позволяет контролировать уровень заряда батарей и оценивать возможность пуска двигателя автомобиля.

Рисунок 1.6 – Панель управления на двери водителя (а) и
инструментальная панель приборов (б)
1.1. Многофункциональный дисплей
Многофункциональный дисплей (рисунок 1.7) разделен на фиксированные участки:

1. Руководство пользователя.
2. Настроенная основная картинка, например, индикация скорости.
3. Состояние системы регулирования уровня рамы.
4. Индикация включенной передачи с положением делителя и
предварительно выбранной передачи.
5. Поле событий для индикации отказов и неисправностей. Только отказы
систем BS и TCO отображаются с символом системы.
6. Окошко индикации блокировок, отбора мощности, поддерживающих
осей спереди и сзади и системы облегчения трогания с места.
7. Окошко индикации функции темпомата, а также системы адаптивного
круиз-контроля (ART).
1.2. Многофункциональное рулевое колесо позволяет водителю управлять автомобилем и запрашивать различные системы (в зависимости от типа и исполнения). Положение рулевого колеса регулируется по высоте до 66 мм и наклону к вертикали от 10 до 420. В сочетании с регулированием сиденья водитель может выбирать наиболее удобное рабочее положение. При минимальном угле наклона рулевого колеса облегчается посадка водителя и выход из автомобиля, а также проход на место пассажира.
Все находящиеся в распоряжении функции собраны в системе FIS (информационная система водителя). Для запроса функций имеются следующие пункты меню:
- „Контрольная информация“, например, для запроса температуры охлаждающей жидкости или уровня масла в двигателе.
- „Звук“ – для регулировки громкости в динамиках, для управления аудиоаппаратурой.
- „Техобслуживание“ – для запроса расчетного срока проведения сервисного обслуживания.
- „Телефон“.
- „Цель поездки“ – для управления навигационной системой.
- „Счетчик поездки“.
- „Настройки“, например, для настройки часов.

Рисунок 1.8 – Положения рулевого колеса
1.3. Функциональные кнопки на рулевом колесе:

1.4. Подрулевой переключатель и переключатель света
Функции подрулевого переключателя (рисунок 1.9, а):
- указатель поворотов левый/правый;
- ближний / дальний свет;
- сигнал светом;
- стеклоочиститель 3-ступенчатый, интервальный режим, стеклоомыватель, разовый очиститель стекла;
- сигнал.
Функции переключателя света (рисунок 1.9, б):
- стояночный свет;
- ближний свет;
- противотуманные фары;
- противотуманный задний фонарь.

Рисунок 1.9 – Подрулевой переключатель (а) и переключатель света (б)
1.5. Расположение контрольных ламп на инструментальной панели

Рисунок 1.10 – Расположение контрольных ламп:
1 – указатель поворота левый; 2 – дальний свет; 3 – моторный тормоз; 4 – стояночный
тормоз; 5 – стоп; 6 – запирание кабины; 7 – система ASR активна; 8 – моторный тормоз при
системе AG; 9 – указатель поворота правый; 10 – указатель уровня топлива; 11 – контроль
кузова самосвала; 12 – система предпускового подогрева; 13 – удержание полосы движения
(SPA); 14 – гидравлическая муфта сцепления; 15 – дополнительное рулевое управление; 16 –
блокирование против опрокидывания; 17 – удерживающий тормоз; 18 – указатель давления в
системе тормозов
1.6. Электрическая сеть модульных панелей переключателей

Рисунок 1.11 – Электрическая сеть модульных панелей переключателей:
1 – ASIC – шина данных; CAN2 – шина CAN салона; A7 – базовый модуль;
10 – область подоконника у водителя; 11 – область подоконника посередине; 12 – область
подоконника слева; 13 – область крыши; 14 – область задней стенки;
A68 – A71, A76 – A84 – модули переключателей;
S24 – переключатель света; S25 – комбинированный переключатель; S26 – регулятор дальности
света фар
1.7. Джойстик управления коробкой передач

Рисунок 1.12 – Джойстик: 1 – функциональная кнопка; 2 – переключение передач
вверх; 3 – переключение передач вниз и включение передачи заднего хода; 4 – кнопка
нейтрали; 5 – переключение делителя вверх; 6 – переключение делителя вниз
2. Коробка передач
На автомобили семейства Actros 2 устанавливаются (среди прочих) новые автоматизированные 12- или 16-ступенчатые коробки передач (рисунок 2.1) с автоматической системой управления Mercedes PowerShift 2. Эти коробки передач отличает оптимизированный выбор передач, соответствующий
условиям движения автомобиля в наиболее экономичном режиме, а также своевременное, плавное и быстрое переключение передач. Переключение передач происходит в среднем на 30% быстрее, чем у автомобиля с обычной механической коробкой передач.
Получая и анализируя информацию от датчиков продольного (подъем-спуск) и поперечного (косогор) уклона и сравнивая её со скоростью автомобиля и положением педали подачи топлива, система управления коробкой передач выбирает необходимую передачу. В результате обеспечивается наиболее рациональный режим управления автомобилем, хорошие тягово-динамические свойства и топливная экономичность. Кроме того, водитель может в любой момент вмешаться в управление коробкой
передач, выбрав передачу по своему усмотрению, не выключая автоматический режим управления и не включая затем его снова.

Рисунок 2.1 – Автоматизированная коробка передач G 211 16 / 17,0 – 1,0
(G – коробка передач; 211 – максимальный крутящий момент на входе (x 10 = Нм);
16 – число передач для движения вперед; 17,0 – передаточное число на низшей
передаче; 1,0 – передаточное число на высшей передаче)
С коробкой передач Mercedes PowerShift 2 автомобиль получил некоторые новые функции (режимы работы), повышающие его экономичность и облегчающие работу водителя:
- поддержание экономичного (по топливу) режима при движении накатом (режим Eco-Roll);
- улучшение динамических свойств автомобиля с помощью
кратковременного использования полной мощности (режим Power или режим мощности);
- маневрирование с помощью педали подачи топлива за счет очень точного управления сцеплением и прерывания потока мощности (режим маневрирования);
- сокращение времени переключения и упрощение (облегчение для водителя) процесса за счет прямого переключения с 1 передачи в коробке передач на передачу заднего хода;
- упрощение процесса трогания с места в тяжелых дорожных условиях (режим свободного раскачивания);
- повышающую передачу, обеспечивающую наиболее высокую скорость движения задним ходом;
- режим гистерезисного круиз-контроля, при котором расширился настраиваемый диапазон регулирования темпомата, поддерживающего скорость движения по магистрали, и ограничителя скорости движения по городу;
- функцию Kickdown.
На дисплее приборной панели отображается рабочий режим и активная в
данный момент программа управления коробкой передач.
2.1. Режим Eco-Roll
Система Eco-Roll – режим управления автомобилем, при котором в зависимости от дорожной ситуации при отсутствии затребованного системой или со стороны водителя увеличения крутящего момента происходит прерывание силового потока в коробке передач с целью экономии топлива.
Функции системы Eco-Roll:
- при пуске двигателя автомобиля система активизируется автоматически и остаётся активной только в автоматическом режиме управления;
- система активна только при включенных передачах 7S, 8L и 8S на автомобилях с 16-ступенчатой коробкой передач и только при скорости движения более 55 км/ч на автомобилях с 12-ступенчатой коробкой передач;
- когда система активна, это отражается в виде появляющейся или постоянной индикации на дисплее;
- прерывание силового потока происходит при автоматическом включении ейтрали в коробке передач;
- система может быть отключена (включена) водителем с помощью клавиши «Power/выкл», расположенной на модульной панели переключателей (рисунок 2.2).

Рисунок 2.2 – Клавиши управления:
1 – клавиша включения режима мощности; 2 – клавиша выключения режима Eco-Roll;
3 – клавиша включения режима маневрирования; 4 – контрольный светодиод;
5 – клавиша включения режима раскачивания
2.2. Режим мощности
Режим мощности делает возможным кратковременный режим движения с повышенной мощностью с переключением передач на повышенной частоте вращения коленчатого вала двигателя.
Он активен только в автоматическом режиме управления и включается водителем с помощью клавиши «Power/выкл», расположенной на модульной панели переключателей, что отражается в виде постоянной индикации на дисплее.
Отключение режима мощности производится либо водителем (клавишей «Power/выкл»), либо автоматически примерно через 10 мин движения для обеспечения экономии топлива. Он может быть снова включен незамедлительно.
2.3. Режим маневрирования
Режим маневрирования обеспечивает возможность аккуратного и точного маневрирования (максимальная частота вращения коленчатого вала двигателя около 1100 мин-1 при 100 % положении педали подачи топлива) Режим маневрирования включается при неподвижном состоянии автомобиля и работающем двигателе.
Когда автомобиль находиться в режиме ручного управления «M», режим маневрирования включается клавишей 3 (см. рисунок 2.2) только тогда, когда включены передачи 1L или R1L. Когда автомобиль находиться в автоматическом режиме «A», подготовленная к включению в данный момент передача будет переключена на передачу для маневрирования. При включении режима маневрирования загорается контрольный светодиод 4 (см. рисунок 2.2).
Режим маневрирования выключается той же клавишей, при этом контрольный светодиод гаснет.
Необходимо помнить, что режимы маневрирования и раскачивания не могут быть включены одновременно.
2.4. Режим раскачивания
Режим раскачивания обеспечивает водителю возможность раскачивания автомобиля для трогания с места в тяжелых дорожных условиях.
После включения режима раскачивания (включена одна из передач) и отпускания педали подачи топлива сцепление начинает резко включаться и автомобиль получает возможность перемещения вперед, а затем назад.
Повторное нажатие на педаль сцепления способствует повторению процесса.
Функции режима раскачивания:
- активизация режима не зависит от режима управления (ручной или автоматический);
- режим включается нажатием клавиши 5 (см. рисунок 2.2) на модульной панели переключателей;
- скорость автомобиля не более 5 км/ч;
- режим действует только на нижнем диапазоне в делителе передач;
Режим раскачивания выключается:
- нажатием той же клавиши на модульной панели переключателей;
- автоматически при скорости автомобиля более 5 км/ч;
- при системной неисправности.
Необходимо помнить, что режимы раскачивания и маневрирования не могут быть включены одновременно.
2.5. Темпомат поддержания скорости и ограничитель скорости
Темпомат – система автомобиля, рассчитанная для движения по скоростным магистралям. Она автоматически поддерживает заданную водителем скорость движения автомобиля, достигнув которую, водитель убирает ногу с педали подачи топлива. При этом заданная скорость сохраняется на подъемах и спусках. Установленное значение будет показано на дисплее.
При включении темпомата скорость будет регулироваться:
- стандартно – с точностью 4 км/ч;
- при включённой системе Eco-Roll – с точностью 6 км/ч;
Ограничитель скорости – система, ограничивающая заданную водителем скорость движения по городу. На автомобилях с коробкой передач Mercedes Power Shift 2 точность переключения может быть отрегулирована с шагом в 1 км/ч между 2 км/ч и 15 км/ч.
Рычаг управления системами показан на рисунке 2.3.

Рисунок 2.3 – Рычаг управления темпоматом и ограничителем скорости
1 – ограничитель скорости или темпомат включить /ограничение скорости увеличить;
2 – ограничение скорости уменьшить;
3 – ограничитель скорости или темпомат отключить;
4 – функциональная кнопка смены системы движения
2.6. Адаптивный круиз-контроль (ART)
ART расширяет функции темпомата, не только автоматически поддерживая заданную водителем скорость движения автомобиля, но и снижает риск возникновения дорожно-транспортного происшествия из-за постоянного поддержания безопасной дистанции до впереди движущегося
автомобиля.
Система работает следующим образом. Радар посылает электромагнитные сигналы с частотой 77 ГГц и получает отраженные от препятствий сигналы.
Ширина охвата составляет около 150 м. От полученных сигналов на основании времени их задержки блок управления ART определяет относительную скорость движения автомобилей и дистанцию до впереди движущегося автомобиля и регистрирует его (функция распознавания).
Сигналы образуют три зоны отправки и приема в форме конусов с углом раствора около 30, которые частично перекрываются (рисунок 2.4).
Полученные сигналы обрабатываются и отправляются на блок управления ART, откуда поступают на дисплей. На дисплее отображается дистанция до впереди движущегося автомобиля и предпочтительная скорость движения автомобиля. При резком торможении впереди движущегося автомобиля
(сокращении дистанции) система предупреждает водителя световым (символом на дисплее) и звуковым сигналами.
Система ориентируется только относительно впереди движущегося автомобиля, но не реагирует на автомобили, стоящие на соседней полосе, и не распознает движущиеся во встречном направлении.

Рисунок 2.4 – Зоны отправки и приема сигналов радара
3. Ведущие мосты
На автомобили семейства Actros 2 устанавливаются ведущие мосты:
- с одинарной гипоидной главной передачей (рисунок 3.1) модели HL 6 для автомобилей с двигателями мощностью до 350 кВт (476 л.с.) и модели HL 8 для автомобилей с двигателями мощностью от до кВт(от 510 до 598 л.с.). Мосты имеют относительно небольшую массу и передаточные числа, способствующие снижению расхода топлива. Мост модели HL 6 применяется также на автомобилях с низкой рамой.

Рисунок 3.1 – Ведущий мост модели HL 6
- с колёсными планетарными редукторами (рисунок 3.2) модели HL 7, который обеспечивает большой дорожный просвет и применяется для строительной техники. Мост используется в 3-х и 4-осных автомобилях как проходной.

Рисунок 3.2 – Ведущий мост модели HL 7
Все мосты отличаются надёжной конструкцией и рассчитаны на осевые нагрузки до 13...16 т.
Самоблокирующиеся дифференциалы, установленные в ведущих мостах, и антипробуксовочная система ASR, являясь элементами серийной комплектации, даже в тяжёлых дорожных условиях обеспечивают
максимальный уровень тягового усилия.
На строительных полноприводных автомобилях устанавливаются межосевые и межколёсные дифференциалы, блокируемые с места водителя (рисунок 3.3).

Рисунок 3.3 – Переключатель блокирования дифференциалов
4. Пневматическая подвеска автомобиля
Пневматическая подвеска (пневмоподвеска) – вид подвески, обеспечивающий возможность поддержания и изменения уровня рамы, высоты грузовой платформы и прицепного устройства относительно дороги либо дорожного просвета независимо от загрузки автомобиля за счет применения
пневматических упругих элементов.
Основными преимуществами пневматических подвесок являются:
1. Адаптивность
Пневмоподвеска обеспечивает широкий диапазон настройки её жесткости и возможность регулирования высоты положения рамы относительно дороги. В отличие от рессор и пружин, пневматические упругие элементы обеспечивают оптимальные настройки подвески и не так критичны к подбору их характеристик.
2. Управляемость
Большинство пневматических упругих элементов имеет прогрессивную характеристику – чем больше они сжимаются, тем их жесткость становится выше, что в значительной степени обеспечивает возможность требуемой настройки пневмоподвески. Кроме того, обеспечена быстрая её настройка с
рабочего места водителя.
3. Настраиваимость
Каждый водитель имеет собственное виденье того, как его автомобиль должен двигаться и управляться. С пневматической подвеской эти пожелания зачастую легко реализуются путем изменения давления в пневмосистеме управления подвеской: можно обеспечить комфортабельность движения, сделав подвеску достаточно мягкой или, наоборот, получить хорошую устойчивость
при движении на поворотах, ужесточив подвеску.
4. Индивидуальность
Самое эффектное свойство пневмоподвески это возможность быстрого изменения высоты расположения рамы в допустимых технической характеристикой пределах. Регулированием с рабочего места водителя можно максимально снизить высоту расположения рамы, установить её в среднее
положение или максимально поднять, например, для движения по неровным дорогам, преодоления участков бездорожья, то есть для изменения профильной (геометрической) проходимости автомобиля.
5. Практичность
Пневмоподвеска позволяет более полно использовать грузоподъемность автомобиля и даже допускает небольшую его перегрузку без ущерба комфортабельности и безопасности движения. Пневмоподвеска также облегчает буксировку прицепов.
4.1. Общее устройство пневмоподвески
Пневматическая подвеска имеет следующее общее устройство:
- пневматические упругие элементы на каждое колесо;
- бортовую пневмосистему;
- электронную систему управления.
Пневматические упругие элементы выполняют основную функцию подвески – поддержание определенного уровня рамы автомобиля. Это достигается путем изменения давления и соответствующего ему объема воздуха в упругих элементах.
Все регулируемые пневматические упругие элементы подразделяются на два основных типа: рукавные (телескопические поршневые пневморессоры или пневмобаллоны) (рисунок 4.1) и баллонные.

Рисунок 4.1 – Рукавные пневматические упругие элементы:
а – с встроенным амортизатором (пневморессора): 1 – корпус; 2 – газовая полость
амортизатора; 3 – манжета (рукав); 4 – двухтрубный газонаполненный амортизатор;
5 – компенсационная полость амортизатора; 6 – поршень; 7 – направляющая корпуса;
8 – воздушная полость; б – пневмобаллон: 1 – резинокордная оболочка; 2 – верхний фланец; 3 – поршень; 4 – резиновый буфер; 5 – штуцер для подвода сжатого воздуха
На автомобилях Actros 2 типа 6х4 на задней тележке устанавливается классическая пневмоподвеска на четырех рукавных пневмобаллонах, а на автомобилях типа 4х2 и 6х2 – на двух (рисунок 4.2). В связи с этим, в их пневмобаллонах повышается давление воздуха с 6,3 до 7,6 бар. Такая конструкция пневмоподвески позволяет разместить амортизаторы непосредственно позади ведущего моста, что обеспечивает большие ходы поршней и лучшее демпфирование колебаний.
Устройство Stabilenker (рисунок 4.2), применяемое в пневмоподвесках с двумя пневмобаллонами, объединяет в себе две функции – направляющего устройства и стабилизатора поперечной устойчивости и снижает массу задней пневмоподвески более чем на 90 кг. Кроме того, номинальная высота
расположения рамы снижается на 30 мм, а выгодное расположение пневмобаллонов увеличивает высоту подъёма рамы. Треугольная реактивная штанга повышает устойчивость автомобиля при продольных колебаниях.

Рисунок 4.2 – Задняя подвеска седельного тягача типа 4х2 и 6х2
Рукавный пневмобаллон (см. рисунок 4.1, б) состоит из резинокордной оболочки 1, верхнего фланца 2, поршня 3 и резинового буфера 4. В верхнем фланце установлен штуцер 5 для подвода сжатого воздуха.
Пневмобаллоны установлены отдельно от амортизаторов. Амортизаторы расположены позади заднего моста. Резинокордная оболочка (рукав) изготавливается из прочного многослойного эластомера.
Пневмобаллоны баллонного типа устанавливаются на полуприцепы, имеют тороидальную форму и бывают одно-, двух- или трехсекционными. Наибольшее распространение получили двухсекционные пневмобаллоны, которые состоят из оболочки с двумя бортами по краям, усиленными стальными проволочными кольцами. Пневмобаллон присоединяется к опорным фланцам с помощью стальных фасонных прижимных колец с болтами. В средней части оболочка перетянута стальным разделительным (бандажным) кольцом, которое ограничивает радиальное расширение пневмобаллона, обеспечивает правильное складывание оболочек при сжатии, способствует повышению его несущей
способности и износостойкости. В одном из опорных фланцев имеется штуцер для подключения подачи воздуха.
Подача воздуха для питания пневмобаллонов осуществляется из пневмосистемы автомобиля.
Регулирование уровня рамы относительно дороги осуществляется с помощью электронной системы управления, которая включает входные датчики, блок управления и исполнительные устройства.
Выключатель системы регулирования уровня рамы показан на рисунке 4.3, а пульт управления системой – на схеме системы регулирования уровня рамы (рисунок 4.4).
С помощью этого выключателя водитель может нажатием кнопки на центральной консоли остановить процесс регулирования и установить уровень для режима движения.

Рисунок 4.3 – Выключатель системы регулирования уровня рамы:
1 – клавиша «Остановка регулирования / Включение уровня движения»; 2 – клавиша
«LowLiner», повышенный уровень для движения; 3 – система устойчивости «выкл/вкл»;
4 – активная система BAS «выкл/вкл»
Функция остановки:
- прерывает текущий процесс регулирования уровня рамы;
- завершает специальные функции системы регулирования уровня рамы "Принудительное опускание" и "Регулирование остаточного давления в пневмобаллонах
Функция включения режима движения переводит пневмоподвеску автомобиля на базовый уровень (положение для движения).

Рисунок 4.4 – Схема системы регулирования уровня рамы (S50 - пульт управления для
регулирования уровня рамы): 1 – контрольная лампа подъема (опускания) передней части
рамы. B51 – датчик перемещения передней части рамы; 2 – контрольная лампа подъема
(опускания) задней части рамы B52 и B53 – датчики перемещения задней части рамы; 3 –
кнопка управления подъемом (опусканием) передней части рамы; 4 – кнопка управления
подъемом (опусканием) задней части рамы; 5 – кнопка «Высота передней части рамы»; 6 –
кнопка «Высота задней части рамы»; 7 – кнопка «Положение движения»; 8 – кнопка
«Поднять»; 9 – кнопка «Опустить»; 10 – кнопка «Стоп»; Y26 – электромагнитный клапан
передней оси; Y27 – блок электромагнитных клапанов системы регулирования уровня 2-
осного автомобиля; Y28 – блок электромагнитных клапанов системы регулирования уровня
3-осного автомобиля; 11.1 – символ "Рама автомобиля выше нормального положения"; 11.2
– символ "Рама автомобиля ниже нормального положения"; A7 – базовый модуль (GM) A64
– передний модуль (FM); A65 – задний модуль (HM)
К входным датчикам относятся:
- датчики уровня рамы;
- датчик давления в системе.
Датчики обеспечивают автоматическое регулирование пневмоподвески.
Блок управления преобразует электрические сигналы входных датчиков в управляющие воздействия на исполнительные устройства. В своей работе блок управления взаимодействует с блоками системы управления двигателем и системы курсовой устойчивости автомобиля.
В системе управления пневматической подвеской используются следующие исполнительные устройства:
- клапаны пневматических упругих элементов (создание давления);
- выпускной клапан (сброс давления);
- клапан ресивера (поддержание давления);
- реле включения компрессора.
4.2. Принцип работы пневматической подвески
В пневматической подвеске реализовано два алгоритма управления:
- автоматическое поддержание уровня рамы;
- принудительное изменение уровня рамы спереди и сзади.
Автоматическое поддержание определенного уровня рамы в пневматической подвеске осуществляется независимо от степени загруженности автомобиля. Датчики перемещения постоянно измеряют расстояние от колес до рамы. Результаты измерений сравниваются с заданной величиной. При
расхождении показаний электронный блок управления задействует необходимые исполнительные устройства: клапаны упругих элементов для подъема, выпускной клапан для опускания подвески.
Принудительное изменение уровня рамы. В работе пневматической подвески обычно предусмотрено три уровня рамы относительно дороги:
- номинальный;
- повышенный;
- пониженный.
Уровни рамы устанавливаются водителем с помощью пульта дистанционного управления, связанного с кабиной посредством кабеля.
На панели выключателей имеется кнопка «нормальное положение», нажатием на которую рама автомобиля автоматически опускается или поднимается до номинального уровня.
Для того чтобы быстро подавать воздух в пневматические упругие элементы и выпускать воздух из них, то есть для реализации всех возможностей пневмоподвески устанавливается бортовая пневмосистема.
Бортовая пневмосистема состоит из штатного компрессора, резервуара для хранения сжатого воздуха (ресивера) и системы управления и распределения воздуха. Производительность компрессора, давление в системе, объем ресиверов, размер клапанов, диаметры воздушных магистралей и прочие параметры конкретной системы подбираются индивидуально в зависимости от массы автомобиля, требований к быстродействию и возможностям подвески.
На автомобиле установлена четырехконтурная пневмосистема.
Четырёхконтурные пневмосистемы наиболее совершенные и применяются на автомобилях, на которых пневмоподвеска устанавливаются на всех осях. В каждом пневматическом упругом элементе может быть установлено любое давление, что обеспечивает возможность выравнивания автомобиля при
неравномерной загрузке и позволяет получить хорошее сочетание плавности хода и устойчивости движения.
В состав четырёхконтурной пневмосистемы входят: пневматические упругие элементы на каждое колесо, компрессор (штатный), ресивер, воздушные магистрали, электромагнитные клапаны распределения воздуха по магистралям, регуляторы положения рамы, контроллер (базовый модуль).
Регуляторы положения кузова необходимы для стабильного поддержания расстояния между осью (ведущим мостом) и кузовом при любых статических нагрузках.
Управление четырехконтурной пневмосистемой осуществляется с пульта управления базовым модулем (электронным контроллером) с цифровым дисплеем на панели приборов, на котором отображается информация о давлении в каждом пневматическом упругом элементе и ресивере. Базовый модуль
получает информацию от датчиков перемещения рамы и датчиков давления в пневматических упругих элементах. При этом существуют системы с управлением только по давлению в каждом пневматическом упругом элементе, системы с контролем только положения уровня рамы автомобиля и наиболее
сложные системы, отслеживающие все параметры.
Базовый модуль управляет пневмосистемой в автоматическом режиме.
Благодаря функции предустановки давления в пневматических упругих элементах имеется возможность приведения пневмоподвески автомобиля нажатием одной кнопки из любого текущего положения каждого элемента в положение, которое в основном используется для передвижения. Если по какой то причине происходит утечка воздуха из магистрали (контура), то базовый модуль информирует об этом на дисплее значком, расположенным рядом с индикатором соответствующего пневмобаллона. В связи с этим, в процессе эксплуатации практически не требуется вмешательства в работу
пневмосистемы.
При необходимости, базовый модуль обеспечивает независимое управление передними (на обе стороны одновременно) и задними (раздельно) пневматическими упругими элементами.
При пуске двигателя контроллер автоматически приводит пневматические упругие элементы в то положение (поднимает раму на ту высоту), в котором они находились при остановке двигателя. Если этого не требуется, то функция может быть отключена.
4.3. Применение пневмоподвески
Раму можно быстро приподнимать или опускать, чтобы экономить время при смене полуприцепов или использовании сменных кузовов, а также, чтобы подгонять погрузочную высоту автомобиля под высоту погрузочной площадки.
Пневмоподвеска легко и быстро настраивается под любой уровень загрузки автомобиля путем увеличения давления воздуха в пнвмобаллонах задней оси. Повышенная жесткость задней подвески и горизонтальное положение полностью гружёного автомобиля обеспечивают лучшую управляемость и
безопасность движения. В этом случае и фары правильно освещают дорогу и не ослепляют водителей встречных транспортных средств (рисунок 4.5).

Рисунок 4.5 – Настройка пневмоподвески
Пневмоподвеска легко и быстро настраивается для обеспечения горизонтального положения автомобиля при неравномерной по сторонам нагрузке на его колеса (рисунок 4.6). Уменьшение кренов и раскачивания повышает плавность хода и улучшает управляемость автомобиля.

Рисунок 4.6 – Настройка пневмоподвески
Пневмоподвеска легко и быстро настраивается для движения по дорогам различного состояния. При движении по неровной дороге снижение давления воздуха в пневматических упругих элементах способствует повышению плавности хода и средней скорости движения. Пневмоподвеска, кроме того,
улучшает контакт колес с поверхностью дороги, что существенно повышает безопасность движения.
Пневмоподвеска позволяет точно настроить положение буксирного прибора автомобиля при буксировании прицепа и, тем самым, снизить негативное влияние прицепа на устойчивость, управляемость и тормозные свойства автопоезда.

1 - контрольная лампа подъема (опускания) передней части рамы;
2 - контрольная лампа подъема (опускания) задней части рамы;
3 - кнопка управления подъемом (опусканием) передней части рамы (вкл/выкл);
4 - кнопка управления подъемом (опусканием) задней части рамы (вкл/выкл);
5 - кнопка «Высота передней части рамы»;
6 - кнопка «Высота задней части рамы»;
7 - кнопка «Положение движения»;
8 - кнопка «Поднять»;
9 - кнопка «Опустить»;
10 - кнопка «Стоп (поднять/опустить)»



2 Поле индикации «помощь при трогании / поддерживающие оси спереди и сзади»;
А77 Модуль переключения 1 на передней панели;
S51 Кнопка поддерживающей оси «поднять / опустить»;
S52 Кнопка помощи при трогании с места;
P2p1 Дисплей системы информации водителя (FIS);
30.03 Клапан ограничения давления с вентилем прокачки, 0,5 бар (+0,1 бар /-0,2 бар) ведущего моста;
30.03 Клапан ограничения давления с вентилем прокачки, 6,5 бар (+0,3 бар) поддерживающей оси
B52 Датчик перемещения задней части рамы слева;
B53 Датчик перемещения задней части рамы справа;
B54 Датчик давления ведущего моста слева;
B55 Датчик давления ведущего моста справа
5. Тормозная система автомобиля. Антиблокировочная система тормозов
5.1. Общее устройство тормозной системы
На автомобиле Actros 2 устанавливаются дисковые тормозные механизмы фирмы Knorr типа SB 7000 (рисунок 5.1).

Рисунок 5.1 – Дисковый тормозной механизм автомобиля Actros 2
Преимуществами тормозных механизмов данного типа являются:
1. Высокая унификация из-за модульной системы; преимущество в обеспечении запасными частями.
2. Высокий коэффициент полезного действия механизма вследствие небольшого числа подвижных деталей и изнашиваемых опорных частей.
3. Встроенный автоматический механизм регулировки, действующий синхронно на оба рабочих цилиндра.
4. Непосредственно подсоединенный рабочий тормозной цилиндр;
отсутствие тормозных валов, внешних рычагов и устройства регулировки.
5. Незначительное потребление воздуха из-за использования пневмокамер с нормальным ходом штока.
6. Компактная конструкция.
7. Постоянная оценка износа тормозных накладок встроенными в тормозные механизмы датчиками.
8. Высокая долговечность тормозных накладок и дисков.
9. Удобоство сервисного обслуживания.
Схема тормозной системы Telligent на автомобиле Actros 2 показана на рисунке 5.2, только изменены модулятор тормозных сил от нагрузки и концепция избыточного давления на задней оси, а также возбуждение клапана управления прицепом.
5.2. Устройство модулятора тормозных сил автомобиля Actros 2
Модулятор тормозных сил (рисунок 5.3) в зависимости от нагрузки на задний мост (задние мосты) регулирует и управляет давлением в тормозных магистралях к тормозным камерам заднего моста и выполняет функции электронной системы управления.
Функции:
- управление давлением в тормозных магистралях;
- регулирование системы ABS;
- регулирование противобуксовочной системы (ASR).
Электронная система управляет:
- электромагнитными клапанами ABS;
- клапанами избыточного давления;
- клапаном управления тормозной системой прицепа;
- клапаном ASR для отключения давления в тормозной магистрали к поддерживающей оси в процессе регулирования ASR.

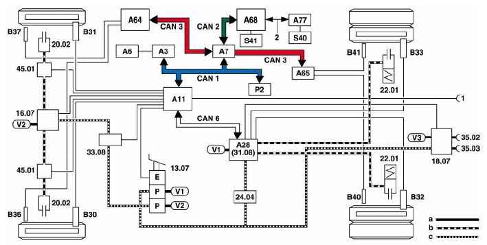
Рисунок 5.2 – Схема тормозной системы автомобиля Actros 2:
13.07 – главный тормозной кран; 16.07 – пропорциональный релейный клапан; 18.07 –
клапан управления прицепом; 20.02 – одноконтурная тормозная камера; 22.01 –
энергоаккумулятор; 31.08 – модулятор тормозных сил в тормозных механизмах колес
заднего моста; 33.08 – клапан избыточного давления воздуха в магистрали к колесам
передней оси; 33.10 – клапан избыточного давления воздуха в магистралях к колесам задней
оси; 35.02 – соединительная головка для наполнения системы; 35.03 – соединительная
головка для торможения; 45.01 – электромагнитный клапан ABS; A11 – блок управления
тормозной системой (BS); A64 – передний модуль (FM); A65 – задний модуль (HM); B30 –
датчик частоты вращения переднего левого колеса; B31 – датчик частоты вращения
переднего правого колеса; B32 – датчик частоты вращения заднего левого колеса; B33–-
датчик частоты вращения заднего правого колеса; B36 – датчик износа тормозных накладок
переднего левого колеса; B37 – датчик износа тормозных накладок переднего правого
колеса; B40 - датчик износа тормозных накладок заднего левого колеса; B41 – датчик износа
тормозных накладок заднего правого колеса; 1 – интерфейс данных на прицеп/полуприцеп;
а – давление наполнения; в – давление торможения; с – избыточное давление управления;
CAN6 – Шина CAN тормозов; E – электрический компонент; P – пневматический
компонент; V1, V2 и V3 – давление наполнения

Рисунок 5.3 – Модулятор тормозных сил
При отказе в работе электронной системы модулятор тормозных сил от датчика тормозной педали управляется давлением воздуха от пневматической системы автомобиля через редукционный клапан (дублирующая система).
Модулятор тормозных сил использует два пневматических независимых друг от друга контура регулирования давления (правый и левый) с двумя отдельными штуцерами для подвода давления.
5.3. Устройство и принцип работы антиблокировочной системы тормозов
При плавном нажатии на педаль тормоза автомобиль постепенно снижает скорость и затем полностью останавливается. Известно, что сцепление колеса с опорной поверхностью (сухой и мокрый асфальт, щебень, размокший грунт) будет максимальным при его проскальзывании в пределах 15...30 %. При
экстренном же торможении (особенно на мокрой дороге) значительное усилие на педаль тормоза может привести к блокировке колес. Сцепление шин с дорогой в этом случае резко ослабевает, и автомобиль может полностью потерять управляемость с возникновением заноса. Это связано с тем, что при блокировке колеса весь запас по сцеплению колеса с дорогой используется в продольном направлении, и оно перестает воспринимать боковые силы, которые удерживают автомобиль на заданной траектории. Чтобы колеса автомобиля не блокировались при резком нажатии на тормозную педаль, и устанавливается антиблокировочная система тормозов (ABS).
ABS предназначена для предотвращения блокировки колёс и потери управляемости автомобилем при торможении и исключения вероятности его неконтролируемого скольжения. Применение ABS способствует:
- повышению активной безопасности автомобиля, то есть повышению эффективности торможения (особенно на скользких опорных поверхностях) и улучшению устойчивости и управляемости (рисунок 5.4);
- увеличению средней скорости движения;
- продлению срока службы шин.
В состав ABS входят:
- датчики угловой скорости колес (рисунок 5.5). Датчик представляет собой катушку, внутри которой располагается магнитный сердечник. Датчик устанавливается над торцом специального зубчатого венца, закрепленного на ступице колеса. Когда зубчатый венец вращается, в катушке индуцируется
электрический ток. Частота этого тока прямо пропорциональна угловой скорости вращения колеса. Датчики передних колес передают сигналы в блок управления тормозной системой (А11), а датчики задних колес – в задний модуль (А65);
- блок управления и задний модуль, получающие сигналы от датчиков, обрабатывают их и подают сигналы на исполнительные механизмы (управляющие клапаны);
- электромагнитные управляющие клапаны и клапаны избыточного давления воздуха, установленные в магистралях тормозной системы к передним и задним осям;
- модулятор тормозных сил в тормозных механизмах задних колес со встроенными клапанами.
Клапаны регулируют давление воздуха в магистралях к передней и задней осям автомобиля.

Рисунок 5.4 – Поведение автомобиля при экстренном торможении:
а - без ABS; б - с ABS

Рисунок 5.5 – Датчик угловой скорости колеса
Линейную скорость автомобиля определяют косвенным путем – перерасчетом значений, полученных от датчиков угловой скорости колес. При достижении величины заданного относительного скольжения (порогового значения) блок управления подает соответствующую команду исполнительному
механизму.
Принцип работы ABS – цикл «торможение – анализ – растормаживание».
После начала торможения ABS начинает постоянное и достаточно точное определение угловой скорости вращения каждого колеса. В случае если какоето колесо начинает вращаться с частотой ниже определенного критического значения (что означает, что колесо близко к блокировке), блок управления системой на основе сигнала от датчика частоты вращения колеса посылает управляющий сигнал к распределительному клапану для прекращения роста давления воздуха в тормозном механизме для предотвращения опасности блокировки. Тормозное усилие и давление воздуха в магистрали к этому колесу снижается. Затем давление снова повышается, немного не доходя до границы, за
которой начинается блокировка колеса, и тормозное усилие восстанавливается.
Этот цикл повторяется в пределах от 10 до 15 раз в секунду (чем чаще, тем эффективнее торможение).
ABS следит за тем, чтобы то или иное колесо не блокировалось, сравнивает работу каждого колеса и регулирует тормозные усилия так, чтобы не допустить потери курсовой устойчивости автомобилем.
На автомобиле установлена трехканальная ABS. Она имеет индивидуальный комплект устройств на каждое колесо и позволяют отслеживать и регулировать давление жидкости в магистралях к передним
колесам совместно и задним колесам – по отдельности. В ABS может быть установлен специальный процессор-анализатор, который оценивает динамику движения автомобиля, угол наклона дорожного
полотна, сцепление с поверхностью дороги, влияние включённого круиз-контроля и другие факторы, которые могут влиять на процесс торможения. На основании полученных данных этот процессор проводит анализ ситуации и рассчитывает, какое давление следует создать в тормозной магистрали. А затем подаёт сигналы исполнительным механизмам, которые либо снижают давление в магистралях, либо повышают его.
В ABS также входит система самодиагностики, которая контролирует работу всех компонентов ABS по их физическим параметрам. При неисправности ABS во время работы двигателя на панели приборов загорается специальный индикатор (светодиод) с надписью «ABS» и записывается соответствующий код неисправности в память блока управления. После определения неисправности данный компонент исключается из работы системы, или ABS перестаёт работать, а тормозная система продолжает работать.
Если индикатор то горит, то гаснет, это указывает на неисправность одного из элементов системы. В этом случае необходимо провести диагностирование системы.
5.3.1. Эффективность работы ABS в процессе эксплуатации
ABS лишь предотвращает блокировку колёс тормозной системой и во время экстренного торможения позволяет водителю сохранять возможность совершения манёвров непосредственно в процессе торможения, но уменьшение тормозного пути отнюдь не является её компетенцией. Так, на сухой
асфальтированной дороге тормозной путь автомобиля с ABS может быть даже больше чем у автомобиля без ABS.
И в некоторых других условиях движения автомобиля работа ABS может способствовать увеличению тормозного пути. На рыхлых опорных поверхностях, таких как глубокий снег, песок или гравий, заблокированные при торможении колёса начинают зарываться в поверхность, что даёт
дополнительное замедление. Автомобиль с незаблокированными колёсами будет иметь в этих условиях больший тормозной путь. Для того чтобы можно было осуществлять эффективное торможение в таких условиях, ABS делают отключаемой. Кроме того, ABS может иметь специальный алгоритм торможения для рыхлой опорной поверхности, который приводит к многочисленным кратковременным блокировкам колёс. Такая техника торможения позволяет достигать эффективного замедления без потери
управляемости, как при полной блокировке. Тип опорной поверхности может быть установлен водителем вручную или может определяться системой автоматически путём анализа поведения автомобиля или при помощи специальных датчиков определения дорожного покрытия.
Важно помнить, что приемы вождения автомобиля с ABS и без нее разнятся. ABS дает возможность водителю не задумываться о том, с какой силой нажимать на тормозную педаль. Известно, что в экстренной ситуации водитель может развить на педали тормоза усилие до 50...70 кгс, при этом
необходимое для блокирования колес на льду усилие на педали тормоза без ABS составляет 5...8 кгс. При помощи электроники усилие будет оптимизировано и ABS не позволит колесам начать скольжение, балансируя величиной тормозного момента на грани блокировки, никогда не переходя эту грань. Таким образом, на автомобиле с ABS водитель должен смело нажимать на тормозную педаль (а не "гладить" её) и удерживать её в рабочем положении (нажатой). ABS же то притормаживает колеса, то снова позволяет им вращаться, обеспечивая прерывистое торможение. При этом автомобиль сохраняет
устойчивость и управляемость, что позволяет совершать необходимые манёвры, а при торможении на скользкой дороге практически исключить заносы.
Важно знать особенность торможения автомобиля, оснащенного ABS, которая состоит в том, что при торможении педаль тормоза необходимо удерживать с постоянным усилием, соответствующим условиям торможения.
Такой прием как прерывистое многократное торможение в этом случае не допускается, при этом эффективность ABS равняется нулю.
Необходимо отметить, что на практике блокирование колес бывает выгодно. Например, если неожиданно возник занос, и автомобиль разворачивается поперек дороги. Если водитель не предпринимает никаких действий, то через мгновение сработает ABS, колеса восстановят сцепление с
дорогой и потянут автомобиль с дороги. Кратковременная блокировка колес в этом случае может погасить интенсивность заноса, а длительная – заставит автомобиль вращаться, сохранив при этом первоначальное направление, то есть автомобиль с заблокированными колесами будет вращаться вокруг своей оси, но двигаться прямо и не уходить с дороги.
5.3.2. Эксплуатационная надежность ABS
ABS достаточно надёжна и долговечна. Все электронные блоки системы имеют защиту в виде специальных реле и предохранителей и их отказы зачастую связаны с нарушениями правил эксплуатации. Детали, которые более всего подвержены износу и отказам, – это датчики угловой скорости колёс. Они располагаются в непосредственной близости к вращающимся деталям и
зачастую работают в грязи, что приводит к различным сбоям.
При включенном зажигании или работающем двигателе запрещается разъединять электрические разъёмы. Не желательно пускать двигатель автомобиля подсоединением других аккумуляторных батарей или пускать двигатель другого автомобиля при помощи своего. Также периодически
необходимо контролировать состояние контактных соединений на генераторе.
5.4. Система помощи при трогании автомобиля (блокировка против скатывания автомобиля)
Система оказывает помощь водителю при трогании автомобиля на крутом подъеме путем автоматического его удержания на месте в течение 2…5 секунд после того, как отключен стояночный тормоз и отпущена педаль рабочей тормозной системы. Это позволяет водителю плавно нажать на педаль подачи топлива и начать движение.
Система приводится в готовность нажатием клавиши 1 (рисунок 5.6) при работающем двигателе, когда автомобиль неподвижен, давление наполнения тормозной системы более 6,8 бар, система ABS не отключена, педаль управления рабочей тормозной системой удерживается в нажатом положении и
стояночный тормоз отключён. Включение системы подтверждается индикацией

на панели приборов. Система работает путем управления темпом снижения давления в тормозном приводе при увеличении передаваемого момента трения сцепления (по крутящему моменту). После
начала движения система автоматически отключается (через 0,3 с) и звучит акустический зуммер.

Рисунок 5.6 – Клавиша 1 включения системы помощи при трогании автомобиля
5.5. Система экстренного торможения Brake Assist (ВА)
Автомобиль Actros 2 оборудован системой экстренного торможения Brake Assist.
Это адаптивная система (driver-adaptive system) экстренного усиления торможения, помогающая водителю при торможении. Система автоматически устанавливает максимальное давление в тормозном приводе вплоть до срабатывания ABS. Это необходимо, когда в экстремальной ситуации водитель
нажимает на тормозную педаль с силой, недостаточной для максимально возможного замедления автомобиля в данных дорожных условиях.
Электроника, контролирующая работу системы Brake Assist, связана с тормозной системой и отличает экстренное торможение от обычного (например, остановки на светофоре), сравнивая величину хода и скорость перемещения педали тормоза. Блок управления моментально вычисляет реакцию и силу
нажатия на педаль, определяет степень опасности ситуации и за доли секунды передает сигнал на исполнительные механизмы, а они далее – модулятору давления. ABS активизируется, и автомобиль экстренно затормаживается.
Система Brake Assist обеспечивает сокращение тормозного пути до 45 %, в то время как опытные водители могут сократить тормозной путь не более чем на 10 %.
5.6. Активная система торможения (Active Brake Assist – ABA)
Активная система торможения (ABA) является системой, которая в критических ситуациях может помочь водителю предотвратить опасность попутного столкновения с впереди движущимся автомобилем, а также снизить последствия дорожно-транспортного происшествия. При возникновении
критической дорожной ситуации действия системы не зависят от действий водителя, и она способна самостоятельно остановить автомобиль, используя все возможности его тормозной системы.
Данная система на автомобиле Aсtros 2 является логическим соединением функций системы адаптивного круиз-контроля (ART) и собственно системы торможения (BA).
АВА работает следующим образом. Встроенный радар (радиолокационная система) обнаруживает впереди движущийся автомобиль, контролирует дистанцию и скорость движения по отношению к нему и передает информацию в блок управления. При этом сигнал для контроля дистанции подается каждые
50 миллисекунд, а точность измерения относительной скорости – 0,7 км/ч. При сокращении дистанции на начальном этапе система оповещает об этом водителя световым (символом на дисплее) и звуковым сигналами. Если после предупреждения реакции со стороны водителя не происходит, то автомобиль
притормаживается с тормозным усилием примерно 30% максимального. Если водитель по-прежнему не предпринимает никаких действий, то АВА увеличивает эффективность действия тормозной системы вплоть до полной остановки автомобиля.
ABA является вспомогательной системой, которая помогает водителю.
Ответственность за выбранную скорость, своевременное управление торможением или маневрирование, а также поддержание безопасной дистанции всегда лежит на водителе. Система контролирует ситуацию только относительно впереди движущегося автомобиля, но не относительно стоящих или движущихся во встречном направлении автомобилей.
На дисплее инструментальной панели отображается следующая информация

1 - расстояние до впереди движущегося автомобиля;
2 - символ системы регулирования Telligent;
3 - предпочтительная скорость движения.
На рисунке 5.7 показан процесс работы АВА, когда водитель не реагирует на действия системы, а в таблице 5.1 – этапы действия АВА.

Рисунок 5.7 – Процесс работы АВА (этапы), когда нет реакции со стороны водителя
Таблица 5.1. Этапы действия АВА

На этапах 2 и 3 водитель может нажатием на тормозную педаль, указатель поворотов, педаль подачи топлива или на клавишу «ABA Выкл» (при этом на клавише загорится светодиод) подавить функции системы.
На этапе 4 подавление функций системы возможно только при нажатии на клавишу «ABA Выкл». Благодаря этому водитель всегда имеет возможность отключать функцию активной системы торможения.
При отключенной или подавленной системе ABA остается только звуковая сигнализация.
5.7. Тормоз длительного действия
Тормоз длительного действия со ступенчатым регулированием является вспомогательной тормозной системой автомобиля. Он притормаживает автомобиль, например, на длинных спусках с помощью системы торможения двигателем зависимой от частоты его вращения. Мощность торможения
обеспечивается дросселем постоянного сечения, турбобрейком и с помощью зависимого от скорости ретардера (тормоза-замедлителя). Эффективность моторного тормоза возрастает с увеличением частоты вращения двигателя.

S41 Переключатель блокировки против скатывания автомобиля.
13.07 Датчик тормозной педали.
16.07 Пропорциональный релейный клапан.
18.07 Клапан управления прицепом.
33.08 Клапан избыточного давления передней оси.
6. Наиболее важные элементы, обеспечивающие
безопасность движения автомобиля
6.1. Обзорность из кабины водителя автомобиля
Обзорность по ГОСТ Р 51266-99 «Автотранспортные средства. Обзорность с места водителя. Технические требования. Методы испытаний» – конструктивное свойство автотранспортного средства (АТС), характеризующее объективную возможность и условия восприятия водителем визуальной
информации, необходимой для безопасного и эффективного управления АТС.
Обзорность АТС – величина хорошо просматриваемого пространства перед АТС, сбоку и сзади него. Обзорность с места водителя вверх определяется предельным расстоянием видимости точки, находящейся на высоте 5 м от уровня проезжей части.
Передняя обзорность – обзорность через переднее и боковые окна кабины, ограниченная полем зрения водителя, равным 180°, в горизонтальной плоскости, при направлении линии взора с места водителя параллельно средней продольной плоскости АТС. Характеризуется размерами и расположением
нормативных зон А и Б переднего окна, степенью очистки нормативных зон А и Б, нормативным полем обзора П, непросматриваемыми зонами в нормативном поле обзора П, а также непросматриваемыми зонами, создаваемыми стойками переднего окна.
Обзорность АТС – неизменяемое, заложенное в конструкцию каждого АТС свойство, полученное на стадии его проектирования, которое в процессе эксплуатации улучшить практически невозможно.
Для улучшения обзорности автомобиль Actros 2 оборудован зеркалами заднего вида с подогревом, которые одновременно защищают боковые стекла кабины от забрызгивания во время дождя, эффективной системой защиты переднего и боковых стекол кабины от обмерзания и запотевания, системой очистки наружной поверхности передних стекол от загрязнения и влаги.

Зеркала заднего вида должны быть правильно отрегулированы. Правое наружное зеркало должно
обеспечивать возможность видимости, начиная с расстояния не более 30 м позади водителя, части плоской и горизонтальной дороги шириной не менее 3,5 м и линию горизонта. На расстоянии менее 30 м допускается постепенное уменьшение ширины видимой части дороги до 0,75 м на расстоянии не более 4 м позади водителя. Левое наружное зеркало должно обеспечивать возможность видимости, начиная с расстояния не более 10 м позади водителя, части плоской и горизонтальной дороги шириной не менее 2,5 м и линию горизонта.
Требования к обзорности должны соблюдаться при монтаже на шасси АТС кузова-фургона.
Неисправности устройств обзорности с рабочего места водителя по степени опасности для движения находятся на втором месте после неисправностей тормозных систем. В связи с этим, безопасность движения в значительной степени зависит от эффективности использования наружных зеркал заднего
вида, то есть от технического состояния систем подогрева самих зеркал, очистки переднего стекла от загрязнения и влаги (стеклоочиститель, стеклоомыватель и элементы их привода) и обмерзания и запотевания (отопитель кабины).
6.2. Наличие видеокамер заднего и бокового обзора
На автомобиле с кузовом-фургоном могут быть установлены видеокамер заднего и бокового обзора. Они обеспечивают полный обзор в любых ситуациях, в том числе, при движении задним ходом и не только облегчают возможность парковки, но и гарантируют безопасность окружающим участникам дорожного движения. Камеры беспроводные и позволяют получить качественное изображение, в отличие от парктроников, работа которых ограничивается подачей звукового сигнала. В темноте камеры «видят» гораздо лучше водителя. Рабочая температура от минус 30 до + 65оС позволяет
эксплуатировать камеры в достаточно тяжелых температурных условиях.
Изображение с камер передается в кабину водителя в зеркальном отображении.
Камеры помещены в водонепроницаемые корпуса.
6.3. Дублирующие габаритные огни на кузове-фургоне автомобиля
Дублирующие габаритные огни оранжевого цвета на кузове-фургоне автомобиля предназначены для обозначения габаритов в ночное время суток или при плохой видимости. По условиям применения и степени видимости габаритные огни относятся к приборам ночного применения с силой света от 2
до 12 кД. Режим их работы – длительный, обычно с мощностью 5 Вт.
7. Обитаемость кабины автомобиля
Обитаемость кабины автомобиля – комплекс свойств среды внутри кабины, определяющий уровень комфортабельности и эстетичности рабочего места водителя. Рациональная организация рабочего места водителя имеет большое значение для безопасности движения, повышения производительности его труда и сохранения здоровья. Она заключается в оснащении, оборудовании и планировке рабочего места в соответствии с психофизиологическими и антропометрическими характеристиками человека. Обитаемость является одним из свойств, определяющих безопасность автомобиля, и характеризуется
микроклиматом, эргономикой, шумом и вибрациями, загазованностью и плавностью хода.
Микроклимат характеризуется совокупностью температуры, влажности и скорости движения воздуха. Оптимальной температурой воздуха в кабине автомобиля считается 18…24°С. Её понижение или повышение сказывается на психофизиологических характеристиках водителя, приводит к замедлению
реакции и умственной деятельности, к физическому утомлению и, как результат, к снижению производительности труда и безопасности движения.
Влажность и скорость воздуха в значительной степени влияют на терморегуляцию организма. При низкой температуре и высокой влажности повышается теплоотдача и организм подвергается более интенсивному охлаждению. При высокой температуре и влажности теплоотдача резко снижается, что ведет к перегреву организма.
Эргономические свойства характеризуются соответствием конструкции и расположения сиденья и органов управления автомобилем антропометрическим параметрам человека, то есть размерам его тела и конечностей.
Рабочее место водителя характеризуется его размерами, удобством доступа к органам управления, положением сиденья и расположением по отношению к нему органов управления. Удобство пользования органами управления, хорошая обзорность, наименьшая утомляемость водителя обеспечиваются его правильной посадкой. Посадка водителя определяется положением его тела, рук
и ног относительно органов управления. Спина должна полностью прилегать к спинке сиденья, ноги свободно доставать до педалей, а руки – до рулевого колеса и других органов управления. Такая посадка у водителей считается основной. Основная посадка обеспечивается регулировками сиденья и его спинки.
Правильное положение водителя за рулем определяется таким положением сиденья, при котором при полностью выжатой педали сцепления левая нога остается слегка согнутой в коленном суставе. При этом спинка сиденья должна плотно контактировать со спиной.
Стремление водителя принять удобную позу, не прибегая к регулировке сиденья, ведет к преждевременному утомлению.
Приняв правильное положение за рулем, водитель регулирует ремни безопасности таким образом, чтобы под пристегнутый ремень на уровне груди входила ладонь. Отрегулировав ремни, необходимо проверить, насколько удобно пользоваться переключателями на приборном щитке и рычагом
переключения передач.
Для хорошей обзорности дороги сзади автомобиля необходимо отрегулировать положение зеркал заднего вида (см. раздел 6.1). В правой части зеркала должна быть видна верхняя часть заднего колеса автомобиля.
Положение рук водителя на органах управления автомобилем, в первую очередь на рулевом колесе, в значительной степени формирует посадку водителя и определяет возможность управления рулевым колесом.
Оптимальное положение рук на рулевом колесе для левой руки – в секторе 9 - 10 часов (по аналогии с часовым циферблатом), для правой руки – в секторе 2 - 3 часов. Оптимальное положение рук на рулевом колесе обеспечивает максимальный, в любую сторону, угол поворота рулевого колеса при
управлении как двумя руками, так и одной рукой в случае манипулирования другими органами управления автомобилем.
Природа шума и вибраций одна и та же – механические колебания элементов автомобиля. Шум – это комплекс звуков различных по силе и частоте. Источниками шума в автомобиле являются двигатель, трансмиссия, система выпуска отработавших газов и подвеска. Действие шума на водителя является причиной увеличения его времени реакции, временного ухудшения характеристик зрения, снижения внимания, нарушения координации движений и функций вестибулярного аппарата. Отечественные и международные нормативные документы устанавливают предельно допустимый уровень шума
на рабочем месте водителя в пределах 80...85 ДБ.
В отличие от шума, воспринимаемого ухом, вибрации воспринимаются телом водителя. Так же, как и шум, вибрации наносят большой вред состоянию водителя, а при постоянном воздействии в течение продолжительного времени могут ухудшить его здоровье.
Загазованность характеризуется концентрацией отработавших газов, паров топлива и других вредных примесей в воздухе. Основными вредными компонентами в кабине автомобиля являются угарный газ (СО), углекислый газ (СО2), окислы азота (NO) и углеводороды (CH). Особую опасность для водителя
представляет окись углерода – газ без цвета и запаха. Попадая в кровь человека через легкие, он лишает ее способности доставлять кислород клеткам организма. Отравление происходит незаметно и человек погибает от удушья, ничего не чувствуя и не понимая, что с ним происходит.
В этой связи водитель должен внимательно следить за герметичностью системы выпуска отработавших газов двигателя.
Плавность хода – это совокупность потенциальных свойств автомобиля, характеризующих его способность двигаться в заданном интервале скоростей без превышения норм вибронагруженности водителя, пассажиров, грузов и элементов конструкции автомобиля. Плавность хода автомобиля Actros 2 обеспечивается наличием на нем пневматической регулируемой подвески, систем подрессоривания кабины и сиденья водителя.
8. Диагностическая система Telligent
Диагностическая система Telligent делает возможным введение индивидуальных межсервисных интервалов, ориентируясь на реальную эксплуатационную нагрузку автомобиля. Так, например, регистрируется каждый случай пуска холодного двигателя. Состояние моторного и трансмиссионного масел и уровня охлаждающей жидкости постоянно перепроверяются. При приближении срока замены воздушного или топливного фильтров и тормозных накладок на дисплее появится соответствующее
предупреждение. Тем самым, полностью используется ресурс эксплуатационных материалов. Кроме того, появилась возможность заранее планировать сроки проведения технического обслуживания.
Диагностическая система Telligent фиксирует в памяти все неисправности.
При этом она ставит водителя в известность об этом только тогда, когда необходимо его вмешательство (возможен отказ в работе). Неисправности же устраняются при очередном техническом обслуживании.
Работа, связанная с ежедневной проверкой систем, за исключением контроля давления в шинах, осуществляется непосредственно с рабочего места водителя. Это обеспечивает удобство диагностирования агрегатов и систем автомобиля и экономию рабочего времени водителя. Так, система, информирующая водителя о состоянии аккумуляторной батареи и возможности пуска двигателя, позволяет осуществлять постоянный контроль её заряженности и когда уровень заряженности приближается к критическому, система предупреждает водителя.
9. Система отопления и вентиляции кузова-фургона
Отопление и вентиляция кузова-фургона осуществляются с помощью автономной отопительно-вентиляционной установки.
Отопительно-вентиляционная установка предназначена для работы в качестве отопителя внутреннего объема кузова при температурах окружающего воздуха от плюс 20°С до минус 45°С и в качестве вентилятора – при температурах от плюс 50°С до минус 45°С.
Достоинства отопительно-вентиляционной установки:
- работа в режимах отопления и вентиляции;
- быстрый нагрев воздуха и надежный пуск при указанных температурах окружающего воздуха;
- простая и надежная полуавтоматическая система управления;
- работа независимо от двигателя электростанции;
- высокая надежность в эксплуатации и долговечность в работе.
Электрооборудование установки рассчитано на питание от аккумуляторных батарей или сети постоянного тока.
Техническая характеристика

Установка имеет два режима работы – частичный и полный. При работе в качестве отопителя частичный режим рекомендуется только для пуска.
9.1. Краткое описание устройства и работы
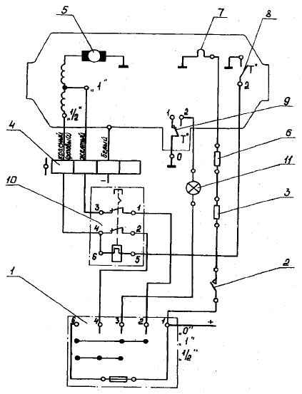
Отопительно-вентиляционная установка (рисунок 9.1) состоит из следующих основных узлов и деталей: теплообменника 3, камеры сгорания 25, электродвигателя 14 с вентилятором 15, нагнетателем 23, распылителем 7 и отражателем 5, фрикционной муфты 12 и приборов управления и сигнализации.
Теплообменник состоит из трех концентрично расположенных цилиндров: внутреннего, среднего и наружного. Во внутреннем цилиндре установлены диффузор 4 и камера сгорания 25. Внутренний и средний цилиндры соединены между собой четырьмя окнами, наружный цилиндр имеет выхлопной патрубок 19. Из камеры сгорания выведена дренажная трубка 24.
Топливный насос (рисунок 9.2) состоит из корпуса 2, в котором смонтирована червячная пара 1, передающая вращение от вала насоса эксцентрику 3. На эксцентрике установлен ползун 8, в котором закреплен плунжер 7, перемещающийся в цилиндрической полости направляющей плунжера 6 и осуществляющий всасывание и нагнетание топлива.

Рисунок 9.1 – Отопительно-вентиляционная установка:
1 – датчик перегрева; 2 – кожух; 3 – теплообъменник; 4 – диффузор; 5 – отражатель; 6 –
свеча; 7 – распылитель; 8 – крышка кольца остова; 9 – кольцо остова; 10 – насос; 11 – рычаг
муфты; 12 – фрикционная муфта; 13 – рычаг переключения режимов работы; 14 –
электродвигатель; 15 – вентилятор; 16 – передняя крышка; 17 – остов; 18 – датчик
сигнализации горения; 19 – выхлопной патрубок; 20 – топливоподводящая трубка; 21 –
топливная трубка; 22 – всасывающий патрубок; 23 – нагнетатель; 24 – дренажная трубка;
25 – камера сгорания
Муфта 12 (см. рисунок 9.1), управление которой осуществляется рычажком 13 через тягу и рычаг 11, служит для передачи вращения от вала электродвигателя валу насоса на режиме отопления и для отключения насоса на режиме вентиляции.
На режиме отопления происходит одновременная подача топлива и воздуха в камеру сгорания, а также воздуха на нагрев. Топливо подводится к насосу по трубке 20, а затем по трубке 21 подается в распылитель 7, разбрызгивается, смешивается с воздухом, подаваемым нагнетателем 23, и
воспламеняется от раскаленной спирали свечи 6. Затем пламя через диффузор 4 заполняет внутренний цилиндр, раскаляя его стенки. Дальнейшее горение поддерживается без участия свечи.
Продукты сгорания через окна поступают в замкнутое пространство между средним и наружным цилиндрами, разогревают их стенки и выбрасываются через выхлопной патрубок 19. Свежий воздух, подаваемый вентилятором 15, нагревается, проходя по кольцевым пространствам, образованным внутренним и средним цилиндрами, наружным цилиндром и кожухом.

Рисунок 9.2 – Топливный насос:
1 – червячная пара; 2 – корпус; 3 – эксцентрик; 4 – плита; 5 – прокладка;
6 – направляющая плунжера; 7 – плунжер; 8 – ползун
О начале устойчивой работы установки на режиме отопления и о прекращении ее сигнализирует лампа 11 (рисунок 9.3), которой управляет термобиметаллический датчик сигнализации горения 9.
В случае создания аварийной ситуации, когда температура в зоне термобиметаллического датчика перегрева 8 превысит допустимую, замыкаются его контакты 0 и 2, ток поступает на реле перегрева 10, которое отключает всю схему. При этом освобождается красная кнопка реле, сигнализируя о перегреве.
9.2. Особенности эксплуатации
Перед включением установки на режиме отопления:
- убедиться в наличии топлива в баке;
- открыть кран, перекрывающий подачу топлива от бака к установке;
- рычажок 13 (см. рисунок 9.1) установить в положение «Отопление».

Рисунок 9.3 – Электрическая схема установки:
1 -–переключатель; 2 – выключатель; 3 – контрольная спираль; 4 – соединительная панель;
5 – электродвигатель; 6 – сопротивление 0,65 Ом (только для установок в 24-вольтовом
исполнении); 7 – свеча накаливания; 8 – датчик перегрева; 9 – датчик сигнализации горения;
10 – реле перегрева; 11 – контрольная лампа
Для включения установки на режиме отопления при температуре окружающего воздуха выше минус 30°С:
- установить выключатель 2 (см. рисунок 9.3) в положение «включено» и удерживать в этом положении (контрольная спираль 3 должна накалиться до ярко-красного цвета);
- по истечении 30 с включить электродвигатель на частичный режим работы, установив переключатель 1 в положение «1/2»;
- через 30 с после включения электродвигателя отключить свечу, отпустив переключатель 2.
Не более чем через 3 минуты с момента включения электродвигателя должна включиться контрольная лампа 11. Через 10...15 минут после ее включения перевести переключатель 1 в положение «1» (полный режим).
Для включения установки на режиме отопления при температуре окружающего воздуха ниже минус 30°С:
- установить выключатель 2 в положение «включено» и удерживать в этом положении;
- по истечении 30 с включить электродвигатель на полный режим работы, установив переключатель 1 в положение «1»;
- после включения контрольной лампы 11 отключить свечу, отпустив выключатель 2.
Если контрольная лампа не включилась, повторить пуск установки.
Отсутствие пуска со второй попытки указывает на наличие неисправности.
Следует помнить, что время пуска установки может увеличиться при незаполненном топливопроводе от бака к установке (например, при первом включении после монтажа, техобслуживания и т. д.). Для заполнения топливопровода диаметром 6 мм и длиной 2000 мм требуется около 5 мин
работы насоса установки.
Для выключения установки перекрыть запорным краном подачу топлива, дать поработать 2...3 мин на режиме отопления и перевести на режим вентиляции, т. е. рычажок 13 (см. рисунок 9.1) установить в положение «Вентиляция».
После отключения контрольной лампы 11 (см. рисунок 9.3) перевести переключатель 1 в положение «О».
Несоблюдение установленного порядка выключения установки приводит к выходу ее из строя из-за закоксовывания деталей топливной системы и камеры сгорания.
Перед включением установки на режиме вентиляции убедиться в том, что запорный кран перекрывает подачу топлива, а рычажок 13 (см. рисунок 9.1) установлен в положение «Вентиляция».
Для включения на режиме вентиляции ручку переключателя 1 (см. рисунок 9.3) в зависимости от требуемой производительности вентилятора перевести в положение «1» или «1/2».
Для выключения – ручку переключателя 1 установить в положение «О».
На некоторых объектах контрольная лампа 11 может быть подключена к клемме 1 датчика сигнализации горения 9. В этом случае на режиме отопления с началом устойчивой работы лампа будет отключаться, а при прекращении процесса горения и охлаждения установки – включаться. На режиме
вентиляции лампа будет включаться одновременно с электродвигателем.
9.3. Техническое обслуживание
Техническое обслуживание установки подразделяется на следующие виды:
- через 100, 500 и 1000 ч работы;
- сезонное (перед началом отопительного сезона).
При техническом обслуживании через 100 ч работы:
- очистить от нагара спираль свечи, проверить ее состояние. Проверить зазор между витками спирали, который должен быть не менее 0,8 мм и равномерность кольцевого зазора между экраном свечи и спиралью, при необходимости отрегулировать зазор подгибкой;
- проверить состояние контрольной спирали, зазоры между витками и между спиралью и корпусом (они должны быть не менее 2 мм), проверить надежность контактов спирали;
- продуть теплообменник сжатым воздухом под давлением 4...6 атм через втулку свечи 6 (см. рисунок 9.1);
- очистить от загрязнений топливопровод, фильтр-отстойник и дренажную трубку 24.
В условиях интенсивной эксплуатации установок на режиме отопления (более 50 ч работы в неделю) обслуживание свечи рекомендуется проводить не реже одного раза в неделю.
Извлекая свечу, проследить, чтобы экран свечи был снят вместе с ней, так как возможно пригорание экрана к втулке свечи. В случае, когда экран остался во втулке (витки спирали свечи открыты), извлечь его с помощью проволочного крючка.
При техническом обслуживании через 500 ч работы:
- выполнить работы, проводимые при техническом обслуживании через 100 ч работы;
- разобрать насос 10, промыть его детали в керосине и продуть сжатым воздухом. Смазать червячную пару и подшипники.
- очистить от грязи и нагара теплообменник 3, камеру сгорания 25, распылитель 7, отражатель 5, топливную трубку 21. Поверить положение рычага 11, при необходимости отрегулировать;
Начиная демонтаж установки с объекта, отсоединить проводники от соединительной панели, датчиков и свечи, закрепить на них бирки для удобства последующего монтажа. Отсоединить питающий топливопровод, трубопроводы, подводящие воздух на нагрев и для обеспечения горения, отводящие нагретый воздух и отработавшие газы, шланг от дренажной трубки.
Отвернуть винты крепления датчиков горения 18 и перегрева 1 и снять датчики. Освободить установку от крепежных хомутов и извлечь ее для разборки.
Разборку установки начинать со снятия фланцев всасывающего 22 и выхлопного 19 патрубков, таблички «Отопление – Вентиляция». Затем вывернуть топливоподводящую трубку 20, всасывающий патрубок, дренажную трубку 24, гайку свечи 6 и извлечь свечу. Отвернуть винты, скрепляющие
кожух, и крепящие крышки, снять крышки и кожух.
Затем отсоединить остов 17 вместе с вентилятором 15, электродвигателем 14, нагнетателем 23, распылителем 7 и отражателем 5 от теплообменника 3.
Отвернуть гайку крепления вентилятора, снять вентилятор, отвернуть винты крепления обтекателя электродвигателя, снять обтекатель, а затем, отвернув винты крепления электродвигателя, извлечь электродвигатель. После этого отвернуть две гайки, фиксирующие рычаг 11 на тяге, и отсоединить остов.
Снять рычаг и ведомую половину муфты 12 с пружиной.
Придерживая ключом за освободившийся конец вала насоса, отвернуть отражатель, слегка отжать в радиальном направлении топливную трубку и снять распылитель.
Затем отвернуть винты крепления насоса и винты, скрепляющие кольцо остова 9 с крышкой кольца 8, снять кольцо остова, отсоединить от насоса топливные трубки, извлечь насос, придерживая нагнетатель.
Разбирая насос, отвернуть винты крепления плиты и осторожно снять плиту 4 (см. рисунок 9.2), извлечь направляющую 6 с ползуном 8 и плунжером 7, снять крышку насоса, отвернув винты ее крепления.
Теплообменник установки является неразборной конструкцией, из него извлекается только камера сгорания (см. рисунок 9.1). При извлечении камеры необходимо не повредить её лопатки.
Сборка установки и её монтаж на объект производятся в обратном порядке.
При техническом обслуживании через 1000 ч работы:
- выполнить работы, проводимые при техническом обслуживании через 500 ч работы;
- проверить и, при необходимости, подтянуть стяжные шпильки электродвигателя;
- проверить работу щеточного узла электродвигателя. Щетки должны свободно перемещаться в щеткодержателях и плотно прилегать к коллектору.
Высота щеток должна быть не менее 10 мм, изношенные щетки необходимо заменить новыми.
Проверить состояние рабочей части коллектора. Она не должна иметь загрязнений. При необходимости коллектор протереть чистой тканью, смоченной в бензине, зачистить мелкой стеклянной шкуркой, вращая якорь рукой, или проточить до получения чистой и гладкой поверхности.
При сезонном обслуживании:
- выполнить работы, проводимые при техническом обслуживании через 500 ч работы, за исключением обслуживания насоса;
- очистить от грязи и пыли воздуховоды, подводящие воздух на нагрев и горение, а также отводящие нагретый воздух и отработавшие газы;
- промыть топливный бак.
9.4. Требования безопасности и предупреждения
Не допускается работа установки в качестве отопителя в герметичных объектах с забором на нагрев только наружного воздуха.
При работе установки с забором на нагрев воздуха из объекта необходимо обеспечить доступ в объект свежего воздуха в количестве, достаточном для обеспечения нормальных санитарно-гигиенических условий.
Работа установки на режиме вентиляции разрешается только при соответствующем положении рычажка 13 (см. рисунок 9.1).
Для обеспечения бесперебойной, эффективной и безопасной работы установки необходимо своевременное и качественное её техническое обслуживание и постоянный контроль за состоянием самой установки и всех подсоединений. Все соединения топливной системы должны быть герметичными. Подтекание топлива в соединениях и попадание топлива на установку не допускаются.
Не допускается работа установки при загрязненной дренажной трубке 24 (см. рисунок 9.1).
Повторное включение установки после её выключения допускается только после её охлаждения, о чем сигнализирует лампа 11 (см. рисунок 9.3), так как в противном случае, будут наблюдаться хлопки и выбрасывание пламени из всасывающего и выхлопного патрубков.
При автоматическом отключении установки в результате перегревания возврат кнопки реле перегрева 10 (см. рисунок 9.3) в первоначальное положение и повторное включение установки разрешается производить только после выявления и устранения причин, вызвавших аварийный режим.
Категорически запрещается:
- работа установки без присмотра;
- включение и работа установки с полностью или частично перекрытыми трубопроводами, подающими воздух на нагрев и для обеспечения горения, а также отводящими нагретый воздух и отработавшие газы.
В случае возникновения пожара на объекте следует немедленно выключить установку.
10. Система кондиционирования
Система кондиционирования предназначена для создания и автоматического поддержания заданных величин параметров воздушной среды в кузовах под размещение мобильной центральной аппаратной (МЦА) и передвижной телевизионной станции (ПТС) вне зависимости от изменений атмосферных или внутренних условий.
Кондиционирование воздуха – это регулирование температуры и влажности, очищение и циркулирование воздуха.
Кондиционирование обитаемого кузова – это искусственное охлаждение воздуха, и создание комфортности для операторов и функционирования аппаратуры путем поддержания микроклимата внутри помещения, удаления влаги, пыли и загрязненного воздуха.
Система кондиционирования предназначена для работы при температурах окружающего воздуха от 0 до 45°С и относительной влажности воздуха до 80% при температуре 25°С.
10.1. Схема кондиционера и принцип его работы
Принцип работы кондиционера основан на свойстве жидкостей поглощать тепло при испарении и выделять его при конденсации. Схема кондиционера и принцип его устройства приведены на рисунке 10.1.
Основными узлами кондиционера являются:
Компрессор – сжимает хладагент и поддерживает его движение по холодильному контуру.
Испаритель – радиатор, расположенный во внутреннем блоке. В испарителе хладагент переходит из жидкой фазы в газообразную (испарение).
Конденсатор – радиатор, расположенный во внешнем блоке. Название отражает процесс, происходящий при работе кондиционера – переход хладагента из газообразной фазы в жидкую (конденсация).
ТРВ (терморегулирующий вентиль) – понижает давление хладагента перед испарителем.
Вентиляторы – создают поток воздуха, обдувающего испаритель и конденсатор. Они используются для более интенсивного теплообмена с окружающим воздухом.

Рисунок 10.1 – Схема кондиционера (сплит-системы)
Компрессор, конденсатор, ТРВ и испаритель соединены медными трубами и образуют холодильный контур, внутри которого циркулирует смесь хладагента и небольшого количества компрессорного масла. В процессе работы кондиционера происходит следующий процесс:
В компрессор из испарителя поступает газообразный фреон под низким давлением в 3...5 атм и температурой 10...20°С.
Компрессор сжимает хладагент до давления 15...25 атм, в результате чего хладагент нагревается до 70...90°С и поступает в конденсатор.
Конденсатор обдувается воздухом, имеющим температуру ниже температуры хладагента, в результате хладагент остывает и переходит из газообразной фазы в жидкую с выделением дополнительной теплоты. При этом воздух, проходящий через конденсатор, нагревается. На выходе из конденсатора хладагент находится в жидком состоянии, под высоким давлением, температура хладагента на 10...20°С выше температуры окружающего воздуха.
Из конденсатора теплый хладагент поступает в ТРВ, который выполняется в виде капилляра (длинной тонкой медной трубки, свитой в спираль). В результате прохождения через капилляр давление хладагента понижается до 3...5 атм и он остывает, часть хладагента может при этом испариться.
После ТРВ смесь жидкого и газообразного хладагента с низким давлением и низкой температурой поступает в испаритель, который обдувается воздухом, находящимся внутри кузова. В испарителе хладагент полностью переходит в газообразное состояние, забирая у воздуха теплоту, в результате воздух в кузове охлаждается. Далее газообразный хладагент с низким давлением поступает на вход компрессора и весь цикл повторяется.
Этот процесс лежит в основе работы любого кондиционера и не зависит от его типа, модели или производителя.
10.2. Конструкция кондиционера
Кондиционер типа сплит-система (рисунок 10.2) разделен на два блока – наружный и внутренний, которые соединены между собой электрическим кабелем и медными трубами, по которым циркулирует хладагент. Благодаря такой конструкции наиболее шумная и громоздкая часть кондиционера,
содержащая компрессор, вынесена наружу автомобиля. Внутренний блок размещается непосредственно в обитаемом кузове.
Кондиционер снабжен пультом дистанционного управления с жидкокристаллическим дисплеем. С его помощью можно задавать желаемую температуру с точностью до 1 градуса, устанавливать таймер для
автоматического включения и выключения кондиционера в заданное время, регулировать направление воздушного потока и многое другое.
10.2.1. Наружный блок кондиционера
Наружный блок (рисунок 10.3) включает следующие узлы:

Рисунок 10.2 – Состав кондиционера типа сплит-системы:
1 – внутренний блок; 2 – наружный блок; 3 – пульт дистанционного управления
Компрессор – сжимает хладагент и поддерживает его движение по холодильному контуру. Бывает поршневого или спирального (scroll) типа.
Поршневые компрессоры дешевле, но менее надежны, чем спиральные, особенно в условиях низких температур окружающего воздуха.
Вентилятор – создает поток воздуха, обдувающего конденсатор.
Вентилятор имеет 2...3 фиксированных скорости вращения или же плавную регулировку.
Конденсатор – радиатор, в котором происходит охлаждение и конденсация хладагента. Продуваемый через конденсатор воздух, соответственно, нагревается.
Плату управления – устанавливается только на инверторных кондиционерах. В обычных моделях электроника размещается во внутреннем блоке, поскольку перепады температуры и влажности снижают надежность электронных компонентов.
Фильтр хладоагента – устанавливается перед входом компрессора и защищает его от медной крошки и других мелких частиц, которые могут попасть в систему при монтаже кондиционера.
Штуцерные соединения – к ним подключаются медные трубы, соединяющие наружный и внутренний блоки.
Защитную быстросъемную крышку – закрывает штуцерные соединения и клеммник, используемый для подключения электрических кабелей.
Четырехходовой клапан – устанавливается в реверсивных (тепло - холод) кондиционерах. В режиме обогрева этот клапан изменяет направление движения хладагента. При этом внутренний и наружный блок как бы меняются местами: внутренний блок работает на обогрев, а наружный – на охлаждение.

Рисунок 10.3 – Наружный блок кондиционера:
1 – компрессор; 2 – четырехходовой клапан; 3 – плата управления; 4 – вентилятор; 5 –
конденсатор; 6 – фильтр хладоагента; 7 – штуцерные соединения; 8 – защитная
быстросъемная крышка
10.2.2. Внутренний блок кондиционера
Внутренний блок (рисунок 10.4) включает следующие узлы:
Переднюю панель – представляет собой пластиковую решетку, через которую внутрь блока поступает воздух. Панель легко снимается для обслуживания кондиционера.
Испаритель – радиатор, в котором происходит нагрев холодного хладагента и его испарение. Продуваемый через радиатор воздух, соответственно, охлаждается.
Фильтр грубой очистки – представляет собой пластиковую сетку и предназначен для фильтрации крупной пыли и т.п.

Рисунок 10.4 – Внутренний блок кондиционера:
1 – передняя панель; 2 – фильтр грубой очистки; 3 – испаритель; 4 – горизонтальные
жалюзи; 5 – индикаторная панель; 6 – фильтр тонкой очистки; 7 – вентилятор;
8 – вертикальные жалюзи
Горизонтальные жалюзи – регулируют направление воздушного потока по вертикали. Эти жалюзи имеют электропривод и их положение может регулироваться с пульта дистанционного управления. Кроме того, жалюзи могут автоматически совершать колебательные движения для равномерного
распределения воздушного потока по помещению.
Индикаторную панель – на передней панели кондиционера установлены индикаторы (светодиоды), показывающие режим работы кондиционера и сигнализирующие о возможных неисправностях.
Фильтр тонкой очистки – бывает различных типов: угольный (удаляет неприятные запахи), электростатический (задерживает мелкую пыль) и т.п.
Наличие или отсутствие фильтров тонкой очистки никакого влияния на работу кондиционера не оказывает.
Вентилятор – имеет 3...4 скорости вращения.
Вертикальные жалюзи – служат для регулировки направления воздушного потока по горизонтали. Возможность регулировки – вручную или с пульта ДУ.
Поддон для конденсата (на рисунке не показан) – расположен под испарителем и служит для сбора конденсата (воды, образующейся на поверхности холодного испарителя). Из поддона вода выводится наружу через дренажный шланг.
Плату управления (на рисунке не показана) – обычно располагается с правой стороны внутреннего блока. На ней размещен блок электроники с центральным микропроцессором.
Штуцерные соединения (на рисунке не показаны) – расположены в нижней задней части внутреннего блока. К ним подключаются медные трубы, соединяющие наружный и внутренний блоки.
10.3. Причины выхода кондиционера из строя
10.3.1. Загрязнение фильтров внутреннего блока Эти фильтры представляют собой обычную мелкую сетку и расположены под передней панелью, через которую засасывается воздух. Они предназначены
для задержания пыли, находящейся в воздухе и защищают от нее не только внутренний объем кузова, но и радиатор внутреннего блока. По сути, кондиционер работает как пылесос, а фильтры играют роль пылесборника. Для очистки фильтров их необходимо промыть в теплой воде и просушить. Мыть
фильтры, как правило, необходимо один раз в две – три недели.
Если же фильтры долгое время не мыть, то в первую очередь уменьшится обдув радиатора внутреннего блока, как следствие, воздух в кузове будет хуже охлаждаться. Кроме этого нарушится режим работы холодильной системы, что может привести к обмерзанию медных трубопроводов. В этом случае, при
выключении кондиционера лед начнет таять, и из кондиционера будет капать вода. В дальнейшем, при сильно загрязненных фильтрах, возможно засорение при включении кондиционера в режим охлаждения конденсат (вода), образующийся во внутреннем блоке, не сможет течь по дренажной трубке наружу из-за ледяной пробки. В результате, через полчаса дренажной системы комками пыли и тогда вода из кондиционера потечет.
10.3.2. Утечка фреона
Второй по распространенности причиной выхода кондиционера из строя является нормируемая утечка хладагента. Нормируемая утечка (около 6...8 % в год) происходит всегда, даже при самом качественном монтаже – это неизбежное следствие соединения межблочного трубопровода путем
развальцовки. Для ее компенсации кондиционер необходимо дозаправлять хладагентом каждые 1,5...2 года. Если дозаправку не проводить более двух лет, то количество хладагента в системе упадет ниже допустимого уровня, что может привести к перегреву компрессора и заклиниванию.
Первые признаки уменьшения количества хладагента в системе – образование инея или льда на штуцерных соединениях наружного блока (в местах подсоединения медных трубок), а также недостаточное охлаждение воздуха в помещении (разность температур на входе и выходе внутреннего
блока должна составлять не менее 8...10°С). В этом случае необходимо выключить кондиционер и обратиться в сервисную службу для устранения неисправности.
10.3.3. Работа кондиционера в зимнее время
Необходимость в кондиционере, работающем круглый год может возникнуть в двух случаях.
Во-первых, когда требуется охлаждать помещение не только в летнее, но и в зимнее время, например, помещение с большим количеством тепловыделяющей техники, поскольку охлаждение такого помещения с помощью приточной вентиляции приведет к недопустимому уменьшению влажности воздуха.
Во-вторых, в случае обогрева с помощью кондиционера в зимнее время.
Однако такое использование кондиционера не всегда оправдано, так как при температуре наружного воздуха минус 20°С производительность (мощность) кондиционера падает в три раза по сравнению с номинальной. В этом случае после включения вода из внутреннего блока потечёт прямо в помещение.
Необходимо знать, что адаптированный к зимним условиям кондиционер имеет встроенное устройство подогрева картера компрессора и регулятор оборотов вентилятора наружного блока, а также «теплую» дренажную систему.
10.4. Правила эксплуатации кондиционеров
Чистка фильтров внутреннего блока должна производиться не реже одного раза в месяц.
Если кондиционер перестал нормально функционировать (из внутреннего блока капает вода, на медных трубках наросла ледяная «шуба», ухудшилось охлаждение воздуха в помещении, возникли потрескивания и другие посторонние звуки) необходимо выключить кондиционер и обратиться в
сервисную службу.
Не реже одного раза в два года (желательно раз в год, весной – перед началом сезона) необходимо проведение профилактических работ: проверка давления в системе и дозаправка хладагентом, проверка кондиционера во всех режимах работы (для выявления скрытых неисправностей), чистка внутреннего
и наружного блоков. Наружный блок при этом продувается струей сжатого воздуха с помощью компрессора.
Не включать кондиционер, если он не оборудован всесезонным блоком, при температуре наружного воздуха ниже 0°С.