Расположение компонентов RENAULT MIDLUM
Электронная система автоматического опережения ”IТС”
Размещение оборудования в кабине

- 7519 - Штепсельная розетка для диагностики
- 9203 - Вычислительное устройство“IТС”
- 9216 - Реле аварийной защиты “ITC”
- 9263 - Контрольная сигнальная лампа и тест дефектов “ITC”
Размещение оборудования на двигателе “МЮВ 06.02.26”

- 7362 - Датчик температуры в контуре охлаждения двигателя
- 8261 - Датчик скорости вращения двигателя
- 8285 - Датчик давления наддувочного воздуха
- 8286 - Датчик температуры наддувочного воздуха
- 9215 - Электроклапан “ITC”
- 9262 - Датчик режима ТНВД
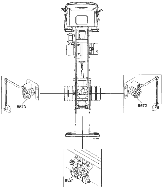
Пневмо-электронная подвеска
Размещение оборудования в кабине

- 7519 - Штепсельная розетка для диагностики
- 8502 - Вычислительное устройство подвески
- 8522 - Контрольная лампа подвески
- 8523 - Аварийная контрольная лампа подвески
- 8560 - Пульт дистанционного управления
Размещение оборудования на шасси

- 8524 - Блок электроклапанов задней подвески
- 8572 - Задний правый датчик уровня подвески
- 8573 - Задний левый датчик уровня подвески
Оборудование “ABS”
Размещение оборудования в кабине

- 7519 - Штепсельная розетка для диагностики
- 8000 - Вычислительное устройство “ABS” (АБС )
- 8011 - Контрольная лампа системы ”АБС”
Размещение оборудования на шасси

- 8014 - Электрокпапан системы АБС передний левый
- 8015 - Электроклапан системы АБС передний правый
- 8016 - Электроклапан системы АБС задний левый
- 8017 - Электроклапан системы АБС задний правый
- 8061 - Датчик системы АБС передний левый
- 8062 - Датчик системы АБС передний правый
- 8063 - Датчик системы АБС задний левый
- 8064 - Датчик системы АБС задний правый
Ограничитель скорости
Размещение оборудования в кабине

- 5201 - Вычислительное устройство ограничителя скорости
- 7519 - Штепсельная розетка для диагностики
- 7523 - “Аварийная” сигнальная лампа и тест ограничителя скорости
Розетки прицепов

