Функциональное описание системы ALA MAN
Система рулевого управления на основе силы сцепления ALA (Adhäsionsgelenkte Lenkanlage) обеспечивает самостоятельный ход заднего или переднего поддерживающих мостов.
На высоких скоростях и при движении задним ходом управление мостом пневматически блокируется. Датчик угла поворота заднего или переднего поддерживающего моста передает угол поворота в блок управления. Эта информация требуется для системы ESP.
Структура системы ALA

- (1) Блок управления (A805)
- (2) Датчик угла поворота заднего/переднего поддерживающего моста (B284)
- (3) Центрирующие пружинные энергоаккумуляторы
- (4) Пневмоаккумулятор
- (5) Электромагнитный клапан заднего поддерживающего моста (Y325)
- (6) Блок управления ESP
- (7) Блок управления EBS
- (8) Блок управления EDC
- (9) Подключение системы управления к шине данных CAN трансмиссии
- (10) Приборная панель
Установленный на мосту датчик угла поворота (2) регистрирует угол поворота заднего или переднего поддерживающего моста. Определенный угол поворота передается по шине данных CAN трансмиссии (9) в систему ESP (6).
Блок управления EHLA (1) с помощью электромагнитного клапана (5) и накопленного давления воздуха в сосуде (4) включает центрирующие пружинные энергоаккумуляторы (3), которые освобождают мост для самостоятельного сцепления. Мост центрируется без использования энергии (давления). Снабжение сжатым воздухом осуществляется с помощью компрессора.
Значение скорости автомобиля передается через шину данных CAN трансмиссии (9) в дублирующем режиме. Сигналы поступают от спидометра и системы EBS. Неисправность системы отображается на приборной панели (10).
Блок управления EHLA (A805) у ALA
Примечание. Блок управления EHLA при наличии функции ALA не имеет К-провода. Блоки управления с диагностикой KWP-on-CAN используют К-провод FFR. FFR открывает через CAN межсетевой шлюз к блоку управления ALA. Настройка/диагностика осуществляются с помощью автомобильного компьютера (A403).

Штекерная разводка контактов — автобусы с TEPS
Штекер Х1

Штекер Х2

Штекер X3

Датчик угла поворота заднего/переднего поддерживающего моста (B284) у ALA
Датчик угла поворота заднего/переднего поддерживающего моста передает в блок управления EHLA (A805) фактическое значение управляемого заднего/переднего поддерживающего моста.
Примечание: Монтажное положение (электрическое среднее положение)

- (1) Среднее положение (положение 0°)

- 1 Паз для определения монтажного положения
- 2 Угол поворота и магнитный узел согласованы между собой. Обе детали должны всегда иметь одинаковый серийный номер
- 3 Определение направления вращения
Характеристика датчика

- (1) Напряжение датчика в вольтах
- (2) Угол поворота в градусах
- (UA) Напряжение датчика, сигнал A
- (UB) Напряжение датчика, сигнал B
Напряжения датчика в положении прямолинейного движения составляют 2,5 ± 0,01 В. Два напряжения датчика сравниваются друг с другом и контролируются в дублирующем режиме.
Штекерная разводка контактов

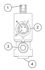
Электромагнитный клапан заднего поддерживающего моста (блокировка) (Y325)
Блок управления EHLA с помощью электромагнитного клапана заднего поддерживающего моста и накопленного давления воздуха в сосуде включает центрирующие пружинные энергоаккумуляторы, которые освобождают мост для самостоятельного сцепления. Мост центрируется без использования энергии.

- (1) Подача энергии из ресивера
- (2) Электрическое подключение
- (3) Отвод энергии для рабочей мощности
- (4) Выпуск воздуха
Штекерная разводка контактов
