Все коды неисправностей ATEGO 970-976 с описаниями
- На этой странице мы предоставили описания к первыму коду неисправностей системы MR...
Все коды неисправностей с полными описаниями - доступны пользователям
в 71 обновлении
(полезно тем, кто диагностирует мультимарочниками)
MR
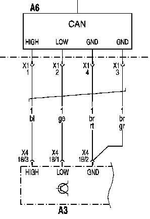
- 10100 Связь по шине CAN-H с FR система управления движением отсутствует

- А6: Блок управления МЯ система управления двигателем
- АЗ: Блок управления система FR управления движением
- XI, Х2.2, Х4: Штекерные соединения
Указание:
- Провод А6 XI 16/1 - АЗ Х4 18/3 проверить на при необходимости, отремонтировать или заменить.
- Очистить память неисправностей в блоке управления МR система управления двигателем.
- Очистить память неисправностей в блоке управления система управления движением.
- 10101 Связь по шине CAN-L с FR система управления движением отсутствует
- 10102 Неверные данные в блоке управления FR система управления движением
- 10104 Связь по шине CAN с FR система управления движением отсутствует
- 10149 Ошибка параметрирования CAN
- 10204 Провод CAN-High к модулю SCR на раме (Евро 4 или Евро 5) неисправен.
- 10308 Датчик положения коленвала
- 10309 Датчик положения коленвала
- 10310 Датчик положения коленвала: сигнал слишком слабый
- 10311 Датчик положения коленвала: неправильная синхронизация сигналов коленвала и распредвала
- 10312 Датчик положения коленвала: сигнал отсутствует
- 10313 Датчик положения коленвала: неправильная полярность.
- 10408 Датчик положения распредвала
- 10409 Датчик положения распредвала
- 10412 Датчик положения распредвала: нет сигнала
- 10413 Датчик положения распредвала: неправильная полярность 10530 Повышенное число оборотов
- 10612 Сигнал 'Число оборотов вентилятора' отсутствует
- 10631 Число оборотов вентилятора слишком мало.
- 10722 Температура после катализатора слишком высока.
- 10782 Катализатор отсутствует.
- 10788 Температура перед катализатором слишком высока (пороговое значение 1 превышено).
- 10789 Температура перед катализатором слишком высока (пороговое значение 2 превышено).
- 00797 Температура перед катализатором слишком высока (сниженная мощность двигателя).
- 10815 Датчик температуры перед катализатором имеет
- 10816 Датчик температуры перед катализатором имеет
- 10915 Датчик температуры после катализатора имеет
- 10916 Датчик температуры после катализатора имеет
- 01015 Значение датчика температуры масла увеличилось выше диапазона измерения
- 01016 Значение датчика температуры масла снизилось ниже диапазона измерения
- 11115 Датчик температуры топлива: значение выше диапазона измерений
- 11116 Датчик температуры топлива: значение ниже диапазона измерений
- 11215 Комбинированный датчик 'Давление и температура нагнетаемого воздуха': значение датчика температуры увеличилось выше диапазона измерения
- 11216 Комбинированный датчик 'Давление и температура нагнетаемого воздуха': значение датчика температуры снизилось ниже диапазона измерения
- 01315 Датчик атмосферного давления: значение выше диапазона измерений
- 01316 Датчик атмосферного давления: значение ниже диапазона измерений
- 11415 Комбинированный датчик 'Давление и температура нагнетаемого воздуха': значение датчика давления увеличилось выше диапазона измерения
- 11416 Комбинированный датчик 'Давление и температура нагнетаемого воздуха': значение датчика давления снизилось ниже диапазона измерения
- 11417 Комбинированный датчик 'Давление и температура нагнетаемого воздуха': измеренное значение датчика давления недостоверно
- 11515 Датчик температуры охлаждающей жидкости: значение выше
- диапазона измерений
- 11516 Датчик температуры охлаждающей жидкости: значение ниже
- диапазона измерений
- 11615 Датчик давления масла: значение выше диапазона измерений
- 11616 Датчик давления масла: значение ниже диапазона измерений
- 11617 Датчик давления масла, измеренное значение недостоверно
- 11715 Kombieingang: Meßbereich überschritten
- 11716 Kombieingang: Meßbereich unterschritten
- 11717 Kombieingang: Signal unplausibel
- 11818 Нагнетательный контур неисправен
- 11820 Давление нагнетаемого воздуха слишком велико
- 01822 Температура нагнетаемого воздуха превышена
- 11873 Турбонагнетатель - Нарушение равномерности скорости.
- 01874 Отклонение заданной величины регулирования давления нагнетаемого воздуха слишком велико.
- 11875 Отклонение давления нагнетания слишком большое.
- 11876 Давление нагнетаемого воздуха для режима торможения не достигается.
- 11878 Нагнетательный контур неисправен
- 11917 Измеренное значение датчика давления топлива недостоверно.
- 12017 Измеренное значение датчика давления масла недостоверно.
- 12020 Давление масла слишком низкое.
- 02021 Давление масла слишком низкое.
- 02026 Уровень масла в двигателе слишком высок или слишком низок.
- 02122 Температура охлаждающей жидкости слишком велика.
- 12219 Клемма 15 блока управления MR или FR имеет
- 12319 Клемма 50 блока управления MR или FR имеет
- 12415 Дифференциальный датчик давления топлива имеет
- 12416 Дифференциальный датчик давления топлива имеет
- 12509 Датчик уровня масла
- 12515 Датчик уровня масла +: значение выше диапазона измерении
- 12516 Датчик уровня масла -: значение ниже диапазона измерении
- 12517 Датчик уровня масла : измеренное значение недостоверно
- 12612 Датчик числа оборотов турбонагнетателя имеет
- 12615 Датчик числа оборотов турбонагнетателя имеет
- 12616 Датчик числа оборотов турбонагнетателя имеет
- 12712 Сигнал числа оборотов от генератора отсутствует (таймаут).
- 12804 Датчик NOx имеет нарушение связи.
- 12816 Датчик NOx имеет
- 12817 Неизвестный код неисправности Неизвестный тип неисправности:
- 12971 Слишком высокий выброс окислов азота (пороговое значение 1 превышено)
- 12972 Слишком высокий выброс окислов азота (пороговое значение 2 превышено)
- 13015 Датчик давления топлива: значение выше диапазона измерений
- 13016 Датчик давления топлива: значение ниже диапазона измерений
- 13115 Датчик температуры нагнетаемого воздуха 2 имеет
- 13116 Датчик температуры нагнетаемого воздуха 2 имеет
- 13215 Датчик температуры рециркулирующих ОГ имеет
- 13216 Датчик температуры рециркулирующих ОГ имеет
- 13332 Значение датчика температуры рециркулирующих ОГ вне заданного диапазона
- 13415 Датчик влажности воздуха имеет
- 13416 Датчик влажности воздуха имеет
- 13515 Датчик температуры воздуха имеет
- 13516 Датчик температуры воздуха имеет
- /13604 Сообщение по CAN 'Температура воздуха' отсутствует.
- 13617 Измеренное значение датчика температуры окружающего воздуха недостоверно.
- 13706 Переключающий клапан сжатого воздуха SCR имеет
- 13707 Переключающий клапан сжатого воздуха SCR имеет
- 13709 Переключающий клапан сжатого воздуха SCR имеет
- 13817 Измеренные значения датчиков температуры на катализаторе недостоверны.
- 13906 Насос AdBlue имеет
- 13907 Насос AdBlue имеет
- 13909 Насос AdBlue имеет
- 14024 Внутренняя ошибка в блоке управления
- 14034 Внутренняя ошибка в блоке управления
- 14035 Внутренняя ошибка в блоке управления
- 14036 Внутренняя ошибка в блоке управления
- 04037 Внутренняя ошибка в блоке управления
- 14038 Внутренняя ошибка в блоке управления
- 14039 Управление^тартером (выходной каскад) неисправно
- 04040 Внутренняя ошибка в блоке управления
- 14041 Внутренняя ошибка в блоке управления
- 14047 Внутренняя ошибка в блоке управления
- 04048 Внутренняя ошибка в блоке управления
- 14049 /Недействительное параметрирование пропорциональных клапанов
- 14050 Внутренняя ошибка в блоке управления
- 04051 Внутренняя ошибка в блоке управления
- 14052 Внутренняя ошибка в блоке управления
- 24053 Внутренняя ошибка в блоке управления
- 14054 Внутренняя ошибка в блоке управления
- 04056 Внутренняя ошибка в блоке управления
- 14058 С пакетом данных в блоке управления MR система управления двигателем (PLD) были проведены манипуляции.
- 14092 Внутренняя ошибка в блоке управления
- 14149 Моторный тормоз параметрирован неправильно.
- 14200 Пропорциональный клапан 5 имеет
- 14201 Пропорциональный клапан 5 имеет
- 14202 Пропорциональный клапан 7 имеет
- 14203 Пропорциональный клапан 7 имеет
- 14204 Пропорциональный клапан 7 имеет
- 14205 Датчик положения дроссельной заслонки имеет
- 14206 Датчик положения дроссельной заслонки имеет
- 14207 Датчик температуры перед дизельным окислительным катализатором имеет
- 14208 Датчик температуры перед дизельным окислительным катализатором имеет
- 14209 Датчик температуры после дизельного окислительного катализатора имеет
- 14210 Датчик температуры после дизельного окислительного катализатора имеет
- 14211 Датчик дифференциального давления перед сажевым фильтром имеет
- 14212 Датчик дифференциального давления перед сажевым фильтром имеет
- 14213 Датчик дифференциального давления после сажевого фильтра имеет
- 14214 Датчик дифференциального давления после сажевого фильтра имеет
- 14217 Отклонение регулировки дроссельной заслонки слишком велика
- 14218 Начальная установка дроссельной заслонки не удалась.
- 14219 Диффузор в дозаторе AdBlue засорен.
- 14221 Подогрев диффузора имеет
- 14222 Подогрев диффузора имеет
- 14223 Подогрев диффузора имеет
- 14225 Пропорциональный клапан 1 ряда имеет
- 14226 Пропорциональный клапан 1 ряда имеет
- 14227 Внутренняя неисправность блока управления
- 14228 SCRT-Komponente nicht vorhanden.
- 14229 Messwert der SCRT-Temperatursensoren (Paar A) ist unplausibel.
- 14230 Messwert der SCRT-Temperatursensoren (Paar B) ist unplausibel.
- 14231 Сажевый фильтр не установлен.
- 14232 Измеренное значение датчика дифференциального давления перед сажевым фильтром недостоверно.
- 14233 Измеренное значение датчика дифференциального давления после сажевого фильтра недостоверно.
- 14234 Слишком высокий выброс окислов азота по причине неизвестной причины (пороговое значение 2 превышено)
- 14235 Слишком высокий выброс окислов азота из-за низкого качества AdB[ue
- 14236 Слишком высокий выброс окислов азота из-за недостаточного дозирования AdBlue
- 14237 Измеренное значение датчика NOx недостоверно.
- 14238 Температура в сажевом фильтре слишком низкая.
- 24805 ТНВД цилиндра 1 ряда имеет
- 24806 Обратная связь ТНВД цилиндров 1 ряда имеет
- 24905 ТНВД цилиндра 2 ряда имеет
- 24906 Обратная связь ТНВД цилиндров 2 ряда имеет
- 15026 ТНВД цилиндра 1: отсутствует открытие клапана
- 15027 ТНВД цилиндра 1: неисправность активации 25028 ТНВД цилиндра 1^замыкание
- 15126 ТНВД цилиндра 2: отсутствует открытие клапана
- 15127 ТНВД цилиндра 2: неисправность активации 25128 ТНВД цилиндра 2^замыкание
- 15226 ТНВД цилиндра 3: отсутствует открытие клапана
- 15227 ТНВД цилиндра З: неисправность активации 25228 ТНВД цилиндра З^замыкание
- 15326 ТНВД цилиндра 4: отсутствует открытие клапана
- 15327 ТНВД цилиндра 4: неисправность активации 25328 ТНВД цилиндра 4: замыкание
- 15426 ТНВД цилиндра 5: отсутствует открытие клапана
- 15427 ТНВД цилиндра 5: неисправность активации 25428 ТНВД цилиндра 5^замыкание
- 15526 ТНВД цилиндра 6: отсутствует открытие клапана
- 15527 ТНВД цилиндра б: неисправность активации 25528 ТНВД цилиндра 6: замыкание
- 15626 ТНВД цилиндра 7: отсутствует открытие клапана
- 15627 ТНВД цилиндра 7: неисправность активации 25628 ТНВД цилиндра 7^замыкание
- 15726 ТНВД цилиндра 8: отсутствует открытие клапана
- 15727 ТНВД цилиндра 8: неисправность активации 25728 ТНВД цилиндра 8: замыкание
- 15806 Подогрев трубопровода AdBlue имеет
- 15807 Подогрев трубопровода AdBlue имеет
- 15809 Подогрев трубопровода AdBlue имеет
- 15869 Подогрев трубопровода AdBlue неисправен.
- 15906 Электромагнитный клапан подогрева бака AdBlue имеет
- 15907 Электромагнитный клапан подогрева бака AdBlue имеет
- 15909 Электромагнитный клапан подогрева бака AdBlue имеет
- 15969 Клапан подогрева бака AdBlue неисправен.
- 16015 Датчик уровня бака AdBlue имеет
- 16016 Датчик уровня бака AdBlue имеет
- 1б029 Уровень заполнения бака AdBlue слишком мал.
- 16115 Датчик температуры бака AdBlue имеет
- 16116 Датчик температуры бака AdBlue имеет
- 16169 Датчик/Уровень заполнения/температура бака AdBlue' неисправен.
- 16293 Внутренняя неисправность в модуле SCR на раме
- 16327 Активация лампы OBD нарушена.
- 16409 Нагревательный фланец имеет
- 16432 Неисправность подогреваемого фланца
- 06506 Диагностический провод маслоотделителя имеет
- 06564 Диагностический провод маслоотделителя имеет
- 16678 Клапан рециркуляции ОГ неисправен.
- 16679 Разница температур между выхлопными газами и охлаждающей жидкостью недостоверна.
- 16720 Давление AdBlue слишком велика
- 16721 Давление AdBlue слишком мало.
- 16770 Падение давления AdBlue при выбеге слишком мало.
- 16777 Потребление тока насосом AdBlue слишком велика
- 16820 Давление сжатого воздуха SCR слишком велика
- 16821 Давление сжатого воздуха SCR слишком мало.
- 16883 Подача воздуха системы сжатого воздуха SCR нарушена.
- 16949 Ошибка параметрирования
- 16994 Система нейтрализации ОГ отключена и диагностическая программа активна
- 16995 Система нейтрализации ОГ отключена и диагностическая программа активна
- 17006 Пропорциональный клапан 1: имеет
- 17007 Пропорциональный клапан 1: имеет
- 17009 Пропорциональный клапан 1: имеет
- 17106 Электромагнитный клапан 3: ступень вентилятора 1 имеет
- 17107 Пропорциональный клапан 3: имеет
- 17109 Электромагнитный клапан 3: ступень вентилятора 1 имеет
- 17112 Электромагнитный клапан 3: привод вентилятора, нет числа оборотов вентилятора
- 17206 Электромагнитный клапан 4: ступень вентилятора 2 имеет
- 17207 Пропорциональный клапан 4: имеет
- 17209 Электромагнитный клапан 4: ступень вентилятора 2 имеет
- 17305 Электромагнитный клапан 2: декомпрессионный тормоз имеет
- 17306 Электромагнитный клапан 2: декомпрессионный тормоз имеет
- 17307 Пропорциональный клапан 2: имеет
- 17309 Пропорциональный клапан 2: имеет
- 17317 Электромагнитный клапан 2: клапан декомпрессионного тормоза имеет
- 17405 Пропорциональный клапан 5: имеет
- 17408 Пропорциональный клапан 5: имеет
- 07542 Повышенное напряжение аккумуляторной батареи
- 07543 Пониженное напряжение аккумуляторной батареи
- 17606 Пропорциональный клапан б имеет
- 17609 Пропорциональный клапан б: имеет
- 17705 Пропорциональный клапан 1 ряда имеет
- 17708 Пропорциональный клапан 1 ряда имеет
- 17805 Пропорциональный клапан 2 ряда имеет
- 17808 Пропорциональный клапан 2 ряда имеет
- 17905 Рад пропорциональных клапанов 'Модуль SCR на раме' имеет
- 17908 Рад пропорциональных клапанов 'Модуль SCR на раме' имеет
- 18005 Клемма 50 на реле управления
- 18008 Клемма 50 на реле управления
- 18009 Клемма 50 на реле управления
- 18033 Неисправно реле управления
- 18039 Управление^тартером (выходной каскад) неисправно
- 18086 Зацепление стартера отсутствует
- 18106 Блокирующий клапан сжатого воздуха SCR имеет
- 18107 Блокирующий клапан сжатого воздуха SCR имеет
- 18109 Блокирующий клапан сжатого воздуха SCR имеет
- 18206 Дозирующий клапан AdBlue имеет
- 18207 Дозирующий клапан AdBlue имеет
- 18209 Дозирующий клапан AdBlue имеет
- 18315 Датчик температуры AdBlue имеет
- 18316 Датчик температуры AdBlue имеет
- 18415 Датчик давления AdBlue имеет
- 18416 Датчик давления AdBlue имеет
- 18417 Измеренное значение датчика давления AdBlue недостоверно.
- 18515 Датчик давления сжатого воздуха SCR имеет
- 18516 Датчик давления сжатого воздуха SCR имеет
- 18517 Измеренное значение датчика давления сжатого воздуха SCR недостоверно.
- 08690 Текущий расход AdBlue слишком высок.
- 08691 Текущий расход AdBlue слишком мал.
- 08790 Средний расход AdBlue слишком высок.
- 08791 Средний расход AdBlue слишком мал.
- 18896 Давление AdBlue недостоверно.
- 18906 Блокирующий клапан сжатого воздуха SCR имеет
- 18907 Блокирующий клапан сжатого воздуха SCR имеет
- 18909 Блокирующий клапан сжатого воздуха SCR имеет
- 09044 ТНВД 1 цилиндра: регулировка плавности работы двигателя на холостом ходу в зоне ограничения
- 09045 ТНВД 1 цилиндра: коррекция по отдельным цилиндрам в зоне ограничения
- 09144 ТНВД 2 цилиндра: регулировка плавности работы двигателя на олостом ходу в зоне ограничения
- 09145 ТНВД 2 цилиндра: коррекция по отдельным цилиндрам в зоне ограничения
- 09244 ТНВД 3 цилиндра: регулировка плавности работы двигателя на холостом ходу в зоне ограничения
- 09245 ТНВД 3 цилиндра: коррекция по отдельным цилиндрам в зоне ограничения
- 09344 ТНВД 4 цилиндра: регулировка плавности работы двигателя на холостом ходу в зоне ограничения
- 09345 ТНВД 4 цилиндра: коррекция по отдельным цилиндрам в зоне ограничения
- 09444 ТНВД 5 цилиндра: регулировка плавности работы двигателя на холостом ходу в зоне ограничения
- 09445 ТНВД 5 цилиндра: коррекция по отдельным цилиндрам в зоне ограничения
- 09544 ТНВД 6 цилиндра: регулировка плавности работы двигателя на холостом ходу в зоне ограничения
- 09545 ТНВД 6 цилиндра: коррекция по отдельным цилиндрам в зоне ограничения
- 09644 ТНВД 7 цилиндра: регулировка плавности работы двигателя на холостом ходу в зоне ограничения
- 09645 ТНВД 7 цилиндра: коррекция по отдельным цилиндрам в зоне ограничения
- 09744 ТНВД 8 цилиндра: регулировка плавности работы двигателя на холостом ходу в зоне ограничения
- 09745 ТНВД 8 цилиндра: коррекция по отдельным цилиндрам в зоне ограничения
- 09846 Сбой коррекции по отдельным цилиндрам
- 09960 Слишком много ключей
- 09961 Активирована защитная функция иммобилайзера, блок управления MR система управления двигателем заблокирован
- 09962 Иммобилайзер в MR система управления двигателем активирован
- 09963 На шине данных CAN двигателя отсутствует код транспондера
- 09964 На клемме 50 отсутствует код транспондера
- 09965 Неправильный транспондерный ключ
INS
ABS
АGS
AGN
ALISON
BS
РТСО
EHZ
EHZ
FR
НPS
КSA
MTCO
NR
PSM
SRS
WS
ZНЕ
ZV