Сервисная информация по TEBS G2 Knorr - Bremse

Электронная тормозная система прицепа - TEBS G2:

TEBS G2 - Применение:
Июль 2007
2S/2M Низкоуровневое:
Для трехосных полуприцепов 2S/2M и 4S/2M:
Для полуприцепов и прицепов с центральными осями до 3-х
Апрель 2009 4S/3M:
Для полуприцепов и прицепов с осями до 5 3х модуляторный:
Осевой модулятор – для TEBS
Электронный модулятор - NEW
Диапазон рабочего напряжения: от 8 до 32V
EBS прицепа совместима с со всеми имеющимися вариантами тягачей.
Электронная тормозная система прицепа - TEBS G2:

Электрическое подключение:

Встраиваемость: без требований Встраиваемость: с учетом, что все подсоединения снизу
Сервисный доступ: Сервисный доступ:
иногда визуально неудобный визуально удобный
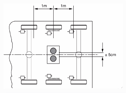
Установочное положение (стандартная)

Установочное положение
Расстояние от борта:
Размер “A”: минимум 50 мм
Расстояние от оси:
Размер “B”: 25.5 мм

Допустимые отклонения

Установочные углы модуля TEBS G2 с RSP


Требования
Примечание:
Подъемные оси и клапан подъема/опускания кузова должен управляться модулем TEBS G2!
Если необходимо, можно развернуть модуль на 180º с последующим параметрированием или соответствующим электрическим монтажом.
RSP отрегулировано согласно геометрии транспортного средства.

Модуль TEBS G2

Внешний вид модуля сверху

Внешний вид модуля снизу

Пневматическое подключение:

Электрические подключения:

Датчики вращения колес (WSS)
Система с 2-мя датчиками:
S-C, S-D
Система с 4-мя датчиками :
S-C, S-D, S-E, S-F
S-E и S-F могут быть использованы как входы в системе с 2-мя датчиками вращения колес.

Штекер питания
Постоянное питание по ISO 7638
Штекер «IN-OUT»
- Входы или выходы
- Питание от цепи стоп-сигналов
- Внешний датчик нагрузки
- TI CAN-шина

Питание

Розетка ISO7638 + CAN


Обозначение
- BK black/черный
- BN brown/коричневый
- GN green/зеленый
- RD red/красный
- WH white/белый
- YE yellow/желтый
(Цвет кабелей действителен для оригинальных KNORR-BREMSE)
Электрические подключения
Подключение «In-Out»


Пневматические подключения

Тормозные параметры:
TEBS G2 по функциональным характеристикам одинаков с TEBS4 со следующими дополнениями:
Различия давлений могут быть определены относительно тормозных значений – пневматических и CAN.

Нижняя граница компенсации давления:
Используется для регулирования характеристик износа тормозов при низких значениях давления

Верхняя граница компенсации давления:
Используется для регулирования тормозных характеристик с целью изменения коридора совместимости:

Применение:

Дополнительные функции – Traction Help:
TEBS4:
Эта функция подъемной оси сконфигурирована и управляется только если она является передней.
TEBS G2:
Данная функция будет работать на всех осях даже если полуприцеп имеет увеличенную колесную базу:
например: При выборе функции как результат будет поднята передняя ось или опущена задняя, или обе комбинации вместе.
Дополнительные функции – Помощь в маневрировании:
TEBS4:
Помощь в маневрировании недоступно кроме случая когда используется усилие на подъемную ось
TEBS G2:
Помощь в маневрировании возможно при всех вариантах использования подъемной оси и даже при увеличенной колесной базе:
например: При выборе функции как результат будет поднята передняя ось или опущена задняя, или обе комбинации вместе.