См. также:
Компоненты газовых ЯМЗ-53404, ЯМЗ-53604,
их модификаций и комплектаций
СОДЕРЖАНИЕ
УСТРОЙСТВО ЭЛЕКТРОННОЙ СИСТЕМЫ УПРАВЛЕНИЯ ДВИГАТЕЛЕМ (ЭСУД)
ОБЩЕЕ ОПИСАНИЕ
Общее устройство и принцип работы ЭСУД
Принцип работы ЭСУД
ЭЛЕКТРОННЫЙ БЛОК УПРАВЛЕНИЯ (ЭБУ)
Устройство и характеристика
ДАТЧИКИ КОНТРОЛЯ ПАРАМЕТРОВ РАБОТЫ ДВИГАТЕЛЯ
Место установки датчиков
Отказы датчиков
Схема подключения датчиков
Датчики частоты вращения двигателя DG6
Устройство и принцип работы датчика частоты вращения двигателя
Датчик частоты вращения коленчатого вала
Характеристика датчика
Конфигурация разъёма
Датчик частоты вращения распределительного вала
Конфигурация разъёма
Отказ датчиков частоты вращения двигателя
Датчик давления и температуры наддувочного воздуха
Характеристика датчика
Конфигурация разъёма
Датчик давления и температуры масла
Характеристика датчика
Конфигурация разъёма
Датчик температуры охлаждающей жидкости
Характеристика датчика
Конфигурация разъёма
Регулятор давления
Характеристика регулятора давления
Конфигурация разъёма
Датчик температуры и давления газа в рампе
Характеристика датчика
Конфигурация разъёма
Форсунка CNG с электромагнитным клапаном
Характеристика форсунки
Конфигурация разъёма
Катушка зажигания
Характеристика катушки
Конфигурация разъёма
Датчик детонации
Характеристика датчика детонации
Конфигурация разъёма
Отказ датчика детонации
Система рециркуляции отработавших газов (РОГ)
Датчик положения заслонки системы РОГ
Характеристика датчика положения заслонки EGR
Конфигурация разъёма
Клапан заслонки EGR
Характеристика клапана заслонки EGR
Конфигурация разъёма
Отказ клапана заслонки EGR
Датчик расхода газов системы EGR (Датчик дифференциального давления ОГ системы РОГ)
Характеристика датчика дифференциального давления ОГ системы РОГ
Конфигурация разъёма
Клапан управления перепуском отработавших газов на турбине ТКР (EUV)
Характеристика Клапанa управления перепуском отработавших газов на турбине ТКР
Конфигурация разъёма
Датчик температуры отработавших газов
Характеристика датчика температуры отработавших газов
Конфигурация разъёма
Датчик кислорода
Характеристика датчика кислорода
Конфигурация разъёма
Отказ датчика кислорода
Датчик температуры воздуха
Характеристика датчика температуры воздуха
Конфигурация разъёма
Датчик температуры окружающего воздуха
Конфигурация разъёма
Датчик давления воздуха
Характеристика датчика давления воздуха
Конфигурация разъёма
Клапан перепуска воздуха на компрессоре ТКР
Характеристика Клапанa перепуска воздуха на компрессоре ТКР
Конфигурация разъёма
Дроссельная заслонка с датчиком положения
Конфигурация разъёма
Датчик положения педали акселератора (электронная педаль)
Устройство и принцип действия
Характеристика электронной педали
Конфигурация разъёма
ДАТЧИКИ, ОБЕСПЕЧИВАЮЩИЕ БЕЗОПАСНОСТЬ ДВИЖЕНИЯ ТС
Датчик положения педали тормоза
Отказ датчика положения педали тормоза
Датчик положения педали сцепления (для механической КП)
Отказ датчика положения педали сцепления
Кнопка моторного тормоза
Отказ кнопки моторного тормоза
УСТРОЙСТВО ЭЛЕКТРОННОЙ СИСТЕМЫ УПРАВЛЕНИЯ ДВИГАТЕЛЕМ (ЭСУД)
ОБЩЕЕ ОПИСАНИЕ
ВНИМАНИЕ! ЛЮБЫЕ ВМЕШАТЕЛЬСТВА В РАБОТУ ЭЛЕКТРОННОЙ СИСТЕМЫ УПРАВЛЕНИЯ ИЛИ ЭЛЕКТРОПРОВОДКИ СОПРЯЖЕНЫ С ОПАСНОСТЬЮ И МОГУТ ПРИВЕСТИ К ТРАВМАМ (ВПЛОТЬ ДО СМЕРТЕЛЬНЫХ) И/ИЛИ К ПОВРЕЖДЕНИЯМ ДВИГАТЕЛЯ.
ПРИ ПРОВЕДЕНИИ ВОССТАНОВИТЕЛЬНЫХ РАБОТ С ЭСУД НЕОБХОДИМО ОТКЛЮЧИТЬ ЭЛЕКТРОПИТАНИЕ, ПОВЕРНУВ КЛЮЧ В ВЫКЛЮЧАТЕЛЕ ПРИБОРОВ И СТАРТЕРА В ПОЛОЖЕНИЕ «0» И ВЫКЛЮЧИВ «МАССУ».
ВЫКЛЮЧАТЕЛЬ «МАССЫ» РАЗРЕШАЕТСЯ ОТКЛЮЧАТЬ НЕ РАНЕЕ, ЧЕМ ЧЕРЕЗ 30 С ПОСЛЕ ПОЛНОЙ ОСТАНОВКИ ДВИГАТЕЛЯ. В ТЕЧЕНИЕ ЭТОГО ВРЕМЕНИ ЭЛЕКТРОННЫЙ БЛОК УПРАВЛЕНИЯ ПРОВОДИТ ДИАГНОСТИКУ НЕКОТОРЫХ ЭЛЕМЕНТОВ ЭСУД И СОХРАНЯЕТ ЕЕ РЕЗУЛЬТАТЫ В ПАМЯТИ
Главными задачами для разработчиков двигателей являются снижение расхода топлива и содержания вредных веществ (NOx - оксиды азота, СО - окись углерода, СН - углеводороды, «твердые» частицы) в отработавших газах.
Решение этих задач в современных условиях возложено на электронную систему управления двигателем (ЭСУД или EDC – Electronic Diesel Control), которая позволяет точно и быстро, учитывая множество постоянно меняющихся внешних условий, регулировать параметры процесса подачи топлива, обеспечивая выполнение многочисленных требований, стоящих перед современными двигателями.
С этой целью в составе ЭСУД имеются датчики, электронный блок управления (ЭБУ) и исполнительные механизмы. Получая от датчиков сигналы, ЭБУ анализирует их и в соответствии с заложенными в его память базовыми параметрами, вырабатывает команды на срабатывание различных исполнительных устройств, осуществляя тем самым корректировку рабочих параметров двигателя и обеспечивая максимальную эффективность его отдачи при минимальном расходе топлива. Иначе говоря, ЭБУ определяет момент, когда требуется подать нужное количество топлива в цилиндры, а также момент, когда следует подать искру.
Исполнительные механизмы служат для доставки в цилиндры топливовоздушной смеси и формирования искры.
Наряду с этой существует другая важная задача, решение которой лежит на ЭБУ.
Этой задачей является самодиагностика системы управления. Система производит проверку датчиков и исполнительных устройств, контролирует эксплуатационные циклы транспортного средства, обеспечивает возможность замораживания параметров и очистки блока памяти. Все отказы и нарушения функционирования компонентов системы фиксируются в электронной памяти ЭБУ в виде специальных цифровых кодов. Считывание записанных в память ЭБУ кодов неисправностей, полученных в результате самодиагностики, проводится при помощи специального сканера, подключаемого к 16-контактному
диагностическому разъему.
Электронная система двигателя может интегрироваться в единую бортовую сеть управления автомобилем, что позволяет, например, снижать крутящий момент двигателя при переключении передач в автоматической коробке или изменять его при пробуксовке колес, отключать устройство блокировки движения и т.д. Она соответствует всем требованиям протоколов диагностики OBD II (On-Board Diagnostic– система бортовой диагностики) и EOBD (Европейский протокол OBD для получения информации о неисправностях двигателя, связанных с отработавшими газами). В России этим протоколам отвечает бортовая диагностическая система, описание которой приведено в разделе 2 «Бортовая диагностическая система» настоящей инструкции.
ОБЩЕЕ УСТРОЙСТВО И ПРИНЦИП РАБОТЫ ЭСУД
Электронная система управления двигателем состоит из трех главных системных блоков:
1 Датчики и задающие устройства 2, 4 регистрируют условия эксплуатации (например, частоту вращения коленчатого вала) и задаваемые величины (например, датчик положения педали акселератора). Они преобразуют физические величины в электрические сигналы. Информация о работе систем двигателя передается в электронный блок управления – это входные сигналы.
2 Электронный блок управления (ЭБУ) 1 обрабатывает сигналы датчиков и задающих устройств по калибровочным таблицам. Он управляет исполнительными механизмами с помощью электрических выходных сигналов. Кроме того, ЭБУ взаимодействует с другими системами автомобиля 5-7, а также участвует в его диагностике 8.
ЭБУ контролирует все текущие эксплуатационные режимы двигателя. При выходе из допустимых пределов какого-либо из параметров двигателя ЭБУ немедленно дает соответствующее управляющее действие.
3 Исполнительные механизмы 3 преобразуют электрические выходные сигналы блока управления в действие механических устройств (например, дроссельная заслонка), управляющих подачей топлива.
ПРИНЦИП РАБОТЫ ЭСУД
ЭСУД это система программно-аппаратных средств, которая может определять и идентифицировать неисправности и вероятные причины неисправностей, как самой системы, так и двигателя.
О любых нарушениях функционирования компонентов систем впрыска и снижения токсичности отработавших газов водитель оповещается посредством срабатывания вмонтированной в комбинацию приборов транспортного средства (ТС) лампы индикатора сбоев (ИС). Если сбой имел временный характер и ЭБУ регистрирует возврат системы к нормальному функционированию, лампа ИС отключается.
Проверка исправности состояния лампы ИС (ее кратковременное срабатывание) происходит каждый раз при повороте ключа Выключателя приборов и стартера (зажигания) в фиксируемое положение «I» (приборы включены). При отсутствии нарушений функционирования систем управления двигателем и снижения токсичности отработавших газов лампа должна погаснуть уже спустя 2-30 секунд. Если при включении зажигания кратковременного срабатывания контрольной лампы не происходит, проверьте состояние электропроводки и предохранителя ее электрической цепи, кроме того, удостоверьтесь в
целостности нити накала собственно лампы.
ВНИМАНИЕ! ЕСЛИ СИГНАЛЬНАЯ ЛАМПА ГОРИТ И НЕ ГАСНЕТ, ТО В ЭЛЕКТРОННОЙ СИСТЕМЕ УПРАВЛЕНИЯ ДВИГАТЕЛЕМ ЗАФИКСИРОВАНА НЕИСПРАВНОСТЬ, КОТОРУЮ НЕОБХОДИМО УСТРАНИТЬ
Необходимо помнить, что коды регистрируют отказы электрических контуров в совокупности, а не отдельных компонентов, входящих в их состав. Так, присутствие в памяти ЭБУ кода SPN 51, приложение Б, говорит о неисправности в цепи датчика положения дроссельной заслонки, что вовсе необязательно свидетельствует о выходе из строя самого датчика. При выявлении причин отказа особое внимание следует уделять состоянию соответствующей электропроводки и качеству ее контактных соединений. Исключить вероятность отказа рабочего элемента цепи, либо удостовериться в нем можно путем подстановки заведомо исправного компонента.

*1 - Для некоторых моделей транспортных средств и изделий.
*2 - Подключается при диагностике ЭСУД.
*3 - На двигателе не устанавливается, входит в комплект поставки.
*4 - Для некоторых моделей двигателей.
Примерная структурная схема электронной системы управления
двигателем семейства ЯМЗ-530 CNG
В памяти ЭБУ одновременно хранятся коды множества различных неисправностей.
Выдача кодов при считывании производится в порядке возрастания их идентификационных номеров и никак не зависит от порядка занесения их в память.
Коды неисправностей могут быть двух видов: активные (неустраненные) и неактивные (устраненные).
ЭБУ обеспечивает самодиагностику и диагностику компонентов электронной системы управления. ЭСУД постоянно проверяет сигналы всех соединенных с ЭБУ датчиков и исполнительных механизмов по таким параметрам, как выход за границы рабочей области, нарушение контакта, короткие замыкания на «массу» или устойчивость по отношению к другим сигналам.
При обнаружении отклонений параметров работы двигателя от заданных загорается лампа ИС, а при наличии на панели приборов ТС монитора, на его экране появляется сообщение о неисправности с указанием диагностического кода и ее характера.
Отличительной особенностью самодиагностики ЭСУД является организация в ней адаптивной логики, позволяющей производить динамическое управление функционированием системы впрыска топлива. Данная особенность позволяет автоматически компенсировать износ и колебания параметров компонентов системы питания. Так, при стабильно работающем двигателе ЭБУ отслеживает тенденцию к обеднению или обогащению воздушнотопливной смеси и предпринимает соответствующие шаги по корректировке ее состава, стремясь постоянно выдерживать стехиометрическое число λ=1. Корректирующие параметры заносятся в специальную память ЭБУ, фиксируются в ней и остаются доступными при последующих циклах эксплуатации ТС.
ЭСУД при определенных условиях может выполнять следующие действия:
ПРЕДУПРЕЖДЕНИЕ, ОГРАНИЧЕНИЕ ЧАСТОТЫ ВРАЩЕНИЯ и/или ВЕЛИЧИНЫ КРУТЯЩЕГО МОМЕНТА ДВИГАТЕЛЯ и ОСТАНОВ ДВИГАТЕЛЯ.
ЭЛЕКТРОННЫЙ БЛОК УПРАВЛЕНИЯ (ЭБУ)
Электронный блок управления (ЭБУ или ECU – Electronic Control Unit) модели WP-580 фирмы Westport, на двигателе не устанавливается, входит в комплект поставки и располагается на шасси транспортного средства (в кабине автомобиля, в салоне автобуса или в подкапотном пространстве на перегородке моторного отсека). Обозначение ЭБУ – 53404.3763010 (обозначение фирмы Westport – 01-01-A00-007-008).
Основными задачами блока управления являются получение информации от датчиков, ее обработка и управление исполнительными механизмами. В соответствии с требованием водителя и записанной управляющей программой, ЭБУ:
- осуществляет управление двигателем;
- взаимодействует с электронными устройствами транспортного средства по каналу CAN (SAE J 1939);
- выполняет функции бортовой диагностики в соответствии с требованиями Правил ООН № 49-05С, согласно стандартам ISO 15031 и SAE J 1939;
- сигнализирует водителю о возникновении аварийных ситуаций посредством ламп на панели приборов ТС (диагностики двигателя, лампа индикатора сбоев (ИС), аварийного давления масла и т. д.);
- выполняет функцию ограничения крутящего момента согласно требованиям Правил ООН № 49-05С;
- выполняет функцию ограничения скорости в соответствии с Правилами ООН № 89;
- выполняет функцию аварийной защиты двигателя;
- выполняет функции круиз-контроля и дублирования управления от дополнительного органа с пульта оператора.

УСТРОЙСТВО И ХАРАКТЕРИСТИКА
Электронный блок управления состоит из перепрограммируемого постоянного запоминающего устройства (ППЗУ), силовых каскадов, цепи управления электромагнитными форсунками газа, источников питания для датчиков и протокола (канал данных) SAE J1939.
Печатная плата с электронными элементами помещается в металлическом корпусе ЭБУ. Датчики и исполнительные механизмы с помощью жгута проводов соединяются с блоком управления через два многоштыревых разъёма Р1 и Р2. Все контакты в этих разъёмах пронумерованы. В обоих разъемах общее количество контактов 121. Из них в большом разъеме Р1 находится 81 контакт, а в маленьком разъеме Р2 - 40 контактов.
В корпусе ЭБУ установлен датчик атмосферного давления. Этот датчик участвует в вычислении коррекции подачи топлива при эксплуатации ТС в высокогорье.

Основные характеристики ЭБУ
ИНТЕРФЕЙСЫ СВЯЗИ
Для взаимодействия ЭБУ двигателя с внешними устройствами используются интерфейсы K-Line (работа с диагностическим и инженерным оборудованием) и CAN (работа с диагностическим и инженерным оборудованием, а также с другими ЭБУ транспортного средства).
Физический уровень K-Line описан в стандарте ISO 9141, протокол передачи данных – в стандарте ISO 14230.
Физический, канальный и прикладной уровни CAN, используемого программного обеспечения ЭБУ двигателей ЯМЗ-530, описаны в стандартах SAE J 1939. Шина CAN обеспечивает сокращение количества проводов на ТС и одновременно с этим повышает надежность. Шина передачи данных состоит из двух проводов: CAN H и CAN L. К этим проводам подключены несколько различных систем, которые образуют коммуникационную сеть.
ВНИМАНИЕ! С ПОМОЩЬЮ МУЛЬТИМЕТРА НЕВОЗМОЖНО ИЗМЕРИТЬ ИЛИ ПРОВЕРИТЬ СИГНАЛ, ПЕРЕДАВАЕМЫЙ ПО ШИНЕ CAN. ДЛЯ ТОГО ЧТОБЫ УСТАНОВИТЬ ПРИЧИНУ НЕИСПРАВНОСТИ, СЛЕДУЕТ ИСПОЛЬЗОВАТЬ КОДЫ НЕИСПРАВНОСТЕЙ.
ДАТЧИКИ КОНТРОЛЯ ПАРАМЕТРОВ РАБОТЫ ДВИГАТЕЛЯ
Датчики температуры представляют собой термозависимый резистор с отрицательным коэффициентом сопротивления (NTC), т.е. сопротивление уменьшается с повышением температуры окружающей среды. Напряжение сигнала датчика обратно пропорционально температуре. Чем выше температура, тем ниже напряжение сигнала и наоборот.
Датчики давления - пьезорезистивные устройства, в которых выходное напряжение датчика прямо пропорционально давлению. Высокое давление соответствует высокому напряжению сигнала и наоборот. Датчики давления измеряют абсолютное давление, т.е. сумму атмосферного (барометрического) и избыточного давления.
Датчик детонации является пьезоэлектрическим датчиком, который состоит из пьезоэлектрического кристалла, который под действием механических напряжений деформируется и создает напряжение.
Датчик кислорода или лямбда-зонд действует по принципу гальванического элемента только с твердым электролитом в виде керамики из диоксида циркония (ZrO2). Поверх керамики напылены токопроводящие электроды из платины, одновременно являющиеся катализатором окислительно-восстановительных реакций. Один из электродов омывается горячими ОГ, а второй - воздухом из атмосферы. Эффективное измерение состава ОГ лямбда-зонд обеспечивает после разогрева до температуры 300—400 ºC. Только в этих условиях циркониевый электролит приобретает проводимость, а гальваническая ячейка начинает работать. Наличие в ОГ не окисленного топлива ведет к появлению на электродах гальванической ячейки выходного напряжения. При наличии в окружающих газах одновременно и топлива и кислорода в стехиометрической пропорции (например при отсутствии горения в двигателе или просто погружение подогретого датчика в несгоревшую стехиометрическую
газовоздушную смесь) - вырабатывается напряжение, воспринимаемое ЭБУ как «избыток топлива». При отсутствии не сгоревшего топлива с внутренней стороны датчика - даже при погружении в чистый кислород - ячейка не вырабатывает ЭДС, выходная разность потенциалов равна нулю. Если на внутреннем платиновом электроде присутствует несгоревшее топливо, то появляется разность потенциалов 0,5-1,0 В. При достижении стехиометрического состава горючей смеси, концентрация не сгоревшего топлива в ОГ значительно падает, что сопровождается скачкообразным изменением э.д.с. датчика, которая фиксируется высокомным входом ЭБУ.
Все характеристики датчиков хранятся в памяти ЭБУ, которая определяет их показания как функцию полученного значения напряжения.
МЕСТО УСТАНОВКИ ДАТЧИКОВ
Датчики регистрируют рабочие параметры (давления, температуры, частоту вращения коленчатого вала и др.) и задаваемые величины (положение педали акселератора, положение заслонки рециркуляции ОГ и др.) и превращают их в электрические сигналы.
Места установки датчиков на двигателях семейства ЯМЗ-530 CNG показаны на рисунках ниже. Расположение датчиков на конкретных двигателях может несколько отличаться от того, что показано на рисунке, и зависит от назначения двигателя.
Назначение и обозначение датчиков приведено в таблицах ниже.
Большинство датчиков и исполнительных механизмов, необходимых для управления работой двигателя, подключено к жгуту проводов. Схема подключения датчиков и исполнительных механизмов к жгуту проводов для всех двигателей семейства ЯМЗ-530 CNG одинакова. Некоторые датчики и исполнительные механизмы, связанные с электрической схемой ТС, например, датчики педали акселератора, подключены к промежуточному жгуту ТС. Поскольку потребители устанавливают собственный промежуточный жгут, то схема подключения некоторых датчиков в этом жгуте, в
зависимости от модели двигателя и ТС, может отличаться.
На электрических схемах, приложения А-Г, и на рисунках разъемов датчиков, приведенных ниже в настоящей инструкции, подсоединение проводов к выводам датчиков обозначаются цифрами, например, «036, 101, 301». Соответственно этим обозначениям датчики подсоединяются к разъемам ЭБУ. Так как ЭБУ имеет два разъема со 121 контактом, то к нему могут быть подключены провода с обозначением «001-121» (к разъему Р1 – провода «001-081», а к Р2 – «082-121»). Провода с обозначением «301» и выше подключаются к разъему ТС. Некоторые провода с обозначением «001-121» подключаются одновременно к разъемам ТС и к ЭБУ (например, провод «012» - выходной сигнал датчика регулятора давления соединен жгутом с выводом 8 разъёма ТС и выводом Р1-12 электронного блока управления, где Р1 – обозначение разъема ЭБУ с расположением вывода 12).

1 - датчик частоты вращения коленчатого вала; 2 - клапан перепуска воздуха на
компрессоре ТКР; 3 – датчик дифференциального давления (расхода) отработавших
газов системы EGR; 4 - клапан перепуска воздуха на компрессоре ТКР; 5 - дроссельная
заслонка; 6 - электропневматический клапан управления положением заслонки РОГ
(EGR); 7 - датчик температуры охлаждающей жидкости
Расположение датчиков на двигателях типа ЯМЗ-53404. Вид справа

1 - датчик детонации; 2 - форсунка с электромагнитным клапаном; 3 - катушка
зажигания; 4 - датчик температуры воздуха; 5 - датчик давления воздуха; 6 - датчик
температуры и давления газа в рампе; 7 - датчик температуры и давления масла; 8 -
датчик частоты вращения распределительного вала
Расположение датчиков на двигателях типа ЯМЗ-53404. Вид слева







* На двигателе не устанавливается, входит в комплект поставки
ОТКАЗЫ ДАТЧИКОВ
Отказ любого из датчиков может быть вызван следующими неисправностями:
- Выходная цепь датчика разомкнута или имеет обрыв.
- Короткое замыкание вывода датчика на "+" или на массу аккумуляторной батареи.
- Выходной сигнал датчика находится вне заданного диапазона работы.
ДАТЧИКИ ЧАСТОТЫ ВРАЩЕНИЯ ДВИГАТЕЛЯ DG6
Сенсорные системы распределительного и коленчатого валов используются для определения частоты вращения коленчатого вала и положения ВМТ поршней двигателя. Каждая сенсорная система состоит из импульсного колеса (с отверстиями по кругу) и соответствующего датчика, которым определяются положения вала и угловые соотношения (так называемая «синхронизация» валов). Эти данные, в свою очередь, предоставляют информацию о положении поршня двигателя.
Положения коленчатого и распределительного валов определяется с помощью датчиков частоты вращения двигателя DG6.
Датчик частоты вращения двигателя DG6 является пассивным, индуктивным (или генераторным) датчиком.
УСТРОЙСТВО И ПРИНЦИП РАБОТЫ ДАТЧИКА ЧАСТОТЫ ВРАЩЕНИЯ ДВИГАТЕЛЯ
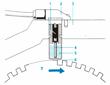
Датчик монтируется напротив ферромагнитного импульсного колеса 7 (например, маховик коленчатого вала), и отделен от него воздушным зазором. Датчик содержит мягкий железный сердечник 4 (полюсный наконечник), который окружен катушкой индуктивности 5.
Полюсный наконечник соединен с постоянным магнитом 1. Магнитное поле проходит через полюсный наконечник внутрь импульсного колеса. Интенсивность магнитного потока, проходящего через катушку, зависит от того, что нахо-дится напротив датчика зуб или паз (отверстие) импульсного колеса. Зуб вызывает усиление, а паз, наоборот, ослабление интенсивности магнитного потока. Эти изменения наводят (индуцируют) в катушке электродвижущую силу (ЭДС), выражаемую в синусоидальном выходном напряжении, которое пропорционально частоте вращения вала. Амплитуда переменного напряжения сильно растет с увеличением частоты вращения (от нескольких мВ до 100 В). Достаточная для регистрации датчиком амплитуда напряжения возникает, начиная с частоты вращения вала, равной 30 мин-1.
Геометрические формы паза (отверстия) и полюсного наконечника должны соответствовать друг другу. Система обработки сигналов преобразует выходное напряжение с импульсами синусоидальной формы с переменной амплитудой (аналоговый синусоидальный сигнал) в напряжение с импульсами прямоугольной формы с постоянной амплитудой (цифровой сигнал).
Аналого-цифровое преобразование осуществляется в микропроцессоре блока управления.

1 - постоянный магнит; 2 - корпус датчика; 3 - картер маховика; 4 - полюсный
наконечник; 5 - катушка индуктивности; 6 - воздушный зазор; 7 - импульсное колесо с опорной меткой (маховик)
Индуктивный датчик частоты вращения коленчатого вала (устройство)

1 – зуб; 2 – паз (отверстие) между зубьями; 3 – опорная метка
График сигнала индуктивного датчика частоты вращения коленчатого вала
ДАТЧИК ЧАСТОТЫ ВРАЩЕНИЯ КОЛЕНЧАТОГО ВАЛА
Датчик частоты вращения коленчатого вала, также называемый датчиком скорости двигателя или датчиком синхронизации, установлен в верхней части картера маховика с правой стороны, если смотреть со стороны маховика.
С помощью датчика частоты вращения коленчатого вала определяется частота вращения и угловое положение коленчатого вала (положение поршня) относительно верхней мёртвой точки (ВМТ) в цилиндрах двигателя. Используя информацию с датчика, ЭБУ двигателя рассчитывает начало подачи и количество топлива для каждого отдельного цилиндра.
Частота вращения рассчитывается по времени периода импульсов датчика.
Сигнал датчика частоты вращения - одна из самых важных величин для системы электронного управления двигателем.

Датчик частоты вращения коленчатого вала DG6
Импульсное колесо датчика одновременно является маховиком, на наружном диаметре которого имеются 58 (60 минус 2) радиальных отверстий, расположенных через 6°.
Пробел в 18° (два отсутствующих отверстия) является базовой меткой и служит для определения
углового положения коленчатого вала двигателя в пределах 720° и увязан с определенным
положением коленчатого вала по отношению к ВМТ первого цилиндра. Маховик ориентирован с
помощью штифта и закреплен на коленчатом валу.

Маховик
ХАРАКТЕРИСТИКА ДАТЧИКА
- Сопротивление катушки при 20°С: Rw = 860 Ом ±10%;
- Индуктивность на частоте 1 кГц (последовательное подключение): 370 ± 60 мГн (без намагничивающихся деталей крепежа);
- Воздушный зазор (расстояние между датчиком и импульсным колесом): 0,3…1,8 мм.
КОНФИГУРАЦИЯ РАЗЪЁМА
Конфигурация разъёма датчика частоты вращения коленчатого вала.

• Вывод 1 (провод 036) – ЭБУ вывод Р1-36 выходной сигнал;
• Вывод 2 (провод 037) – ЭБУ вывод Р1-37 масса датчика
Конфигурация разъёма
ДАТЧИК ЧАСТОТЫ ВРАЩЕНИЯ РАСПРЕДЕЛИТЕЛЬНОГО ВАЛА
Датчик частоты вращения распределительного вала, также называемый датчиком фазы, аналогичен датчику частоты вращения коленчатого вала и установлен на картер маховика с левой стороны, если смотреть со стороны маховика. Частота вращения распределительного вала в два раза меньше частоты вращения коленчатого вала. ЭБУ, получая сигналы от датчика распределительного вала, определяет положение поршня первого цилиндра в ВМТ на такте сжатия и обеспечивает последовательную подачу топлива в соответствии с порядком работы цилиндров двигателя.
Импульсное колесо датчика одновременно является шестерней распределительного вала и называется фазовой шестерней.

1 - датчик частоты вращения распределительного вала DG6; 2 - синхронная метка; 3 – установочная метка положения распределительного вала
Шестерня распределительного вала шестицилиндрового двигателя
На торце шестерни выполнены, в виде аксиальных отверстий, фазовые метки на каждый цилиндр. Количество отверстий составляет Z+1, где Z – число цилиндров, а 1 – дополнительное отверстие, используемое для синхронизации (например, для шестицилин-дровых двигателей количество отверстий равно 6+1). Дополнительное отверстие или синхронная метка 2, имеет определенный угловой интервал по отношению к фазовой метке цилиндра и расположена сразу за одной из них. Метка служит для определения углового положения распределительного вала двигателя в пределах 720° поворота коленчатого вала.
Фазовые метки через равномерные промежутки распределены по шестерне, тем самым, вместе с датчиком коленчатого вала, ЭБУ определяет момент воспламенения топлива в ВМТ 1-го цилиндра.

1 - датчик частоты вращения распределительного вала; 2- датчик частоты вращения
коленчатого вала; 3 – пробка смотрового отверстия для определения ВМТ 1-го цилиндра
Определение ВМТ 1-го цилиндра, вид со стороны маховика
КОНФИГУРАЦИЯ РАЗЪЁМА
Конфигурация разъёма датчика частоты вращения распределительного вала.

• Вывод 1 (провод 034) – ЭБУ вывод Р1-34 выходной сигнал;
• Вывод 2 (провод 035) – ЭБУ вывод Р1-35 масса датчика
Конфигурация разъёма
ОТКАЗ ДАТЧИКОВ ЧАСТОТЫ ВРАЩЕНИЯ ДВИГАТЕЛЯ ДИАГНОСТИКА НЕИСПРАВНОСТИ ДАТЧИКА
Диагностика исправности датчика DG6 осуществляется путем измерения сопротивления
между контактами разъёма. Сопротивление катушки составляет приблизительно 860 Ом с допуском 10%.
Этот метод, однако, не дает достоверной информации об исправности, потому что есть вероятность того, что обрыв провода в катушке не определился.
ДАТЧИК ДАВЛЕНИЯ И ТЕМПЕРАТУРЫ НАДДУВОЧНОГО ВОЗДУХА
Датчик давления наддувочного воздуха со встроенным датчиком температуры DS-S2-TF, служит для оценки абсолютного давления и температуры воздуха на выходе из ОНВ двигателя. Датчик входит в комплект поставки двигателя и устанавливается в прямолинейном участке впускной трубы ТС после ОНВ перед дроссельной заслонкой.

Датчик давления и температуры наддувочного воздуха
(внешний вид и нумерация контактов)
ЭБУ, получая от датчика значения давления и температуры воздуха, определяет необходимый массовый расход воздуха и корректирует цикловую подачу топлива. Этот датчик называют датчиком массового расхода воздуха или MAF (Mass Air Flow), а также TMAP (Pre-Throttle Pressure and intake air temperature sensor) – датчиком давления и температуры воздуха на впуске перед дроссельной заслонкой.
Значения, получаемые с датчика давления и температуры воздуха, могут быть использованы следующими функциями программы ЭБУ:
- защита от перегрева;
- коррекция цикловой подачи топлива для уменьшения дымности;
- работа устройства облегчения пуска (например, предпусковой подогреватель воздуха на входе в двигатель) и др.
ХАРАКТЕРИСТИКА ДАТЧИКА

1) справедливо лишь для измерения напряжения <0,5 В
Выходное напряжение лежит в диапазоне 0…5 В и подается к ЭБУ, который по этому напряжению рассчитывает величину давления и диагностирует электрическую цепь. Напряжение выходного сигнала от абсолютного давления может быть рассчитано, как UOut = (c1·pabs+c0)·US;
где UOut - напряжение выходного сигнала в В;
US - напряжение питания в В;
pabs – абсолютное давление в кПа;
с0 – -5/350;
c1 - 0,8/350 кПа–1;
Зависимость выходного напряжения от давления.

Характеристика датчика давления при US = 5,0 В
Параметры датчика температуры:
- Температурный диапазон: минус 40 - плюс 130°C.
- Номинальное напряжение: через последовательное сопротивление 1 кОм от источника питания 5 В или от источника постоянного тока ≤ 1 мА для измерительных целей.
- Номинальное сопротивление при 20°C: 2,5 кОм ± 5%.
Зависимость сопротивления датчика от температуры.

Характеристика датчика температуры
Для проверки показаний датчика измерение сопротивления проводится измерительным током ≤ 1 мА и после выдержки в течение ≥ 10 мин при температуре минус 10, плюс 20 и 80°C.
Зависимости сопротивления от температуры R(t).

КОНФИГУРАЦИЯ РАЗЪЁМА
Конфигурация разъёма датчика давления и температуры наддувочного воздуха.

• Вывод 1 (провод 047) – ЭБУ вывод Р1-47 масса датчика;
• Вывод 2 (провод 009) – ЭБУ вывод Р1-9 выходной сигнал температуры;
• Вывод 3 (провод 052) – ЭБУ вывод Р1-52 питание датчика (+5 В);
• Вывод 4 (провод 010) – ЭБУ вывод Р1-10 выходной сигнал давления
Конфигурация разъёма
ДАТЧИК ДАВЛЕНИЯ И ТЕМПЕРАТУРЫ МАСЛА
Датчик давления и температуры масла DS-K-TF, служит для измерения и соответствующего контроля абсолютного давления и температуры масла в системе смазки двигателя. Кроме того, показания датчика температуры масла используются в работе устройства облегчения пуска (например, предпусковой подогреватель воздуха на входе в двигатель). Датчик расположен в масляном канале корпуса шестерен с правой стороны, если смотреть со стороны маховика.

Датчик давления и температуры масла (внешний вид и нумерация контактов)
ХАРАКТЕРИСТИКА ДАТЧИКА

1) справедливо лишь для измерения напряжения <0,5 В
Выходной сигнал по напряжению лежит в диапазоне 0,5…4,5 В и подается в ЭБУ, где рассчитывается величина давления. Напряжение выходного сигнала от абсолютного давления может быть рассчитано, как UOut = (c1pabs+c0)·US;
где UOut - напряжение выходного сигнала в В;
US - напряжение питания в В;
pabs – абсолютное давление в кПа;
с0 – 55 / 950;
c1 - 0,8 / 950 кПа–1;
pn - номинальное давление.
Зависимость выходного напряжения от давления.

Характеристика датчика давления при US = 5,0 В
Параметры датчика температуры:
- Температурный диапазон: минус 40 - плюс 125°C.
- Номинальное напряжение: через последовательное сопротивление 1 кОм от источника питания 5 В или от источника постоянного тока ≤ 1 мА для измерительных целей.
- Номинальное сопротивление при 20 °C: 2,5 кОм ± 6%.
- Нижний допуск при 100°C: 0,186 кОм ± 2%.
Зависимость сопротивления датчика от температуры.

Характеристика датчика температуры
Для проверки показаний датчика измерение сопротивления проводится измерительным током ≤1 мА и после выдержки в течение ≥10 мин при температуре минус 10, плюс 20 и 80°C.
Зависимости сопротивления от температуры R(t).

КОНФИГУРАЦИЯ РАЗЪЁМА

• Вывод 1 (провод 047) – ЭБУ вывод Р1-47 масса датчика;
• Вывод 2 (провод 006) – ЭБУ вывод Р1-6 выходной сигнал температуры;
• Вывод 3 (провод 052) – ЭБУ вывод Р1-52 питание датчика (+5 В);
• Вывод 4 (провод 011) – ЭБУ вывод Р1-11 выходной сигнал давления
Конфигурация разъёма
ДАТЧИК ТЕМПЕРАТУРЫ ОХЛАЖДАЮЩЕЙ ЖИДКОСТИ
Датчик температуры охлаждающей жидкости TF-W, контролирует температуру охлаждающей жидкости двигателя. Датчик расположен на водяной рубашке блока цилиндров с правой стороны: для четырехцилиндровых двигателей рядом с сервисным модулем, а для шестицилиндровых – ближе к стартеру.
В зависимости от температуры охлаждающей жидкости ЭБУ задает различные алгоритмы работы двигателя. Например, при температуре ОЖ минус 16°С перед пуском двигателя включается предпусковой подогреватель воздуха и загорается лампа холодного пуска. Выходной сигнал датчика информирует водителя о высокой температуре охлаждающей жидкости включением соответствующей лампы на панели приборов или сообщением через интерфейс CAN.
Этот датчик называют также датчиком EST (Engine coolant temperature).

Датчик температуры охлаждающей жидкости
ХАРАКТЕРИСТИКА ДАТЧИКА

Зависимость сопротивления датчика от температуры.

Характеристика датчика с отрицательным температурным коэффициентом
Зависимости сопротивления от температуры R(t).

Для проверки показаний датчика измерение сопротивления проводится измерительным током ≤ 1 мА при температуре минус 10, плюс 20 и 80°C. Внутреннее сопротивление измерительного прибора Ri > 10 МОм. При измерении характеристики датчик должен быть погружен в испытательную жидкость до шестигранника. Минимальное время ожидания при измерении каждой точки 10 минут.
КОНФИГУРАЦИЯ РАЗЪЁМА

• Вывод 1 (провод 058) – ЭБУ вывод Р1-58 выходной сигнал температуры;
• Вывод 2 (провод 045) – ЭБУ вывод Р1-45 масса датчика
Конфигурация разъёма
РЕГУЛЯТОР ДАВЛЕНИЯ
Регулятор давления C300 фирмы EMER, входит в комплект поставки двигателя и устанавливается в моторном отсеке или на шасси ТС. Регулятор состоит из двух ступеней снижения давления. В первой ступени давление снижается до 1,5 МПа (15 кГс/см2), а во второй до 0,6 МПа (6 кГс/см2). Давление газа на входе в топливную систему двигателя составляет минимальное 550 кПа (5,5 кГс/см2), максимальное 800 (8,0 кГс/см2). Температура газа на входе в топливную систему двигателя – минимальная 10 С, максимальная 55.
На входе в первую ступень регулятора давления установлен датчик давления ф. BOSCH 0261A04913. Датчик измеряет давление газа, поступающего в регулятор давления из магистрали. Диапазон измерений датчика составляет 0 – 26 МПа (0 – 260 кГс/см2).

Регулятор давления с датчиком давления
На ТС с 24-х вольтовым оборудованием устанавливается регулятор давления С323А, а с 12-и вольтовым - С323А-01 (ТС ООО «АЗ ГАЗ»). Отличить один регулятор от другого можно по обозначению величины напряжения, нанесенного на катушке электромагнита.

* катушка с напряжением 12 В установлена на регуляторе С323А-01, а 24 В на С323А
КОНФИГУРАЦИЯ РАЗЪЁМА

• Вывод 1 (провод 047) – разъем ТС вывод 9 – ЭБУ вывод Р1-47 масса датчика;
• Вывод 2 (провод 012) – разъем ТС вывод 8 – ЭБУ вывод Р1-12 выходной сигнал давления;
• Вывод 3 (провод 052) – разъем ТС вывод 7 – ЭБУ вывод Р1-52 питание датчика (+5В)
Конфигурация разъёма
ДАТЧИК ТЕМПЕРАТУРЫ И ДАВЛЕНИЯ ГАЗА В РАМПЕ
Датчик температуры и давления газа 112CP3-4, установлен на рампу и поставляется только с ней в сборе. Датчик измеряет мгновенное значение абсолютного давления и температуры газа в рампе с высокой точностью и быстродействием. Диапазон измерений датчика составляет 62 – 1027 кПа (0,62 – 10,27 кГс/см2).
ЭБУ, получая значения от датчика, поддерживает заданное давление газа в рампе, что необходимо для обеспечения топливно-экономических и экологических показателей двигателя.

Датчик температуры и давления газа в рампе
ХАРАКТЕРИСТИКА ДАТЧИКА
Датчик 112CP3-4 имеет резьбу М12х1,25.
Рабочие характеристики датчика:
- Диапазон измеряемого абсолютного давления …..от 62 кПа до 1027 кПа
- Напряжение питания ……………………………….………..от 4,5 до 5,5 В
- Максимальный ток питания ………………………………..15 мА
- Выходное напряжение ………………………………...……от 0,5 до 4,5 В
- Диапазон измеряемых температур ………………………..минус 40°С - плюс 120°С
- Значение сопротивления датчика температур…………...10 кОм при 25°C
- Диапазон сопротивления датчика температуры …………от 316181 до 271 Ом
КОНФИГУРАЦИЯ РАЗЪЁМА

• Вывод 1 (провод 046) – ЭБУ вывод Р1-46 масса датчика;
• Вывод 2 (провод 067) – ЭБУ вывод Р1-67 выходной сигнал давления;
• Вывод 3 (провод 054) – ЭБУ вывод Р1-54 выходной сигнал температуры;
• Вывод 4 (провод 066) – ЭБУ вывод Р1-66 питание датчика (+5 В)
Конфигурация разъёма
ФОРСУНКА CNG С ЭЛЕКТРОМАГНИТНЫМ КЛАПАНОМ
Форсунка CNG P30Q250 фирмы Nikki с электромагнитным клапаном или дозатор газа, установлена на рампе и поставляется только с рампой в сборе. Форсунка, в зависимости от управляющего сигнала ЭБУ, обеспечивает подачу дозированного количества топлива во впускные каналы головки цилиндров.
Сигналы с широтно-импульсной модуляцией (ШИМ), подаваемые на электромагнитный клапан изменяют площадь сечения впускного отверстия для топлива, тем самым увеличивая или уменьшая расход топлива на впуске. При отсутствии тока в управляющей обмотке клапан закрыт.
При подаче тока клапан открывается и через него подается необходимое количество топлива.

Дозирующее устройство с электромагнитным клапаном
ХАРАКТЕРИСТИКА ФОРСУНКИ

КОНФИГУРАЦИЯ РАЗЪЁМА

• Вывод 1 (провод 110…113/108…113 соответственно для Р4/Р6 двигателей) – ЭБУ
вывод Р2-110…113/Р2-108…113 соответственно для Р4/Р6 двигателей, сигнал включения электроклапана форсунки. При управлении соединяется с массой;
• Вывод 2 (провод 302) – разъем ТС вывод 60 постоянное питание электроклапана (через предохранитель 15 А)
Конфигурация разъёма
КАТУШКА ЗАЖИГАНИЯ
Катушка зажигания ME-52-78 ф. Marshall, одноканальная, одноискровая установлена на рампе и поставляется только с рампой в сборе. Катушка зажигания генерирует высокое напряжение и подает его на свечи зажигания.

Катушка зажигания
ХАРАКТЕРИСТИКА КАТУШКИ

КОНФИГУРАЦИЯ РАЗЪЁМА

• Вывод A (провод 102…105/100…105 для ЯМЗ-5340/ЯМЗ-536) – ЭБУ вывод Р2-102…Р2-105/Р2-100…Р2-105 управляющий импульс от ЭБУ амплитудой 5В;
• Вывод B (провод 121) – ЭБУ вывод Р2-121 управляющий импульс от ЭБУ амплитудой 5В;
• Вывод C (провод массы) масса вторичной (высоковольтной) обмотки;
• Вывод D (провод 120) – C1050 масса АКБ;
• Вывод E (провод 301) – разъем ТС вывод 61 питание катушки от АКБ (через предохранитель 15 А)
Конфигурация разъёма
ДАТЧИК ДЕТОНАЦИИ
Датчик детонации, предназначен для определения момента возникновения детонации в двигателе внутреннего сгорания. Детонация возникает при содержании 50 % газа в топливовоздушной смеси. Детонационное сгорание сопровождается резким возрастанием амплитуды вибраций и высокими ударными нагрузками на стенки цилиндров, поршень и головку цилиндров.
Принцип действия датчика основан на пьезоэффекте. Датчик крепится на блок цилиндров двигателя с левой стороны: на четырехцилиндровых двигателях один, а на шестицилиндровых два, рисунок 5. При возникновении детонации происходит вибрация двигателя, приводящая к сжатию пьезокерамического элемента датчика, в результате чего на его концах возникает разность потенциалов. С ростом амплитуды и частоты механических колебаний двигателя возрастает напряжение.

Датчик детонации
На основании электрических импульсов датчика, электронный блок управления двигателем изменяет качественный состав рабочей смеси и угол опережения зажигания. Данное устройство помогает также добиться более экономичной работы и развить максимальную мощность двигателя. Существует определенный порог безопасности, если величина напряжения его превысит, то ЭБУ отдаст команду на уменьшение угла опережения зажигания.
ХАРАКТЕРИСТИКА ДАТЧИКА ДЕТОНАЦИИ
Датчик детонации двухполюсный с кабелем, длиной 480 мм.
Характеристика датчика детонации:
Частотный диапазон………………………………….1…20 кГц
Диапазон измерения………………………………….0,1…400 g1)
Чувствительность при 5 кГц…………………………26±8 мВ/g
Линейность при резонансе
в диапазоне 5...15 кГц…………………………………...+20/-10% от 5 кГц (15…41 мВ/g)
- Доминирующая резонансная частота……………….более 25 кГц
- Полное сопротивление………………………………более 1 Мом
- Емкостной диапазон…………………………………800…1400 ПФ
- Температурная зависимость чувствительности……не более 0,06 мВ/(g·ºС)
- Диапазон рабочих температур………………………минус 40…плюс 130 ºС
Допустимые колебания:
- устойчивые……………………не более 80 g
- краткосрочные………………..не более 400 g
Крепление датчика винтом М8×25.………………...моментом 20±5 Нм
1) ускорение свободного падения g=9,81 м·с-2.
КОНФИГУРАЦИЯ РАЗЪЁМА

• Вывод 1 (провод 061/062 для первого/второго) – ЭБУ вывод Р1-61/Р1-62 выходной сигнал (минус);
• Вывод 2 (провод 080/081 для первого/второго) – ЭБУ вывод Р1-80/Р1-81 выходной сигнал (плюс)
Конфигурация разъёма
ОТКАЗ ДАТЧИКА ДЕТОНАЦИИ
ДИАГНОСТИКА НЕИСПРАВНОСТИ ДАТЧИКА
При отказе датчика детонации проверить наличие ошибки в памяти ЭБУ.
При выходе датчика из строя:
- падает мощность;
- ухудшается динамика разгона ТС и резко увеличивается расход топлива;
- появляется дымный выхлоп.
При этом на панели загорается индикатор неисправности двигателя. Причем, он может, как гореть постоянно, так и загораться кратковременно при увеличении нагрузки.
Основные неисправности датчика детонации:
- произошел обрыв сигнального провода;
- оборвалась экранирующая оплетка провода;
- произошло замыкание на массу или же замкнуло бортсеть одного из проводов датчика;
- возникли неисправности в самом датчике;
- возникли неисправности ЭБУ, способствующие некорректной работе датчика.
Во всех вышеперечисленных случаях необходима проверка датчика детонации.
В случае, если произошел обрыв сигнального провода, необходимо проверить надежность соединения разъема жгута и датчика. Если же с подсоединением все в порядке, тогда следует оценить состояние контактов разъема, и при необходимости заменить их. Также осмотреть и состояние жгута, для этого его следует отсоединить от датчика и при выключенном зажигании проверить целостность цепи с помощью омметра.
При замыкании на массу: отсоединить ЭБУ и датчик детонации от жгута проводов и проверить состояние цепи. Выключив зажигание, при помощи омметра проверить соединение цепи жгута и массы двигателя. Если обнаружена какая-либо неисправность, то ее следует устранить. В завершении включить зажигание и проверить корректность работы датчика.
При замыкании бортсети, нужно в первую очередь отсоединить защитный чехол его разъема и при включенном зажигании проверить напряжение между разъемом и массой двигателя. Если оно пределах 12/24 В, то, отключив зажигание, проверить, не произошло ли замыкание в цепи жгута и электропитании системы управления.
При неисправности датчика, по нему необходимо просто постучать каким-либо не металлическим предметом (при этом двигатель должен работать на холостом ходу), а затем проверить с помощь вольтметра наличие сигналов. При невозможности выполнения этой операции необходимо замерить сопротивление. Если оно отличается от нормального, нужна замена. Также можно проверить напряжение на электрических контактах датчика, для чего нужно отсоединить электрический разъем питания датчика и снять его с двигателя. После этого мультиметр переводится в режим измерения напряжения в милливольтах, его плюсовой щуп соединяется с сигнальным контактом, а минусовой – с массой датчика (отверстие, через которое проходит болт крепления к двигателю).
Проверка датчика детонации заключается в том, что датчик с присоединенными щупами зажимается в ладони, которой затем нужно несильно постучать по какой-нибудь поверхности. При ударах мультиметр должен фиксировать появление напряжения (обычно оно составляет порядка 30-40 мВ). Принцип прост: чем сильнее удар, тем большая разность потенциалов возникнет между электродами. Полное отсутствие разности потенциалов свидетельствует о том, что датчик детонации неисправен.
СИСТЕМА РЕЦИРКУЛЯЦИИ ОТРАБОТАВШИХ ГАЗОВ (РОГ)
ДАТЧИК ПОЛОЖЕНИЯ ЗАСЛОНКИ СИСТЕМЫ РОГ
Для выполнения нормативов по выбросам вредных веществ экологического класса 4 и выше двигатели семейства ЯМЗ-530 оснащаются системой рециркуляции отработавших газов (РОГ или EGR – Exhaust Gas Recirculation) с внешним регулированием.
В системе РОГ часть отработавших газов (в зависимости от режима работы до 20%) вновь поступают в цилиндр.
Отработавшие газы, пройдя через радиатор системы рециркуляции, охлаждаются с 400 – 700°C до 160°C и ниже.
С помощью сигнала с широтно-импульсной модуляцией (ШИМ) ЭБУ управляет клапаном заслонки EGR. Воздушный пропорциональный клапан в сочетании с пневмоцилиндром устанавливает заданное положение заслонки системы рециркуляции. Положение заслонки контролируется датчиком. В нерабочем положении заслонка закрыта.
Заслонка, рисунок 35, состоит из корпуса с поворотной частью и актуатора, который, в свою очередь, состоит из пневмоцилиндра для привода заслонки (ход 34,1±2 мм) и линейного датчика положения GT, контролирующего ее перемещение. Пневмоцилиндр и датчик объединены в один корпус.
Тяга штока пневмоцилиндра регулируется таким образом, чтобы она при закрытой заслонке имела предварительный натяг 1,5±0,5 мм.

Заслонка отработавших газов (EGR) в сборе
ХАРАКТЕРИСТИКА ДАТЧИКА ПОЛОЖЕНИЯ ЗАСЛОНКИ EGR
Полный линейный ход штока 37 мм;
Напряжение питания 4,9 – 5,1 В;
Потребляемый ток ≤ 12,5 мА;
Выходное напряжение в 4,0±1 мм) 0,7±0,2 В;
Выходное напряжение в положении «открыто» (рычаг штока на упоре)
(положение штока 34,1±2 мм) 4,35±0,15 В.
Зависимость выходного сигнала от перемещения штока.

Характеристика датчика положения
КОНФИГУРАЦИЯ РАЗЪЁМА

• Вывод 1 (свободный) – ЭБУ не используется;
• Вывод 2 (провод 052) – ЭБУ вывод Р1-52 питание датчика (+5 В);
• Вывод 3 (провод 008) – ЭБУ вывод Р1-8 выходной сигнал;
• Вывод 4 (провод 047) – ЭБУ вывод Р1-47 масса датчика;
Конфигурация разъёма
КЛАПАН ЗАСЛОНКИ EGR
Для бесступенчатой регулировки положения заслонки системы рециркуляции служит электропневматический клапан управления положением заслонки EGR (пропорциональный клапан). Клапан служит для управления положением пневмоцилиндра, перемещающего заслонку системы РОГ, и регулирует давление сжатого воздуха в пневмоцилиндре. Клапан установлен на кронштейне, закрепленном на переднем торце водораспределительной трубы двигателя, рисунок 4, и управляется ШИМ-сигналом от ЭБУ

Клапан заслонки EGR (пропорциональный)
ХАРАКТЕРИСТИКА КЛАПАНА ЗАСЛОНКИ EGR

ХАРАКТЕРИСТИКА КЛАПАНА ЗАСЛОНКИ EGR

• Вывод 1 (провод 057) – ЭБУ вывод Р1-57 сигнал управления;
• Вывод 2 (провод 308) – разъем ТС вывод 62 питание клапана от АКБ
Конфигурация разъёма
ОТКАЗ КЛАПАНА ЗАСЛОНКИ EGR
Отказ клапана приводит к неправильной работе системы РОГ и может проявляться в рассогласовании между исполнительным механизмом (заслонка РОГ) и управляющей частью (клапан заслонки). Например, медленное реагирование заслонки на изменение заданных значений, заклинивание заслонки в каком-нибудь положении. В любом случае, с появлением ошибки необходимо проверить целостность электрической цепи клапана и герметичность соединений в пневмосистеме ТС.
ДАТЧИК РАСХОДА ГАЗОВ СИСТЕМЫ EGR (ДАТЧИК ДИФФЕРЕНЦИАЛЬНОГО ДАВЛЕНИЯ ОГ СИСТЕМЫ РОГ)
Датчик дифференциального давления 4MPP7-2, служит для определения расхода отработавших газов, поступающих во впускной патрубок из системы РОГ. Датчик расположен в проставке, установленной на выходе из радиатора РОГ, рисунок 4. В проставке между входным и выходным отверстием имеется дроссель, создающий перепад давления, изменяющийся в зависимости от расхода отработавших газов.
На кремниевом чипе датчика интегрированы пьезоэлектрические элементы датчика давления и соответствующая электроника для усиления сигнала и температурной компенсации.

Датчик дифференциального давления ОГ системы РОГ
ХАРАКТЕРИСТИКА ДАТЧИКА ДИФФЕРЕНЦИАЛЬНОГО ДАВЛЕНИЯ ОГ СИСТЕМЫ РОГ
Характеристика датчика:
Рабочее давление на входе:
- минимальное …………….75 кПа абс
- максимальное ……………600 кПа абс.
Испытательное давление:
- минимальное …………….50 кПа абс
- максимальное …………....1200 кПа абс.
Предельное давление: ………………...1600 кПа абс.
Перепад давления:
- диапазон давления ……………..............от минус 5 кПа до 34,47 кПа
- испытательное давление: ……………..206 кПа (сторона высокого давления) ….…………..минус 138 кПа (сторона низкого давления)
- предельное давление: ………………….310 кПа (сторона высокого давления) ……………..206 кПа (сторона низкого давления)
Напряжения питания (Vs) ……………...5 ± 0,25 В
Максимальный ток на выходе …………20 мА
Номинальный ток ………………………10 мА
Рабочая температура …………………..минус 40ºC … плюс 140ºC
Монтаж датчика винтами М8 ………...моментом 20 ±3 Нм
КОНФИГУРАЦИЯ РАЗЪЁМА

• Вывод 1 (провод 066) – ЭБУ вывод Р1-66 питание датчика (+5 В);
• Вывод 2 (провод 046) – ЭБУ вывод Р1-46 масса датчика;
• Вывод 3 (провод 076) – ЭБУ вывод Р1-76 выходной сигнал давления
Конфигурация разъёма
КЛАПАН УПРАВЛЕНИЯ ПЕРЕПУСКОМ ОТРАБОТАВШИХ ГАЗОВ НА ТУРБИНЕ ТКР (EUV)
Клапан управления перепуском отработавших газов на турбине ТКР 7.00380.06 (для двигателей с бортовой сетью 24 В) или 7.01904.01 (для двигателей ЯМЗ-53444 с бортовой сетью 12 В). Пневмоэлектрический клапан управляется ШИМ-сигналом от ЭБУ. Клапан расположен на кронштейне, который в свою очередь крепится к кронштейну клапана заслонки EGR в передней части двигателя справа.
Металлический наконечник клапана соединяется пневмотрубкой с корпусом компрессора ТКР, а пластиковый наконечник, расположенный под углом 90 градусов к оси, с капсулой привода заслонки (актуатором) отработавших газов во входном патрубке турбины ТКР.
Оставшийся пластиковый наконечник клапана соединяется с впускным патрубком.
Клапан управления перепуском контролирует давление воздуха, которое подается на капсулу (актуатор) привода заслонки отработавших газов ТКР и помогает ему добиться оптимальных характеристик на низкой и высокой скорости вращения ротора.
При открытии клапана управления перепуском меняется давление в капсуле над мембраной, управляющей тягой заслонки перепуска отработавших газов на входе в турбину ТКР.
В результате меняется количество ОГ поступающих в турбину, а, следовательно, частота вращения ротора ТКР и количество воздуха, поступающее в двигатель.

Клапан управления перепуском отработавших газов на турбине ТКР
ХАРАКТЕРИСТИКА КЛАПАНA УПРАВЛЕНИЯ ПЕРЕПУСКОМ ОТРАБОТАВШИХ ГАЗОВ НА ТУРБИНЕ ТКР
Номинальное напряжение ……………12 В / 24 В
Рабочее напряжение ……………….….10,8 - 16 В / 16-32 В
Управляющее напряжение ………….…≤ 7,5 В / 15 В при давлении pe=0 кПа
Выключающее напряжение ……………≥ 1,5 В / 4 В при давлении pe=0 кПа
Потребляемый ток ……………………...≤ 0,72 А / 0,38 А при 12 В / 24 В, минус 40 ºС и 100%
рабочем цикле
Сопротивление ……………………..…..(23 ± 1,2) Ом / (90 ± 4,5) Ом
Индуктивность ………………………….обычно 75 мГн при 120 Гц (начало подъема)
Частота цикла ……………………………32 Гц при 13,5 В / 20 Гц при 27 В
Рабочая температура …………………….минус 30 ºС - плюс 130 ºС / минус 40 ºС - плюс 130 ºС
КОНФИГУРАЦИЯ РАЗЪЁМА

• Вывод 1 (провод 075) – ЭБУ вывод Р1-75 сигнал включения клапана. При управлении соединяется с массой;
• Вывод 2 (провод 308) – разъем ТС вывод 62 питание клапана от бортовой сети
Конфигурация разъёма
ДАТЧИК ТЕМПЕРАТУРЫ ОТРАБОТАВШИХ ГАЗОВ
Датчик температуры отработавших газов TS200-A-86, на двигателе не устанавливается, входит в комплект поставки. Датчик устанавливается в системе выпуска ТС и измеряет температуру отработавших газов. Сигнал датчика используется ЭБУ для определения аварийного режима работы двигателя путем сравнения предельной температуры отработавших газов с измеренным значением и позволяет контролировать условия работы двигателя и обеспечивать эффективное снижение токсичности отработавших газов.

Датчик температуры отработавших газов
ХАРАКТЕРИСТИКА ДАТЧИКА ТЕМПЕРАТУРЫ ОТРАБОТАВШИХ ГАЗОВ
Напряжение питания ……………………………..5 ± 0,1% В
Cопротивление при 0°С…………………………..200 Ом
Диапазон температуры …………………………...минус 40 - плюс 1000 °С
Зависимость сопротивления датчика и выходного напряжения от температуры.

КОНФИГУРАЦИЯ РАЗЪЁМА

• Вывод 1 (провод 056) – ЭБУ вывод Р1-56 выходной сигнал температуры;
• Вывод 2 (провод 047) – ЭБУ вывод Р1-47 масса датчика
Конфигурация разъёма
ДАТЧИК КИСЛОРОДА
Два датчика кислорода LSF 4.2, используются для обеспечения оптимальных условий эксплуатации катализатора на ТС. Датчики регулирует идеальное соотношение смеси воздуха и топлива. Потому что только в идеальной смеси ("стехиометрический состав горючей смеси") катализатор может конвертировать почти все вредные газы. У такой смеси (стехиометрическим считается соотношение воздух / топливо, равное для метана 17,2:1 (массовые части)) коэффициент избытка воздуха α = 1. Датчики на двигатель не устанавливаются, входят в комплект его поставки и устанавливаются в выхлопной трубе ТС и служат для определения наличия кислорода в отработавших газах. Один датчик устанавливается на расстоянии 100…150 мм от выхода из нейтрализатора, другой – на расстоянии 200…350 мм от расположения моторного тормоза (при его наличии), т.е. перед нейтрализатором.
Регулирующий датчик измеряет количество остаточного кислорода в ещё не обработанном выхлопном газе (до нейтрализатора). Сигнал этого датчика обрабатывается в ЭБУ и служит для изменения состава смеси.
Диагностирующий датчик измеряет количество остаточного кислорода в обработанном выхлопном газе (после нейтрализатора). Посредством сигнала этого датчика ЭБУ распознаёт отклонения в работе, связанные с выхлопами, и выдает соответствующее сообщение водителю.
Когда двигатель работает на обогащённой топливовоздушной смеси, уровень содержания кислорода в отработавших газах понижен, при этом датчик генерирует сигнал высокого уровня напряжением 0,65…1,0 В. При поступлении сигнала высокого уровня, ЭБУ начинает уменьшать длительность впрыска топлива, тем самым обедняя топливовоздушную смесь. Когда двигатель работает на обеднённой топливовоздушной смеси, уровень содержания кислорода в отработавших газах повышен, при этом датчик генерирует сигнал низкого уровня напряжением 40…200 мВ. При поступлении сигнала низкого уровня, ЭБУ начинает увеличивать длительность впрыска топлива, тем самым обогащая топливовоздушную смесь. Таким образом, по сигналу от датчика ЭБУ корректирует длительность впрыска топлива так, что состав топливовоздушной смеси оказывается максимально близким к стехиометрическому (идеальное соотношение воздух/топливо).
Датчик пластинчатый многослойный с керамической измерительной ячейкой и микропористым покрытием платиной, имеющий двухступенчатую характеристику напряжения в зависимости от значения коэффициента избытка воздуха. Для достижения требуемой рабочей температуры 350 °С, при недостаточной температуре ОГ, датчик имеет встроенный электрический подогреватель с номинальным напряжением 12 В и мощностью 7 Вт.

Датчик кислорода
ХАРАКТЕРИСТИКА ДАТЧИКА КИСЛОРОДА
Датчик кислорода или лямбда-зонд LSF 4.2 относится к датчикам стокового типа.
Выхлопные газы в стоковых датчиках проходят по внешней стороне керамического измерительного элемента, внутри которого находится эталонный воздух. В зависимости от остаточного содержания кислорода в выхлопе, на двух полюсах сенсорного элемента возникает разная концентрация молекул кислорода. Поскольку керамический датчик пропускает ионы кислорода, они могут перемещаться между двумя сторонами сенсорной ячейки, создавая электрическое напряжение. Стоковые датчики генерируют высокое напряжение (около 0,9 В) при насыщенной смеси (низкое содержание остаточного кислорода в выхлопных газах) и низкое (около 0,1 В) - при бедной смеси (высокое содержание кислорода). Скачок напряжения между отдельными уровнями происходит при λ=1. Классический стоковый зонд с подогревом или без представляет собой, так называемый контактный датчик. Датчик устойчив к высоким температурам и воздействиям окружающей среды и отличается быстрым временем реагирования, готовностью к работе через 10 секунд после пуска двигателя и долгим сроком службы.

КОНФИГУРАЦИЯ РАЗЪЁМА

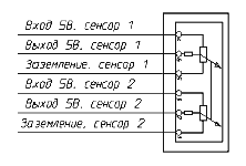
• Вывод 1 (провод 306) – разъем ТС вывод 59 питание датчика от бортовой сети (через предохранитель 10 А);
• Вывод 2 (провод 024/043) – ЭБУ вывод Р1-24/Р1-43 ШИМ сигнал для управления подогревателем датчика;
• Вывод 3 (провод 020/022) – ЭБУ вывод Р1-20/Р1-22 выходное напряжение (-);
• Вывод 4 (провод 021/023) – ЭБУ вывод Р1-21/Р1-23 выходное напряжение (+)
Конфигурация разъёма (до/после нейтрализатора)
ОТКАЗ ДАТЧИКА КИСЛОРОДА
При отказе датчика кислорода проверить наличие ошибки в памяти ЭБУ.
Внешние проявления, указывающие на то, что датчик вышел из строя:
- рывки, дергание и (или) неравномерная работа двигателя;
- ухудшение топливной экономичности;
- несоответствие нормам токсичности;
- преждевременный выход из строя катализатора.
ВНИМАНИЕ! ПОМНИТЕ, ПРАВИЛЬНАЯ РАБОТА ДАТЧИКА КИСЛОРОДА ВОЗМОЖНА ТОЛЬКО ПРИ ДОСТИЖЕНИИ ИМ РАБОЧЕЙ ТЕМПЕРАТУРЫ В 350 ºC.
ТАКИМ ОБРАЗОМ, ОБРАТНАЯ СВЯЗЬ В СИСТЕМАХ ВПРЫСКА НАЧИНАЕТ РАБОТАТЬ НЕ РАНЕЕ ЧЕМ ЧЕРЕЗ 2,5 МИНУТЫ ПОСЛЕ ХОЛОДНОГО СТАРТА ДВИГАТЕЛЯ
Проверку датчиков кислорода лучше всего проводить при очередном ТО.
Способы проверки датчика кислорода:
Первый способ.
Для проверки датчика кислорода необходимо на прогретом двигателе, работающем на холостом ходу, замерить аналоговым тестером выходное напряжение на проводах датчика.
Зачастую их четыре - 2 входных и 2 выходных. На вход датчик получает 12/24 В. На выходе должны получаться равномерные колебания амплитуды напряжения в интервале от 0,1 до 0,9 В.
Рассмотрим следующие ситуации:
1) напряжение соответствует идеалу - датчик и смесь в норме;
2) наблюдаются резкие/неравномерные скачки напряжения – датчик неисправен;
3) напряжение менее 0,1 или более 0,9 В - датчик неисправен;
4) напряжение постоянное, менее 0,1 В или более 0,9 - датчик неисправен;
Примечание: если напряжение равно 12 В, значит подключены не те провода.
5) напряжение около 0,1 В - слишком бедная смесь;
6) напряжение около 0,9 В - слишком богатая смесь.
Второй способ.
1. Проверьте основные параметры двигателя в соответствии с РЭ. Проверьте систему зажигания, целостность электрических цепей, напряжение в бортовой сети, работу системы впрыска и отсутствие внешних механических повреждений.
2. Проведите тест на бедную смесь. Для этого:
1) Отсоедините датчик кислорода от колодки и подключите к вольтметру.
2) Сымитируйте подсос воздуха, например, через наконечник впускного патрубка.
3) Если показания вольтметра быстро (менее чем за 1 сек.) упадут ниже 0,1 В, то кислородный датчик правильно реагирует на обеднение смеси. Если скорость изменения сигнала низкая или уровень остается выше 0,1 В, датчик подлежит замене.
3. Проведите тест динамических режимов. Для этого:
1) Подсоедините снова кислородный датчик к разъему колодки.
2) Подсоедините параллельно разъему вольтметр.
3) Восстановите нормальную работу системы впрыска.
4) Установите обороты двигателя в пределах 1500 мин-1.
5) Показания вольтметра должны плавать вокруг 0,5 В. Если это не так – датчик кислорода подлежит замене.
Если в процессе диагностики были выявлены случаи возникновения проблем с кислородным датчиком, или какой либо из тестов указывает на его неисправность, он подлежит замене. Работа с неисправным датчиком чревата выходом из строя катализатора.
ДАТЧИК ТЕМПЕРАТУРЫ ВОЗДУХА
Датчик температуры воздуха TF-L, измеряет температуру смеси наддувочного воздуха с ОГ системы РОГ во впускном коллекторе после дроссельной заслонки. Датчик установлен во впускном коллекторе головки цилиндров. Сигнал датчика используется ЭБУ для определения необходимого количества подаваемого топлива и диагностики работы системы РОГ (контроль эффективности радиатора ОГ).

Датчик температуры воздуха
ХАРАКТЕРИСТИКА ДАТЧИКА ТЕМПЕРАТУРЫ ВОЗДУХА
Номинальное напряжение ……………….…Функционирование допускается только с ЭБУ 5 ± 0,15 В
Номинальное сопротивление при 20°С ......2,5 кОм ± 5%
Диапазон температуры ……………………..минус 30 - плюс 130°С
Зависимость сопротивления датчика от температуры.

Характеристика датчика температуры R = f(T)
Зависимости сопротивления от температуры R(t).

Для проверки показаний датчика измерение сопротивления проводится при температуре минус 10°C, плюс 20°C и 80°C.
КОНФИГУРАЦИЯ РАЗЪЁМА

• Вывод 1 (провод 074) – ЭБУ вывод Р1-74 выходной сигнал температуры;
• Вывод 2 (провод 048) – ЭБУ вывод Р1-48 масса датчика
Конфигурация разъёма
ДАТЧИК ТЕМПЕРАТУРЫ ОКРУЖАЮЩЕГО ВОЗДУХА
Датчик температуры окружающего воздуха TF-L аналогичен датчику температуры воздуха и определяет температуру окружающего воздуха. Датчик на двигателе не устанавливается, входит в комплект поставки и располагается на транспортном средстве.
Сигнал датчика используется ЭБУ для отключения системы бортовой диагностики при пониженной температуре в соответствии с регламентом.
КОНФИГУРАЦИЯ РАЗЪЁМА

• Вывод 1 (провод 028) – разъем ТС вывод 49 – ЭБУ вывод Р1-28 выходной сигнал температуры;
• Вывод 2 (провод 007) – разъем ТС вывод 50 – ЭБУ вывод Р1-7 масса датчика
Конфигурация разъёма
ДАТЧИК ДАВЛЕНИЯ ВОЗДУХА
Датчик давления воздуха 115CF2-17, измеряет давление смеси наддувочного воздуха с ОГ системы РОГ во впускном коллекторе после дроссельной заслонки. Датчик установлен во впускном коллекторе головки цилиндров. Сигнал датчика используется ЭБУ для определения необходимого количества подаваемого топлива и диагностики работы системы РОГ (контроль эффективности радиатора ОГ).

Датчик давления воздуха
ХАРАКТЕРИСТИКА ДАТЧИКА ДАВЛЕНИЯ ВОЗДУХА

КОНФИГУРАЦИЯ РАЗЪЁМА

• Вывод 1 (провод 048) – ЭБУ вывод Р1-48 масса датчика
• Вывод 2 (провод 068) – ЭБУ вывод Р1-68 питание датчика (+5 В)
• Вывод 3 (провод 071) – ЭБУ вывод Р1-71 выходной сигнал давления;
Конфигурация разъёма
КЛАПАН ПЕРЕПУСКА ВОЗДУХА НА КОМПРЕССОРЕ ТКР
Клапан перепуска воздуха на компрессоре ТКР 7.04908, пневмоэлектрический управляется сигналом от ЭБУ и предназначен для перепуска воздуха на компрессоре ТКР и регулирования количества воздуха, которое поступает в двигатель. Устанавливается на отводящем патрубке компрессора.

Клапан перепуска воздуха на компрессоре ТКР
ХАРАКТЕРИСТИКА КЛАПАНA ПЕРЕПУСКА ВОЗДУХА НА КОМПРЕССОРЕ ТКР
Номинальное напряжение ………….………..……...U = 12 В
Рабочее напряжение …………..…………….….……U = 8…16 В
Ток при 13 В и 25 ºС …………………………….…….I = 1,03 ± 0,05 А
Ток при 13 В и минус 40 ºС ………………..……..….I = 1,36 ± 0,07 А
Индуктивность ……………………….…………..…...L = 11 мГн при 1 кГц
Сопротивление катушки ………………………..……Rw = (13,2±0,5) ом×(1+(Tw-23ºC)×0,0039/ºС)
Параллельный резистор …………………………..….Rp = 300 ом
Рабочая температура (сжатый воздух) ……………...T = минус 40ºС…160ºС
Максимальная температура обмотки катушки …..…Tмакс. = 205ºС
Напряжение при 25 ºС …………….…………………..U = 18 В неграничено
Напряжение при 25 ºС …………………………….…..U = 24 В 5 мин
Напряжение при 135 ºС …………….………...............U = 16 В неграничено
Рекомендованный момент затяжки клапана ..............9+1 Нм
КОНФИГУРАЦИЯ РАЗЪЁМА

• Вывод 1 (провод 060) – ЭБУ вывод Р1-60 сигнал включения клапана. При управлении соединяется с массой;
• Вывод 2 (провод 308) – разъем ТС вывод 62 питание клапана от бортовой сети (через предохранитель 10А)
Конфигурация разъёма
ДРОССЕЛЬНАЯ ЗАСЛОНКА С ДАТЧИКОМ ПОЛОЖЕНИЯ
Дроссельная заслонка электроуправляемая, предназначена для управления подачей воздуха во впускной коллектор двигателя. Расположена она на впускном патрубке, рисунок 4. На 4-х цилиндровые двигатели устанавливается дроссельная заслонка фирмы Bosch 0 280 750 149 диаметром 40 мм, а на 6-и цилиндровые - 0 280 750 150 диаметром 54 мм. Датчик положения определяет положение дроссельной заслонки.

Дроссельная заслонка с датчиком положения
КОНФИГУРАЦИЯ РАЗЪЁМА

• Вывод 1 (провод 115) – ЭБУ вывод Р2-115 управляющий сигнал;
• Вывод 2 (провод 090) – ЭБУ вывод Р2-90 управляющий сигнал;
• Вывод 3 (провод 083) – ЭБУ вывод Р2-83 питание заслонки (+5В);
• Вывод 4 (провод 117) – ЭБУ вывод Р2-117 масса заслонки;
• Вывод 5 (провод 065) – ЭБУ вывод Р1-65 датчик положения № 1 дроссельной заслонки;
• Вывод 6 (провод 082) – ЭБУ вывод Р2-82 датчик положения № 2 дроссельной заслонки
Конфигурация разъёма
ДАТЧИК ПОЛОЖЕНИЯ ПЕДАЛИ АКСЕЛЕРАТОРА (ЭЛЕКТРОННАЯ ПЕДАЛЬ)
На двигателях с механическим регулированием подачей топлива водитель, изменяя положение педали акселератора, через механический привод воздействует на положение рейки ТНВД и изменяет рабочие режимы двигателя.
На двигателях с электронной системой управления при изменении положения педали акселератора на потенциометре образуется электрический сигнал, информирующий ЭБУ об изменении частоты вращения или крутящего момента двигателя. Датчик положения педали акселератора TF-30 определяет ее положение и регистрирует перемещение педали или изменение угла ее положения и передает соответствующий сигнал в ЭБУ. Педальный модуль - единое устройство, состоящее из педали акселератора и двух потенциометрических датчиков положения.
УСТРОЙСТВО И ПРИНЦИП ДЕЙСТВИЯ
Важнейшая составная часть датчика - потенциометр, с которого снимается напряжение, зависящее от положения педали акселератора. Загруженная в ЭБУ характеристика датчика преобразует это напряжение в относительное перемещение или величину угла положения педали в процентах.
С целью облегчения диагностики и на случай повреждения основного датчика существует резервный (дублирующий) датчик - составная часть системы контроля.
Второй потенциометр выдает на всех рабочих режимах половину напряжения первого, чтобы можно было получить два независимых сигнала для выявления возможной неисправности.
ХАРАКТЕРИСТИКА ЭЛЕКТРОННОЙ ПЕДАЛИ
Характеристика электронной педали акселератора приведена на рисунке 58. Входное напряжение питания педали Uпит = 5 +- 0,5 В принято за 100%. В соответствии с характеристикой рассчитывается напряжение датчиков в зависимости от положения педали. Положение педали определяется при сравнении ее текущего положения и положения при максимальной подаче топлива.

Выходная характеристика педали акселератора
КОНФИГУРАЦИЯ РАЗЪЁМА
Педальный модуль устанавливается заводом-изготовителем транспортного средства, поэтому на каждом ТС его конструкция может быть различной. В связи с этим, нумерация контактов датчика перемещения педали может также различаться, поэтому ниже, приводится примерная схема подключения контактов.

• Вывод 1 (провод 048) – разъем ТС вывод 13 – ЭБУ вывод Р1-48 масса датчика 2;
• Вывод 2 (провод 069) – разъем ТС вывод 23 – ЭБУ вывод Р1-69 выходной сигнал датчика 2;
• Вывод 3 (провод 068) – разъем ТС вывод 32 – ЭБУ вывод Р1-68 питание датчика 2 (+5 В);
• Вывод 4 (провод 064) – разъем ТС вывод 14 – ЭБУ вывод Р1-64 питание датчика 1 (+5 В);
• Вывод 5 (провод 044) – разъем ТС вывод 16 – ЭБУ вывод Р1-44 масса датчика 1;
• Вывод 6 (провод 063) – разъем ТС вывод 15 – ЭБУ вывод Р1-63 выходной сигнал датчика 1
Конфигурация разъёма
ДАТЧИКИ, ОБЕСПЕЧИВАЮЩИЕ БЕЗОПАСНОСТЬ ДВИЖЕНИЯ ТС
Для обеспечения безопасности движения транспортных средств на них могут быть установлены дополнительные датчики и устройства: датчик положения педали тормоза, датчик положения педали сцепления и кнопка моторного тормоза.
ДАТЧИК ПОЛОЖЕНИЯ ПЕДАЛИ ТОРМОЗА
Датчик положения педали тормоза – это контактный датчик, определяющий положение педали рабочего тормоза (педаль нажата или не нажата). Функцию датчика может выполнять как отдельный датчик, устанавливаемый под педаль тормоза, так и выключатель стоп-сигнала («лягушка»), устанавливаемый в контуре низкого давления пневматической тормозной системы.
На ТС могут устанавливаться и оба устройства: датчик положения педали и выключатель стоп-сигнала.
При нажатии педали тормоза датчик или выключатель подает в ЭБУ сигнал о начале перемещении педали. В результате отключается педаль акселератора и снижается частота вращения двигателя до минимальной частоты холостого хода.
При нажатии педали тормоза также отключаются некоторые функции, например, системы круиз-контроля и отбора мощности.
ОТКАЗ ДАТЧИКА ПОЛОЖЕНИЯ ПЕДАЛИ ТОРМОЗА
При отказе датчика положения педали тормоза ЭБУ сигнализирует об ошибке посредством
диагностической лампы. При отказе датчика или выключателя стоп-сигнала двигатель не реагирует на педаль акселератора, и частота вращения коленчатого вала устанавливается равной минимальной частоте холостого хода.
ДИАГНОСТИКА НЕИСПРАВНОСТИ ДАТЧИКА
Диагностика неисправности датчика зависит от его модели, поэтому по вопросам диагностики необходимо обращаться к непосредственным производителям ТС.
Если конструкция датчика предусматривает регулировку, то необходимо отрегулировать датчик положения педали согласно Руководству по эксплуатации ТС.
ДАТЧИК ПОЛОЖЕНИЯ ПЕДАЛИ СЦЕПЛЕНИЯ (ДЛЯ МЕХАНИЧЕСКОЙ КП)
Датчик положения педали сцепления – это контактный датчик, определяющий положение педали (педаль нажата или не нажата). Устанавливается он на педаль сцепления.
Датчик предназначен для определения ЭБУ момента включения/выключения передачи и изменения режима работы двигателя (холостой ход, нагрузка после включения трансмиссии).
При нажатии педали сцепления датчик подает в ЭБУ сигнал о начале перемещении педали.
В результате отключается педаль акселератора и снижается частота вращения двигателя до минимальной частоты холостого хода, что уменьшает вероятность рывков ТС при переключении
передач.
ОТКАЗ ДАТЧИКА ПОЛОЖЕНИЯ ПЕДАЛИ СЦЕПЛЕНИЯ
Отказ датчика положения педали сцепления и диагностика его неисправности аналогичны датчику положения педали тормоза.
КНОПКА МОТОРНОГО ТОРМОЗА
Моторный тормоз – это вспомогательная тормозная система, ограничивающая скорость движения автомобиля на длительных спусках. Выполняется она не зависимой от рабочей тормозной системы и в конечном итоге увеличивает срок службы тормозных накладок, так как отсутствует их износ и разогрев.
В качестве тормоза-замедлителя на каждом ТС можно использовать двигатель, работающий как воздушный компрессор (торможение двигателем). Для этого водитель, не отключая сцепление, убирает ногу с педали акселератора, переводя работу двигателя на режим холостого хода. Эффективность торможения двигателем, увеличивается при включении низших передач в трансмиссии. Однако создаваемый тормозной момент в этом случае небольшой и не обеспечивает необходимого замедления ТС, особенно автомобиля большой массы.
Для увеличения эффективности торможения двигателем устанавливают моторный (горный) тормоз, представляющий собой дополнительные устройства для уменьшения подачи топлива и поворота заслонки в выпускном трубопроводе, создающей дополнительное сопротивление. После перекрывания выпускного трубопровода заслонкой моторного тормоза движению поршня двигателя, стремящегося вытолкнуть отработавшие газы через выпускной трубопровод на такте выпуска, создается сопротивление. При этом происходит сжатие ОГ. Вследствие этого сопротивления перемещению поршня происходит замедление вращения коленчатого вала, и, следовательно, передача от него через трансмиссию тормозного момента к ведущим колесам ТС.
Управление моторным тормозом осуществляется кнопкой, которая может быть нормально замкнутой или нормально разомкнутой.
При нажатии на кнопку в ЭБУ подается сигнал о включении моторного тормоза и включается электромагнитный клапан управления заслонкой моторного тормоза. В результате деактивируется педаль акселератора, снижается частота вращения двигателя до минимальной частоты холостого хода и закрывается заслонка моторного тормоза в системе выпуска ОГ.
ОТКАЗ КНОПКИ МОТОРНОГО ТОРМОЗА
При отказе кнопки моторного тормоза сигнал о возникшей ошибке на диагностическую лампу от ЭБУ не подается. Также отсутствует лампа на панели приборов, сигнализирующая о включении моторного тормоза. При отказе кнопки двигатель не реагирует на педаль акселератора, и частота вращения коленчатого вала устанавливается равной минимальной частоте холостого хода.
Причиной неисправности нормально замкнутой кнопки моторного тормоза является отсутствие контакта. При потере контакта (заклинивание кнопки в нажатом состоянии, окисление контактов, обрыв провода) включается моторный тормоз, и двигатель работает с ограниченной частотой вращения коленчатого вала равной минимальной частоте.
Причиной неисправности нормально разомкнутой кнопки моторного тормоза является наличие постоянного контакта (заклинивание кнопки в нажатом состоянии). Если снять провод хотя бы с одного контакта кнопки, то моторный тормоз отключится, и двигатель будет работать без ограничения частоты вращения.
Восстановить контакт в кнопке в большинстве случаев удается 2-3-х кратным нажатием на нее.
ДИАГНОСТИКА НЕИСПРАВНОСТИ КНОПКИ
Для проверки работоспособности кнопки моторного тормоза необходимо увеличить частоту вращения до 1500 мин-1 и нажать на нее. Не отпуская кнопку, нажать педаль акселератора. При исправной кнопке двигатель не будет реагировать на педаль акселератора.
руководства по эксплуатации двигателей семейства ЯМЗ-530.