Распределение штекеров водительской двери TMF Mercedes Actros
Распределение штекеров электромотора стеклоподъёмника
'Водительская дверь'

Распределение контактов в случае кода FZ3
- 1: Электромотор стеклоподъёмника (-)
- 2: Датчик Холла (+)
- 3: Не занято
- 4: Электромотор стеклоподъёмника (+)
- 5: Датчик Холла (-)
- б: Сигнальный провод датчика Холла
Распределение контактов в случае кода FZ1
- 1: Электромотор стеклоподъёмника (-)
- 2: Не занято
- 3: Не занято
- 4: Электромотор стеклоподъёмника (+)
- 5: Не занято
- б: Не занято
Распределение штекеров электромотора блокировки 'Водительская дверь'

Распределение контактов;
- 1: Сигнал 'Водительская дверь РАЗБЛОКИРОВАНА'
- 2: Сигнал 'Водительская дверь ЗАБЛОКИРОВАНА'
- 3: Электромотор блокировки (-)
- 4: Электромотор блокировки (+)
- 5: Не занято
- б: Сигнал 'Водительская дверь ОТКРЫТА'
Указание :
- Указанная полярность на контакте 3/4 действительна при процессе разблокировки.
Распределение штекеров концевого выключателя замка

Распределение контактов;
- 1: Концевой выключатель замка 'ОТКРЫТЬ'
- 2: Концевой выключатель замка (-)
- 3: Концевой выключатель замка 'ЗАКРЫТЬ'
Указание :
- В случае а/м с правым рулём контакт 1 и контакт 3 концевого выключателя замка S87 поменяны местами.
Распределение штекеров панели выключателей 'Водительская дверь'

Распределение контактов;
- 1: Светодиод 'Центральная блокировка'
- 2: Светодиод 'Подогрев зеркала'
- 3: Клавиша управления 'Регулирование положения зеркала по горизонтали'
- 4: Клавиша управления 'Регулирование положения зеркала по вертикали'
- 5: Внутрисалонная клавиша 'Разблокировать/заблокировать'
- б: Клавиша управления стеклоподъёмником водительской двери
- 7: Клавиша управления стеклоподъёмником двери переднего пассажира
- 8: Клавиша управления 'Выбор зеркала'
- 9: Клемма 31 (масса)
- 10: Подсветка органов управления
Расположение штекерных соединений на блоке управления
Дверной модуль со стороны водителя TMF

- XI: Штекерное соединение 10-полюсное
- Х2: Штекерное соединение 32-полюсное
Распределение штекеров XI на блоке управления Дверной модуль со стороны водителя TMF

Распределение контактов;
- 1: Электромотор блокировки (-)
- 2: Электромотор блокировки (+)
- 3: Подогрев зеркала (+)
- 4: Электромотор стеклоподъёмника водительской двери (+)
- 5: Подогрев зеркала (-)
- б: Электромотор стеклоподъёмника водительской двери (-)
- 7: Клемма 31 (масса)
- 8: CAN-Low
- 9: CAN-High
- 10: Клемма 30
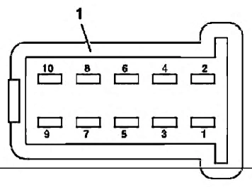
Распределение штекеров Х2 на блоке управления Дверной модуль со стороны водителя TMF

Распределение контактов:
- 1: Провод к блоку управления Базовый модуль GM
устанавливается только в сочетании с блоком управления EDW система противоугонной сигнализации (код FZ5).
- 2: Светодиод 'Подогрев зеркала'
- 3: Клемма 31 (масса)
- 4: Подсветка органов управления панели выключателей 'Водительская дверь'
- 5: Клавиша управления стеклоподъёмником водительской двери
- б: Клавиша управления стеклоподъёмником двери переднего пассажира
- 7: Клавиша управления 'Выбор зеркала'
- 8: Концевой выключатель замка 'ОТКРЫТЬ'
- 9: Концевой выключатель замка (-)
- 10: Сигнал 'Водительская дверь РАЗБЛОКИРОВАНА' от электромотора блокировки
- 11: Сигнал 'Водительская дверь ЗАБЛОКИРОВАНА' от электромотора блокировки
- 12: Не занято
- 13: Не занято
- 14: Не занято
- 15: Электромотор регулировки положения зеркала 'Вертикально'
- 16: Электромотор регулировки положения зеркала 'Горизонтально'
- 17: Светодиод 'Центральная блокировка'
- 18: Датчик Холла (+) на электромоторе стеклоподъёмника
- 19: Датчик Холла (-) на электромоторе стеклоподъёмника
- 20: Сигнал датчика Холла на электромоторе стеклоподъёмника
- 21: Клавиша управления 'Регулирование положения зеркала по горизонтали'
- 22: Клавиша управления 'Регулирование положения зеркала по вертикали'
- 23: Концевой выключатель замка 'ЗАКРЫТЬ'
- 24: Внутрисалонная клавиша 'Разблокировать/заблокировать'
- 25: Плафон освещения в нижнем торце двери 'Водительская дверь' (-)
- 26: Не занято
- 27: Сигнал 'Водительская дверь ОТКРЫТА' от концевого выключателя защёлки двери в электромоторе блокировки
- 28: Не занято
- 29: Не занято
- 30: Не занято
- 31: Плафон освещения в нижнем торце двери 'Водительская дверь' (+)
- 32: Электромотор регулировки положения зеркала 'Водитель' (-)
Указание :
- Контакты 18,19, 20 для датчика Холла электромотора стеклоподъёмника заняты только в случае кода FZ3.
Назначение контактов штекерного соединения Х22.1

Распределение контактов;
- 1: Провод к блоку управления Базовый модуль GM устанавливается
только в сочетании с блоком управления EDW система противоугонной сигнализации (код FZ5).
- 2: CAN-High
- 3: Клемма 31 (масса)
- 4: Клемма 30
- 5: CAN-Low
Назначение контактов штекерного соединения Х24

Распределение контактов;
- 1: Подогрев зеркала (+)
- 2: Подогрев зеркала (-)
- 3: Электромотор регулировки положения зеркала 'Вертикально'
- 4: Электромотор регулировки положения зеркала (-)
- 5: Электромотор регулировки положения зеркала 'Горизонтально'
- б: Не занято