Компоненты системы ECAS прицепа
Компоненты установки ECAS
• датчик(и) хода;
• Датчик давления (не обязателен, т.е. его использование зависит от выбранного варианта системы);
• блок управления (ECU);
• магнитный клапан(ы) ECAS;
• блок управления (дополнение);
• пневматические компоненты (пневморессоры,
возможен подъемный сильфон, клапаны ограничения давления, трубопровода, ресивер сжатого воздуха).
Электропитание осуществляется через включенную электронную часть ABS или EBS, и потому оно особо рассматривается при описании электронной части ECAS.
Датчики
В начале регулировки находятся датчики. Они измеряют регулируемые параметры и передают данные о них по кабелям датчиков в электронную часть.
В системе ECAS нужно обязательно установить минимум один датчик хода.
Для управления дополнительными функциями используется один датчик давления.
Датчик хода 441 050 011 0
Датчик хода определяет фактическое значение для постоянной регистрации изменений в высоте.
Расположение (ход) сердечника в катушке замеряется датчиком хода. Принцип измерения - индуктивный.

Датчик хода с креплением рычага на оси датчика
Вращательное движение передается рычагом во внутреннюю часть датчика. Это движение преобразуется по принципу работы без зазора кривошипного механизма в линейное движение сердечника в катушке. При "погружении" ферромагнитного сердечника в неподвижную катушку происходит сдвиг фаз между током и напряжением. Блок ECU измеряет отклонение тока и
преобразует его в значения "count".
Работу датчика хода нельзя проверить вольтметром.
При необходимости проверки датчика хода можно проверить сопротивление катушки. Сопротивление при этом должно составлять около 120 Ом. Замер индуктивности катушки производится специальным
контуром в ECU более 50 раз в секунду.
Работоспособность контролируется блоком ECU.
Датчик хода находится на раме автомобиля рядом с осью, пневмоподвески которой нужно регулировать.
Разметка отверстий для крепления датчика идентична тому, как это применяется в традиционных клапанах пневмоподвески.
На связанных (передних) осях, как правило, датчик хода (регулировка с 1 датчиком хода) находится над центром оси. (Главные) оси, постоянно находящиеся на днище, помимо исполнения с одним датчиком хода вполне могут оснащаться и 2-мя датчиками хода.
Увеличение возможностей регулировки у отдельных датчиков хода (с 2-мя датчиками хода на одной оси):
– Установите оба датчика так, чтобы они по возможности располагались далеко друг от друга.
Датчик хода жестко связан с регулируемой осью с помощью резьбового стержня. На его конце находятся наконечники из резины для амортизации и компенсации.
Инструкции по установке
При одном горизонтальном рычаге (исходное положение 90°) датчик хода имеет диапазон измерений от + 43° до - 40°. На рис. показано расположение плюсовых и минусовых областей.
Оптимальным является использование всего диапазона управления при приблизительно горизонтальном положении рычага датчика на уровне движения. Рычаг датчика располагается под углом 90° относительно датчика хода. Это соответствует 80-100 единицам "counts".
Уровень движения в таком положении регулируется лучше всего.
Максимальный диапазон регулировки рычагом (+/- 50°) нельзя превышать.
Для связи с рычагом лучше подходит резьбовой стержень, чем гладкий. При этом почти исключается сползание внутри резины.
Длина рычага датчика выбирается. Но она должна быть одинаковой для датчиков хода одного электронного блока.
Короткий рычаг датчика
Короткий рычаг датчика сам обеспечивает при небольшом изменении положения подачу сигнала датчика и поддерживает высокую точность измеряемых значений. Но он охватывает небольшой диапазон регулировки.
Длинный рычаг датчика
Длинный рычаг датчика охватывает большой диапазон регулировки за счет раздельного различения измеряемых значений. Это нужно для оптимальной нагрузки углов отклонения.
Следует избегать кручения рычага, т.к. в таком случае на оси датчика могут возникать недопустимые
опрокидывающие моменты. Все поворотные оси по этой причине должны быть установлены параллельно.

Датчик хода существует только в одном варианте.
Но рычаг датчика можно устанавливать на оси датчика, который вращается без упирания в корпусе датчика, с шагом в 90°. Для нормальной работы и точности определения измеряемых значений нужно точно выровнять ось датчика.
В помощь предусмотрено два наплыва на оси датчика, действующие как направляющие рычага.
Они обращены под прямым углом к направлению движения сердечника вправо или влево, чтобы диапазон измерений датчика хода использовался оптимально.
Датчик хода должен совершенно свободно двигаться по всему диапазону регулирования, а его рычаг не
должен опрокидываться.
При установке датчика хода в конструкции автомобиля учитывайте то, как будет реагировать датчик хода на подъем и спуск.
• Погружение цилиндрической катушки в сторону ПОДЪЕМ повышает индукцию.
• Выдвижение цилиндрической катушки в сторону СПУСК понижает индукцию.
Полученные при измерении значения могут отображаться средством диагностики (ПК).
• Подъем конструкции приводит к повышению отображаемых значений при измерении.
• Спуск конструкции приводит к уменьшению отображаемых значений при измерении.
Датчик давления
Для использования не зависящих от давления функций ECAS нужен датчик давления. Датчик давления определяет давление в пневморессоре постоянно находящейся на днище оси (в прицепе, как правило, задней оси) для следующего:
• управление подъемной осью;
• управление увеличением сцепления колес или
• для компенсации давления в шинах.
Измерение давления производится тензорезистором. При подаче давления происходит изменение сопротивления на мосту Уитстона, за счет чего создается напряжение, пропорциональное давлению. В зависимости от исполнения на датчик давления подается ток 8...32 В.
Через сигнальный провод (кабель датчика) пропорциональное давлению напряжение выдается в
электронную часть.
При отсутствии давления (смещение датчика давления) выходной сигнал составляет 0,5 В.
Передаваемое напряжение в верхней границе измеряемых значений при давлении 10 бар, в зависимости от исполнения датчика давления, составляет 4,5 В (исполнение датчика давления с соединением байонетного типа согласно DIN 72 585-A1-3.1 - короткий: байонетный тип по DIN) или 5,5 В (исполнение датчика давления с байонетом Schlemmer - более старый вариант).
Нельзя превышать максимально допустимое давление для датчиков давления 16 бар.
Измеренные значения выдаются в цифровом виде, т.е. ступенчато. Полученные при измерении значения могут отображаться средством диагностики (ПК).
Если установлена система ECAS с EBS установка датчика давления в ECAS не требуется. Сигналы датчика давления системы EBS, в частности, используются и для системы ECAS.
Из EBS данные передаются по K-проводу в систему ECAS.
И тогда электронный блок ECAS оценивает данные датчика давления, когда в системе нет регулировки
положения осей или компенсации давления в шинах. Если уже установлен дополнительный датчик давления, то сигналы собственного датчика давления системы ECAS имеют приоритет по сравнению с данными, передаваемыми по К-проводу.
Датчик давления находится на отдельном сильфонном соединении пневмоподушки или на тройнике ввода сильфона.
Не устанавливайте датчик давления в пневматический трубопровод между сильфоном и магнитным клапаном ECAS. Иначе в связи с большой динамикой при протекающих процессах подачи воздуха и прокачки возможны погрешности в измерении.
В более старых системах установка между датчиками давления была возможна, но на практике она не
использовалась. Одного датчика давления достаточно для необходимых регулировок. В настоящее время встречаются 2 различных варианта датчиков давления в системах ECAS для прицепов:

Датчик давления 441 040 003 0
Датчик давления 441 040 003 0 с байонетным соединением Schlemmer для датчика кабеля.
Минимальные цифровые интервалы при измерении равны 1/20 бар. 1 бар соответствует 20 измеренным величинам.
От такого варианта датчика давления все больше отказываются в пользу далее описанных вариантов.

Датчик давления 441 040 (007)/013/015 0
Датчик давления 441 040 (007)/013/015 0 с байонетным соединением для датчика кабеля.
Минимальные цифровые интервалы при измерении равны 1/16 бар. 1 бар соответствует 16 измеренным величинам. Такие варианты датчиков давления все больше применяются в системах прицепов (также при наличии EBS) в связи с использованием соединений по DIN, а от ранее названных вариантов отказываются.
– В случае замены датчиков давления нужно изменить параметры в электронной части, которые затрагивают регулировки, зависящие от давления.

Распределение контактов Датчик давления 441 040 003 0 (исполнение с байонетом Schlemmer)

Распределение контактов датчика давления 441 040 (007)/013/015 0 (исполнение с байонетом DIN)
Электронный блок (ECU) 446 055 ... 0
ECU - это основа системы. Электроснабжение блока ECAS производится за счет электронной части ABS или EBS.
В электронной части ECAS координируется регулировка системы пневматического подрессоривания. Это означает:
• Поступающие от датчика хода сигналы постоянно контролируются, преобразуются в понятные для
компьютера сигналы (counts) и оцениваются.
• Если датчик давления является часть конфигурации системы, то такие поступающие сигналы постоянно контролируются, преобразуются в единицы counts и оцениваются.
• В соответствии с настройкой параметров или составом системы сигналы выдаются на магнитные клапаны ECAS для "отрегулирования" заданных значений в пневмоподвесках.
• Параметризованные, откалиброванные и в дальнейшем установленные данные (например уровень согласно данным памяти) сохраняются и подвергаются управлению.
• Встречающиеся ошибки регистрируются, сохраняются в памяти и при необходимости индицируются
сигнальной лампой на прицепе. Они могут быть считаны при помощи соответствующей программы.
• Соответствующей программой осуществляется параметризация и калибровка системы. Для
параметризации необходимо обучение, а для калибровки инструктаж.
• Обеспечивается обмен данными с блоком управления и выполняются различные функции контроля.
Для обеспечения быстрого отклика в виде регулировки на изменения фактических значений микропроцессор циклически отрабатывает программу за доли секунды (25 мс). При выполнении программы выполняются все упомянутые задания. Эта программа жестко записана в постоянной памяти (ROM) и не может быть изменена.
Однако она использует данные (параметры), хранящиеся в оперативной (произвольно изменяемой) памяти. Эти параметры влияют на вычислительные операции и тем самым на то, как реагирует механизм регулировки блока ECU. При их помощи программе передаются данные системы и преднастройки, касающиеся автомобиля и функций.
Блок ECU находится на раме прицепа, преимущественно рядом с электронным блоком ABS или EBS в защитном корпусе. Этот защитный корпус соответствует корпусу установки ABS-VARIO С. Кабели системы ECAS проходят через боковые отверстия внутрь корпуса к гнездам.
В целях диагностики ECU нельзя открывать.
Открывать ECU нужно в таких случаях:
• Сборка или изменение системы для установки или извлечения соединений компонентов ECAS на
разъемной панели.
• Проверка цепи до подключенных компонентов ECAS.
После открытия ECU под крышкой находится панель с гнездами отдельных компонентов ECAS. За этой
панелью расположен блок ECU, который дальше не доступен.
Общая розетка диагностики для ABS или EBS и ECAS, к которой можно подсоединить диагностический кабель, находится на нижней стороне защитного корпуса ECAS или на раме автомобиля.
Модификации ECU для использования на прицепах

Панель гнезд модификации ECU 446 055 060 0
446 055 060 0
Стандартный вариант для всех прицепов с ABS VARIO C.
Используется и для VCS. Предпочтительна версия 446 055 065 0.
Не используется на новых автомобилях.
Производство налажено с начала 1999 г.
446 055 065 0
Стандартный вариант для всех прицепов с ABS. Замена для модификации ECU 446 055 060/070 0.
446 055 066 0
Стандартный вариант для всех прицепов с EBS.
446 055 070 0
Вариант с сокращенным набором функций для полуприцепов (регулировка с 1-м датчиком хода;
подъемная ось отсутствует) с ABS VARIO C, также используется для VCS. Предпочтителен вариант
446 055 065 0. На основе модификации ECU 446 055 060 0.
Не используется на новых автомобилях.
Производство налажено с начала 1999 г.
На рис. показана крышка защитного корпуса в том виде, как она откинута вниз от нижнего кожуха для монтажа.
Крышка при этом - головная часть.
• Отверстия (1) для выпуска появляющегося в корпусе конденсата находятся на верхней стороне, которая при закрытом кожухе должна обязательно быть обращено книзу.
• Наклейка справа вверху обозначает используемые гнезда (2).
• На внутренней стороне крышки можно найти панель с 20 пронумерованными гнездами (3). К этим гнездам подсоединяются разъемы с соединительными кабелями отдельных компонентов ECAS.
• Рядом с гнездом X3 находится предохранитель на 10 A перед ABS или на 5 A перед EBS (4).
• На наклейке дополнительно дано краткое описание распределения гнезд (5) на панели.
Подключение системы
– Прежде чем начать установку нужно сначала определить место для ECU.
Принципиально важно расположить кабельные соединения с боков.
Выберите место установки нижней части корпуса с таким условием:
• ECU располагается не в области, куда попадают брызги от колес.
• блоку ECU не угрожает опасность со стороны камней.
• он легко доступен для проверки системы.
Диаметры отверстий для нижней части корпуса приведены в залитом виде на тыльной стороне
корпуса.
– Просверлите для винтов M 6 из комплекта отверстия 8 мм.
При этом будет достаточный допуск, если одно из 4 отверстий будет смещено.
Предотвращение коррозии:
– Прокрасьте краской просверленные отверстия.
– Зачистите просверленные отверстия. Так можно предотвратить опасность повреждения.

Панель гнезд модификации ECU 446 055 065 0
1 Дренажные отверстия
2 Обозначение занимаемых гнезд
3 20 пронумерованных гнезд
4 Предохранитель на 10 A или 5 A
5 Краткое описание гнезд
Предотвращение электрохимической реакции при попадании влаги:
– Вставляйте стальные и оцинкованные винты в алюминиевые детали только с воском (спрей для
полостей) или пластичной смазкой.
–Закрепите блок ECU 4-мя винтами с внутренним шестигранником из комплекта к нижней части
корпуса.
Внутрь корпуса ECU не должна попасть вода или грязь.
– Поэтому винты нужно затянуть так, чтобы полностью убрался зазор между крышкой и корпусом.
Прокладка на имеется в виде запчасти. При механических повреждениях WABCO аннулирует всякую гарантию.
Поэтому ни в коем случае не проверяйте толщину и сохранность формы прокладки острыми
предметами, например, ножницами или отверткой.
Рядом с заводской табличкой слева и справа имеется 2 лабиринтных уплотнения из резины (5, ↑ рис. 19).
Их полукруглые отверстия служат для "дыхания" водонепроницаемого корпуса. Оба отверстия должны быть обращены вниз. Этим определяется место установки.
Поверхность нижней части корпуса из алюминия (литье под давлением) обработана. С боков предусмотрено зажимное устройство для винтовых соединений PG.
– Не перекрывайте используемые отверстия резиновым кольцом и заглушками.
Новая конструкция нижней части корпуса имеет еще только получившие определение литые проемы, которые при необходимости выбиваются пробойником.
Преимущество:
Не затрачивается время на ввинчивание заглушек, а возможные неплотности сведены к минимуму.
– Выполните монтаж с предписанным моментом затяжки 0,8 - 1 Нм.
Ввод кабеля в корпус
– Кабель должен войти в нижнюю часть корпуса, где его нужно пропустить снизу через соответствующие места ввода.
При этом не допускайте попадания воды с оболочки кабеля в уплотнение, и она перед этим не должна скапливаться.

для монтажа предпочтительно использовать внутреннюю сторону рамы
Кабельные вводы; водосборник
Иначе у кабелей должен быть предусмотрен водосборник.
– Перед вводом в нижнюю часть корпуса кабеля магнита или датчика вставьте подходящий прижимной винт и захват в такой последовательности.
– Если монтажная длина выбрана с избытком, нужно "спрятать" "излишки" кабеля, уложив их
Z-образной формой.
Распределение контактов (модификация ECU 446 055 065 0)
В частности, распределение таково:
Гнездо X1
Диагностический провод к диагностической розетке на корпусе.
Гнездо X2
Провода к блоку управления (вверху слева: клемма 31 / вверху справа: клемма 15 / внизу слева: Тактовый провод или "CLOCK" / внизу справа: провод для передачи данных).
Гнездо X3
Провод питания и передачи сигнала C3 от электронной части ABS или EBS.
Гнездо X4
Вывод аккумулятора прицепа для питания ECAS при остановке (вверху: выключатель аккумулятора / внизу слева: плюсовой провод / внизу справа: провод "масса") - ("датчик давления для задней оси справа" только при модификации ECU 446 055 060 0).
Гнездо X5
Вывод датчика давления для определения давления пневморессор (вверху: плюсовой провод / внизу слева: провод для передачи сигналов / внизу справа: провод "масса" - ↑ также 8.1.2 датчик давления).
Гнездо X6
Вывод для устанавливаемой на прицепе сигнальной лампы (24В 5Вт).
Гнездо X7
Для подсоединения выключателя уровня в целях регулировки 3-го уровня движения или разгрузочного
уровня (подключение на "массу").
Гнездо X8
вверху вывод L-провода ABS к диагностической розетке (только модификация ECU 446 055 065 0 - иначе провод "масса") / внизу: провод от выключателя уровня для настройки 2-го уровня движения (подключение на "массу").
Гнездо X9
Провод от (кнопочного) выключателя для увеличения сцепления колес в кабине водителя (подключение на "массу" для модификации ECU 446 055 060/070 0, подключение на "плюс" или "массу" для модификации ECU 065/066.
Гнездо X10
Провод к выключателю стоп-сигнала для отключения ECAS при торможении (подключение на "плюс").
Гнездо X11
Соединительный провод к магнитному клапану ECAS (или части магнитного клапана ECAS) для управления главной осью; вверху слева: Подключение на "массу" / вверху справа: Управляющий вывод клапана подачи воздуха и прокачки / внизу слева: управляющий вывод левого клапана пневморессоры / внизу справа: управляющий вывод правого клапана пневморессоры.
Гнездо X12
Вывод датчика хода передней оси (также к левому датчику хода главной оси при необходимости раздельного управления с правой и левой стороны блоком управления - также гнездо X13).
Гнездо X13
Вывод правостороннего датчика хода главной оси при регулировке главной оси 2-мя датчиками хода
Гнездо X14
Вывод левостороннего датчика хода главной оси (WABCO рекомендует использовать это гнездо всегда, также только при 1-м датчике хода в системе).
Гнездо X15
Вывод для выключателя для принудительного спуска - под подъемную ось.
Гнездо X16
Вывод для магнитного клапана ECAS для управления передней осью.
Гнездо X17
Вывод для магнитного клапана, который случае падения давления (напр., при разрыве) в пневморессорах подает на управляющий вводы регулятора тормозных сил полное давление в пневморессорах.
Гнездо X18
Управление пневморессорой с отдельным магнитным клапаном (только при модификации ECU 446 055 060 0, в ином случае не занимается).
Гнездо X19
Вывод для функции СПУСК передней оси в части магнитного клапана ECAS для управления подъемной
осью.

Использование соединения (модификация ECU 446 055 065 0)
Гнездо X20
Вывод для функции ПОДЪЕМ передней оси в части магнитного клапана ECAS для управления подъемной осью.
Гнезда 12 вплоть до 20 имеют по 2 контакта. Верхний контакт всегда "масса" и он последовательно перемыкается для упомянутых гнезд. То есть, если отсутствует контакт "масса", его можно использовать на свободном гнезде.
Нижний контакт соответствует описанным функциональным выводам и должен подключаться
"напротив массы".
Чтобы не их перепутать, кабели в электронной части можно отметить разными цветами. Другой способ разметки кабелей встречается в электронных блоках, где они поставляются уже подготовленными (в сборе).
При этом кабели можно разметить наружными "флажками" с символом подсоединяемого компонента.
Электроснабжение и загрузка для диагностики
В случае оснащения прицепов системами VARIO C-ABS электропитание для модификации ECU 446 055 060 0 осуществляется питающим модулем. Он находится в корпусе электронной части ABS и должен подсоединяться отдельно.
В схеме соединений этого модуля питания приведен не только порядок питания, но и подсоединение при использовании в прицепе аккумулятора.
Подсоединение ABS VARIO C с модификацией ECAS-ECU 446 055 065 0, при которой модуль питания больше не нужен.
В более современном варианте, где прицепы оснащены VCS (VARIO COMPACT ABS), в ECAS подается ток от диагностического соединения электронной части ABS.
Сигнал C3 доступен для электронной части ECAS с отдельным проводом C3.
Для подсоединения достаточно вставить штекер в гнездо.
Гнезда X1 и X3 в электронной части ECAS имеют особое значение. С помощью них подводится электропитание и цепь диагностики.
На прицепах с торможением от EBS электроснабжение установки ECAS осуществляется аналогично прицепам, оснащенным VCS. Питающий кабель ECAS подключается к выводу DIA/ECAS/ISS электронной части EBS. Сигнал C3 доступен для блока управления ECAS с проводом К.
Электропитание для EBS (модификация ECU 066) В первых конструкциях между гнездом Х3 вверху справа и гнездом Х3 внизу слева устанавливалась перемычка. Это, как правило, больше не требуется. При сомнении установка перемычки не должно привести к повреждению, т.к. она уже есть внутри. Нижние контакты гнезда Х3 не нужны.

Различия, характерные для системы, при использовании гнезд в ABS Vario C, VCS и EBS

Схема соединений модуля питания для модиф. ECAS-ECU 060 с ABS-VARIO C (без тока)
X1: Питание от аккумулятора
1 = +24 В (клемма 30)
2 = "масса" (клемма 31)
X2: ABS-ДИАГНОСТИКА к диагн. розетке
1 = +24 В (клемма 30)
2 = + провод сигн. лампы
X3: Выключатель аккумулятора
1 = зажигание (клемма 15)
2 = +24 В (клемма 30)
3 = "масса" (клемма 31)
X4: питание ECAS
1 = +24 В (клемма 30)
2 = зажигание (клемма 15)
3 = "масса" (клемма 31)
X5: ISO 7638 = X6: питание ABS
1 = +24 В - магнитный клапан
ABS (клемма 30)
2 = зажигание - ABS-ECU (кл.15)
3 = "масса" сигнальной лампы
4 = "масса" магнитного клапана
ABS + ECU (кл. 31)
5 = + провод сигн. лампы
Использование аккумулятора
ECAS можно использовать и без подсоединения к автомобилю при стоянке. Для электропитания при этом в прицепе нужен аккумулятор (24 В, 7,2 Ампер-час). Этот аккумулятор, например, может состоять из двух последовательно подключенных 12-В аккумуляторов мотоцикла.
– Если предусмотрено питание от аккумулятора, нужно позаботиться о достаточном запасе воздуха.
Для автономной эксплуатации прицепа рекомендуется по 40 л запаса воздуха на каждую ось.
Если клемма 30 автомобиля (ISO7638) при выключенном зажигании активна, значит, она переключается модулятором прицепа на аккумулятор. Ток зарядки обычно ограничен 3,5 A.
Если зажигание включено, то есть, активна электронная часть EBS, то EBS принимает на себя управление этим соединением.
При этом вывод включается только при определенных условиях. Подсоединенный аккумулятор заряжается только тогда, когда питающее напряжение, измеренное модулятором EBS прицепа, больше 24 В и не осуществляется торможение с помощью EBS/ABS. При снижении питающего напряжения ниже 23 В зарядка прекращается. Ток зарядки ограничен 3,5 А.
Модификации ECU 446 055 060/070 0 позволяют использовать аккумулятор через модуль питания.
– Для активации ECAS от аккумулятора к питающему модулю нужно подключить аккумуляторный
выключатель.
– По окончании работы от аккумулятора переведите выключатель в выключенное положение, чтобы
аккумулятор полностью не разрядился.
Удобнее использовать выключатель аккумулятора для защиты от разрядки в виде электрического реле времени.
Для подключения реле в гнезде Х3 выключателя аккумулятора предусмотрено соединение с "массой"
(контакт 3). Также нужно дополнительно использовать для защиты от разрядки предохранитель на 10 А.
Модификации ECU 446 055 065/066 0 можно подсоединять к аккумулятору через гнездо X4 штекерной панели в электронной части.
Зарядка аккумулятора осуществляется через модуль питания с помощью генератора автомобиля. Чтобы ток зарядки не стал слишком высоким, допустимую емкость аккумулятора нужно ограничить 7,2 Ампер-часами. Для более высокой емкости нужно применить диод, препятствующий зарядке аккумулятора. При такой емкости, в основном в зависимости от количества осуществляемых регулировок, возможна работа в течение нескольких часов.
Также возможна работа ECAS от аккумулятора другого агрегата.
Но нужно предотвратить (например, с помощью диода) протекание тока зарядки к такому агрегату через модуль питания.
Магнитный клапан, ECAS
Магнитный клапан ECAS для регулировки системы представляет собой устройство сопряжения между
выходными электронными сигналами блока управления и выходными пневматическими сигналами для
пневморессор. Для каждой оси или осевого агрегата используется один магнитный клапан ECAS.
В магнитном клапане ECAS несколько отдельных магнитных клапанов объединены в один блок. Каждая из таких элементов представляет собой комбинацию отдельных магнитов с одним или двумя пневматическими клапанами или с одной или двумя управляющими заслонками.
На штекерной панели электронной части соответствующий магнитный клапан ECAS с учетом
предусмотренной функции подсоединен к гнездам 11, 16, 19 или 20.
Через электрические штекеры на отдельных магнитах или блоках магнитных клапанов электрический управляющий сигнал поступает из электронной части в отдельные управляемые магниты. Он обеспечивает открытие/закрытие соответствующих пневматических клапанов или сдвиг соответствующих заслонок.
Такое управление является прямым, поскольку клапанные магниты открывают седло клапана (1).
Через это открытое седло клапана давление в ресивере или воздух из ресивера подается на управляющий поршень (3, 9 или 10) или на управляющую заслонку, переводя их в нужное положение.
Учитывая магнитное управление пневмоклапанов, различаются два варианта клапанов:
Клапан с пружинным отводом
Клапан с пружинным возвратом встречается в виде 3-ходового 2-позиционного клапана или 2-ходового 2-позиционного клапана в магнитном клапане ECAS. Он преимущественно используется для управления
пневмоподушками на передней оси или постоянно находящемся на днище заднем мосту. Клапан может иметь в конструкции заслонку или седло.
Порядок работы 3-ходового 2-позиционного клапана седельного типа таков:
1. При подаче на магнит (41) тока открывается седло клапана (1).
2. Седло клапана (1) высвобождает пневматическое давление в ресивере из канала (4) через канал (2) на наружную сторону управляющего поршня (3).

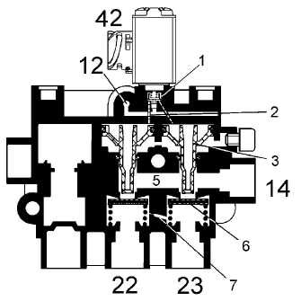
Изображение в разрезе магнитного клапана ECAS с пневмоклапанами пружинно-возвратного типа для
задней оси (отдельные магниты)

Изображение в разрезе магнитного клапана ECAS с золотниковыми клапанами пружинно-возвратного типа для задней оси или части главной оси (блок магнитов)
3. Управляющий поршень (3) открывает седло клапана (6) против возвратной пружины.
Это позволяет аэрировать канал (5) и соответственно последующее приемное устройство.
При окончании подачи ток на магниты:
4. Седло клапана (1) закрывается, а верхняя сторона управляющего поршня (3) прокачивается за счет
удаления воздуха из магнитов.
5. Клапанная пружина закрывает седло клапана (6) и приводит управляющий поршень (3) при поддержке возвратной пружины поршня в исходное положение.
6. Через пустотелый управляющий поршень (3) удаляется воздух из канала (5) и имеющегося последующего подключенного приемного устройства.
2-ходовые 2-позиционные клапана работают по тому же принципу.
В магнитных клапанах ECAS нового поколения все больше начинают использоваться золотниковые клапана вместо пневмоклапанов. Золотниковый клапан пружинно-возвратного типа (↑ рис. 26) работает похожим образом.
Принципиальное различие заключается в том, что пневмоклапана заменены заслонками, которые все так же управляются возвратными пружинами.

Изображение в разрезе магнитного клапана ECAS с золотниковыми клапанами с импульсным управлением для части подъемной оси в положении "сохранение давления"
Золотниковый клапан с импульсным управлением
Золотниковый клапан с импульсным управлением встречается в виде 3-ходового 3-позиционного клапана в магнитном клапане ECAS. Он преимущественно используется для управления пневморессорами подъемной оси в сочетании с пневмоподвесками подъемной оси. С клапанами с импульсным управлением реализуется автоматика подъемных осей. Как правило, блок магнитных клапанов для управления подъемным сильфоном прифланцован в блоке магнитных клапанов
для управления главной осью.
Порядок работы 3-ходовых 3-позиционных клапанов таков:
1. В кольцевой камере (1) давление в ресивере через канал (2) нагнетается в управляющие магниты (62.3 Подъем подъемной оси) и (62.1 Спуск подъемной оси).
2. Для подъема на магнит (62.3) через несколько секунд подается токовый импульс и открывается клапанное седло (импульсное управление).
3. Через систему каналов подается воздух в управляющий поршень (4) кольцевой камеры (3).
4. При этом управляющий поршень сдвигается вверх, а кольцевая камера (1) связывается с кольцевой камерой (6), к которой подсоединяется выход подъемного сильфона.
5. После этого подъемный сильфон заполняется.
6. Одновременно в верхних сторонах обоих управляющих поршней (5) нагнетается давление путем подачи воздуха из камер (11), и управляющие поршни передвигаются вниз.
7. Кольцевые камеры (8), к которым подсоединены пневмоподушки подъемной оси, связываются с
каналом (12), и из них удаляется воздух через канал (32).
8. Вследствие этого осуществляется подъем подъемной оси.
По окончании подачи токового импульса на магниты камеры (3) и (11) освобождаются от воздуха через канал прокачки магнитов.

Изображение в разрезе магнитного клапана ECAS с пневмоклапанами пружинно-возвратного типа для
передней оси (управляемая ось)
Заслонки остаются в выбранном положении в магнитном клапане ECAS до тех пор, пока такое положение не изменит новый импульс тока.
1. Для спуска подъемной оси на магнит (62.1) подается токовый импульс, открывая седло клапана.
2. Через систему каналов подается воздух в управляющий поршень (4) камеры (10).
3. При этом поршень сдвигается вверх, а кольцевая камера (6), с которой связан выход подъемного
сильфона, связывается с каналом (12).
4. После этого подъемный сильфон прокачивается.
5. Одновременно кольцевые камеры (7), в которых создается давление пневмоподушек, связываются с
кольцевыми камерами (8), к которым подсоединены пневмоподушки подъемной оси.
6. При этом в пневмоподушках главной и подъемной оси устанавливается одинаковое давление.
7. Вследствие этого осуществляется спуск подъемной оси.
8. По окончании подачи токового импульса на магниты камеры (9) и (10) освобождаются от воздуха через канал прокачки магнитов.
Положение клапана - это особый случай, он приводит к поддержанию давления во всех пневмоподушках. Это происходит тогда, когда при функции увеличения сцепления колес в пневморессорах главной и подъемной оси создается различное давление. То есть, давление в пневморессорах главной оси максимально, а в подъемной оси соответственно ниже. При установлении
такого состояния управляющие магниты (62.1) и (62.3) одновременно включаются без прерывания.
8.3.3 Разница между 3-ход. 2-поз. и 3-ход. 3-поз. клапанами
3-ход. 2-поз. клапан (т.е. 3 пневматических соединения: ресивер, приемное устройство, канал выпуска воздуха и 2 переключающих положения, здесь: включение или выключение с учетом подачи тока на магнит).
Через такой клапан последующие приемные устройства пневмоподвесок получают воздух или прокачиваются при включенном положении за счет давления в ресивере p1.
Приемными устройствами могут быть и ходовые клапана, находящиеся на магнитном клапане ECAS.
При выключенном положении подключаемые далее приемные устройства соединяются с атмосферой.
Типичное применение - управление вентиляцией и прокачкой в клапане заднего моста или в клапане заднего моста/подъемной оси.
2-ход. 2-поз. клапан (т.е. 2 пневматических соединения: Ресивер и приемное устройство и 2 переключающих положения, здесь: включение и выключение с учетом подачи тока на магнит)
Через этот клапан воздух подается на последующие приемные устройства при включенном положении за счет давления в ресивере p1 пневмоподвесок.
При выключенном положении далее подключаемые приемные устройства блокируются, т.е.
устанавливающееся давление удерживается.
Типичным применением такого вида является создание и блокировка канала, в котором нагнетается давление, идущего к пневмоподвескам остающихся на днище осей, а значит, в клапане передней оси, клапане заднего моста и клапанном блоке заднего моста - клапана заднего моста/подъемной оси. Количество и распределение 2-ходовых 2-позиционных клапанов в системе ECAS точно соответствует количеству и распределению используемых датчиков хода.
• Если система ECAS управляет левой и правой стороной оси отдельно (ось под управлением 2-х
датчиков хода), то каждый отдельный магнит управляет одним 2-ходовым 2-позиционным клапаном (↑ рис. 25).
• Если же система ECAS управляет осью как единым узлом (под управлением 1-го датчика хода), то
отдельный магнит управляет двумя 2-ходовыми 2-позиционными клапанами.
В последнем случае выходы приемных устройств связаны дросселем уравнительного тока с пневпоподвесками для выравнивания давления.
3-ход. 3-поз. клапан (т.е. 3 пневматических соединения: ресивер, приемное устройство, канал выпуска воздуха и 3 переключающих положения, здесь: ВЕРХ, СЕРЕДИНА И НИЗ с учетом положения управляющей заслонки в клапане)
• В положении переключения ВЕРХ устанавливается соединение между ресивером (1, справа) и приемным устройством (6). При этом нагнетается давление.
• В положении СЕРЕДИНА блокируются последующие соединения. Это соответствует удержанию давления.
• В переключающем положении НИЗ устанавливается соединение приемных устройств с атмосферой. Это приводит к снижению давления.
Типичное применение таких клапанов:
Управление пневмоподушками и подъемным сильфоном подъемной оси в блоке подъемных осей клапана задней/подъемной оси при наличии автоматического управления подъемными осями.
За счет отдельных магнитных клапанов не нагнетается давление с неполной нагрузкой на седла клапанов.
Три следующих положения устанавливаются за счет комбинации функций отдельных магнитных клапанов:
• повышение давления;
• поддержание давления;
• понижение давления.
Изменения состояния равновесия в пневмоподвесках определяются только датчиком хода с интерпретацией электронной частью.
Необходимые команды передаются магнитному клапану ECAS.
Магнитный клапан ECAS находится на раме - преимущественно на поперечине рамы - над регулируемой
осью или регулируемым осевым агрегатом.
Отходящие от пневмобаллонов трубопровода должны располагаться симметрично, чтобы у них была
одинаковая длина и поперечное сечение. При этом нужно соблюдать правильное распределение
пневматических и электрических соединений с учетом нумерации.
Различие магнитных клапанов ECAS в зависимости от применения
Клапан передней оси (клапан ПО)
Клапан ПО находится рядом с передней осью и управляет работой пневмоподушек передней оси. Как правило, он оснащен 2-ходовым 2-позиционным клапаном для передней оси (подъемной), оси с управлением от 1-го датчика хода.
Подкачка и стравливание выполняется 3-ходовым 2-позиционным клапаном клапана заднего моста.
Клапан заднего моста (клапан ЗМ)
Клапан ЗМ является ключевым элементом в установке ECAS без автоматического управления подъемными осями. Он находится в области заднего моста и управляет работой пневморессор заднего моста. За счет дополнительного пневматического отвода можно реализовать подкачку и стравливание в далее подключаемых потребителях, например, клапане пер. оси в дышловых прицепах. Клапан ЗМ, как правило, оснащен 3-ходовым 2-позиционным клапаном для нагнетания воздуха и прокачки.
В зависимости от конструкции регулирующего устройства системы ECAS клапан ЗМ для управления
пневморессорами имеет при:
• оси с управлением 1-м датчиком хода 2-ходовой 2-поз. клапан
• оси с управлением 2-мя датчиками хода два 2-ходовых 2-поз. клапана
Клапан заднего моста/подъемной оси (клапан ЗМ/под.оси)
Клапан ЗМ/ПО является ключевым элементом в установке с автоматическим управлением подъемными осями. Этот клапан состоит из блока задней оси и блока подъемной оси. Его функция соответствует функции клапана ЗМ.
Клапан ЗМ/под.оси находится в области заднего моста и помимо пневморессор заднего моста управляет
подъемным сильфоном и пневмобаллонами 1-й подъемной оси.

Золотниковый клапан (управление задней и подъемной осью 472 905 114 0
За счет дополнительного пневматического отвода в блоке задней оси можно реализовать подкачку и стравливание в далее подключаемых потребителях, например, клапане пер. оси в дышловых прицепах.
Клапан ЗМ/под. оси в блоке задней оси оснащен 3-ходовым 3-позиционным клапаном для нагнетания воздуха и прокачки.
В зависимости от конструкции регулятора системы ECAS он имеет для управления пневморессорами задней оси при:
• оси с управлением 1-м датчиком хода 3-ходовой 2-поз. клапан
• оси с управлением 2-мя датчиками хода 2-ходовой 2-поз. клапан
В клапанном блоке подъемной оси имеется три 3-ходовых 3-позиционных клапана, управляемые двумя клапанными магнитами. Они отвечают за управление подъемным сильфоном и пневморессор 1-й подъемной оси.
Однозначно назначить электрические соединения можно только с помощью схемы соединений.
Если распределение электрических соединений может быть различным, то для распределения пневматических соединений применимо следующее главное правило:
Вывод 1
Только при клапанах ЗМ/под. оси: Ресивер для последующих приемных устройств.
Вывод 11
Только при клапанах ПО и ЗМ: Ресивер для последующих приемных устройств.
Вывод 12
Только при клапанах ПО и ЗМ: Давление в ресивере для регулирования элементов управления в магнитном клапане ECAS.
Вывод 13
Не имеет практического значения.
Вывод 14
Только при клапанах ПО: Штуцер ресивера, идущий от клапана ЗМ.
Вывод 21
• Только при клапанах ЗМ: Вывод к соединению 14 клапана передней оси.
• При клапанах ЗМ/под. оси: Вывод к (левой) пневморессоре находящейся на днище оси(ей).
Вывод 22
Вывод к (правой) пневморессоре находящейся на днище оси(ей).
Вывод 23
• Только при клапанах передней оси или заднего моста: Вывод к (левой) пневморессоре находящейся на днище оси(ей).
• При клапанах ЗМ/под. оси: Вывод к (левой) пневморессоре подъемной оси (полностью
автоматическое упр.).
Вывод 24
Вывод к (правой) пневморессоре подъемной оси (полностью автоматическое упр.)
Вывод 25
Вывод к подъемному сильфону подъемной оси - полностью автоматическое упр.
Вывод 26
• При клапанах ЗМ/под. оси: возможный вывод к соединению 14 клапана передней оси.
• в автобусе также вывод к пневморессоре передней оси при наклоне.
Вывод 27
• Нет практического значения для прицепов.
• в автобусе также вывод к пневморессоре передней оси при наклоне.
Вывод 3
Только при клапанах ЗМ: Прокачка для следующих приемных устройств.
Вывод 31
Только при клапанах ЗМ/под. оси: Прокачка для следующих приемных устройств в блоке заднего моста.
Вывод 32
Только при клапанах ЗМ/под. оси: Прокачка для следующих приемных устройств в блоке подъемной оси.
В настоящее время магнитные клапана ECAS используются с байонетными соединениями по DIN.
Магниты теперь просто так не видны, поскольку они размещены в магнитном блоке.
• В байонетном соединении клапана ПО имеется два контакта, которые подсоединяются к гнезду Х16
электронной части.
• В байонетном соединении клапана ЗМ имеется четыре контакта, которые подсоединяются к гнезду Х11 ECU .
У клапана ЗМ/под. оси имеется два байонетных соединения по DIN.
– Байонетный разъем по DIN для части главной оси подсоединяется к гнезду Х11 ECU.
– Байонетный разъем по DIN для части подъемной оси подсоединяется к гнезду X19 и X20 ECU.

Клапан ЗМ с байонетом по DIN 472 900 055 0

Клапан ПО с байонетом по DIN 472 900 058 0