HINO Мастерская - Проверка компонентов электрооборудования
(мастерская)

ЛИНИЯ ПИТАНИЯ
1. ПРОВЕРКА БЛОКА ПЛАВКИХ ВСТАВОК
(1) Проверьте напряжение между клеммой А блока плавких вставок и клеммой заземления на шасси автомобиля.
(2) В нормальных условиях напряжение должно быть примерно 24 В.
(3) Если напряжение неправильное, проверьте кабель аккумулятора, жгуты проводов и т.д.
Кабель аккумулятора (разомкнутая цепь, разболтанное соединение и т.п.)
Жгуты проводов (разомкнутая цепь и т.д.)
Аккумулятор (разряженный)
ПРИМЕЧАНИЕ
Группа клемм “A”: от аккумулятора
Группа клемм “В”: к каждой электрической части

ПРОВЕРКА БЛОКА ПРЕДОХРАНИТЕЛЕЙ
(1) Проверьте напряжение между клеммами группы А блока предохранителей и заземлением кабины
(2) В нормальных условиях напряжение составляет порядка 24 В.
(3) Если напряжение неправильное, проверьте цепь от аккумулятора до предохранителя.
Соединение между жгутом проводов кабины и жгутом проводов шасси.
Соединение всех электрических частей.
Жгут проводов кабины и жгут проводов шасси
(Разомкнутая цепь, короткое замыкание и т.р.)
Перегоревшая плавкая вставка.
ПРИМЕЧАНИЕ
Группа клемм “A”: от аккумулятора
Группа клемм “В”: к каждой электрической части

ЦЕПЬ ЗАПУСКА ДВИГАТЕЛЯ
1. ПРОВЕРКА ВЫКЛЮЧАТЕЛЯ СТАРТЕРА
(1) Проверьте целостность цепи между клеммами.


ПРОВЕРКА РЕЛЕ СТАРТЕРА
(1) Подайте напряжение на клеммы:
24 В на клемму S,
Заземление на клемму Е.
(2) В нормальных условиях включаются клеммы С и В.

ПРОВЕРКА ПЕРЕКЛЮЧАТЕЛЯ НЕЙТРАЛИ
(1) Проверьте целостность цепи между клеммами.


ЦЕПЬ ПРЕДВАРИТЕЛЬНОГО НАГРЕВАНИЯ
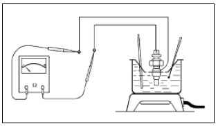
1. ПРОВЕРКА СВЕЧЕЙ НАКАЛИВАНИЯ
(1) Измерьте сопротивление между клеммой и корпусом.
Стандарт: 2,7-3,5 Ом при 20оС

ПРОВЕРКА РЕЛЕ ПРЕДВАРИТЕЛЬНОГО НАГРЕВА
(1) Приложите напряжение к клеммам:
24 В к клемме “SW”,
Заземление к клемме “L”.
(2) В нормальном состоянии включаются клеммы “S” и “F”.

ЦЕПЬ ДАТЧИКОВ, ИЗМЕРИТЕЛЬНЫХ ПРИБОРОВ И АВАРИЙНОЙ СИГНАЛИЗАЦИИ
1. ПРОВЕРКА ДАТЧИКА УРОВНЯ ТОПЛИВА
(1) Измерьте сопротивление между клеммами.


ПРОВЕРКА ДАТЧИКА ДАВЛЕНИЯ МАСЛА
(1) Запустите двигатель и отсоедините разъём.
(2) Проверьте наличие цепи между клеммой и заземлением двигателя.


ПРОВЕРКА ДАТЧИКА ТЕМПЕРАТУРЫ ОХЛАЖДАЮЩЕЙ ЖИДКОСТИ
(1) Нагрейте датчик и измерьте сопротивление между клеммой и заземлением кузова.


ПРОВЕРКА ДАТЧИКА НАЛИЧИЯ ВОДЫ В ТОПЛИВНОМ ФИЛЬТРЕ
(1) Проверьте целостность цепи между клеммами.


ПРОВЕРКА ДАТЧИКОВ ПОЛОЖЕНИЯ РЕМНЕЙ БЕЗОПАСНОСТИ (ЕСЛИ УСТАНОВЛЕН)
(1) Проверьте целостность цепи между клеммами.


ПРОВЕРКА ДАТЧИКОВ ДАВЛЕНИЯ ВОЗДУХА
(1) Подайте давление воздуха.
(2) Проверьте целостность цепи между клеммами.


NC (нормально замкнута): Отсутствие цепи при давлении, меньшем рабочего.
NO (нормально разомкнута): Наличие цепи при давлении, большем рабочего.
ЦЕПЬ СТАРТЕРА ДВИГАТЕЛЯ
1. ПРОВЕРКА ПЕРЕКЛЮЧАТЕЛЯ УПРАВЛЕНИЯ СВЕТОМ ФАР
(1) Проверьте целостность цепи между клеммами.



ПРОВЕРКА КОМБИНИРОВАННОГО
ПЕРЕКЛЮЧАТЕЛЯ УПРАВЛЕНИЯ СВЕТОМ ФАР
(1) Проверьте целостность цепи между клеммами.



ПРОВЕРКА ПЕРЕКЛЮЧАТЕЛЯ СТОП-СИГНАЛОВ
(1) Проверьте целостность цепи между клеммами.


ПРОВЕРКА КНОПКИ ВКЛЮЧЕНИЯ ПЕРЕДНИХ ПРОТИВОТУМАННЫХ ФАР
(1) Проверьте целостность цепи между клеммами.


Проверка абсолютно всех компонентов в