Автономный отопительь Webasto с модулем ACH-W3 DAF

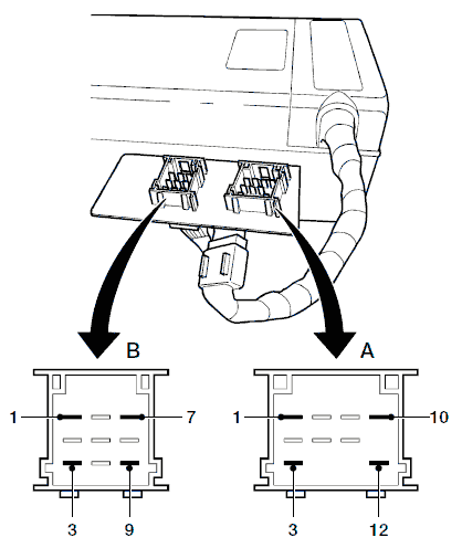
Питание и "масса" электронного блока ACH-W3 (L058)



Подача питания
Минимальное напряжение 21 В
Максимальное напряжение 32 В
Номинальное напряжение 24 В
Электронный блок ACH-W3 (L058), линия K

Сигналы состояния


Топливный насос, обогреватель кабины (B122)

Включение топливодозирующего насоса

Камера сгорания


Расход топлива
Высокая мощность 0,24 л/ч
Низкая мощность 0,12 л/ч
Мощность
Условия
- температура окружающей среды между 20 °C и 25 °C
- Напряжение систем автомобиля 24 В
- давление воздуха 100 кПа
Высокая мощность 2 кВт
Низкая мощность 0,9 кВт
Топливо: дизельное топливо/биодизельное топливо
CO2 % в газе сгорания
Макс. разрешенн. при "высокой мощности" 9,5 - 12,5 объем. %
Датчик перегрева

Датчик перегрева
T Температура в °C
R Сопротивление в Ом

Свеча предпускового подогрева

Значение сопротивления 1,125 - 1,375 Ом при 25 °C
Панель управления таймера (E586)



Потенциометр регулировки температуры на панели управления
Минимальное номинальное напряжение 150 Ом
Максимальное номинальное напряжение 2250 Ом
Описание дополнительного обогревателя
Дополнительный обогреватель Airtop 2000 ST имеет следующие функции:
- предварительный обогрев внутреннего пространства кабины,
- обогрев внутреннего пространства кабины,
- обогрев внутреннего пространства кабины, когда двигатель вырабатывает недостаточно тепла для поддержания требуемой температуры в кабине, например, в случае пробок при очень низких наружных температурах.
Дополнительный обогреватель можно использовать при выключенном или работающем двигателе.

Конструкция дополнительного обогревателя
Дополнительный обогреватель состоит из внешнего обогревательного аппарата, который нагревает воздух в кабине независимо от двигателя.
Обогревательный аппарат располагается в кабине на плите пола.
Встроенный электродвигатель (3) приводит в движение два вентилятора. Вентилятор нагрева
воздуха (2) забирает воздух (A) из кабины и пропускает его через теплообменник (13). Через
переднюю часть обогревателя нагретый воздух (В) выдувается в кабину.
Необходимый воздух горения (C) забирается вентилятором горения (7) через трубопровод,
расположенный за пределами кабины, и направляется во втулку печки (12).
Необходимое топливо подается топливным насосом дополнительного обогревателя (22) из топливного
бака в печку Ferro-Tec (10).
Топливный насос дополнительного обогревателя (22) представляет собой плунжерный насос,
управляемый с помощью импульсов.
Свеча предпускового подогрева (9) находится в печке Ferro-Tec (10).
Свеча предпускового подогрева (4) обеспечивает воспламенение топлива при запуске дополнительного обогревателя.
Тепло, вырабатываемое при сгорании, поступает в теплообменник (13), вокруг которого циркулирует воздух, который требуется нагреть.
Газ сгорания (D) выбрасывается в атмосферный воздух через трубопровод выпуска отработавших
газов (19).
Емкостью дополнительного обогревателя можно управлять за счет повышения и понижения количества топлива, подаваемого в печку, а также за счет необходимого количества воздуха горения.
Для управления дополнительным обогревателем предусмотрены комбинированные часы (16). На
комбинированных часах (16) имеется переключатель и кнопка управления температурой.
Всеми функциями дополнительного обогревателя управляет электронный блок, встроенный в
дополнительный обогреватель.
ЭБУ Airtop 2000 ST (L058)
Электронный блок управления
Электронный блок управления (1) является центральным компонентом, который обеспечивает
функционирование и контроль работы обогревателя.
Внутренний датчик температуры (2) в электронном блоке управления предназначен для регулировки
температуры в кабине.
Внешние компоненты подсоединены к электронному блоку управления с помощью разъема (4). Внутренние компоненты дополнительного обогревателя подсоединены к разъемам компонентов (3).

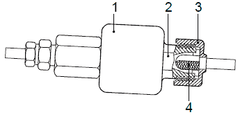
Топливный насос, обогреватель кабины (B122)

Топливный насос дополнительного обогревателя (1) передает топливо, необходимое для сгорания из топливного бака в печку. Под давлением в топливном насосе топливо впрыскивается и распыляется через отверстия в печке в камеру сгорания теплообменника. Топливный насос дополнительного обогревателя представляет собой плунжерный насос, который приводится в действие за счет импульсов, подаваемых от электронного блока.
Для обеспечения автоматического стравливания топливный насос дополнительного обогревателя всегда устанавливается нагнетательной стороной вверх. На стороне всасывания топливного насоса дополнительного обогревателя установлен фильтр (4) для предотвращения подачи загрязненного топлива из бака в печку дополнительного обогревателя. Данный фильтр предотвращает блокировку маленьких выходных отверстий печки.
Камера сгорания

Камера сгорания состоит из трех компонентов:
- электродвигатель (5)
- теплообменник (9)
- печка (7)
Электродвигатель
Встроенный электродвигатель приводит в движение два вентилятора. Вентилятор наружной
циркуляции забирает воздух из кабины и пропускает его через теплообменник. Теплообменник
нагревает воздух, полученный от вентилятора циркуляции. Через переднюю часть обогревателя
нагретый воздух выдувается в кабину.
Вентилятор воздуха горения пропускает воздух, необходимый для сгорания, через трубопровод за
пределами кабины. Воздух подается в камеру сгорания в теплообменнике. Вентилятор воздуха горения является внутренним вентилятором электродвигателя. По трубопроводу воздух поступает от вентилятора воздуха горения в камеру сгорания в теплообменнике.
Чтобы убедиться, что сгорание проходит чисто, в теплообменник необходимо подать соответствующее
количество воздуха. Вентилятор имеет разные положения для разных этапов процесса сгорания. Данные положения зависят от рабочего цикла. Таким образом блок управления может постоянно
изменять скорость электродвигателя. Электронный блок непрерывно отслеживает скорость электродвигателя.
Теплообменник
Теплообменник передает теплоту сгорания воздуху, нагнетаемому в кабину. Внутри теплообменника
топливо, подаваемое топливным насосом, сгорает вместе с воздухом, нагнетаемым вентилятором воздуха горения. Полученное тепло поглощается теплообменником.
Ребра охладителя, расположенные за пределами теплообменника, увеличивают область распространения тепла.
Печка
Печка распыляет топливо, которое подает топливный насос. После впрыска распыленного топлива в
воздух, нагреваемый нитью предпускового подогрева, топливо самовозгорается. Нить предпускового подогрева выключается после возгорания топлива. Печка работает постоянно для сохранения пламени.
Датчик перегрева
Датчик перегрева измеряет температуру на участке ребер теплообменника во время работы
обогревателя.
Электронный блок оценивает сигнал и предохраняет обогреватель от высоких температур воздуха на выходе свыше 150 °C и температуры поверхности выше 80 °C. Для приостанавливается процесс сгорания и подачи холодного воздуха на обогреватель.
После этого обогреватель блокируется по неисправности и не запускается автоматически.
После того как причина перегрева найдена, обогреватель можно запустить, выключив его и сразу же включив снова.

Свеча предпускового подогрева
Свеча предпускового подогрева обеспечивает воспламенение топлива при запуске дополнительного обогревателя.
Когда дополнительный обогреватель включается, электронный блок подает напряжение на свечу
предпускового подогрева. Свеча предпускового подогрева начинает нагреваться. Свеча предпускового
подогрева нагревает воздух, нагнетаемый вентилятором горения, что создает идеальную среду
горения. После того как свеча предпускового подогрева достаточно нагреет камеру сгорания
теплообменника, печка распыляет топливо в данной камере. В результате распыления топлива в
камере сгорания и высокой температуры топливо воспламеняется. Тепло от сгорания поглощается теплообменником.
Неисправность свечи предпускового подогрева определяется электронным блоком управления, таким образом дополнительный обогреватель выключается и переходит в режим блокировки по неисправности. После того как причина неисправности свечи предпускового подогрева найдена,
обогреватель можно запустить, выключив его и сразу же включив снова.

Панель управления таймера (E586)

1. Настройка времени
2. Время включения программы
3. Вкл./выкл. дополнительного обогревателя
4. Уменьшение
5. Увеличение
6. Программа памяти
7. Дата
8. Время
9. Температура
10.Дополнительный обогреватель кабины включен
11.Поворотный переключатель для регулировки температуры
Дополнительный обогреватель включен
На следующем рисунке представлен поэтапный обзор работы различных деталей.

- A - Работающий элемент
- B - Температурный датчик
- C - Нить предпускового подогрева
- D - Электровентилятор
- E - Топливодозирующий насос
- F - Устройство противопожарного контроля
Блок-схема
Блок-схема K102741 относится к:
- моделям LF45 IV/55 IV
Объяснение блок-схемы
A Версия с системой сигнализации

- A100 Разъем, диагностический HD-OBD
- B122 Топливный насос, обогреватель кабины
- C926 Переключатель, обогреватель кабины
- L058 ЭБУ, Airtop 2000 ST
- D911 ЭБУ, сигнализация ALS-S
- E053 Предохранитель, диагностика
- E084 Предохранитель, освещение
- E114 Предохранитель, обогреватель кабины
- E411 Предохранитель, доп. обогреватель, переключатель, телефон
- E586 Переключатель, обогреватель кабины
Информация о расположении, Airtop 2000 ST (ACH-W3)
