Передний модуль FM Mercedes Actros
- Цветовая маркировка проводов -
- bl Синий
- br Коричневый
- ge Жёлтый
- gn Зелёный
- gr Серый
- rs Розовый
- rt Красный
- sw Чёрный
- vi Фиолетовый
- ws Белый
- tk Бирюзовый (бензин)
- or Оранжевый
- tr Световое табло
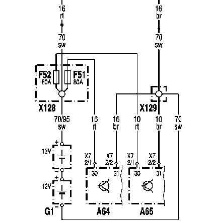
А64 : Электропитание FM передний модуль

- А7: Базовый модуль
- А64: FM передний модуль
- А65: Задний модуль НМ
- G1: Аккумуляторная батарея
- Ml: Стартер
- Х128: Соединитель проводов KI. 30
- Х129: Соединитель проводов KI. 31
А7, А64 , А65: Шина CAN рамы

- А7: Базовый модуль
- А64: FM передний модуль
- А65: Задний модуль НМ
- (CAN3): Шина CAN рамы
- (312): Провода скручены.
- (756): Провод пробуждения от базового модуля (GM)
В4 : Датчик температуры наружного воздуха

- А64: FM передний модуль
- В4: Датчик наружной температуры
- Н2: Звуковой сигнал
В20 : Датчик давления 'Гидроусилитель рулевого управления'

- А64: FM передний модуль
- В20: Датчик давления 'Гидроусилитель рулевого управления1
- S19: Датчик уровня масла гидроусилителя рулевого управления
- (753): Датчик давления 'Гидроусилитель рулевого управления' установлен только на а/м с двухконтурным рулевым управлением.
В36, В37, В38, В39: Износ тормозных накладок

- А64: FM передний модуль
- ВЗб: Левый датчик износа тормозных накладок 1. переднего моста
- В37: Правый датчик износа тормозных накладок переднего моста 1.
- В38: Левый датчик износа тормозных накладок 2. переднего моста
- В39: Правый датчик износа тормозных накладок переднего моста 2.
В48 : Датчик температуры на переднем мосту

- А64: FM передний модуль
- В48: Датчик температуры переднего моста
- В51: Датчик перемещения 'Передний мост'
В51: Датчик перемещения 'Передний мост'

- А64: FM передний модуль
- Е8: Блок-фара передняя левая
- (Е8е1): Фонарь указателя поворота, передний левый
- (Е8е2): Габаритный свет
- (Е8еЗ): Ближний свет, левый
- (Е8е4): Дальний свет, левый
- (E8ml): Система регулировки угла наклона фар
Указание:
- (190): Система регулировки угла наклона света фар присутствует только на а/м со стальной подвеской.
Е8 : Блок-фара передняя левая

- А64: FM передний модуль
- Е9: Блок-фара передняя правая
- (Е9е1): Фонарь указателя поворота, передний правый
- (Е9е2): Габаритный свет
- (Е9еЗ): Ближний свет, правый
- (Е9е4): Дальний свет, правый
- (E9ml): Система регулировки угла наклона фар
Указание:
- (190): Система регулировки угла наклона света фар присутствует только на а/м со стальной подвеской.
Е9 : Блок-фара передняя правая

- А64: FM передний модуль
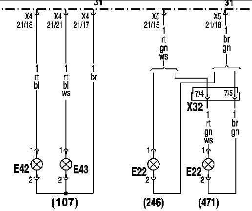
- Е22: Рабочие фары
- Е42: Плафон освещения в нижнем торце двери, левый
- Е43: Плафон освещения в нижнем торце двери, правый
- (246): Седельные тягачи
- (350): На выбор в зависимости от исполнения
- (471): Грузовые а/м с бортовой платформой
Е22 : Рабочие фары

- А64: FM передний модуль
- Еб: Противотуманная фара, левая
- Е7: Противотуманная фара, правая
- ЕЮ: Боковой маркерный огонь, левый
- Е11: Боковой маркерный огонь, правый
- Е20: Фонарь указателя поворота и фонарь контурного огня сбоку слева
- Е20е1: Боковой указатель сигнала поворота, левый
- Е20е2: Фонарь контурного огня, левый
- Е21: Фонарь указателя поворота и фонарь контурного огня сбоку справа
- Е21е1: Боковой указатель сигнала поворота, правый
- Е21е2: Фонарь контурного огня, правый
Е6, Е7, ЕЮ, Ell, Е20, Е21 : Наружное освещение

- А64: FM передний модуль
- Е22: Рабочие фары
- Е42: Плафон освещения в нижнем торце двери, левый
- Е43: Плафон освещения в нижнем торце двери, правый
- (246): Седельные тягачи
- (350): На выбор в зависимости от исполнения
- (471): Грузовые а/м с бортовой платформой
Е42, Е43 : Плафон освещения в нижнем торце двери

- А64: FM передний модуль
- Е22: Рабочие фары
- Е42: Плафон освещения в нижнем торце двери, левый
- Е43: Плафон освещения в нижнем торце двери, правый
- (246): Седельные тягачи
- (350): На выбор в зависимости от исполнения
- (471): Грузовые а/м с бортовой платформой
Н2 : Звуковой сигнал

- А64: FM передний модуль
- В4: Датчик наружной температуры
- Н2: Звуковой сигнал
S12, S13, S16 : Выключатель/датчик 'Блокировка дифференциала'

- А64: FM передний модуль
- В20: Датчик давления 'Гидроусилитель рулевого управления1
- S12: Контрольный выключатель блокировки межколёсного дифференциала на переднем мосту 1.
- S13: Контрольный выключатель блокировки межколёсного дифференциала на переднем мосту 2.
- S16: Контрольный выключатель передней блокировки межосевого дифференциала
- (753): Датчик давления 'Гидроусилитель рулевого управления' установлен только на а/м с двухконтурным рулевым управлением.
S19 : Датчик уровня масла гидроусилителя рулевого управления

- А64: FM передний модуль
- В20: Датчик давления 'Гидроусилитель рулевого управления1
- S19: Датчик уровня масла гидроусилителя рулевого управления
- (753): Датчик давления 'Гидроусилитель рулевого управления' установлен только на а/м с двухконтурным рулевым управлением.
Y15, Y40, Y41, Y42, Y43 : Электромагнитные клапаны 'Блокировка
дифференциала'

- А64: FM передний модуль
- Y15: Электромагнитный клапан 'Блокировка межколёсного дифференциала на заднем мосту'
- Y40: Электромагнитный клапан 'Внедорожная передача'
- Y41: Электромагнитный клапан 'Нейтральное положение'
- Y42: Электромагнитный клапан 'Блокировка межколёсного дифференциала на переднем мосту'
- Y43: Электромагнитный клапан 'Блокировка межосевого дифференциала'
Y51, Y52 : Пропорциональные клапаны 'Регулирование амортизаторов'

- А64: FM передний модуль
- Y51: Пропорциональный клапан 'Передний мост слева1
- Y52: Пропорциональный клапан 'Передний мост справа'