Тормозные клапаны прицепов WABCO
Магистральный фильтр
432 500 …0

Назначение:
Защита пневматической тормозной системы от загрязнения.
Принцип действия:
Сжатый воздух, подаваемый на магистральный фильтр через вывод 1, проходит через фильтровальный патрон. При наличии частиц грязи они оседают в нем, и очищенный сжатый воздух попадет через
вывод 2 на подключенные после него тормозные механизмы. При загрязнении фильтровального патрона он отжимается наверх против усилия пружины. Тогда сжатый воздух проходит через магистральный фильтр неочищенным. Если при загрязненном фильтровальном патроне сбросить воздух из вывода 1, то давление на выводе 2 отжимает патрон вниз против усилия пружины. Таким образом
обеспечивается обратное течение от вывода 2 к выводу 1.
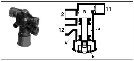
Клапан растормаживания прицепа
963 006 00. 0

Назначение:
Оттормаживание тормозной системы для передвижения прицепов автомобилей в расцепленном состоянии. Сдвоенный клапан растормаживания предназначен для тормозных систем с пневмоцилиндрами с пружинным энергоаккумулятором.
Принцип действия:
При сцеплении полуприцепа с тягачом питающий сжатый воздух проходит через вывод 11 в камеру В. Если поршень (а) все еще находится в положении «заторможено», то под воздействием давления
подаваемого воздуха он выдвигается в положение «расторможено». Питающий сжатый воздух попадает затем через вывод 2 на тормозной кран прицепа и дальше в ресивер полуприцепа.
В расцепленном состоянии из вывода 11 и соответственно камеры В сбрасывается воздух. Для растормаживания тормозной системы поршень (а) с помощью кнопки (b) вручную передвигается до упора вверх.
Таким образом происходит запирание прохода от вывода 11 к выводу 2 и устанавливается связь между камерой А и выводом 2.
Образующееся на выводе 12 давление ресивера полуприцепа через вывод 2 проходит к тормозному крану прицепа и вызывает его переключение в положение «расторможено», сбрасывая при этом
воздух из тормозных цилиндров.
Клапан растормаживания прицепа
963 001 05 . 0

Назначение:
Растормаживание тормозной системы (для систем с цилиндрами Tristop®), для передвижения прицепов в расцепленном состоянии.
Принцип действия:
При сцеплении прицепа с тягачом, следует убедиться, что поршень (a) не находится в положении "парковка", если же это имеет место, поршень должен быть вручную сдвинут в положение "движение". При соединении головок автосцепки, сжатый воздух проникает через вывод 1-1 в камеру A. Если поршень (c) все еще находится в положении "расцепление", то под действием подаваемого сжатого
воздуха выдвигается в положение "движение". Сжатый воздух проникает через вывод 21 к тормозному клапану прицепа и далее в ресивер прицепа.
Из ресивера, сжатый воздух попадает через вывод 1-2 в камеру B, открывает возвратный клапан (b) и через камеру C и вывод 22 проникает к подключенному далее двухходовому клапану быстрого
стравливания и затормаживает камеры пружинных энергоаккумуляторов цилиндра Tristop®.
В расцепленном состоянии, вывод 1-1 а таким образом и камера A расторможены.
Для растормаживания рабочей тормозной системы, поршень (с) вдвигается до упора вручную при помощи предназначенной для этого кнопки. Таким образом перекрывается проход от вывода 1-1 к
выводу 21 и устанавливается связь между камерами A и выводами 1-2.
Сжатый воздух, подающийся из ресивера на выводы 1-2 проходит через вывод 21 к тормозному клапану прицепа и переводит последний в положение "движение", что растормаживает тормозные цилиндры.
При приведении в действие стояночного тормоза, поршень (a) выдвигается.
Находящийся в камере C и на выводе 22 сжатый воздух выходит через отверстие стравливания 3 наружу. Подключенный далее клапан быстрого растормаживания переключается, и камеры пружинных
энергоаккумуляторов цилиндров Tristop® растормаживаются.
Тормозной кран прицепа с возможностью установки опережения
971 002 150 0 и
Клапан растормаживания
963 001 012 0

Назначение:
Управление двухмагистральной тормозной системой прицепа.
Принцип действия:
1. Тормозной кран прицепа
Сжатый воздух, поступающий от соединительной головки «Питание» автомобиля, через вывод 1 тормозного крана прицепа проходит сквозь кольцо с пазом (с) к выводам 1-2 и дальше к ресиверу прицепа.
При срабатывании тормозной системы автомобиля сжатый воздух через соединительную головку «Тормоз» и вывод 4 попадает сверху на поршень (а). Последний перемещается вниз и, упираясь в
клапан (f), закрывает выпускное отверстие (b) и открывает впускное (g). Сжатый воздух из ресивера прицепа (выводы 1-2) проходит теперь через выводы 2 к подключенным за ними тормозным кранам, а также по каналу А в камеру С, создавая усилие на клапане (k).
Как только давление в камере С начинает преобладать, клапан (k) открывается под воздействием пружины сжатия (i). Сжатый воздух проходит по каналу В в камеру D и нагружает поршнь (а) снизу. В результате суммирования сил, действующих в камерах D и Е, управляющее давление, воздействующее на верхнюю поверхность поршня, становится преобладающим и поршень (а) перемещается вверх.
При служебном торможении клапан (f) закрывает впускное отверстие (g), создавая положение равновесия. При полном торможении поршень (а) в течение всего процесса торможения удерживает
впускное отверстие (g) открытым.
Изменяя предварительное натяжение пружины сжатия (i) с помощью резьбового штифта (h), можно установить опережение давления выводов 2 по отношению к выводу 4 максимально до 1 бар.
После прекращения торможения автомобиля и, соответственно, после завершения связанного с ним сброса давления с вывода 4 поршень (а) под давлением в выводах 2 перемещается в крайнее верхнее положение. Теперь впускное отверстие (g) закрывается, выпускное отверстие (b) открывается. Имеющийся на выводах 2 сжатый воздух через клапан (f) и выпускное отверстие 3 выходит в атмосферу. В связи со снижением давления в камере С имеющийся в камере D сжатый воздух через отверстия (j) клапана (k) снова проходит в камеру С и оттуда на выпускное отверстие 3.
При отцеплении прицепа или при обрыве питающей магистрали с вывода 1 сбрасывается воздух и нагрузка на верхнюю поверхность поршня (d) снижается. Под воздействием силы пружины сжатия (е) и
имеющегося на выводах 1-2 давления поршень (d) перемещается вверх, а клапан (f) закрывает выпускное отверстие (b). При дальнейшем перемещении вверх от клапана (f) поршень (d) приподнимается и впускное отверстие (g) открывается.
Имеющийся на выводах 1-2 сжатый воздух проходит через выводы 2 к подключенным далее тормозным кранам.
2. Клапан растормаживания прицепа
При использовании тормозного крана прицепа вместе с автоматическим регулятором тормозных сил или с регулятором тормозных сил с ручной регулировкой без функции растормаживания клапан растормаживания прицепа 963 001 …0 обеспечивает возможность перемещения прицепа в отцепленном состоянии. Для этого поршень (l) с помощью кнопки (m) вручную передвигается вверх до упора.
Таким образом запирается проход от вывода 11 к выводу 1 тормозного крана прицепа и устанавливается связь между выводами 12 и 1 тормозного крана прицепа. Имеющееся на выводе 12 давление от ресивера прицепа проходит на вывод 1 тормозного крана прицепа, обеспечивая его переключение в положение «расторможено». Одновременно осуществляется сброс давления из тормозных цилиндров.
Если при повторном подсоединении прицепа к автомобилю поршень (l) не будет выдвинут вручную до упора, то давление питания автомобиля через вывод 11 само его переключит. Клапан растормаживания снова возвращается в транспортное положение, а вывод 11 и вывод 1 тормозного крана прицепа соединяются между собой.
Тормозной кран прицепа с возможностью установки опережения
971 002 152 0

Назначение:
Управление двухмагистральной тормозной системой полуприцепа при срабатывании тормозной системы тягача. Приведение в действие устройства автоматического торможения полуприцепа при частичном или полном падении давления в питающей магистрали.
Этот тормозной кран прицепа предназначен для использования в полуприцепах с несколькими осями.
Принцип действия:
а) Рабочее торможение:
Сжатый воздух, подаваемый от автомобиля через соединительную головку «Питание», через вывод 1 тормозного крана сквозь кольцо с пазом (b) проходит к выводам 1-2 и далее - в ресивер полуприцепа. Одновременно поршень (с) под воздействием давления питания и усилия пружины сжатия (d) перемещается вниз, увлекая за собой клапан (е). Выпускное отверстие (а) открывается, а выводы 2 соединяются с выпускным отверстием 3.
При срабатывании тормозной системы автомобиля сжатый воздух проходит через соединительную головку «Тормоз» и вывод 4 на поршень (k). Последний перемещается вниз, закрывая выпускное отверстие (а) и открывая впускное (f), соприкасаясь с клапаном (е). Сжатый воздух из ресивера полуприцепа (выводы 1-2) проходит теперь через выводы 2 к подключенным далее тормозным цилиндрам.
Одновременно сжатый воздух проходит по каналу В в камеру D, создавая усилие на клапане (i).
Как только усилие в камере D начнет преобладать, клапан (i) откроется навстречу силе пружины сжатия (h). Сжатый воздух проходит по каналу С в камеру Е и нагружает нижнюю поверхность поршня (k). В результате суммирования сил, действующих в камерах А и Е, управляющее давление на верхней стороне поршня (k) становится преобладающим и поршень (k) перемещается вверх.
При служебном торможении клапан (е) закрывает впускное отверстие (f), создавая положение равновесия. При полном торможении поршень (k) удерживает впускное отверстие (f) открытым в течение всего процесса торможения.
Изменяя предварительное натяжение пружины сжатия (h) с помощью резьбового штифта (g), можно настроить опережение давления на выводах 2 по отношению к выводу 4 максимально до 1 бар.
При растормаживании тормозной системы автомобиля и связанным с ним сбросом воздуха вывода 4 поршень (k) перемещается под давлением на выводах 2 в крайнее верхнее положение. Впускное
отверстие (f) остается закрытым, а выпускное (а) - открытым. Сжатый воздух на выводах 2 выходит в атмосферу через отверстие клапана (е) и выпускное отверстие 3. В результате снижения давления
в камере А сжатый воздух из камеры Е через отверстия (j) клапана (i) снова проходит в камеру D, а оттуда - на выпускное отверстие 3.
б) Автоматическое торможение
При расцеплении или обрыве питающей магистрали осуществляется падение давления на выводе 1, снимается нагрузка на поршень (с). Под воздействием силы пружины сжатия (d) и давления ресивера на выводах 1-2 поршень (с) перемещается вверх. Клапан (е) закрывает выпускное отверстие (а). Поршень
(с) при дальнейшем перемещении от клапана (е) приподнимается, открывая впускное отверстие (f). Полное давление ресивера через выводы 2 попадает к тормозным цилиндрам.
При обрыве магистрали управления осуществляется автоматическое торможение, как описывалось выше, так как давление в питающей магистрали крана управления тормозами прицепа тоже
снижается через негерметичную магистраль, как только тягач начинает тормозить.
Тормозной кран прицепа с возможностью установки опережения
971 002 300 0

Назначение:
Управление двухмагистральной тормозной системой прицепа.
Принцип действия:
Сжатый воздух, подаваемый от автомобиля через соединительную головку «Питание» , через вывод 1 тормозного крана прицепа сквозь кольцо с пазом (с) проходит к выводам 1-2 и далее - в ресивер.
При срабатывании тормозной системы автомобиля сжатый воздух проходит через соединительную головку «Тормоз» и вывод 4 к поршню (а). Последний перемещается вниз, закрывая выпускное отверстие (b) и, соприкасаясь с клапаном (f), открывает впускное отверстие (g).
Сжатый воздух из ресивера прицепа (выводы 1-2) проходит теперь через выводы 2 к подключенным далее тормозным кранам. Одновременно сжатый воздух проходит по каналу С в камеру В, создавая
усилие на клапане (k).
Как только усилие в камере В начнет преобладать, клапан (k) откроется навстречу силе пружины сжатия (i). Сжатый воздух проходит по каналу А в камеру D и нагружает нижнюю поверхность поршня (a). В результате суммирования сил, действующих в камерах D и Е, управляющее давление на поршне (a) становится преобладающим и поршень (a) перемещается вверх.
При служебном торможении клапан (f) закрывает впускное отверстие (g), создавая положение равновесия. При полном торможении поршень (a) удерживает впускное отверстие (g) открытым в течение всего процесса торможения.
Изменяя предварительное натяжение пружины сжатия (i) с помощью резьбового штифта (h), можно настроить опережение давления на выводах 2 по отношению к выводу 4 максимально до 1 бар.
После прекращения торможения автомобиля и связанным с ним сбросом давления с вывода 4 поршень (a) перемещается под давлением на выводах 2 в крайнее верхнее положение. Впускное отверстие (g) остается закрытым, а выпускное (b) - открытым. Сжатый воздух на выводах 2 выходит в атмосферу через клапан (f) и выпускное отверстие 3. В результате снижения давления в камере B сжатый воздух из камеры D через отверстия (j) клапана (k) снова проходит в камеру B, а оттуда - на выпускное
отверстие 3.
При отцеплении прицепа или обрыве питающей магистрали осуществляется падение давления на выводе 1 и снимается нагрузка с поршня (d). Под воздействием силы пружины сжатия (e) и давления питания на выводах 1-2 поршень (d) перемещается вверх и клапан (f) закрывает выпускное отверстие (b). Поршень (d) при дальнейшем перемещении от клапана (f) приподнимается, открывая впускное отверстие (g). Сжатый воздух от выводов 1-2 прицепа проходит через выводы 2 в полном объеме и попадает к подключенным далее тормозным кранам.
Номер для заказа тормозного крана прицепа 971 002 7.. 0. Сюда входит также клапан растормаживания 963 001 01. 0.
Клапан ограничения давления
475 010 … 0

Назначение:
Ограничение давления на выходе на соответственно установленную величину.
Принцип действия:
Сжатый воздух через вывод 1 (высокое давление) и камеру А проходит через впускное отверстие (d) в камеру В и далее к выводу 2 (низкое давление). Одновременно он воздействует на поршень (а),
который вначале удерживается в крайнем нижнем положении при помощи пружины сжатия (f).
Если давление в камере В достигает величины, установленной для области низкого давления, то поршень (е) перемещается вниз навстречу усилию пружины сжатия (f). Клапаны (а и с), которые перемещаются совместно, закрывают впускные отверстия (b и d). Если давление в камере В возрастает выше установленной величины, то поршень (е) перемещается еще дальше вниз, открывая таким образом выпускное отверстие (h). Теперь избыточное давление выходит в атмосферу через отверстие поршня (е) и выпускное отверстие 3. После достижения установленной величины давления выпускное отверстие (h) снова закрывается.
Если из-за негерметичности в магистрали низкого давления возникнет потеря давления, то поршень (е) вследствие разгрузки приподнимет клапан (а). Впускное отверстие (b) откроется и произойдет подпитка сжатым воздухом до соответствующего давления. В модели 475 010 3.. 0 поршень (е) приподнимает
клапан (с), открывая таким образом впускное отверстие (d).
При сбросе воздуха из вывода 1 более высокое давление в камере В приподнимает клапан (с), а также располагающийся на нем клапан (а). Впускное отверстие (d) открывается и осуществляется сброс
воздуха из магистрали низкого давления через камеру А и вывод 1. Здесь поршень (е) под действием пружины сжатия (f) перемещается обратно в крайнее верхнее положение.
Ограничение давления можно установить в определенном диапазоне, изменив предварительное натяжение пружины сжатия (f) с помощью регулировочного винта (g).
Ускорительный клапан
973 001 … 0 и
973 011 00. 0

Назначение:
Быстрое заполнение и спуск сжатого воздуха из пневматических устройств, а также сокращение продолжительности срабатывания пневматических тормозных систем.
Принцип действия:
При срабатывании тормозной системы сжатый воздух через вывод 4 проходит в камеру А и перемещает поршень (а) вниз. При этом выпускное отверстие (с) закрывается, а впускное (b) - открывается. Теперь сжатый воздух на выводе 1 проходит в камеру В и через выводы 2 - к подключенным тормозным цилиндрам.
Возникающее в камере В давление нагружает поршнень (а). Как только это давление станет немного больше, чем управляющее давление в камере А, поршень (а) начнет перемещаться вверх.
Впускное отверстие (b) закрывается, создавая положение равновесия.
Если происходит частичное падение давления в управляющей магистрали, то поршень (а) снова перемещается вверх, открывая при этом выпускное отверстие (с), и избыточное давление на выводе 2
выходит в атмосферу через выпуск 3.
При полном снижении управляющего давления на выводе 4 давление в камере В перемещает поршень (а) в крайнее верхнее положение. При этом открывается выпускное отверстие (с). Из подключенных тормозных цилиндров воздух полностью сбрасывается через выпуск 3.
Разобщающий клапан
964 001 … 0

Назначение:
Ограничение хода в автомобилях с подъемными приспособлениями.
Принцип действия:
Разобщающий клапан крепится на раме автомобиля с помощью болта (с). Толкатель (b) соединяется стальным канатом с осью.
Если при подъеме шасси краном ручного управления пневмоподвески расстояние между шасси и осью увеличивается на определенную величину, то толкатель (b) оттягивается вниз. Клапан (а) перемещается вслед за ним и закрывает проход от вывода 1 к выводу 2. При дальнейшем перемещении толкателя (b) осуществляется сброс воздуха из вывода 2.
После опускания шасси толкатель (b) возвращается в свое исходное положение, а клапан (а) снова освобождает проход.
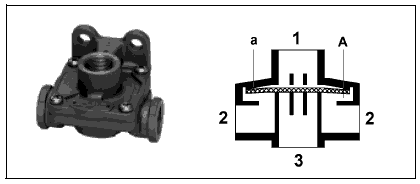
Клапан быстрого растормаживания
973 500 … 0

Назначение:
Быстрый сброс воздуха из протяженных управляющих или тормозных магистралей и тормозных цилиндров.
Принцип действия:
При отсутствии давления диафрагма (а) с небольшим предварительным натяжением опирается на выпуск 3, закрывая своей внешней кромкой доступ от вывода 1 в камеру А. Сжатый воздух, который проходит через вывод 1, отжимает внешнюю кромку и через выводы 2 попадает на подключенные далее тормозные цилиндры.
При снижении давления на выводе 1 диафрагма (а) прогибается вверх под воздействием значительного давления в камере А. Теперь воздух из тормозных цилиндров частично или полностью сбрасывается через выпуск 3 в соответствии со снижением давления на выводе 1.
Клапан соотношения давлений с линейной характеристикой
975 001 … 0

Назначение:
Уменьшение тормозной силы определенной оси при служебном торможении, а также быстрый сброс воздуха из тормозных цилиндров.
У прицепов, которые эксплуатируются в горных местностях и осуществляют продолжительные спуски под уклон, всегда имеется более сильный износ тормозных накладок передних колес, так как из-за
расположения на передней оси больших по размеру тормозных цилиндров, расчитанных на экстренное торможение, при служебном торможении возникает перетормаживание. Благодаря использованию клапана соотношения давлений тормозная сила для передней оси при служебном торможении снижается настолько, что обе оси тормозятся с одинаковой интенсивностью, причем на тормозные
силы при экстренном торможении не оказывается никакого влияния.
Принцип действия:
Поршень (b) удерживается в крайнем верхнем положении благодаря силе пружины сжатия (с). Диафрагма (а) закрывает проход от вывода 1 к выводам 2. При срабатывании тормозной системы сжатый воздух проходит через вывод 1 к диафрагме (а), создавая здесь усилие. Как только оно станет больше, чем усилие пружины сжатия (с), установленное с помощью винта (d), поршень (b) отжимается вниз. Сжатый воздух проходит сквозь внешнюю кромку диафрагмы (а) и выводы 2 к подключенным далее тормозным цилиндрам.
Создаваемое на выводах 2 давление воздействует также на диафрагму (а) снизу и поддерживает усилие пружины сжатия (с). Как только оно становится больше, чем усилие, действующее на диафрагму
(а) сверху, то поршень (b) снова перемещается в крайнее верхнее положение.
Таким образом достигается положение равновесия.
При дальнейшем повышении давления на выводе 1 сила пружины сжатия (с) постепенно преодалевается и сжатый воздух попадает к тормозным цилиндрам, не снижая своего давления. После снижения тормозного давления на выводе 1 пружина сжатия (с) отжимает поршень (b) в крайнее верхнее положение. Давление в камере В прогибает диафрагму (а) вверх и воздух из тормозных цилиндров частично или полностью выводится через отверстие А и выпуск 3 в соответствии со снижением
давления на выводе 1.
3-ходовой 2-позиционный магистральный клапан
463 036 …0

Назначение:
Попеременное соединение рабочей магистрали (потребитель) с питающей магистралью или с выпуском, причем в обоих положениях клапан защелкивается.
Принцип действия:
При нажатии на вращающуюся ручку (а) в направлении вращения поршень (b) перемещается вниз с помощью эксцентрика. Выпускное отверстие (d) закрывается, впускное (с) - открывается и сжатый
воздух от вывода 1 проходит через вывод 2 в рабочую магистраль. При возврате ручки (а) в исходное положение поршень (b) под воздействием пружины сжатия снова перемещается в исходное положение. Впускное отверстие (с) закрывается и осуществляется сброс воздуха из рабочей магистрали через выпускное отверстие (b) и вывод 3.
3-ходовой 2-позиционный магнитный клапан нормально закрытый
472 1.. … 0

Назначение:
Подвод воздуха в рабочую магистраль при подаче тока на магниты.
Принцип действия:
Питающая магистраль, идущая от воздушного баллона, подключается к выводу 1. Выполненный в форме тела клапана сердечник магнита (d) с помощью силы пружины сжатия (b) удерживает закрытым впускное отверстие (с).
При подаче тока на катушку магнита (а) сердечник (d) перемещается вверх, выпускное отверстие (е) закрывается, а впускное (с) - открывается. Сжатый воздух проходит теперь от вывода 1 к выводу 2, в рабочую магистраль.
После отключения подачи тока на катушку магнита (а) пружина сжатия (b) перемещает сердечник (d) обратно в исходное положение. При этом впускное отверстие (с) закрывается, выпускное (е) - открывается, и из рабочей магистрали воздух выводится через камеру А, отверстие В и выпуск 3.
3-ходовой 2-позиционный магнитный клапан нормально открытый
472 1.. … 0

Назначение:
Сброс воздуха из рабочей магистрали при подаче тока на магниты.
Принцип действия:
Питающая магистраль, идущая от воздушного баллона, подключается к выводу 1 таким образом, что подаваемый сжатый воздух проходит в рабочую магистраль через камеру А и вывод 2. Выполненный в
форме клапана сердечник магнита (d) с помощью силы пружины сжатия (b) удерживает закрытым впускное отверстие (с).
При подаче тока на катушку магнита (а) сердечник (d) перемещается вверх, впускное отверстие (е) закрывается, а выпускное (с) - открывается. Сжатый воздух из рабочей магистрали выходит теперь
через вывод 3, и сбрасывается из подключенных далее рабочих цилиндров.
После отключения подачи тока на катушку магнита (а) пружина сжатия (b) перемещает сердечник (d) обратно в исходное положение. При этом выпускное отверстие (с) закрывается, впускное (е) -
открывается, а подаваемый сжатый воздух через камеру А и вывод 2 снова проходит в рабочую магистраль.
Тормозной кран прицепа с РТС
475 712 …0

Назначение:
Управление двухпроводной тормозной системой прицепа при срабатывании тормозной системы автомобиля. Автоматическая регулировка тормозной силы в зависимости от состояния загрузки автомобиля с помощью встроенного регулятора тормозных сил.
Автоматическое торможение прицепа при частичном или полном падении давления в питающей магистрали. Тормозной кран прицепа со строенным регулятором тормозных сил применяется для
полуприцепов с несколькими осями.
Принцип действия:
Тормозной кран прицепа со встроенным регулятором тормозных сил закреплен на раме автомобиля и через рычаг соединен с упругим элементом, расположенным на оси. В незагруженном состоянии расстояние между осью и тормозным краном прицепа с РТС максимальное, рычаг (j) находится в крайнем нижнем положении.
Если автомобиль загружен, то это расстояние уменьшается и рычаг (j) перемещается из положения отсутствия загрузки в положение полной загрузки.
Отрегулированный аналогичным образом дисковый кулачок перемещает толкатель клапана (l) в позицию, соответствующую определенному состоянию загрузки.
Сжатый воздух, подаваемый от автомобиля через соединительную головку «Питание», через вывод 1 проходит сквозь кольцо с пазом (h) к выводам 1-2 и далее к ресиверу полуприцепа. Одновременно
поршень (k), нагружаемый сжатым воздухом, перемещается вниз, увлекая за собой клапан (g). Выпускное отверстие (n) открывается, соединяя между собой выводы 2 и выпуск 3.
При срабатывании тормозной системы автомобиля сжатый воздух проходит через соединительную головку «Тормоз» и вывод 4 в камеру А, нагружая поршень (b).
Последний перемещается вниз, закрывая выпускное отверстие (d) и открывая впускное отверстие (р). Подаваемый на вывод 4 сжатый воздух попадает в камеру С под диафрагму (е) и нагружает активную
поверхность ускорительного поршня (f).
Одновременно сжатый воздух проходит через открытый клапан (а) и канал Е в камеру В и нагружает диафрагму (е). С помощью этой предварительной подачи давления осуществляется увеличение передаточного числа при небольшом управляющем давлении (максимально до 1,0 бар) при частичной загрузке автомобиля. Если управляющее давление продолжает увеличиваться, то поршень (r) под воздействием пружины сжатия (s) перемещается вверх, закрывая клапан (а).
Под давлением, создаваемым в камере С, ускорительный поршень (f) перемещается вниз. Выпускное отверстие (n) закрывается, а впускное (m) открывается. Теперь сжатый воздух, подаваемый от выводов 1-2, проходит через впуск (m) в камеру D и попадает через выводы 2 к подключенным далее пневматическим тормозным цилиндрам. Одновременно в камере D создается давление, которое воздействует на ускорительный поршень (f). Как только это давление станет немного больше, чем давление в камере С, ускорительный клапан (f) переместится вверх, а впускное отверстие (m) закроется.
Диафрагма (е) при перемещении поршня (b) вниз накладывается на фигурную шайбу (о), увеличивая таким образом активную поверхность диафрагмы. Как только сила, воздействующая в камере С на диафрагму, станет равна силе, действующей на поршень (b), последний начнет перемещаться вверх. Впускное отверстие (р) закроется, создавая положение равновесия.
Положение толкателя клапана (l), зависящее от положения рычага (j), является определяющим для тормозного давления, создаваемого на выходе.
Поршень (b) с фигурной шайбой (о) должен совершать ход, соответствующий положению толкателя клапана (l), прежде, чем сработает клапан (с). Благодаря этому ходу происходит также изменение
активной поверхности диафрагмы (е). В положении полной загрузки давление на входе 4 регулируется в соотношении 1:1 в камере С. Когда ускорительный клапан (f) нагружается полным давлением, он
удерживает впускное отверстие (m) постоянно открытым и регулировка тормозного давления не происходит.
При оттормаживании тормозной системы автомобиля и соответственном сбросе воздуха из вывода 4 ускорительный поршень (f) перемещается в крайнее верхнее положение под давлением на выводах 2.
Выпускные отверстия (d и n) открываются и сжатый воздух, имеющийся на выводах 2 и в камере С, выходит в атмосферу через выпуск 3.
Автоматическое торможение:
При расцеплении или обрыве питающей магистрали осуществляется сброс воздуха из вывода 1 и снимается нагрузка с поршня (k). Под действием давления ресивера, имеющегося на выводах 1-2,
поршень (k) перемещается вверх. Клапан (g) закрывает выпускное отверстие (n). При дальнейшем перемещении вверх поршень (k) приподнимается с клапана (g), открывая впускное отверстие (m). Воздух из ресивера через выводы 2 проходит к тормозным цилиндрам. При обрыве тормозной магистрали осуществляется автоматическое торможение, как было описано выше, так как давление в питающей магистрали и кране управления тормозами прицепа снижается через негерметичную тормозную магистраль, как только автомобиль начинает тормозить.
Автоматический регулятор тормозных сил
475 713 …0

Назначение:
Автоматическая регулировка тормозной силы пневматических тормозных цилиндров в зависимости от состояния загрузки автомобиля.
Принцип действия:
Регулятор тормозных сил закреплен на раме автомобиля и регулируется с помощью соединительного тросика, закрепленного на оси с помощью пружины растяжения. В незагруженном состоянии расстояние между осью и регулятором тормозных сил максимальное и рычаг (f) находится в положении, соответствующем тормозному давлению при отсутствии загрузки. Если автомобиль загрузить, то это расстояние уменьшается и рычаг (f) перемещается из положения при отсутствии загрузки в положение полной нагрузки. Поворачивающийся с помощью рычага (f) дисковый кулачок (g) перемещает толкатель клапана (i) в положение, соответствующее определенной загрузке.
Сжатый воздух, регулируемый тормозным краном прицепа, через вывод 1 проходит в камеру А, нагружая поршень (b).
Последний перемещается вниз, закрывая выпускное отверстие (с) и открывая впускное отверстие (k). Теперь сжатый воздух попадает в камеру Е под диафрагму (d), а также через выводы 2 к подключенным далее пневматическим тормозным цилиндрам.
Одновременно сжатый воздух проходит через открытый клапан (а), а также по каналу В в камеру D, нагружая верхнюю поверхность диафрагмы (е). С помощью этой предварительной подачи давления
осуществляется увеличение передаточного числа при небольшом управляющем давлении и частичной загрузке автомобиля. Если давление увеличивается дальше, то поршень (l) под воздействием давления пружины сжатия (m) перемещается вверх, закрывая клапан (а).
Во время обратного перемещения поршня (b) диафрагма (d) отделяется от находящейся в регуляторе прокладки и прилегает к веерообразной части поршня (b). Активная поверхность диафрагмы
увеличивается таким образом до тех пор, пока не станет больше верхней поверхности поршня. Поршень (b) снова приподнимается, закрывая впускное отверстие (k). Положение равновесия достигнуто. (Только в положении полной загрузки «1:1» впускное отверстие (k) остается открытым). Тогда измеренное в тормозных камерах при полной загрузке автомобиля давление соответствует давлению, которое подается от тормозного крана прицепа на регулятор тормозных сил. При частичной загрузке и при ее отсутствии это давление снижается.
После снижения тормозного давления поршень (b) под давлением в камере Е перемещается вверх. Выпускное отверстие (с) открывается и сжатый воздух выходит в атмосферу через толкатель клапана (i) и выпуск 3.
При любом процессе торможения сжатый воздух проходит по каналу С в камеру F и нагружает уплотнительное кольцо (е). Кольцо прижимается к толкателю клапана (i) и при тормозном давлении > 0,8 бар возникает силовое соединение между толкателем клапана (i) и корпусом.
Передаточное число в регуляторе тормозных сил блокируется и возникает только, если расстояние между осью и шасси снова меняется. Эти изменения воспринимаются пружиной растяжения (h),
располагающейся на оси.
Встроенная в регулятор пружина сжатия предназначена для того, чтобы при обрыве соединения толкатель клапана (i) перемещался в положение полной загрузки.
Автоматический регулятор тормозных сил
475 714 …0

Назначение:
Автоматическая регулировка тормозного давления пневматических тормозных цилиндров на осях (осевых агрегатах) с пневматическими рессорами в зависимости от управляющего давления пневматических баллонов.
Принцип действия:
Регулятор тормозных сил закреплен на раме автомобиля с выпуском 3, смотрящим вниз. Выводы 41 и 42 соединяются с пневматическими баллонами правой и левой сторон автомобиля. Давление воздуха (управляющее давление) от пневматических баллонов воздействует на поршни (m и k). В зависимости от давления воздуха (оно соответствует состоянию загрузки) направляющая втулка (i) с расположенным на нем управляющим кулачком (h) смещается под воздействием пружины (z) и настраивается в положение регулировки, соответствующее состоянию загрузки.
При срабатывании пневматической тормозной системы сжатый воздух проходит от тормозного крана прицепа через вывод 1 в камеру А и нагружает поршень (d).
Последний перемещается вниз, закрывая выпускное отверстие (e) и открывая впускное отверстие (c). Теперь сжатый воздух попадает в камеру В под диафрагму (f) и через выводы 2 к подключенным
далее пневматическим цилиндрам.
Одновременно сжатый воздух проходит через открытый клапан (b) и канал F в камеру C, нагружая верхнюю поверхность диафрагмы (f). С помощью этой предварительной подачи давления увеличивается передаточное число при небольшом управляющем давлении при частичной загрузке. Если управляющее давление продолжает нарастать, поршень (a) перемещается вверх под воздействием силы пружины сжатия (s) и клапан (b) закрывается.
Во время обратного перемещения поршня (d) диафрагма (f) отделяется от находящейся в регуляторе прокладки и прилегает к веерообразной части поршня (d). Активная нижняя поверхность диафрагмы (f) увеличивается таким образом до тех пор, пока силы на поршне сверху и и снизу не станут равны силе на нижней поверхности диафрагмы. Поршень (d) приподнимается, закрывая впускное отверстие (c). Положение равновесия достигнуто. (Только в положении полной загрузки впускное отверстие (c) остается открытым). Тогда измеренное в тормозных цилиндрах давление соответствует состоянию загрузки и тормозному давлению, подаваемому от тормозного крана автомобиля или прицепа.
После снижения тормозного давления (растормаживание) поршень (d) под давлением в камере B перемещается вверх.
Выпускное отверстие (e) открывается и сжатый воздух выходит в атмосферу через толкатель клапана (r) и выпуск 3.
При любом процессе торможения сжатый воздух проходит по каналу D в камеру E и нагружает резиновую фасонную деталь (р). Эта деталь прижимается к толкателю клапана (r) и при тормозном
давлении > 0,8 бар возникает силовое соединение между толкателем клапана (r) и корпусом. Таким образом передаточное число в регуляторе блокируется и возникает только при динамическом перераспределении нагрузки на ось во время процесса торможения. Если при частичной загрузке давление пневматических баллонов увеличивается, то ролик (g) прижимается под воздействием пружины (о). Толкатель (r) остается в положении регулировки, как он находился в начале торможения.
Для проверки регулятора тормозных сил на выводе 43 крепится контрольный шланг. При навинчивании шланга на поршень (n) он перемещается, прерывая таким образом связь между выводами 41 и 42 и поршнями (m и k). Одновременно осуществляется подача сжатого воздуха от вывода 43 к поршням (m и k). В этом состоянии регулятор тормозных сил устанавливается в положение регулировки в
соответствии с давлением воздуха в контрольном шланге.
Автоматический регулятор тормозных сил
475 715 … 0

Назначение:
Управление двухпроводной тормозной системой прицепа при срабатывании тормозной системы автомобиля.
Автоматическая регулировка тормозной силы с помощью встроенного регулятора тормозных сил (РТС) в зависимости от состояния загрузки автомобиля, т.е. от управляющего давления пневматических
баллонов.
Автоматическое торможение прицепа при частичном или полном падении давления в питающей магистрали.
Тормозной кран прицепа с РТС выполнен специально для полуприцепов с пневматическими рессорами и несколькими осями.
Принцип действия:
Тормозной кран прицепа с РТС закреплен на раме автомобиля с выпуском 3, смотрящим вниз. Выводы 41 и 42 соединяются с пневматическими баллонами правой и левой сторон автомобиля.
Давление воздуха (управляющее давление) от пневматических баллонов воздействует на поршни (р и о). В зависимости от управляющего давления (оно соответствует состоянию загрузки) направляющая втулка (n) вместе с расположенным на ней распределительным кулачком смещается под воздействием пружины (m) и регулируется на определенное положение, соответствующее состоянию загрузки.
Сжатый воздух, поступающий через соединительную головку автомобиля «Питание» через вывод 1 проходит через кольцо с пазом (h) к выводу 1-2 и дальше к ресиверу полуприцепа. Одновременно
перемещается поршень (r), нагружаемый снизу сжатым воздухом, увлекая за собой клапан (g). Выпускное отверстие (t) открывается и выводы 2 соединяются с выпуском 3.
При срабатывании тормозной системы автомобиля сжатый воздух проходит через соединительную головку «Тормоз» и вывод 4 в камеру В и нагружает поршень (b). Последний перемещается вниз, закрывая выпускное отверстие (d) и открывая впускное отверстие (v). Регулируемый на выводе 4 сжатый воздух попадает в камеру С под диафрагму (е) и нагружает активную поверхность ускорительного поршня (f).
Одновременно сжатый воздух проходит через открытый клапан (а) и канал G в камеру В, нагружая верхнюю поверхность диафрагмы (е). С помощью этой предварительной подачи давления увеличивается передаточное число при небольшом управляющем давлении (максимально до 1,0 бар) при частичной загрузке. Если управляющее давление продолжает нарастать, поршень (w) перемещается вверх под воздействием силы пружины сжатия (х) и клапан (а) закрывается.
Благодаря создаваемому в камере С давлению ускорительный поршень (f) перемещается вниз. Выпускное отверстие (t) закрывается, a впускное отверстие (s) открывается. Подаваемый сжатый воздух
на выводе 1-2 проходит теперь в камеру D и через выводы 2 попадает к подключенным далее пневматическим тормозным цилиндрам.
При этом в камере D создается давление, которое воздействует на нижнюю поверхность ускорительного поршеня (f).
Как только это давление станет немного больше, чем давление в камере С, ускорительный поршень (f) переместится вверх, закрывая впускное отверстие (s).
Во время обратного перемещения поршня (b) диафрагма (е) прилегает к фигурной шайбе (u), у величивая таким образом активную поверхность диафрагмы.
Как только сила , действующая в камере С на нижнюю поверхность диафрагмы, станет равна силе, действующей на поршень (b), он переместится вверх. Впускное отверстие (v) закроется, создавая
положение равновесия.
Положение толкателя клапана (i), зависящее от положения направляющей втулки (n), является определяющим для управляющего тормозного давления. Поршень (b) с фигурной шайбой (u) должен совершить ход, соответствующий положению толкателя клапана (i) прежде, чем сработает клапан (с). Благодаря этому ходу также изменяется активная поверхность диафрагмы (е). В положении полной нагрузки давление, подаваемое на вывод 4, передается в камеру С с передаточным числом 1:1. Когда ускорительный поршень (f) нагружается полным давлением, он удерживает впускное отверстие (s)
постоянно открытым.
При растормаживании тормозной системы автомобиля и связанном с ним сбросе воздуха с вывода 4 ускорительный поршень (f) под давлением на выводах 2 перемещается в крайнее верхнее положение. Выпускные отверстия (d и t) открываются и сжатый воздух, имеющийся на выводах 2 и в камере С, выходит в атмосферу через выпуск 3.
При любом процессе торможения сжатый воздух проходит по каналу F в камеру Е и нагружает резиновую профильную деталь (k). Она прижимается к толкателю клапана (i) и при тормозном давлении > 0,8 бар возникает силовое соединение между толкателем клапана (i) и корпусом. Передаточное число регулятора блокируется и остается таким при динамическом перераспределении нагрузки на ось во время торможения. Если при частичной нагрузке увеличивается давление в пневматических баллонах, то ролик (l) прижимается пружиной (j). Толкатель (i) остается в положении регулировки, как он находился при начале торможения. Для проверки регулятора тормозных сил на выводе 43 крепится контрольный шланг. После навинчивания шланга поршень (g) перемещается в
корпус, перекрывая таким образом соединением между выводами 41 и 42 и поршнями (р и о). Одновременно устанавливается пневматическое соединение между выводом 43 и поршнем. В этом
состоянии регулятор тормозных сил устанавливается в положение регулировки в соответствии с давлением воздуха в контрольном шланге.
Автоматическое торможение:
При отцеплении или обрыве питающей магистрали осуществляется сброс воздуха из вывода 1 и снимается нагрузка с верхней части поршня (r). Под воздействием давления ресивера, имеющегося
на выводе 1-2, поршень (r) перемещается вверх и клапан (g) закрывает выпускное отверстие (t). При дальнейшем перемещении вверх поршень (r) приподнимается с клапана (g), открывая впускное отверстие (s). Теперь полное давление ресивера через выводы 2 попадает к тормозным цилиндрам.