Комментарии к кодам неисправностей ABS SCRABS КАМАЗ euro 4-5
(полезно тем - кто диагностирует мультимарочниками)
Все комментарии к ошибкам - доступны нашим пользователям
с выходом 63 обновления
- 00160 Нарушена передача данных на CAN а/м.
Указание:
- Без прочих рекламаций этот код неисправности не принимать во внимание.
- В случае дополнительных кодов неисправности, сначала проработать их.
- Очистить память неисправностей.
- Выполнить функциональную проверку.
Возможные причины неисправности:
- В процессе запуска а/м, кратковременный сбой на шине САМ а/м может вызвать код неисправности.
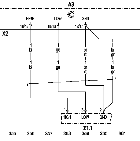
- 10162 Неправильное сообщение по CAN 'Сигнал скорости (V)' от тахографа.

- 1: указатель скорости Тахограф
Указание:
- Провести поиск неисправности в блоке управления система управления движением.
- Провести поиск неисправности в Тахограф.
- Провести функциональную проверку тахографа с помощью роликового испытательного стенда.
- Сравнить действительные значения 01, 02, 03, 04 с указателем скорости на тахографе.
- Проверить параметрирование шин.
Заданные значения и параметры:
- Действительные значения: 01, 02, 03 и 04 в км/ч
Указание:
- Работы с тахографом допускается проводить только авторизованному персоналу.
00168 Сообщение по CAN от блок управления FR система управления движением отсутствует или ошибочно.

- АЗ: FR система управления движением
- Z1.1: Точка звезды CAN на консоли
Возможные причины неисправности :
- Неисправно соединение CAN от блока управления FR система управления движением к точке звезды
- Неисправна точка звезды CAN Z1.1 на консоли.
- Неисправно электропитание к блоку управления FR система управления движением.
Заданные значения и параметры:
- Заданное значение (CAN а/м): 60 Ом с +/- 10% отклонением
- 00169 Сообщение по CAN от блок управления INS комбинация приборов отсутствует или ошибочно.

- Р2: Комбинация приборов
- Шина CAN а/м
- Точка звезды CAN
Возможные причины неисправности:
- Проверить электропитание на блоке управления INS комбинация приборов.
- Точка звезды шины CAN а/м
- Блок управления ABS антиблокировочная система
- Неисправен провод CAN между блоком управления INS комбинация приборов и точкой звезды шины CAN
- Блок управления INS комбинация приборов
Заданные значения и параметры:
- Заданное значение (точка звезды): 60 Ом с отклонением 10 %
- Неисправность в блоке управления INS комбинация приборов: 12014
- 11010 Блок управления ABS антиблокировочная система неисправен.
- 11012 Блок управления ABS антиблокировочная система параметрирован неправильно.
- 11094 Разнь е шинь на а/м
- 11202 Пониженное напряжение или контакт на клемма ЗО, XI 18/8
- 11203 Клемма ЗО, XI 18/8 имеет -//-.
- 13020 Электромагнитнь й клапан ABS на переднем мосту справа имеет -//- на контакте ХЗ 9/8.
- 13021 Электромагнитнь й клапан ABS на переднем мосту справа имеет |--------| - на контакте ХЗ 9/8.
- 13022 Электромагнитнь й клапан ABS на переднем мосту справа имеет |-------| + на контакте ХЗ 9/8.
- 13023 Электромагнитнь й клапан ABS на переднем мосту справа имеет -//- на контакте ХЗ 9/9.
- 13026 Электромагнитнь й клапан ABS на переднем мосту справа имеет -//- на контакте ХЗ 9/7.
- 13027 Электромагнитнь й клапан ABS на переднем мосту справа имеет |--------| - на контакте ХЗ 9/7.
- 13028 Электромагнитнь й клапан ABS на переднем мосту справа имеет |-------| + на контакте ХЗ 9/7.
- 13120 Электромагнитнь й клапан ABS на переднем мосту слева имеет -//- на контакте Х2 6/2.
- 13121 Электромагнитнь й клапан ABS на переднем мосту слева имеет |--------| - на контакте Х2 6/2.
- 13122 Электромагнитнь й клапан ABS на переднем мосту слева имеет |-------| + на контакте Х2 6/2.
- 13123 Электромагнитнь й клапан ABS на переднем мосту слева имеет -//- на контакте Х2 6/3.
- 13126 Электромагнитнь й клапан ABS на переднем мосту слева имеет -//- на контакте Х2 6/1.
- 13127 Электромагнитнь й клапан ABS на переднем мосту слева имеет |--------| - на контакте Х2 6/1.
- 13128 Электромагнитнь й клапан ABS на переднем мосту слева имеет |-------| + на контакте Х2 6/1.
- 13220 Электромагнитнь й клапан ABS на заднем мосту справа имеет -//- на контакте Х4 15/11.
- 13221 Электромагнитнь й клапан ABS на заднем мосту справа имеет |-------| - на контакте Х4 15/11.
- 13222 Электромагнитнь й клапан ABS на заднем мосту справа имеет \-------| + на контакте Х4 15/11.
- 13223 Электромагнитнь й клапан ABS на заднем мосту справа имеет -//- на контакте Х4 15/12.
- 13226 Электромагнитнь й клапан ABS на заднем мосту справа имеет -//- на контакте Х4 15/10.
- 13227 Электромагнитнь й клапан ABS на заднем мосту справа имеет |-------| - на контакте Х4 15/10.
- 13228 Электромагнитнь й клапан ABS на заднем мосту справа имеет |-------| + на контакте Х4 15/10.
- 13320 Электромагнитнь й клапан ABS на заднем мосту слева имеет -//- на контакте Х4 15/2.
- 13321 Электромагнитнь й клапан ABS на заднем мосту слева имеет |-------| - на контакте Х4 15/2.
- 13322 Электромагнитнь й клапан ABS на заднем мосту слева имеет |-------| + на контакте Х4 15/2.
- 13323 Электромагнитнь й клапан ABS на заднем мосту слева имеет -//- на контакте Х4 15/3.
- 13326 Электромагнитнь й клапан ABS на заднем мосту слева имеет -//- на контакте Х4 15/1.
- 13327 Электромагнитнь й клапан ABS на заднем мосту слева имеет і-------| - на контакте Х4 15/1.
- 13328 Электромагнитнь й клапан ABS на заднем мосту слева имеет і-------| + на контакте Х4 15/1.
- 13604 Электромагнитнь й клапан ABS на переднем мосту справа и на заднем мосту слева имеют |------| - на контакте 2.
- 13605 Электромагнитнь й клапан ABS на переднем мосту справа и на заднем мосту слева имеют |------| + на контакте 2.
- 14045 Индуктор на переднем мосту справа неисправен.
- 14048 Зазор датчика числа оборотов на переднем мосту справа.
- 14145 Индуктор на переднем мосту слева неисправен.
- 14148 Зазор датчика числа оборотов на переднем мосту слева.
- 14245 Индуктор на заднем мосту справа неисправен.
- 14248 Зазор датчика числа оборотов на заднем мосту справа.
- 14345 Индуктор на заднем мосту слева неисправен.
- 14348 Зазор датчика числа оборотов на заднем мосту слева.