См. также:
Электросхема комбинации приборов INS Mercedes Actros
- Цветовая маркировка проводов -
- bl Синий
- br Коричневый
- ge Жёлтый
- gn Зелёный
- gr Серый
- rs Розовый
- rt Красный
- sw Чёрный
- vi Фиолетовый
- ws Белый
- tk Бирюзовый (бензин)
- or Оранжевый
- tr Световое табло
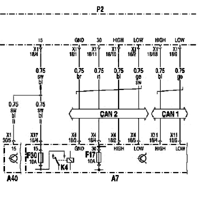
Электропитание на блоке управления INS комбинация приборов

- А7: Блок управления Базовый модуль GM
- А40: Блок управления SRS система удержания пассажиров
- К4: Реле 'Клемма 15'
- Р2: INS комбинация приборов
Фрагмент электросхемы

- А1б: Блок управления GS управление переключением передач
- А87: Блок управления TEL телефон
- Н14: Контрольная лампа 'Борт грузовой платформы 1'
- Н15: Контрольная лампа 'Борт грузовой платформы 2'
- Р2: INS комбинация приборов
- Х2.1: Штекерное соединение Х2.1 на плате штекеров 'Кабина водителя-шасси'
- Х124.2: Штекерное соединение 'Крыша' со стороны водителя
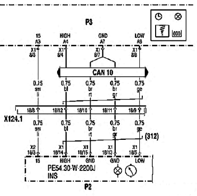
Фрагмент электросхемы

- Р2: INS комбинация приборов
- РЗ: TCO тахограф
- Х124.1: Штекерное соединение 'Крыша' со стороны водителя
Фрагмент электросхемы

- АЗ: Блок управления FR система управления движением
- G2: Генератор
- Р2: INS комбинация приборов
- Х2.1: Штекерное соединение Х2.1 на плате штекеров 'Кабина водителя-шасси'