Электросхемы системы BTS MB Actros
Электропитание Разъединительный выключатель аккумуляторной батареи BTS
Электропитание Тахограф , Остановка двигателя

- А7: Блок управления Базовый модуль GM
- F10: Предохранитель для клеммы 15
- F51: Предохранитель для клеммы 30 , FM передний модуль
- F52: Предохранитель для клеммы 30 , Задний модуль НМ
- G1: Аккумуляторная батарея
- G2: Генератор
- К2: Блок управления Разъединительный выключатель аккумуляторной батареи BTS
- КЗ-А7: Реле 'клемма 15'
- M1: Стартер
- РЗ: Тахограф
- XI: Штекерное соединение XI на разъединительном выключателе аккумуляторной батареи
- Х5.2: Штекерное соединение на плате штекеров 'Кабина водителя - шасси'
- Х124.1: Штекерное соединение 'Крыша' со стороны водителя
- Х128: Распределитель электроэнергии 'клемма 30'
- Х129: Распределитель электроэнергии 'клемма 31'
Шина CAN рамы , Аварийный выключатель

- А7: Блок управления Базовый модуль GM
- CAN 3: Шина CAN рамы
- К2: Блок управления Разъединительный выключатель аккумуляторной батареи BTS
- S5: Аварийный выключатель (NOTAUS) в кабине водителя
- S109: Аварийный выключатель (NOTAUS) на раме
- XI: Штекерное соединение XI на разъединительном выключателе аккумуляторной батареи
- Х5.2: Штекерное соединение на плате штекеров 'Кабина водителя - шасси'
- (312): Провода скручены.
Плата штекеров 'кабина водителя - шасси'

- Плата штекеров 'кабина водителя - шасси'
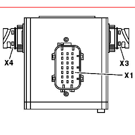
К2: Разъединительный выключатель аккумуляторной батареи

- XI Штекерное соединение 21-контактное
- ХЗ Штекерное соединение Бортовая сеть (электропитание)
- Х4 Штекерное соединение UB (электропитание)
Распределение штекеров аварийного выключателя (NOTAUS) в кабине водителя (S5)

- 1-3: Не занято
- 4: Электропитание аварийного выключателя (NOTAUS)
- 5: Контрольный сигнал аварийного выключателя (NOTAUS)
- 6: Управляющий сигнал аварийного выключения (NOTAUS)
Распределение штекеров аварийного выключателя (NOTAUS) на раме (S109)

- 1: Контрольный сигнал аварийного выключателя (NOTAUS)
- 2: Управляющий сигнал аварийного выключения (NOTAUS)
- 3: Электропитание аварийного выключателя (NOTAUS)
- 4: Не занято
Распределение штекеров XI на блоке управления Разъединительный выключатель
аккумуляторной батареи BTS

- 1: Электропитание (клемма 30) тахографа
- 2: Электропитание (клемма 31) тахографа
- 3: Сигнал остановки двигателя
- 4: Не занято
- 7-8: Не занято
- 9: Электропитание клеммы 15 (BTS)
- 10: Электропитание аварийного выключателя (NOTAUS)
- 11: Контрольный сигнал аварийного выключателя (NOTAUS)
- 12: Управляющий сигнал аварийного выключения (NOTAUS)
- 13: Провод Wake-up
- 14: Провод CAN-High от базового модуля (GM)
- 15: Провод CAN-Low от базового модуля (GM)
- 16-18: Не занято
- 19: CAN - Провод массы от базового модуля (GM)
- 20: Не занято
- 21: Электропитание клеммы 31 (BTS)
Указание
Электропитание разъединительного выключателя аккумуляторной батареи клеммой 30 происходит внутренним образом через оба подключения основных электрических проводов.
Сигнал 'Клемма 15' служит одновременно в качестве сигнала пробуждения.
Распределение штекерного соединения Х5.2 на плате штекеров 'кабина водителя-шасси'

- 1: Электропитание (клемма 30) тахографа
- 2: Электропитание (клемма 31) тахографа
- 3: Управляющий сигнал аварийного выключения (NOTAUS) (S5/6 - S109/3)
- 4: Контрольный сигнал аварийного выключателя (NOTAUS) (S5/5 - S109/1, К2/11)
- 5: Электропитание аварийного выключателя (NOTAUS) (К2/10 - S5/4)
- 6: Электропитание клеммы 15 (BTS)
- 7-18: Не занято
Указание
F7: Плата штекеров кабина водителя - шасси