Топология CAN шина DAF CF75IV, CF85IV, XF105

Распределительный блок CAN (G535)
Распределительный блок CAN представляет собой соединение CAN для электронных систем,
подключенных к сети V-CAN-2.

Системы, подключенные к V-CAN-2:
- DMCI
- EBS-2
- EST-52
- ACC
- ECAS-4
- BBM
- Тахометр
- VIC
Передача данных по сети CAN автомобиля

В целях облегчения передачи данных по сети CAN в автомобиле установлено несколько отдельных сетей CAN, а именно:
- V-CAN 1 (CAN 1 автомобиля)
- V-CAN 2 (CAN 2 автомобиля)
- I-CAN (CAN информации)
- D-CAN (CAN диагностики)
По сетям V-CAN 1 и V-CAN 2 осуществляется обмен сообщениями между различными системами автомобиля.
VIC-2 служит "шлюзом" (коммуникационный порт) в первую очередь между V-CAN 1 и V-CAN 2.
I-CAN осуществляет передачу сообщений, специально предназначенных для:
- функций предупреждений и индикации на щитке приборов
- различных систем автомобиля
D-CAN осуществляет передачу сообщений между диагностическим оборудованием (диагностический сканер и устройство чтения OBD) и различными системами автомобиля.
Кроме того, все сообщения FMS передаются по D-CAN.
Дополнительно может быть установлена сеть BB-CAN (сеть CAN модуля Body Builder).
BB-CAN осуществляет передачу сообщений между различными системами автомобиля и дополнительным системами кузова.
Топология CAN
CF75IV, CF85IV, XF105, ≤ 200732
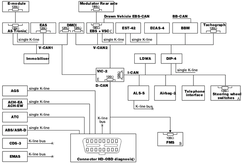
Блок-схема E503235 относится к:
CF75 IV/CF85 IV, неделя спецификации не позднее 32 недели 2007 г.
XF105, неделя спецификации не позднее 32 недели 2007 г.:

A: В зависимости от конфигурации автомобиля оконечные резисторы в переключателях на рулевом колесе могут находиться:
1. в переключателях на рулевом колесе (если имеются переключатели на рулевом колесе) или
2. в рулевом колесе (если установлена подушка безопасности, а переключатели на рулевом колесе отсутствуют), или
3. в разъеме B462 (если не установлены ни подушка безопасности, ни переключатели на рулевом колесе)
B: В зависимости от конфигурации автомобиля оконечный резистор FMS может находиться:
1. в жгуте проводов FMS (разъем) или
2. в блоке FMS
C: В EBS и AS Tronic для передачи данных между компонентами внутри этих систем используется отдельная сеть CAN.
D: На изображении показано на основании диагностики, к какой сети CAN подключена каждая система, также показано расположение оконечных резисторов и их значения.
Именно по этой причине также имеются системы, не подключенные к сети CAN;
диагностика этих систем осуществляется по линии К. Однако диагностика некоторых подключенных к сети CAN систем также осуществляется по отдельной линии К.
E: VIC-2 служит "шлюзом" (коммуникационным портом) между сетями CAN.
CF75IV, CF85IV, XF105, ≥ 200733, ≤ 200924
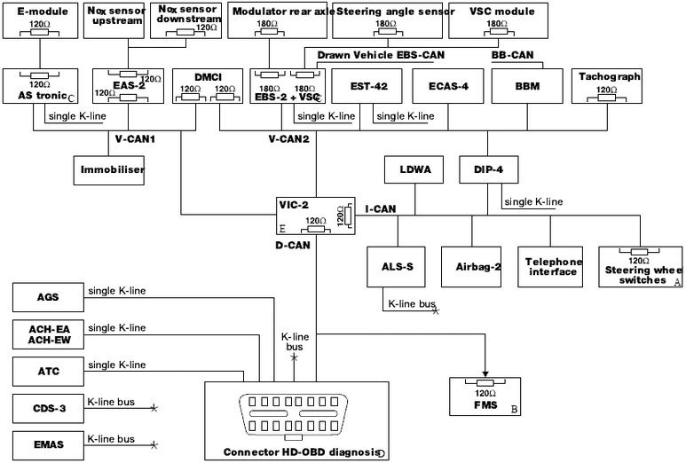
Блок-схема E503409 относится к:
CF75 IV/CF85 IV, неделя спецификации не ранее 33 недели 2007 г. и не позднее 24 недели 2009 г.
XF105, неделя спецификации не ранее 33 недели 2007 г. и не позднее 24 недели 2009 г.

A: В зависимости от конфигурации автомобиля оконечные резисторы в переключателях на рулевом колесе могут находиться:
1. в переключателях на рулевом колесе (если имеются переключатели на рулевом колесе) или
2. в рулевом колесе (если установлена подушка безопасности, а переключатели на рулевом колесе отсутствуют), или
3. в разъеме B462 (если не установлены ни подушка безопасности, ни переключатели на рулевом колесе)
B: В зависимости от конфигурации автомобиля оконечный резистор FMS может находиться:
1. в жгуте проводов FMS (разъем) или
2. в блоке FMS
C: В EBS, EAS-2 и AS Tronic для передачи данных между компонентами внутри этих систем используется отдельная сеть CAN.
D: На изображении показано на основании диагностики, к какой сети CAN подключена каждая система, также показано расположение оконечных резисторов и их значения.
Именно по этой причине также имеются системы, не подключенные к сети CAN;
диагностика этих систем осуществляется по линии К. Однако диагностика некоторых подключенных к сети CAN систем также осуществляется по отдельной линии К.
E: VIC-2 служит "шлюзом" (коммуникационным портом) между сетями CAN.
CF75IV, CF85IV, XF105, ≥ 200925, ≤ 200940
Блок-схема E503586 относится к:
CF75 IV/CF85 IV, неделя спецификации не ранее 25 недели 2009 г. и не позднее 40 недели 2009 г.
XF105, неделя спецификации не ранее 25 недели 2009 г. и не позднее 40 недели 2009 г.

A: В зависимости от конфигурации автомобиля оконечные резисторы в переключателях на рулевом колесе могут находиться:
1. в переключателях на рулевом колесе (если имеются переключатели на рулевом колесе) или
2. в рулевом колесе (если установлена подушка безопасности, а переключатели на рулевом колесе отсутствуют), или
3. в разъеме B462 (если не установлены ни подушка безопасности, ни переключатели на рулевом колесе)
B: В зависимости от конфигурации автомобиля оконечный резистор FMS может находиться:
1. в жгуте проводов FMS (разъем) или
2. в блоке FMS
C: В EBS, EAS-2 и AS Tronic для передачи данных между компонентами внутри этих систем используется отдельная сеть CAN.
D: На изображении показано на основании диагностики, к какой сети CAN подключена каждая система, также показано расположение оконечных резисторов и их значения.
Именно по этой причине также имеются системы, не подключенные к сети CAN; диагностика этих
систем осуществляется по линии К. Однако диагностика некоторых подключенных к сети CAN систем также осуществляется по отдельной линии К.
E: VIC-3 служит "шлюзом" (коммуникационным портом) между сетями CAN.
CF75IV, CF85IV, XF105, ≥ 200941
Блок-схема E503654 относится к:
CF75 IV/CF85 IV, неделя спецификации не ранее 41 недели 2009 г.
XF105, неделя спецификации не ранее 41 недели 2009 г.

A: В зависимости от конфигурации автомобиля оконечные резисторы в переключателях на рулевом колесе могут находиться:
1. в переключателях на рулевом колесе (если имеются переключатели на рулевом колесе) или
2. в рулевом колесе (если установлена подушка безопасности, а переключатели на рулевом колесе отсутствуют), или
3. в разъеме B462 (если не установлены ни подушка безопасности, ни переключатели на рулевом колесе)
B: В зависимости от конфигурации автомобиля оконечный резистор FMS может находиться:
1. в жгуте проводов FMS (разъем) или
2. в блоке FMS
C: В EBS, EAS-2 и AS Tronic для передачи данных между компонентами внутри этих систем используется отдельная сеть CAN.
D: На изображении показано на основании диагностики, к какой сети CAN подключена каждая система, также показано расположение оконечных резисторов и их значения.
Именно по этой причине также имеются системы, не подключенные к сети CAN; диагностика этих
систем осуществляется по линии К. Однако диагностика некоторых подключенных к сети CAN систем также осуществляется по отдельной линии К.
E: VIC-3 служит "шлюзом" (коммуникационным портом) между сетями CAN.
Распределительный блок CAN (G535)
Расположение распределительного блока CAN

Согласующие резисторы CAN
Обзор согласующих резисторов различных подключений сети CAN

Согласующие резисторы V-CAN1

Согласующие резисторы V-CAN2

Согласующие резисторы D-CAN

Согласующие резисторы I-CAN

Согласующие резисторы BB-CAN
