Электросхема MR (управление двигателем) Mercedes ATRON
Предохранитель F39

- А95: Модуль SCR на раме (Евро 4 или Евро 5)
- F39: Предохранитель Клемма 30
- ХК: Штекерное соединение 'Кабина водителя-шасси'
- XR.31.1: Место спайки проводов 'кл. 31'
Фрагмент электросхемы WSP иммобилайзер

- АЗ: Блок управления FR система управления движением
- А139: Блок управления MR система управления двигателем
- А42: Считывающий блок иммобилайзера
- S1: Замок зажигания
Датчик NOx

- А300: Блок управления SCR-LO
- А113: Датчик NOx
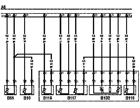
Датчик температуры топлива

- Аб: Блок управления MR система управления двигателем
- Х2: Штекерное соединение (55-контактное)
- В10: Датчик температуры топлива
Заданные значения и параметры:
- Заданное сопротивление прим. при 25 °С: 1975 - 2155 Ом
- Заданное сопротивление прим. при 60 °С: 575 - 613 Ом
- Заданное сопротивление прим. при 90 °С: 239 - 249 Ом
- Заданное сопротивление прим. при 120 °С: 111 - 117 Ом
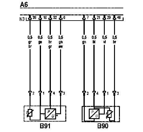
Датчик температуры масла

- Аб: Блок управления MR система управления двигателем
- В91: Датчик температуры масла
- В91: Датчик давления масла
Заданные значения и параметры:
- Заданное сопротивление прим. при 25 °С: 1975 - 2155 Ом
- Заданное сопротивление прим. при 60 °С: 575 - 613 Ом
- Заданное сопротивление прим. при 90 °С: 239 - 249 Ом
- Заданное сопротивление прим. при 120 °С: 111 - 117 Ом
Датчик давления масла

- Аб: Блок управления MR система управления двигателем
- В91: Датчик температуры масла
- В91: Датчик давления масла
Заданные значения и параметры:
- Напряжение питания: 5 V
- Напряжение датчиков: 0,5 V - 4,5 V
- Заданное значение при 0,5 бар: 0,5 В
- Заданное значение при б бар: 4,5 В
Датчик уровня масла

- Аб: Блок управления MR система управления двигателем
- В11: Датчик температуры масла
- В12: Датчик давления масла
- В14: Датчик уровня масла
- S166: Датчик давления масла
- 100: На выбор в зависимости от исполнения
Фрагмент электросхемы датчика положения

- Аб: Блок управления MR система управления двигателем
- Х2: Штекерное соединение (55-контактное)
- В15: Датчик положения коленвала
- В16: Датчик положения распредвала
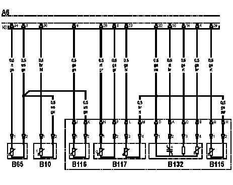
Датчик температуры охлаждающей жидкости

- Аб: Блок управления MR система управления двигателем
- Х2: Штекерное соединение (55-контактное)
- В65: Датчик температуры охлаждающей жидкости
Заданные значения и параметры:
- Заданное сопротивление прим. при 25 °С: 1975 - 2155 Ом
- Заданное сопротивление прим. при 60 °С: 575 - 613 Ом
- Заданное сопротивление прим. при 90 °С: 239 - 249 Ом
- Заданное сопротивление прим. при 120 °С: 111 - 117 Ом
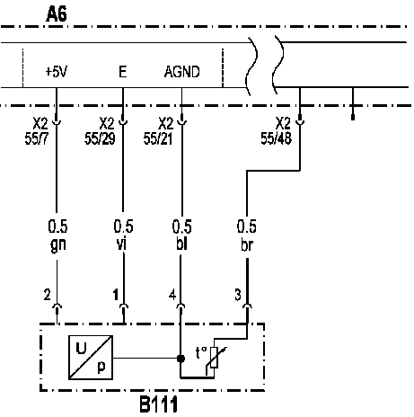
Комбинированный датчик 'Давление и температура нагнетаемого воздуха'

- Аб: Блок управления MR система управления двигателем
- Х2: Штекерное соединение (55-контактное)
- B111: Комбинированный датчик 'Давление и температура нагнетаемого воздуха
Датчики температуры на катализаторе

- Аб: Блок управления системы управления двигателем (MR)
- В115: Датчик температуры перед катализатором
- В116: Датчик температуры после катализатора
Датчик 'Уровень/температура бака AdBlue'

- Аб: Блок управления системы управления двигателем (MR)
- В117: Датчик 'Уровень/температура бака AdBlue'
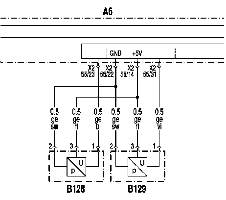
Датчик давления AdBlue / Датчик сжатого воздуха SCR

- А6: Блок управления MR система управления двигателем
- В128: Датчик сжатого воздуха SCR
- В129: Датчик давления AdBlue
Датчик 'Влажность воздуха/температура воздуха'

- Аб: Блок управления системы управления двигателем (MR)
- В132: Датчик 'Влажность воздуха/температура воздуха'
Датчик температуры AdBlue

- Аб: Блок управления MR система управления двигателем
- В10: Датчик температуры топлива
- В65: Датчик температуры охлаждающей жидкости
- В130: Датчик температуры AdBlue
Насос AdBlue

- Аб: Блок управления системы управления двигателем (MR)
- E1: Свет Indicadora Liquid Only
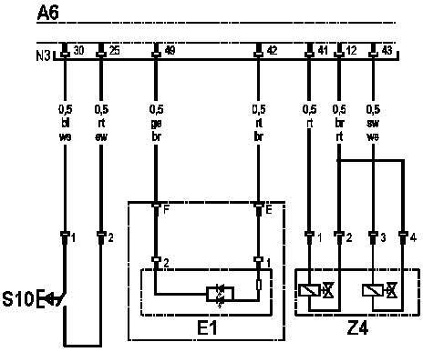
Кнопка пуска и остановки двигателя

- Аб: Блок управления MR система управления двигателем
- N3: Штекерное соединение (55-контактное)
- S10: Кнопка пуска двигателя
Переключающий клапан сжатого воздуха SCR

- А95: Модуль SCR на раме (Евро 4 или Евро 5)
- М25: Насос AdBlue
- Y106: Переключающий клапан сжатого воздуха SCR
Дозирующий клапан AdBlue

- Аб: Блок управления MR система управления двигателем
- Y107: Электромагнитный клапан 'Подогрев бака AdBlue'
- Y109: Дозирующий клапан AdBlue
- R21: Нагревательный фланец Нагнетаемый воздух
Блокирующий клапан сжатого воздуха SCR

- А95: Модуль SCR на раме (Евро 4 или Евро 5)
- Y128: Блокирующий клапан сжатого воздуха SCR
Указание:
- Somente em vei'culos com chave geral da bateria
ТНВД цилиндров 1 ряда

- Аб: Блок управления MR система управления двигателем
- ВК1: Ряд 1
- К10...К15: Винтовые клеммы электромагнитных клапанов ТНВД цилиндров
- N3: Штекерное соединение (55-контактное)
- Y6...Y8: Электромагнитные клапаны ТНВД цилиндров 1...3 (на двигателе R6)
ТНВД цилиндров 2 ряда

- Аб: Блок управления MR система управления двигателем
- ВК2: Ряд 2
- К18...К21, К38, К58: Винтовые клеммы электромагнитных клапанов ТНВД цилиндров
- N3: Штекерное соединение (55-контактное)
- Y9...Y11: Электромагнитные клапаны ТНВД цилиндров 1...3 (на двигателе R6)
Шина данных CAN двигателя

- АЗ: Блок управления FR система управления движением
- Аб: Блок управления MR система управления двигателем
- XI: Штекерное соединение (16-контактное)
- ХМ2: Штекерное соединение (18-контактное)
- Х4: Штекерное соединение (18-контактное)
Указание:
- Место установки штекерного соединения ХМ2 на плате штекеров 'Кабина водителя - шасси
CAN А95 - А6

- Аб: Блок управления MR система управления двигателем
- А95: Модуль SCR на раме (Евро 4 или Евро 5)
- ХМ2: Штекерное соединение 'Кабина водителя-шасси'
- ХК: Штекерное соединение 'Кабина водителя-шасси'
- Z3: Точка звезды CAN
Место установки блоков управления

- 1: FR система управления движением
- 2: FLA электрофакельный подогреватель воздуха
- 3: NR Система регулирования уровня кузова
- 4: EDW система противоугонной сигнализации
- 5: Дополнительный модуль для приборов освещения прицепа 24 В
- 6: Дополнительный модуль для приборов освещения прицепа 12 В
- 7: ABS антиблокировочная система или BS тормозное управление
Блок управления MR

- 1: Блок управления MR система управления двигателем
Замок зажигания со считывающим блоком иммобилайзера

- Замок зажигания со считывающим блоком иммобилайзера
Модуль SCR на раме (A95)


- Иллюстрация 1
- 1: Модуль SCR на раме (А95)
- 2: Штекерное соединение А95
- 3: Y106 (клапаны впрыска)
- 4: Y128 (электромагнитный клапан баллона системы аварийной подачи свежего воздуха)
- 5: Насос AdBlue ( М25 )
- Иллюстрация 2
- 1: Насос AdBlue ( М25 )
- 2: Штекерное соединение ( М25 )
- 3: Модуль SCR на раме (( А95 ))
- 4: Штекерное соединение ( А95 )
Датчик NOx

- 1: Катализатор
- 2: Датчик NOx
- 3: Блок управления Датчик NOx
Место установки датчика температуры топлива

- 1: Датчик температуры топлива
Место установки датчика температуры масла

- 1: Датчик давления масла В12
- 2: Датчик температуры масла В11
Место установки датчика давления масла

- 1: Датчик давления масла В12
- 2: Датчик температуры масла В11
Место установки датчика уровня масла

- 1: Блок управления системы управления двигателем (MR)
- 2: Датчик уровня масла В14
- 3: Штекерное соединение датчика уровня масла
Место установки датчика положения коленвала

- 1: Датчик положения коленвала
Место установки датчика положения распредвала

- 1: Датчик положения распредвала (датчик ВМТ, цилиндр 1)
Место установки комбинированного датчика 'Давление и температура нагнетаемого воздуха'

- 1: Комбинированный датчик 'Давление и температура нагнетаемого воздуха'
- 2: Штекер (4-контактный) комбинированного датчика
Датчики температуры на катализаторе


- Иллюстрация 1
- 1: Бак AdBlue
- 2: Катализатор
- 3: Блок управления Датчик NOx
- 4: Датчик NOx
- 5: Датчик 'Уровень/температура бака AdBlue'
- 6: Датчик температуры после катализатора (В116)
- 7: Датчик температуры перед катализатором (В115)
- Иллюстрация 2
-1 : Катализатор
- 2: Датчик NOx
- 3: Блок управления Датчик NOx
Датчик 'Уровень/температура бака AdBlue'


- Иллюстрация 1
- 1: Бак AdBlue
- 2: Катализатор
- 3: Блок управления Датчик NOx
- 4: Датчик NOx
- 5: Датчик 'Уровень/температура бака AdBlue'
- 6: Датчик температуры после катализатора (В116)
- 7: Датчик температуры перед катализатором (В115)
- Иллюстрация 2
- 1: Бак AdBlue
- 2: Датчик 'Уровень/температура бака AdBlue'
Дозатор


- 1: Датчик давления AdBlue (В129)
- 2: Датчик температуры AdBlue (В130)
- 3: Датчик сжатого воздуха SCR (В128)
- 4: Дозирующий клапан AdBlue (Y109)
Датчик 'Влажность воздуха/температура воздуха'

- 1: Датчик 'Влажность воздуха/температура воздуха' (В132)
Стартер (Реле управления , Тяговое реле)

- 1: Реле управления
- 2: Выход 'Клемма 87' с тягового реле
- 3: Провод управления (клемма 50) от блока управления MR
- 4: Стартер
- 5: Клемма 30 на реле управления
- 6: Тяговое реле
- 7: Клемма 86 на реле управления
- 8: Выход 'Клемма 87' на реле управления
- 9: Вход 'Клемма 50' с реле управления
- 10: Клемма 30
Насос AdBlue


- Иллюстрация 1
- 1: Насос AdBlue (М25)
- 2: Штекерное соединение (М25)
- 3: Модуль SCR на раме ((А95))
- 4: Штекерное соединение (А95)
- Иллюстрация 2
- 1: Модуль SCR на раме (А95)
- 2: Штекерное соединение А95
- 3: Y106 (клапаны впрыска)
- 4: Y128 (электромагнитный клапан баллона системы аварийной подачи свежего воздуха)
- 5: Насос AdBlue (М25)
Место установки кнопки пуска и остановки двигателя

- 1: Блок управления MR система управления двигателем
- 2: Кнопка остановки двигателя
- 3: Кнопка пуска двигателя
Переключающий клапан сжатого воздуха SCR

- 1: Переключающий клапан сжатого воздуха SCR (Y106)
- 2: Штекерное соединение (Y106)
ТНВД цилиндров

- 1: ТНВД цилиндра 1
- 2: ТНВД цилиндра 2
- 3: ТНВД цилиндра 3
- 4: ТНВД цилиндра 4
- 5: ТНВД цилиндра 5
- 6: ТНВД цилиндра 6
ТНВД цилиндра с винтовыми клеммами

- 1+2: Клеммы подключения электромагнитного клапана ТНВД цилиндра
- 3: ТНВД цилиндров
XI / Х2: Штекер на блоке управления MR

Назначение штекерных соединений Х2 (слева) и X I (справа) на блоке управления MR система управления двигателем
a) Штекерное соединение Х2 (55-контактное):
- 0: Электростатический маслоотделитель (Диагностический провод)
- 1: Датчик положения распредвала (-)
- 2: Датчик положения коленвала (-)
- 3: Обратная связь датчика температуры охлаждающей жидкости
- 4: Обратная связь датчика температуры топлива
- 5: Датчик числа оборотов турбонагнетателя (-)
- 6: Датчик давления масла (активный датчик) - Питание 5 В
- 7: Комбинированный датчик 'Давление и температура нагнетаемого воздуха': питание - 5 V
- 8: Не используется
- 9: Обратная связь ТНВД цилиндров 2 ряда
- 10: Датчик давления масла (активный датчик) - Провод массы
- 11: Электростатический маслоотделитель (Провод массы)
- 12: Обратная связь пропорциональных клапанов 1, 3 и 4
- 13: Не используется
- 14: Не используется
- 15: Обратная связь датчика температуры масла
- 16: Обратная связь ТНВД цилиндров 1 ряда
- 17: Не используется
- 18: Управление стартером 'Клемма 50'
- 19: Датчик положения коленвала (+)
- 20: Датчик положения распредвала (+)
- 21: Не используется
- 22: Не используется
- 23: Комбинированный датчик 'Давление и температура нагнетаемого воздуха': обратная связь
- 24: Датчик числа оборотов турбонагнетателя (+)
- 25: Вход кнопки пуска двигателя
- 26: Не используется
- 27: Электростатический маслоотделитель (Провод питания 24 V)
- 28: Не используется
- 29: Комбинированный датчик 'Давление и температура нагнетаемого воздуха': сигнал давления
- 30: Питание кнопки пуска и остановки двигателя
- 31: Не используется
- 32: Датчик давления масла (активный датчик) - Сигнальный провод
- 33: Сигнал датчика уровня масла
- 34: Сигнал датчика температуры охлаждающей жидкости
- 35: Вход кнопки остановки двигателя
- 36: Сигнал датчика температуры топлива
- 37: Не используется
- 38: Активация ТНВД цилиндра 6
- 39: Сигнал датчика температуры масла
- 40: Не используется
- 41: Пропорциональный клапан 3
- 42: Не используется
- 43: Пропорциональный клапан 4
- 44: Активация ТНВД цилиндра 5
- 45: Активация ТНВД цилиндра 4
- 46: Не используется
- 47: Активация ТНВД цилиндра 3
- 48: Комбинированный датчик 'Давление и температура нагнетаемого воздуха': сигнал температуры
- 49: Обратная связь датчика уровня масла
- 50: Пропорциональный клапан 2
- 51: Пропорциональный клапан 1
- 52: Обратная связь пропорционального клапана 2
- 53: Активация ТНВД цилиндра 2
- 54: Активация ТНВД цилиндра 1
b) Штекерное соединение XI (16-контактное):
- 1: CAN-H
- 2: CAN-L
- 3: CAN-GND (масса)
- 4: CAN-GND (масса)
- 5: Клемма 30
- 6: Клемма 30
- 7: Не используется
- 8: Клемма 50 (вход)
- 9: Клемма 31 (масса)
- 10: Не используется
- 11: Клемма 31 (масса)
- 12: Управление стартером 'Клемма 50'
- 13: Диагностический разъем ISO (провод активации контроля токсичности ОГ)
- 14: Обратная связь пропорционального клапана 3
- 15: Клемма 15
- 16: Не используется
АЗ / Х4: Штекер на блоке управления FR

- 1: Шина CAN Low
- 2: Шина данных CAN
- 3: Шина CAN High
- 4: Подводящий провод датчика входного числа оборотов КП (отсутствует в случае наличия EPS)
- 5: Провод обратной связи датчика входного числа оборотов КП (отсутствует в случае наличия EPS)
- 6: Провод электропитания датчика температуры наружного воздуха
- 7: Провод обратной связи по массе электромагнитного клапана 'Делитель Г и 'Делитель 2’ (отсутствует в случае наличия EPS)
- 8: Выход электромагнитного клапана 'Делитель 1 (отсутствует в случае наличия EPS)
- 9: Провод обратной связи датчика температуры наружного воздуха
- 10: Выход электромагнитного клапана 'Делитель 2' (отсутствует в случае наличия EPS)
- 11: Сигнал числа оборотов коленвала двигателя с клеммы W
- 12: Электропитание переключателя КП (отсутствует в случае наличия EPS)
- 13: Предварительное возбуждение 'D+' к генератору
- 14: Провод электропитания датчика положения сцепления (отсутствует в случае наличия EPS)
- 15: Провод обратной связи датчика положения сцепления (отсутствует в случае наличия EPS)
- 16: Вход датчика нейтрального положения (отсутствует в случае наличия EPS)
- 17: Вход датчика выбора групп передач (отсутствует в случае наличия EPS)
- 18: Вход датчика включения заднего хода (отсутствует в случае наличия EPS)