Описание топливной системы D11 VOLVO

Топливная система оснащена электронным управлением (EMS). Впрыск топлива под высоким давлением
происходит через насосы-форсунки, по одной на цилиндр. Высокое давление создается механическим путем, через верхний распредвал и коромысла. Количество топлива и момент впрыска регулируются электроникой через блок управления двигателем (EECU), получающий сигналы с группы датчиков.
На рисунке показаны основные компоненты, включенные в топливную систему, и также поток топлива системы питания.
- Питающий насос
- Фильтр грубой очистки, индикатор уровня бака
- Корпус топливного фильтра
- Фильтр предварительной очистки с водоотделителем
- Топливный фильтр
- Охлаждающий контур электронного блока управления двигателем
- Перепускной клапан
- Насос-форсунка
- Топливный канал в головке цилиндра
- Воздуховыпускной клапан
Двигатель D11B снабжен ручным топливоподкачивающим насосом, расположенным на корпусе топливных фильтров.
Система питания топливом, принцип работы

Топливо через расположенный в баке сетчатый фильтр (2) всасывается топливным насосом (1) вверх, в
охлаждающий контур (6) электронного блока управления двигателем, затем поступает вниз, в корпус
топливного фильтра (3). Затем топливо проходит через обратный клапан (11) для ручного насоса (12) и предварительный фильтр (4) с влагоотделителем (13). Обратный клапан служит для предотвращения слива топлива в бак при выключенном двигателе.
Топливный насос (1) подает топливо в корпус топливного фильтра (3) через главный фильтр (5) и далее к продольной топливной магистрали (9) в головке блока цилиндров. Эта магистраль обеспечивает каждый насос-форсунку (8) топливом через кольцеобразную канавку вокруг каждой форсунки в головке блока цилиндров. Перепускной клапан (7) регулирует давление подачи топлива в форсунки.
Обратный поток топлива из топливной магистрали (9) головки блока проходит через перепускной клапан (7) обратно в корпус топливного фильтра (3). В сквозном канале корпуса топливного фильтра обратный поток топлива смешивается с топливом из бака и всасывается через впускной патрубок топливного насоса (на стороне всасывания).
В топливном насосе установлены два клапана. Предохранительный клапан (14) позволяет топливу перетекать назад, к стороне всасывания, в случае слишком высокого давления, например, когда топливный фильтр забит.
Обратный клапан (15) открывается при использовании ручного топливного насоса (12), облегчая подкачку топлива вручную.
Воздух из топливной системы выпускается автоматически при запуске двигателя. Воздуховыпускной клапан (10) расположен на корпусе топливного фильтра и соединен с идущим в бак возвратным топливопроводом, поэтому попадающий в систему воздух вместе с небольшим количеством топлива попадает в бак по возвратной линии.
При замене фильтров следует закрывать конусы тарелок клапанов (18 и 19), чтобы предотвратить утечку топлива при откручивании топливного фильтра. Стравливание воздуха из фильтра при его замене регулируется клапанами (18 и 20) в корпусе фильтра.
На корпусе топливного фильтра установлен датчик давления топлива (21), измеряющий давление топлива на выходе из топливного фильтра. Если давление подачи меньше, чем значение, приведенное в перечне кодов неисправностей, на приборной панели появляется соответствующий код неисправности. Заглушенное отверстие (22) в корпусе топливного фильтра используется для измерения давления подачи с помощью внешнего датчика давления или манометра.
Внутри влагоотделителя (13) установлен датчик уровня (23), посылающий сигнал водителю при наличии воды в системе. Слив осуществляется подрулевым переключателем (24) на рулевой колонке. Электрический дренажный клапан (25) открывается по команде с электронного блока управления двигателем.
В качестве дополнительного оборудования предусмотрен подогреватель топлива (26), устанавливаемый в нижней части влагоотделителя.
Ручной насос (12) расположен на корпусе топливного фильтра и служит для подкачки топлива (при
неработающем двигателе) при его отсутствии в топливной системе.
Внимание: Ручной насос нельзя использовать при работающем двигателе.
Топливная система, компоненты

A: Насосы-форсунки нового типа (Е3), с двумя электромагнитными клапанами для повышения точности
впрыска.
B: В кронштейне топливных фильтров установлен ручной насос (1), который служит для подкачки топлива при его отсутствии в топливной системе, и обратный клапан, предотвращающий слив топлива в бак при заглушенном двигателе.
Электрические разъемы (2) предназначены для датчика уровня (3), сливного клапана (4) и нагревателя (5) в водоотделителе (6).
Фильтр грубой очистки (7) очищает топливо перед подачей в топливный насос, т.е. он расположен на стороне всасывания. Фильтр тонкой очистки (8) очищает топливо после выхода из топливного насоса, т.е. он расположен на стороне нагнетания.
Воздуховыпускной клапан (17) расположен на кронштейне топливных фильтров. Он соединен с возвратным трубопроводом на топливный бак.
C: Топливоподкачивающий насос шестеренного типа установлен на насосе усилителя руля (9). Привод
топливоподкачивающего насоса осуществляется валом (10), проходящим через насос усилителя руля.
Уплотнение между двумя насосами обеспечивается посредством уплотнительного кольца (11), расположенного в канавке на фланце насоса усилителя руля. Передача мощности между насосами происходит через плавающую муфту (12).
Предохранительный клапан (13) насоса расположен в корпусе насоса, а обратный клапан (14) в торцевой крышке насоса.
Утечки топлива у приводного вала насоса возвращаются к стороне всасывания насоса по каналу (15).
D: Охлаждающий контур на левой стороне двигателя охлаждает электронный блок управления двигателем (EECU) топливом со стороны всасывания топливного насоса.
E: Перепускной клапан (16) на головке цилиндров регулирует давление в системе низкого давления,
обеспечивающей топливом и охлаждающей насос-форсунки.
Насосы-форсунки

Двигатель D11B оснащен насос-форсунками такого же типа, как D9B, с двумя электромагнитными клапанами для повышения точности впрыскивания. Благодаря этому обеспечивается более полное сгорание и снижение выброса частиц, поэтому отработавшие газы становятся чище.
Насосы-форсунки расположены вертикально по центру каждого цилиндра, между четырьмя клапанами, и закреплены зажимами (1). Нижняя часть каждой форсунки прижимается к рубашке охлаждения медной втулкой (2) и уплотнительным кольцом (3). Кольцеобразная камера для подачи топлива (4) вокруг каждого насоса-форсунки уплотняется двумя уплотнительными кольцами (5 и 6).
Основные части насоса-форсунки:
- A. Насос
- B. Клапанная часть (привод)
- C. Сопло
В клапанной части расположены два электромагнитных клапана — расходный (7) и игольчатый (10), с
соленоидами и возвратными пружинами (8 и 9 соответственно).
На фазе заправки поршень насоса перемещается вверх и топливо из топливной магистрали головки блока всасывается в насос-форсунку.
На фазе расхода поршень насоса перемещается вниз и топливо нагнетается обратно в топливную магистраль головки блока. Поскольку соленоиды клапанов обесточены (оба клапан неактивны), а расходный клапан открыт, в топливном канале, идущем к соплам, давление не создается.
На фазе создания давления на соленоид расходного клапана подается ток и клапан закрывается. Это
обеспечивает создание высокого давления в топливном канале (13). Кроме того, поднимается давление в камере (14) за игольчатым клапаном, воздействующее на поршень игольчатого клапана (11), не позволяя игольчатому клапану (10) открывать штифт сопла (12).
По достижении требуемого давления топлива начинается фаза впрыска. На соленоид игольчатого клапана (10) подается ток и клапан открывается Топливо под высоким давлением давит на поршень игольчатого клапана и штифт сопла (12) открывается. Распыленное топливо под высоким давление впрыскивается в камеру сгорания двигателя.
Впрыск топлива прекращается при открытии расходного клапана, вызывающего воздействие давление на поршень (11), который быстро опускается и штифт сопла (12) закрывается.
Система управления двигателем (EMS) регулирует весь процесс впрыска.
На электрическом разъеме форсунки (15) имеется следующая маркировка: номер детали (16), код настройки (17) и заводской номер (18). При замене одной или нескольких форсунок необходимо выполнить программирование электронного блока управления двигателем с новым кодом настройки форсунки, поскольку каждая из них уникальна и обеспечивает регулирование двигателя на оптимальный впрыск топлива и максимально возможный низкий уровень токсичности выхлопных газов. Код настройки программируется при помощи раздела программирования параметров VCADS Pro. Программирование необходимо выполнять только для конкретной форсунки или для форсунок, которые были заменены.
Топливный бак, подсоединения и топливопроводы
Внимание: Поскольку иллюстрации в документации по техобслуживанию используются для нескольких
вариантов, некоторые детали могут отличаться от автомобиля, на котором вы работаете. Однако основная информация на иллюстрациях всегда верна.
Внимание: Установка двойных топливных баков осуществлялась в двух разных конфигурациях.
Внимание: Распространяется только на автомобили с двумя баками (старый вариант).

- Блок топливного бака, основной бак, большой (содержит датчик уровня, клапан сапуна (гравитационный) и проводку для датчика уровня)
- Блок топливного бака, вспомогательный бак, малый
- Шланг сапуна и, как вариант, воздушный фильтр
- Питающая линия и, как вариант, возвратная линия, нагреватель
- Питающие и возвратные линии, двигатель
- Соединительный шланг
Блок вспомогательного топливного бака (2) не имеет датчика уровня и не имеет клапана сапуна
(гравитационного).
Внимание: Для правильного функционирования чрезвычайно важно, чтобы соединительный шланг (6) между фитингом основного бака и фитингом вспомогательного бака был установлен надлежащим образом.
Функционирование
Внимание: Действительно как для автомобилей с одним баком, так и для автомобилей с двумя баками.

Двигатель всасывает топливо из бака с наибольшим уровнем топлива и возвращает топливо в бак с
наименьшим уровнем топлива.
Идентификация узла бака осуществляется сверху, по номеру детали и дате выпуска.
Соединительные штуцеры
Внимание: Действительно как для автомобилей с одним баком, так и для автомобилей с двумя баками.
Hyper-VHyper-V
Неиспользуемые соединительные штуцеры на блоке топливного бака заглушаются. Если трубопровод должен быть подсоединен к какому-либо штуцеру (например, возвратной линии от обогревателя), штуцер должен открываться посредством поворота верхней части штуцера двумя гаечными ключами (один используется для удержания от проворачивания).
Внимание: Соединительные штуцеры допускается открывать, только если они будут задействованы в работе.
Установка двойного топливного бака (“новый” вариант)
Внимание: Распространяется только на автомобили с двумя баками (новый вариант).

- Блок топливного бака, основной бак, большой (содержит датчик уровня, клапан сапуна (гравитационный) и проводку для датчика уровня)
- Блок топливного бака, вспомогательный бак, малый
- Шланг сапуна и воздушный фильтр
- Питающая линия, нагреватель
- Питающие и возвратные линии, двигатель
Блок вспомогательного топливного бака (2) не имеет датчика уровня.
Установка на главном баке
Внимание: Действительно как для автомобилей с одним баком, так и для автомобилей с двумя баками.

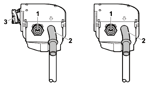
Установка на главном топливном баке отличается по двум топливным подсоединениям.
- Топливное соединение, двигатель, возврат
- Топливное соединение, двигатель, подача
- Вентиляция, топливный бак - вставной соединитель для трубки 8 мм
- Топливное соединение, дополнительное оборудование, подача - вставной соединитель для трубки 4 мм (ВСТАВЛЕНО)
- Электрический разъем
Установка на вспомогательном баке
Внимание: Распространяется только на автомобили с двумя баками.

- Вентиляция, топливный бак - вставной соединитель для трубки 8 мм
- Топливное соединение, двигатель, подача
- Электрический разъем: если имеется, то не используется и не подключается (МАССА)
Фильтр сапуна

На каждом баке на шланге сапуна должен быть установлен воздушный фильтр. Это предусмотрено для исключения вероятности возникновения неисправностей.
Воздушный фильтр устанавливается на шасси с помощью двух держателей.