Расположение и описание компонентов EAS-2 DAF XF105

ИНФОРМАЦИЯ О РАСПОЛОЖЕНИИ, EAS-2

БЛОК EAS-2 (D342)

В блоке EAS установлены следующие компоненты:
- Насос AdBlue
- Вентиляционный клапан
- Клапан регулирования давления воздуха
- Датчик давления AdBlue
- Датчик температуры AdBlue
- Датчик давления воздуха перед отверстием
- Датчик давления воздуха после отверстия
- Отверстие
- Электронный блок
Насос AdBlue
Насос AdBlue - это диафрагменный насос, который подает жидкость AdBlue под давлением в модуль дозирования. Давление не зависит от количества нагнетаемой жидкости AdBlue. В насосе имеется клапан управления давлением, который поддерживает постоянный уровень давления при нагнетании малого количества AdBlue. В насосе также имеется демпфер, который демпфирует любые скачки давления насоса. Насос AdBlue управляется электронным блоком согласно рабочему циклу. Путем
регулирования рабочего цикла и, тем самым, скорости работы насоса давление AdBlue поддерживается на постоянном уровне.
Скорость работы насоса зависит от количества нагнетаемой жидкости AdBlue.
Вентиляционный клапан
Данный клапан открывает возвратный трубопровод AdBlue для продувки и очистки трубопроводов AdBlue во время фазы завершения работы. Этот клапан также срабатывает во время запуска для продувки контура AdBlue. Вентиляционный клапан управляется электронным блоком согласно
рабочему циклу.
Клапан регулирования давления воздуха
Клапан регулирования давления воздуха подает воздух под постоянным давлением в модуль
дозирования в системе дополнительной обработки выбросов (EAS). Давление воздуха зависит от количества нагнетаемой жидкости AdBlue. Давление при нагнетании малого количества AdBlue ниже чем при нагнетании большого количества. Это позволяет предотвратить испарение и кристаллизацию в
трубопроводе жидкости AdBlue, которая уже находится в форсунке. Клапан регулирования давления воздуха управляется электронным блоком согласно рабочему циклу.
Датчик давления AdBlue
Датчик давления измеряет давление жидкости AdBlue после фильтра. Датчик давления является пьезоэлектрическим датчиком. Чем выше давление, тем выше сигнал напряжения.
Сигнал датчика является входным сигналом на электронный блок. Управление модулем дозирования также зависит от измеренного давления AdBlue. Соответственно, нагнетаемое количество AdBlue не зависит от давления AdBlue.
Датчик температуры AdBlue
Датчик температуры измеряет температуру жидкости AdBlue после фильтра. Сигнал датчика является входным сигналом на электронный блок. Данное значение используется для определения необходимости работы блока EAS.
Датчик давления воздуха перед отверстием
Датчик давления воздуха измеряет давление воздуха после клапана регулирования давления воздуха перед отверстием. Датчик давления является пьезоэлектрическим датчиком. Чем выше давление, тем выше сигнал напряжения.
Сигнал датчика является входным сигналом на электронный блок. Клапан регулирования давления воздуха управляется в зависимости от измеренного давления.
Датчик давления воздуха после отверстия
Датчик давления воздуха измеряет давление воздуха после отверстия. Датчик давления является пьезоэлектрическим датчиком. Чем выше давление, тем выше сигнал напряжения.
Сигнал датчика является входным сигналом на электронный блок. Электронный блок использует данный сигнал для проверки правдоподобности значения другого датчика.
Этот сигнал используется также для отслеживания любых утечек воздуха или засорений до модуля дозирования и форсунки.
Отверстие обеспечивает поступление постоянного количества воздуха в модуль дозирования. Постоянный расход потока воздуха "контролируется" датчиками давления воздуха до и после отверстия.
Электронный блок
Электронный блок осуществляет непрерывную обработку входных сигналов от различных датчиков и информации, получаемой по сети CAN. Электронный блок обрабатывает эти сигналы и в зависимости от значений, запрограммированных в различных картах, управляет различными клапанами EAS.
МОДУЛЬ ДОЗИРОВАНИЯ (B455)

Указанное количество AdBlue смешивается с воздухом в модуле дозирования. Электронный блок
включает модуль дозирования согласно рабочему циклу для точного регулирования впрыскиваемого количества AdBlue.
AdBlue смешивается с воздухом, обеспечивая таким образом:
- равномерное распределение AdBlue в выхлопной трубе и, следовательно, в каталитическом нейтрализаторе.
- должное распыление AdBlue.
ФОРСУНКА ADBLUE
Форсунка AdBlue установлена в выхлопной трубе перед каталитическим нейтрализатором.
Форсунка AdBlue обеспечивает должное распыление и распределение AdBlue в отработавших газах.

AdBlue прилипает к внутренним стенкам форсунки (A), образуя пленку (B). Поток воздуха (C) переносит AdBlue через форсунку к концу форсунки AdBlue. Смесь AdBlue и воздуха образуется в отверстиях форсунки (D). Смесь AdBlue и воздуха (E) равномерно распыляется в потоке отработавших газов и образует однородную смесь.

ДАТЧИК, ТЕМПЕРАТУРА/УРОВЕНЬ ADBLUE (F723)
Датчик температуры/уровня AdBlue является комбинированным датчиком, который состоит из датчика уровня и датчика температуры. Датчик температуры/уровня AdBlue находится в баке AdBlue.
Датчик температуры
Датчик температуры измеряет температуру жидкости AdBlue в баке AdBlue. Датчик температуры представляет собой датчик NTC (с отрицательным температурным коэффициентом) (при повыше

Датчик уровня
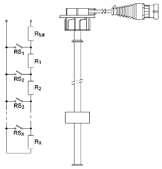
Датчик уровня измеряет уровень жидкости AdBlue в баке AdBlue. Датчик уровня состоит из
микровыключателей RS1-RSx (герконовых переключателей), подключенных параллельно с резисторами Rfull-Rx. Количество микровыключателей и резисторов зависит от типа датчика. На эти микропереключатели действует внешнее магнитное поле. Поплавок установлен рядом с датчиком. Поплавок состоит из постоянного магнита и плавает на поверхности жидкости AdBlue. Один их
выключателей замыкается постоянным магнитом. Два или более резисторов отключаются последовательно в зависимости от того, какой выключатель был замкнут, при этом коэффициент сопротивления меняется. ЭБУ блока EAS-2 преобразует значение сопротивления в сообщение CAN для VIC. VIC включает датчик количества AdBlue на DIP.
Показание датчика уровня на DIP:
- уровень AdBlue отображается на DIP.
- предупреждение о низком уровне AdBlue отображается на DIP, когда уровень AdBlue в баке AdBlue опускается ниже 9% (по объему).
- предупреждение о пустом баке AdBlue отображается на DIP, если уровень AdBlue в баке AdBlue опускается ниже 2% (по объему). Система EAS отключается. Это предотвращает полную выработку жидкости и попадание воздуха в систему.
Вентиляция бака
Вентиляция бака осуществляется через датчик температуры/уровня AdBlue.
ДАТЧИК ТЕМПЕРАТУРЫ ОТРАБОТАВШИХ ГАЗОВ ДО КАТАЛИТИЧЕСКОГО
НЕЙТРАЛИЗАТОРА (F719)

Датчик температуры отработавших газов измеряет температуру отработавших газов перед каталитическим нейтрализатором. Датчик температуры представляет собой датчик PTC (с положительным температурным коэффициентом) (при повышении температуры, повышается сопротивление). Наличие каталитического нейтрализатора можно определить на основании измерений температур перед и после каталитического нейтрализатора.
Могут устанавливаться два типа датчиков.
ДАТЧИК ТЕМПЕРАТУРЫ ОТРАБОТАВШИХ ГАЗОВ ПОСЛЕ КАТАЛИТИЧЕСКОГО
НЕЙТРАЛИЗАТОРА (F718)

Датчик температуры отработавших газов измеряет температуру отработавших газов после каталитического нейтрализатора. Датчик температуры представляет собой датчик PTC (с
положительным температурным коэффициентом) (при повышении температуры, повышается сопротивление). Это значение является одним из параметров, на основании которых определяется необходимость впрыска жидкости AdBlue и требуемое количество.
Каталитический нейтрализатор не работает, если температура опускается ниже указанного значения, и поэтому при температурах ниже указанного значения впрыск жидкости не осуществляется.
Наличие каталитического нейтрализатора можно определить на основании измерений температур
после и до каталитического нейтрализатора.
Могут устанавливаться два типа датчиков.
ВОЗДУХО/МАСЛООТДЕЛИТЕЛЬ

Воздух, поступающий с компрессора, фильтруется перед входом в блок EAS-2.
Воздухо/маслоотделитель отфильтровывает все частицы масла, содержащиеся в воздухе.
Частицы масла, содержащиеся в воздухе, могут повредить компоненты и уплотнители блока EAS-2.
КАТАЛИТИЧЕСКИЙ НЕЙТРАЛИЗАТОР
Конструкция
Каталитический нейтрализатор ускоряет протекание химической реакции, но сам в ней участия не принимает. На рассматриваемых автомобилях используется каталитический нейтрализатор системы SCR (селективное каталитическое разложение), встроенный в глушитель системы выпуска отработавших
газов. В глушителе системы выпуска отработавших газов установлены четыре керамических элемента. Два элемента соединяются последовательно и подключаются параллельно с двумя другими элементами. Эти элементы имеют цилиндрическую форму и состоят из большого множества очень тонких каналов. На элемент (1) нанесен материал подложки (2), на котором держится активный катализатор (3). Катализатором служит оксид ванадия. Поверхность материала подложки очень неровная и пористая, и благодаря этому полезная площадь, мимо которой проходят отработавшие газы, очень велика.

Принцип действия
AdBlue представляет собой раствор, состоящий на 32,5 % из мочевины (NH2CONH2) и на 67,5% из воды (H2O). После дозирования перед каталитическим нейтрализатором AdBlue (NH2CONH2 + H2O) распадается на аммиак (2NH3) и углекислый газ (CO2). Ванадий в каталитическом нейтрализаторе притягивает аммиак (2NH3). Оксиды азота в отработавших газах (NOx) на 90 % состоят из моноксида азота (NO) и на 10% из диоксида азота (NO2).
Отработавшие газы, проходящие через каталитический нейтрализатор, вступают во взаимодействие с аммиаком (2NH3), и в результате реакции оксиды азота распадаются на азот (N2) и воду (H2O).
Реакция
Протекающие реакции можно представить в виде формул:
Быстрая реакция:
2NH3+ NO + NO2 → 2N2+ 3H2O (азот + вода)
Медленные реакции:
4NH3+ 4NO + O2 → 4N2+ 6H2O (азот + вода)
8NH3+ 6NO2 → 7N2+ 12H2O (азот + вода)

КЛАПАН ПОДОГРЕВА БАКА (B317)

Блок EAS получает сведения о температуре наружного воздуха по сети CAN. Блок EAS-2 также получает сведения о температуре AdBlue от датчика температуры/уровня AdBlue и от датчика температуры в блоке EAS-2. Работа клапана подогрева бака зависит от значений,
запрограммированных в блоке EAS-2. При срабатывании клапана подогрева бака охлаждающая жидкость поступает через бак AdBlue и нагревает жидкость AdBlue,
находящуюся в баке. Клапан подогрева бака приводится в действие на основании рабочего цикла (ШИМ). При срабатывании клапана подогрева бака он полностью открывается.
ДАТЧИК NOX (F774, F788)
Датчик NOx состоит из керамического элемента датчика и электронного блока. Керамический элемент датчика расположен в выхлопной трубе, а электронный блок расположен на шасси. Датчик NOx измеряет концентрацию оксидов азота в отработавших газах. ЭБУ передает измеренные значения концентрации оксидов азота в цифровом виде по шине EASCAN.
Датчик включает в себя нагревательный элемент. Электронный блок обеспечивает регулирование силы тока, необходимой для нагревательного элемента. Датчик нагревается за два этапа. Первый этап начинается, когда включается зажигание. Датчик нагревается приблизительно до 100 °C, и конденсат
испаряется из датчика. Температура отработавших газов поднимается при работающем двигателе. Если температура отработавших газов после каталитического нейтрализатора, измеренная датчиком
температуры отработавших газов после каталитического нейтрализатора, превышает 150 °C, запускается таймер. За данное время датчик остается нагретым приблизительно до 100 °C. По истечении данного времени электронный блок EAS-2 посылает сообщение точки росы по EAS-CAN. Датчик NOx получает данное сообщение, после чего нагревательный элемент переходит ко второму этапу и нагревает датчик до рабочей температуры приблизительно 800 °C. Пока температура отработавших газов после каталитического нейтрализатора превышает минимальное запрограммированное значение, и двигатель работает, датчик нагревается до 800 °C.
Электронный блок датчика NOx также может обнаружить неисправности. Данные неисправности передаются в электронный блок EAS-2 по сети EAS-CAN. Блок EAS-2 хранит неисправности в виде кодов неисправностей.

Принцип действия
Керамический датчик изготовлен из циркониевого электролита. Внутри датчика имеется две полости. В первой полости на главные электроды подкачки, изготовленные из циркония, подается постоянное напряжение.
Отработавшие газы поступают в первую полость, где под действием высокой температуры NO2 преобразуется в NO + ½O2.
Кислород выкачивается через циркониевый электролит (A). Другие элементы отработавших газов, такие как HC, CO и H2, также поступают в полость. Данные элементы окисляются на электроде подкачки, изготовленном из платины (C).
Оставшийся газ, состоящий из NO и небольшого количества кислорода, поступает во вторую полость, где дополнительный насос (B) полностью выкачивает кислород. В измерительном насосе (D) NO преобразуется в ½N2 и ½O2. Результат измерения полученного кислорода по отношению к внешнему кислороду за пределами выхлопной трубы представляет концентрацию NOx в отработавших газах.

КЛАПАН САПУНА БАКА ADBLUE
Этот клапан используется для вентиляции бака AdBlue определенной формы и объема. Если установлен данный клапан, то блокируется вентиляция через датчик уровня/температуры AdBlue.

При нормальных условиях движения клапан (1) опирается на крышку (6). Воздух может поступать в бак или выходить из него через центр крышки (6) параллельно клапану (1).
При полном баке и движении автомобиля по неровной поверхности дороги AdBlue может разбрызгиваться внутри бака. Клапан (1) закрывается разбрызгиванием AdBlue и предотвращает утечку AdBlue через сапун бака.
