Обучение персонала по MID 150 ECS2 Volvo Truck
пневматическая подвеска с электронным управлением

Содержание
- Общие сведения
- Пневматическая подвеска, расположение компонентов
- Заблокированный режим
- Спецификации
- ECS описание сигналов
- Инструменты
- Специальные инструменты
- Прочие специальные инструменты
- Неисправности
- MID 150 Таблица кодов неисправностей
- MID 150 PID 152 Блок управления, число перезапусков
- MID 150 SID 2 Узел электромагнитного клапана, передний мост
- MID 150 SID 2 Узел электромагнитного клапана переднего моста, проверка
- MID 150 SID 3/4/7 Узел электромагнитного клапана, ведущий мост
- MID 150 SID 3/4/7 Узел электромагнитного клапана ведущего моста, проверка
- MID 150 SID 5/8/10 Узел электромагнитного клапана, дополнительный мост
- MID 150 SID 5/8/10 Узел электромагнитного клапана дополнительного моста, проверка
- MID 150 SID 17/18/19 Датчик уровня
- MID 150 SID 17/18/19 Датчик уровня, проверка
- MID 150 SID 22/24/25/26/28 Датчик давления
- MID 150 SID 22/24/25/26/28 Датчик давления, проверка
- MID 150 SID 33 Пульт управления
- MID 150 SID 33 Дистанционное управление, проверка
- MID 150 SID 231 SAE J1939 Канал управления
- MID 150 SID 240 Память программ
- MID 150 SID 250 SAE J1708 Информационный канал
- MID 150 SID 253 Память для калибровки, EEPROM
- MID 150 PSID 1 Датчик уровня, напряжение питания
- MID 150 PSID 2 Датчик давления, напряжение питания
- MID 150 PSID 3 Переключатель тележка подвески
- MID 150 PSID 3 Выключатель тележки, проверка
- MID 150 PSID 4/5/6/7 Датчик давления, прицеп
- MID 150 PSID 4/5/6/7 Датчик давления, прицеп, проверка
- MID 150 PSID 8 Память калибровки, указатель загрузки
- MID 150 PSID 9/10/11 Узел электромагнитного клапана, мост Tridem
- MID 150 PSID 9/10/11 Узел электромагнитного клапана моста Tridem, проверка
- MID 150 PSID 12/13 Датчик давления, мост Tridem
- MID 150 PSID 12/13 Датчик давления, мост Tridem, проверка
- MID 150 PSID 14 Выключатель моста Tridem
- MID 150 PSID 14 Выключатель Tridem, проверка
- MID 150 PSID 14 Выключатель моста Tridem
- MID 150 PSID 14 Выключатель моста Tridem
- MID 150 PSID 14 Выключатель моста Tridem
- MID 150 PSID 200 J1939 Прерывание канала связи, ECU двигателя
- MID 150 PSID 201 J1939 Прерывание канала связи, ECU транспортного средства
- MID 150 PSID 202 J1939 Прерывание канала связи, ECU прибора
- MID 222 PSID 204 Прерывание канала связи, ECU тормозной системы
- MID 150 PSID 206 J1939 Прерывание канала связи, ECU замедлителя
- MID 150 PSID 210 J1939 Прерывание канала связи, блок управления, внешнее освещение
- MID 150 PSID 215 J1939 Обрыв в канале данных, блок управления мостом с электрогидравлическим управлением
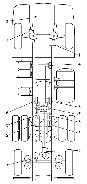
Пневматическая подвеска, расположение компонентов
Расположение компонентов в автомобиле
1 Блок управления ECS
2 Датчики уровня
3 Датчик давления
4 Блок электромагнитных клапанов, передний мост
5 Блок электромагнитных клапанов, ведущий мост
6 Блок электромагнитных клапанов, дополнительный мост
7 Кронштейн для элементов:
- Перепускной клапан
- Распределительный штуцер
- Предохранительный клапан
- Тестовый патрубок

Расположение компонентов в кабине

1 Индикатор, ось тележки
2 Информационная лампа
3 Сигнальные лампы
4 Переключатель системы
- подъема/опускания тележки
- подвески и выключатель механизма
- блокировки дифференциала
5 Пульт дистанционного управления
6 Выключатель Tridem
Заблокированный режим
Если блок управления определил неисправность какого-либо из центральных клапанов (клапан в комплекте электромагнитных клапанов, соединенный с напорным баком), либо датчиков давления, то система переключается в заблокированный режим. Заблокированный режим – это режим, при котором полностью прекращается автоматическое управление высотой кузова, а пульт управления начинает работать по переопределенным функциям.
Переопределенные функции пульта управления описаны более подробно в нижеприведенной таблице. Автомобили оснащаются только одним электронным клапаном и одним датчиком уровня в передней части.
Наиболее простым способом перевести автомобиль в заблокированный режим является отсоединение
одного из контактов датчиков уровня на заднем мосту.
После устранения неисправности возврат в исходное состояние из заблокированного режима
производится после того, как ключ зажигания устанавливается в положение для движения.
Расположение, блок управления ECS

Разъемы на блоке управления
1 X 1 зеленый 30-контактный
2 X 2 зеленый 22-контактный
Неисправности
MID 150 Таблица кодов неисправностей
MID: Описание идентификатора сообщения (идентификатор блока управления).
PID: Описание идентификатора параметра (идентификатор параметра (значения)).
PPID: Собственная характеристика идентификации параметра (собственная идентификация параметра
Volvo (значение)).
SID: Описание идентификатора подсистемы (идентификатор компонента).
PSID: Описание фирменного идентификатора подсистемы (уникальный идентификатор компонента Volvo).
FMI: Идентификатор характера неисправности (идентификатор типа неисправности).
MID 150 PID 152 Блок управления, число перезапусков
Общая информация
Программное обеспечение блока управления ECS содержит функции внутренней проверки, которые перезапускают его при возникновении программных ошибок. PID 152 содержит информацию о количестве сделанных перезапусков.
Компонент: A16 Блок управления, ECS (подвеска с электронным управлением)
Жгут проводки: 1072
Код неисправности
FMI 12
Неисправность блока или компонента.
Условия регистрации кода неисправности:
• В случае внутреннего сбоя в программном обеспечении регистрируется информационный код.
Bозможная причина:
• Система перезапустилась из-за внутренней ошибки в программном обеспечении.
Реакция блока управления:
• Система перезапускается.
MID 150 SID 2 Узел электромагнитного клапана, передний мост

Общая информация
Комплект электромагнитных клапанов на переднем мосту включает электромагнитный клапан, который
управляет потоком воздуха к пневмоцилиндру на правой и левой стороне.
Когда блок управления обнаружил неисправность электромагнитного клапана, система устанавливается в заблокированный режим.
Компонент: Блок электромагнитного клапана Y 40, передний мост, пневматическая подвеска
Жгут проводки: 1072
Код неисправности
FMI 5
Слишком слабый ток или обрыв в цепи.
Условия регистрации кода неисправности:
• Слишком слабый ток или обрыв в цепи.
Bозможная причина:
• Обрыв провода электропитания.
• Обрыв провода заземления.
• Неисправность электромагнитного клапана.
Реакция блока управления:
• Работа системы ECS не затронута.
Очевидные внешние признаки:
• Сигнальная лампа.
• Автомобиль либо непрерывно контролируется,
либо не контролируется вообще.
Соответствующая проверка:
• “MID 150 SID 2 Узел электромагнитного клапана переднего моста, проверка” .
FMI 6
Слишком сильный ток или короткое замыкание на массу.
Условия регистрации кода неисправности:
• Слишком сильный ток или короткое замыкание на массу.
Bозможная причина:
• Короткое замыкание линии электропитания на заземляющий провод.
• Неисправность электромагнитного клапана.
Реакция блока управления:
• Автомобиль непрерывно контролируется.
Очевидные внешние признаки:
• Сигнальная лампа.
• Возможный сильный наклон автомобиля.
Соответствующая проверка:
• “MID 150 SID 2 Узел электромагнитного клапана переднего моста, проверка” .
FMI 7
Неверная реакция механической системы.
Условия регистрации кода неисправности:
• Электромагнитный клапан не выполняет необходимое опорожнение/наполнение.
• Датчик давления не регистрирует никакого изменения.
Bозможная причина:
• Электромагнитный клапан заклинило (механически) в положении открыто/закрыто.
• Утечка воздуха.
• Неисправность датчика давления.
Реакция блока управления:
• Если электромагнитный клапан закрыт:
отсутствует управление системой.
• Если электромагнитный клапан открыт:
выполняется непрерывное управление системой.
Очевидные внешние признаки:
• Сигнальная лампа.
• Автомобиль непрерывно контролируется.
Соответствующая проверка:
• “MID 150 SID 2 Узел электромагнитного клапана переднего моста, проверка”
• «72875–8 Датчик давления, тест».
• Проверьте правильность опорожнения/наполнения пневмоцилиндров, установив автомобиль в заблокированный режим.
MID 150 SID 3/4/7 Узел электромагнитного клапана, ведущий мост

Общая информация
Узел электромагнитного клапана ведущего моста состоит из трех электромагнитных клапанов, одного центрального клапана и двух клапанов, контролирующих пневмоцилиндры на правой и левой стороне ведущего моста.
Когда блок управления обнаружил неисправность центрального клапана, система устанавливается в
заблокированный режим.
Компонент: Блок электромагнитного клапана Y 25, система выравнивания, пневматическая подвеска.

Жгут проводки: 1072
Код неисправности
FMI 5
Слишком слабый ток или обрыв в цепи.
Условия регистрации кода неисправности:
• Слишком слабый ток или обрыв в цепи.
Bозможная причина:
• Обрыв провода электропитания.
• Обрыв провода заземления.
• Неисправность электромагнитного клапана.
Реакция блока управления:
• Система переходит в заблокированный режим, если центральный электромагнитный клапан (SID7) устанавливает код неисправности.
Очевидные внешние признаки:
• Сигнальная лампа.
• Автомобиль либо непрерывно контролируется, либо не контролируется вообще.
Соответствующая проверка:
• “MID 150 SID 3/4/7 Узел электромагнитного клапана ведущего моста, проверка”.
FMI 6
Слишком сильный ток или короткое замыкание на массу.
Условия регистрации кода неисправности:
• Слишком сильный ток или короткое замыкание на массу.
Bозможная причина:
• Короткое замыкание линии электропитания на заземляющий провод.
• Неисправность электромагнитного клапана.
Реакция блока управления:
• Система переходит в заблокированный режим, если центральный электромагнитный клапан (SID7) устанавливает код неисправности.
Очевидные внешние признаки:
• Сигнальная лампа.
• Возможный сильный наклон автомобиля.
Соответствующая проверка:
• “MID 150 SID 3/4/7 Узел электромагнитного клапана ведущего моста, проверка”.
FMI 7
Неверная реакция механической системы.
Условия регистрации кода неисправности:
• Электромагнитный клапан не выполняет необходимое опорожнение/наполнение.
• Датчик давления не регистрирует никакого изменения.
Bозможная причина:
• Электромагнитный клапан заклинило (механически) в положении открыто/закрыто.
• Утечка воздуха.
• Неисправность датчика давления.
Реакция блока управления:
• Система переходит в заблокированный режим, если центральный электромагнитный клапан (SID7) устанавливает код неисправности.
• Если код неисправности устанавливает какой-нибудь другой электромагнитный клапан:
Если электромагнитный клапан закрыт: отсутствует управление системой.
Если электромагнитный клапан открыт: выполняется непрерывное управление системой.
Очевидные внешние признаки:
• Сигнальная лампа.
Соответствующая проверка:
• “MID 150 SID 3/4/7 Узел электромагнитного клапана ведущего моста, проверка”.
• «72875–8 Датчик давления, тест».
• Проверьте правильность опорожнения/наполнения пневмоцилиндров, установив автомобиль в заблокированный режим, см. “Заблокированный режим”.
MID 150 SID 5/8/10 Узел электромагнитного клапана, дополнительный мост

Общая информация
Комплект электромагнитных клапанов для дополнительного моста состоит из трех электромагнитных клапанов: одного центрального клапана, одного клапана управления сжатым воздухом пневмоцилиндра дополнительного моста и одного клапана управления сжатым воздухом пневмоцилиндра подъемного устройства тележки.
Компонент: Блок электромагнитного клапана Y 29, дополнительный мост
Жгут проводки: 1072

Код неисправности
FMI 5
Слишком слабый ток или обрыв в цепи.
Условия регистрации кода неисправности:
• Слишком слабый ток или обрыв в цепи.
Bозможная причина:
• Обрыв провода электропитания.
• Обрыв провода заземления.
• Неисправность электромагнитного клапана.
Реакция блока управления:
• Система переходит в заблокированный режим, если центральный электромагнитный клапан (SID8) устанавливает код неисправности.
Очевидные внешние признаки:
• Сигнальная лампа.
• Автомобиль либо непрерывно контролируется, либо не контролируется вообще.
Соответствующая проверка:
• “MID 150 SID 5/8/10 Узел электромагнитного клапана, дополнительный мост”.
FMI 6
Слишком сильный ток или короткое замыкание на массу.
Условия регистрации кода неисправности:
• Слишком сильный ток или короткое замыкание на массу.
Bозможная причина:
• Короткое замыкание линии электропитания на заземляющий провод.
• Неисправность электромагнитного клапана.
Реакция блока управления:
• Система переходит в заблокированный режим, если центральный электромагнитный клапан (SID8) устанавливает код неисправности.
Очевидные внешние признаки:
• Сигнальная лампа.
• Возможный сильный наклон автомобиля.
Соответствующая проверка:
• “MID 150 SID 5/8/10 Узел электромагнитного клапана, дополнительный мост”.
FMI 7
Неверная реакция механической системы.
Условия регистрации кода неисправности:
• Электромагнитный клапан не выполняет необходимое опорожнение/наполнение.
• Датчик давления не регистрирует никакого изменения.
Bозможная причина:
• Электромагнитный клапан заклинило (механически) в положении открыто/закрыто.
• Утечка воздуха.
• Неисправность датчика давления.
Реакция блока управления:
• Система переходит в заблокированный режим, если центральный электромагнитный клапан (SID8) устанавливает код неисправности.
• Если код неисправности устанавливает какой-нибудь другой электромагнитный клапан:
Если электромагнитный клапан закрыт: отсутствует управление системой.
Если электромагнитный клапан открыт: выполняется непрерывное управление системой.
Очевидные внешние признаки:
• Сигнальная лампа.
Соответствующая проверка:
• “MID 150 SID 5/8/10 Узел электромагнитного клапана дополнительного моста, проверка”.
• «72875–8 Датчик давления, тест».
• Проверьте правильность
опорожнения/наполнения пневмоцилиндров, установив автомобиль в заблокированный режим, см. “Заблокированный режим”.
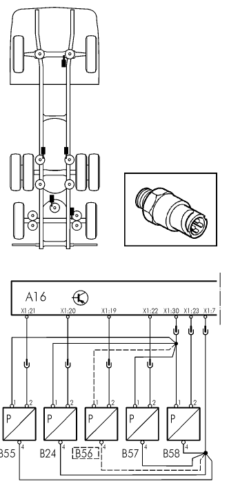
MID 150 SID 17/18/19 Датчик уровня

Входы/выходы датчиков уровня:
1 = Напряжение питания
2 = Масса
4 = Напряжение сигнала
Общая информация
Датчик уровня переднего моста может быть расположен на правой или на левой стороне, в зависимости от варианта, но он всегда обозначается как B 28.
Когда блок управления обнаружил неисправность акого-либо датчика уровня, система устанавливается в заблокированный режим.
Компонент:

Жгут проводки: 1072
Код неисправности
FMI 2
Неустойчивые или неверные данные.
Условия регистрации кода неисправности:
• Слишком большая разница между двумя последовательными значениями датчика. Если значение датчика позже стабилизируется на новом значении, то код неисправности будет отключен. Следует учесть, что если присутствует неактивный код неисправности, то датчики уровня и установку датчиков нужно проверить.
Блок управления регистрирует изменение значений датчика, эквивалентное 10 см
Bозможная причина:
• Рычаг датчика уровня поврежден.
• Короткое замыкание провода сигнала на электропитание.
• Обрыв провода заземления.
• Неисправность датчика.
Реакция блока управления:
• Система устанавливается в заблокированный режим.
Очевидные внешние признаки:
• Сигнальная лампа.
• Возможный сильный наклон автомобиля.
Соответствующая проверка:
• Убедитесь в целостности рычага датчика уровня, его правильной установке и отсутствии люфта.
• “MID 150 SID 17/18/19 Датчик уровня, проверка”.
FMI 3
Слишком высокое напряжение или короткое замыкание на цепь с более высоким напряжением.
Условия регистрации кода неисправности:
• Блок управления регистрирует напряжение сигнала от датчика уровня, превышающее 4,5В.
Bозможная причина:
• Короткое замыкание провода сигнала на электропитание.
• Обрыв провода заземления.
• Неисправность датчика.
Реакция блока управления:
• Система устанавливается в заблокированный режим.
Очевидные внешние признаки:
• Сигнальная лампа.
• Возможный сильный наклон автомобиля.
Соответствующая проверка:
• “MID 150 SID 17/18/19 Датчик уровня, проверка”.
FMI 4
Слишком низкое напряжение или короткое замыкание на более низкое напряжение.
Условия регистрации кода неисправности:
• Блок управления регистрирует напряжение сигнала от датчика уровня, меньшее 0,5В.
Bозможная причина:
• Короткое замыкание провода сигнала на массу.
• Размыкание цепи провода сигнала.
• Обрыв провода электропитания.
• Неисправность датчика.
Реакция блока управления:
• Система устанавливается в заблокированный режим.
Очевидные внешние признаки:
• Сигнальная лампа.
• Возможный сильный наклон автомобиля.
Соответствующая проверка:
• “MID 150 SID 17/18/19 Датчик уровня, проверка”.
FMI 7
Неверная реакция механической системы.
Условия регистрации кода неисправности:
• Слишком малое изменение значения уровня, показываемое датчиком.
• Неотфильтрованное значение датчика обычно колеблется при езде из-за неровностей дороги.
Если установлен этот код неисправности, то это означает, что получено большое количество последовательных данных от датчика, показывающих изменение значения.
Bозможная причина:
• Рычаг датчика уровня поврежден.
• Короткое замыкание провода сигнала на электропитание.
• Обрыв провода заземления.
• Неисправность датчика.
Реакция блока управления:
• Система устанавливается в заблокированный режим.
Очевидные внешние признаки:
• Сигнальная лампа.
• Возможный сильный наклон автомобиля.
Соответствующая проверка:
• Убедитесь в целостности рычага датчика уровня, его правильной установке и отсутствии люфта.
• “MID 150 SID 17/18/19 Датчик уровня, проверка”.
MID 150 SID 22/24/25/26/28 Датчик давления

Входы/выходы датчика давления:
1 = Напряжение питания
2 = Напряжение сигнала
4 = Масса
Общая информация
Датчики давления обеспечивают поступление данных о давлении в пневмоцилиндрах на блок
управления.
Компонент:

Жгут проводки: 1072
Код неисправности
FMI 2
Неустойчивые или неверные данные.
Условия регистрации кода неисправности:
• Блок управления регистрирует разницу между двумя последовательными значениями датчика,
превышающую 8 бар.
Bозможная причина:
• Неисправность датчика.
• Короткое замыкание провода сигнала на электропитание.
• Обрыв провода заземления.
Реакция блока управления:
• Система устанавливается в заблокированный режим.
Очевидные внешние признаки:
• Сигнальная лампа.
Соответствующая проверка:
• Проверьте кабели, особенно соединение с массой.
• “MID 150 SID 22/24/25/26/28 Датчик давления, проверка”.
FMI 3
Слишком высокое напряжение или короткое замыкание на цепь с более высоким напряжением.
Условия регистрации кода неисправности:
• Блок управления регистрирует напряжение сигнала от датчика давления, превышающее 4,8В.
Bозможная причина:
• Короткое замыкание провода сигнала на электропитание.
• Обрыв провода заземления.
• Неисправность датчика.
Реакция блока управления:
• Система устанавливается в заблокированный режим
Очевидные внешние признаки:
• Сигнальная лампа.
Соответствующая проверка:
• “MID 150 SID 22/24/25/26/28 Датчик давления, проверка”.
FMI 4
Слишком низкое напряжение или короткое замыкание на более низкое напряжение.
Условия регистрации кода неисправности:
• Блок управления регистрирует напряжение сигнала от датчика давления, которое ниже 0,2В.
Bозможная причина:
• Короткое замыкание провода сигнала на массу.
• Размыкание цепи провода сигнала.
• Обрыв провода электропитания.
• Неисправность датчика.
Реакция блока управления:
• Система устанавливается в заблокированный режим
Очевидные внешние признаки:
• Сигнальная лампа.
Соответствующая проверка:
• “MID 150 SID 22/24/25/26/28 Датчик давления, проверка”.
FMI 7
Неверная реакция механической системы
Условия регистрации кода неисправности:
• Слишком малое изменение значения давления, показываемое датчиком.
• Неотфильтрованное значение датчика обычно колеблется при езде из-за неровностей дороги.
Если установлен этот код неисправности, то это означает, что получено большое количество последовательных данных от датчика, показывающих изменение значения.
Bозможная причина:
• Неисправность датчика.
• Замороженные воздухопроводы.
• Неисправный клапан.
• Короткое замыкание провода сигнала на электропитание.
• Обрыв провода заземления.
Реакция блока управления:
• Система устанавливается в заблокированный режим.
Очевидные внешние признаки:
• Сигнальная лампа.
Соответствующая проверка:
• Убедитесь, что воздухопроводы, идущие к датчику, не заблокированы льдом. Также проверьте, чтобы клапан, в котором есть сомнение, был работоспособным.
• “MID 150 SID 22/24/25/26/28 Датчик давления, проверка”.
MID 150 SID 33 Пульт управления

S66 Дистанционный блок управления для автомобилей с полной пневматической подвеской
S67 Дистанционный блок управления для автомобилей с задней пневматической подвеской
Общая информация
Имеется два варианта исполнения пультов управления: Один вариант для автомобилей с полной пневматической подвеской, а другой для автомобилей с задней пневматической подвеской.
В случае неисправности какого-либо из выключателей на пульте дистанционного управления блок управления предполагает, что выключатели находятся в последнем выбранном положении или в положении останова. Если неисправность исчезает, то переустановка выполняется автоматически.
Компонент:
S 66 Блок управления, система электронного управления пневматической подвеской, полная
пневматическая подвеска;
S 67 Блок управления, система электронного управления пневматической подвеской, задняя
пневматическая подвеска;
Жгут проводки: 1072
Код неисправности
FMI 7
Неверная реакция механической системы.
Условия регистрации кода неисправности:
• Блок управления регистрирует, что один из выключателей на пульте управления показывает
одновременно два положения.
Bозможная причина:
• Пульт управления неисправен.
• Короткое замыкание на массу в жгуте проводки между блоком и пультом управления.
Реакция блока управления:
• Считается, что положения выключателей следующие:
• Кнопка управления: последнее выбранное положение
• Кнопка моста: последнее выбранное положение
• Выключатель регулировки: последнее выбранное положение
Очевидные внешние признаки:
• Сигнальная лампа.
• Один из выключателей неправильно работает.
Соответствующая проверка:
• “MID 150 SID 33 Дистанционное управление, проверка”.
Продолжение и полное описание проверок всех компонентов -
смотрите в 65 обновлении