Рулевое управление DAF FAC, FAD, FAG, FAK, FAN, FAX, FTG, FTM
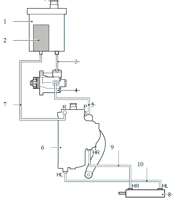
Одноконтурная система

Из резервуара (1), установленного на насосе рулевого управления (4), масло через линию подачи (3) поступает в насос рулевого управления (4).
Насос рулевого управления представляет собой невихревой лопастной насос. При осуществелении подачи насос рулевого управления (4) становится вихревым, тем самым создавая отрицательное давление в линии подачи (3).
Насос рулевого управления (4) нагнетает масло через линию (5) в механизм рулевого управления (6).
Из механизма рулевого управления (6) масло возвращается в резервуар (1) через возвратную линию (7) и фильтр (2). В возвратной линии (7) всегда низкое давление.
Давление в нагнетательной линии (5) изменяется в зависимости от усилия рулевого управления. При отсутствии рулевого управления в нагнетательной линии присутствует давление циркуляции.
При рулевом управлении давление в нагнетательной линии может увеличиться до предварительно заданного значения разгрузочного клапана.
Такое максимальное давление может возникнуть при попытке повернуть рулевое колесо на неподвижном автомобиле, стоящем на нескользкой поверхности дороги, или на автомобиле, припаркованном вплотную к обочине с повернутым рулевым колесом.
При максимальном давлении имеет место значительная передача энергии в рулевой передаче, что приводит к выпуску значительного количества тепла. Длительное сохранение таких условий может привести к повреждению насоса рулевого управления вследствие выделения тепла.
Давление в насосе рулевого управления может сильно увеличиться в течение короткого промежутка времени. Такое очень высокое давление может стать причиной перегрузки определенных компонентов рулевой передачи или даже их поломки.
Клапан ограничения давления предназначен для защиты рулевой передачи от чрезмерного давления. Давление в системе не должно увеличиться.
Клапан ограничения давления расположен в механизме рулевого управления. Это можно проверить с помощью таблички типа на механизме рулевого управления.
Если на табличке типа указано значение давления, на рассматриваемом компоненте установлен клапан ограничения давления.
Одноконтурная система с исполнительным цилиндром

Из резервуара (1), установленного на насосе рулевого управления (4), масло через линию подачи (3) поступает в насос рулевого управления (4).
Насос рулевого управления представляет собой невихревой лопастной насос. При осуществелении подачи насос рулевого управления (4) становится вихревым, тем самым создавая отрицательное давление в линии подачи (3).
Насос рулевого управления (4) нагнетает масло через линию (5) в механизм рулевого управления (6).
Из механизма рулевого управления (6) масло возвращается в резервуар (1) через возвратную линию (7) и фильтр (2). В возвратном контуре (7) всегда низкое давление.
Давление в нагнетательной линии (5) изменяется в зависимости от усилия рулевого управления. При отсутствии рулевого управления в нагнетательной линии присутствует давление циркуляции.
При рулевом управлении давление в нагнетательной линии может увеличиться до предварительно заданного значения разгрузочного клапана.
Такое максимальное давление может возникнуть при попытке повернуть рулевое колесо на неподвижном автомобиле, стоящем на нескользкой поверхности дороги, или на автомобиле,
припаркованном вплотную к обочине с повернутым рулевым колесом.
При максимальном давлении имеет место значительная передача энергии в рулевой передаче, что приводит к выпуску значительного количества тепла. Длительное сохранение таких условий может привести к повреждению насоса рулевого управления вследствие выделения тепла.
Давление в насосе рулевого управления может сильно увеличиться в течение короткого промежутка времени. Такое очень высокое давление может стать причиной перегрузки определенных компонентов рулевой передачи или даже их поломки.
Клапан ограничения давления предназначен для защиты рулевой передачи от чрезмерного давления. Давление в системе не должно увеличиться.
Клапан ограничения давления расположен в механизме рулевого управления. Это можно проверить с помощью таблички типа на механизме рулевого управления.
Если на табличке типа указано значение давления, на рассматриваемом компоненте установлен клапан ограничения давления.
Рулевая передача состоит из исполнительного цилиндра (8) для дополнительного усиления рулевого управления. Данный исполнительный цилиндр расположен параллельно цилиндру механизма рулевого управления, масло в него подается через механизм рулевого управления.
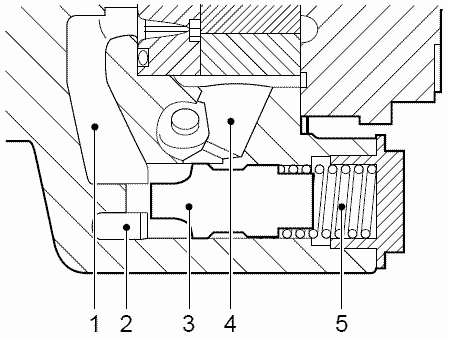
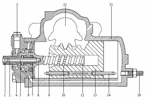
Механизм рулевого управления



Рулевое управление с гидроусилителем
Расход масла в механизме рулевого управления регулируется с помощью регулирующего клапана (6).
Регулирующий клапан (6) состоит из втулки (7), которая крепится к входному валу (2) и шлице в
червячном валу (12).
Снаружи втулка (7) имеет несколько шлицев. Линия нагнетания, линия возврата и каналы, ведущие к
половинам цилиндра, заканчиваются в камере червячного вала (12).
Линию нагнетания и линию возврата можно подсоединить к каналам, ведущим к половинам цилиндра,
через шлицы втулки (7).
Если втулку (7) повернуть по отношению к пространству в червячном валу (12), одна половина
цилиндра подсоединится к линии нагнетания, а вторая - к линии возврата. Если входной вал (2)
развернуть наоборот, втулка (7) переключит соединения нагнетательной и возвратной линий к
половинам цилиндра.

Поскольку регулирующий клапан (6) увеличивает расход масла с одной стороны поршня при рулевом
управлении и подсоединяет другую сторону поршня к возвратной линии, масло перестает циркулировать в механизме рулевого управления. В результате с одной стороны поршня растет давление, и поршень перемещается.
При отсутствии рулевого управления регулирующий клапан (6) находится в нейтральном положении. В
нейтральном положении поток масла с левой и правой стороны поршня создают одинаковое давление масла на поршень. Следовательно, поршень не перемещается. Такое положение называется гидравлическим центральным положением механизма рулевого управления. В данной ситуации давление масла называется давлением циркуляции.
Нейтральное положение механизма рулевого управления настраивается на заводе, и его невозможно
изменить.
Торсионный стержень (5) установлен между входным валом (2) и червячным валом (12) и соединен с
входным валом (2) и червячным валом (12) с помощью штифтов (1) и (8).
Во время рулевого управления входной вал (2) поворачивается относительно червячного вала (12), в
результате чего возникает скручивающее вращение торсионного стержня (5). Торсионный стержень (5)
предотвращает возникновение крутящего момента входного вала (и рулевое управление выключается),
входной вал (2) возвращается в нейтральное положение относительно червячного вала (12). В результате регулирующий клапан (6) также возвращается в нейтральное положение, и рулевое управление с гидроусилителем выключается.

Ограничение давления
Клапан ограничения давления (3) защищает систему от чрезмерного давления в системе. По достижении предварительно заданного значения давления клапана клапан открывается и соединяет
нагнетательную линию с возвратной.
Продувка
Воздух из механизма рулевого управления стравливается автоматически.
При давлении циркуляции воздух из механизма рулевого управления стравливается автоматически. При
более высоком давлении в системе система стравливания закрывается.
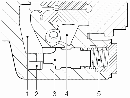
Ограничение прогиба колес
Для снижения давления в системе при максимальном прогибе колес поршень оснащен двумя клапанами
ограничения прогиба колес (3) и (8).
Штифты (2) и (9) клапанов ограничения прогиба колес касаются упоров до того, как достигается
максимальное отклонение колес.
Штифт открывает клапан (5), и обе половины цилиндра соединяются, что приводит к снижению давления в системе.
Штифт (2) клапана ограничения прогиба колеса (3) касается крышки (1), а штифт (9) клапана ограничения прогиба колеса (8) касается регулировочного болта (10).
Клапаны ограничения прогиба колес регулируются автоматически при установке нового механизма рулевого управления.
Клапаны ограничения прогиба колес установлены на поршень с помощью крепежных втулок (4), что
обеспечивает движение клапанов в пределах поршня.
При установке нового механизма рулевого управления клапаны ограничения прогиба колес выходят
из поршня настолько, что касаются концевых упоров (крышка и регулировочный болт) задолго до
того, как будет достигнуто максимальное значение прогиба колес.
После первой установки механизма рулевого управления в максимальное положение рулевого управления (правое и левое), если при этом передняя ось правильно отрегулирована для максимального прогиба колес, клапаны ограничения прогиба колес нажатием на них устанавливаются на соответствующую глубину в поршень, что приводит к правильной регулировке клапанов.

Если прогиб колес необходимо уменьшить (например, вследствие установки более широких шин),
регулировку клапанов ограничения прогиба колес необходимо сбросить.
Для этого выполните следующее:
Установите механизм рулевого управления в центральное положение и вверните регулировочный болт (10) глубже в механизм рулевого управления.
За счет перемещения поршня в сторону регулировочного болта (10) клапан ограничения прогиба колеса (8) коснется регулировочного болта (10), тем самым установив клапан (8) глубже в поршень. Распорный штифт (7) установлен между клапанами ограничения прогиба колес (3) и (8).
Если клапан (8) установить глубже в цилиндр, клапан коснется штифта (7), и, как следствие, штифт частично вытолкнет клапан (3) из поршня.
За счет перемещения поршня в направлении крышки (1) для максимального прогиба колеса клапан ограничения прогиба колеса (3) коснется крышки, и клапан установится в поршень на соответствующую глубину. После этого правильная установка клапана (3) завершена. Во время этой операции клапан ограничения прогиба колеса (8) также частично выталкивается из поршня.
Правильная настройка клапана ограничения прогиба колеса (8) в конечном счете восстанавливается с
помощью регулировочного болта (10).
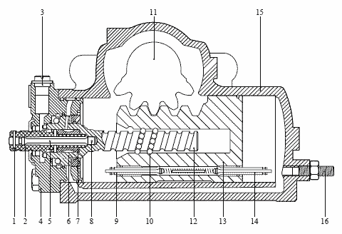
Механическая связь

Если рулевое управление с гидроусилителем выключено, крутящий момент входного вала (2)
механически передается рулевой тяге.
Входной вал (2) и червячный вал (12) можно повернуть относительно друг друга. Такое вращение ограничено концевым упором.
Во время рулевого управления без гидроусилителя усилие рулевого управления на входном валу (2)
передается на червячный вал (12) концевым упором.
Шаровая кривая (10) преобразует вращательное движение червячного вала в линейное движение поршня (13). Зубья поршня (13) вращают секторный вал (11) с рулевой сошкой, установленной на нем.
Боковой зазор шестерен

Поскольку зубья секторного вала (11) и поршня (13) постоянно работают при прямолинейном движении
автомобиля, возможен незначительный износ. В результате этого износа может появиться боковой зазор шестерен. Для его устранения секторный вал можно отрегулировать по оси с помощью
регулировочного болта.
Регулировочный болт вталкивает скошенные зубья секторного вала (11) глубже в зубья поршня (13), тем самым устраняя зазор.
Зацепление секторного вала (11) представляет собой следующее:
зубец, приводящий в движение зубья поршня, когда механизм рулевого управления находится в центральном положении, немного длиннее других зубьев.
После устранения зазора в центральном положении механизма рулевого управления необходимо
предотвратить заедание поршня в других положениях. В результате зазор заметен за пределами
центрального положения.
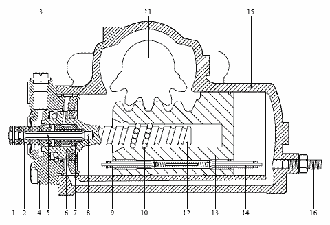
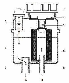
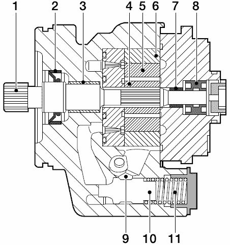
Насос рулевого управления двигателя MX

Насос можно разделить на две части: насосная часть и управляющая часть.
Насосная часть состоит из вала (1), ротора (4), перегородок (5) и статора (6).
Управляющая часть расположена в крышке насоса и состоит из клапана регулирования расхода (10) с пружиной (11).
Вал герметизируется с помощью двух двойных сальников (2) и (8).
Под действием центробежной силы перегородки (5) частично выходят из ротора (4) и прижимаются к рабочей поверхности статора (6).
Каждая из двух последовательных перегородок образует отдельную полость. Такие полости образуют насосные камеры.

Два раза за оборот за счет эллиптической формы внутренней части статора (6) объем в каждой насосной камере увеличивается, ход всасывания (угловое смещение B), и уменьшается, ход нагнетания (угловое смещение A).
Две полости, в которых объем увеличивается, подсоединены к трубопроводу подачи (b). Две полости, в которых объем уменьшается, подсоединены к нагнетательному трубопроводу (а).
Во время запуска насоса уплотнение между перегородками и статором не является оптимальным, и насос является невихревым. Поэтому резервуар для масла рулевого управления необходимо всегда устанавливать выше насоса рулевого управления.
Когда насос находится под давлением, он становится вихревым, тем самым создавая отрицательное давление в трубопроводе подачи.
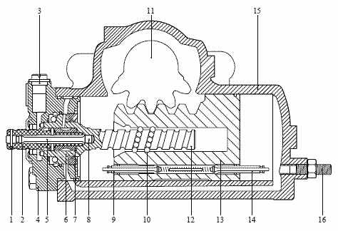
Управление регулируемой подачей
В принципе, подача насоса зависит от скорости.
Однако на рулевую передачу должно подаваться по возможности постоянное количество масла. Для
обеспечения постоянного объема масла насос оснащен регулируемым управлением расходом.
Управление подачей на механизме рулевого управления осуществляется за счет поддержания постоянного перепада давления на фиксированном отверстии (2) нагнетательного трубопровода. Это
выполняется посредством калиброванного отверстия в нагнетательном трубопроводе (6) и клапана регулирования расхода (3) с пружиной (5).
Если подача насоса не достигла заданного значения, клапан регулирования расхода (3) проталкивается в передней части до упора, тем самым закрывая внутренний циркуляционный канал (4).
Давление пружины (5) и давление масла в калиброванном отверстии (6) в задней части клапана
регулирования расхода удерживают клапан регулирования расхода (3) вплотную к упору. Вся подаваемая насосом жидкость поступает через канал (1) и проход (2) в соединение нагнетательного трубопровода.
Если подача насоса поднимается выше заданного значения из-за увеличения частоты вращения
коленчатого вала двигателя, давление в передней части клапана регулирования расхода (3) растет и
становится выше текущего нагнетательного давления (давление пружины и давление масла) в задней
части клапана. Клапан перемещается вправо, и соединение, ведущее к внутреннему циркуляционному каналу (4), открывается. Часть подаваемой насосом жидкости возвращается во впускной канал насоса по циркуляционному каналу.

Если подача насоса падает из-за снижения частоты вращения коленчатого вала двигателя, клапан
регулирования расхода перемещается влево, и соединение, ведущее к внутреннему циркуляционному каналу (4), частично закрывается. Во впускной канал насоса возвращается меньшая часть подаваемой насосом жидкости.
Данная система управления обеспечивает довольно постоянную подачу масла в рулевую передачу,
несмотря на изменения частоты вращения коленчатого вала двигателя.
Клапан ограничения давления расположен в механизме рулевого управления.

Линии
Линия подачи
Линия подачи соединяет резервуар с насосом рулевого управления и частично состоит из толстого, гибкого резинового шланга, а в пределах корпуса двигателя она представляет собой стальной трубопровод.
Шланг крепится к резервуару с помощью зажима шланга.
Поскольку насос рулевого управления является невихревым насосом, резервуар должен быть
установлен на определенной высоте над насосом рулевого управления.
Длина линии подачи также влияет на работу насоса рулевого управления.
Если резервуар переместить так, чтобы линия подачи стала длиннее, резервуар необходимо установить
выше.
Линия нагнетания
Линия нагнетания соединяет насос рулевого управления с механизмом рулевого управления, частично
состоит из резинового шланга и частично - из стального трубопровода.
Резиновый шланг крепится с помощью накидной гайки к стальному трубопроводу, выходящему из насоса рулевого управления, а также к шасси. Стальной трубопровод обеспечивает соединение между
механизмом рулевого управления и шасси.
На резиновом шланге имеется маркировка. Для обеспечения того, чтобы резиновый шланг не
перекрутился во время установки, текст на шланге должен располагаться в одну линию.
Возвратная линия
Возвратная линия соединяет механизм рулевого управления с резервуаром и состоит из резинового
шланга с тканевой оболочкой.
Линия подсоединена к механизму рулевого управления и резервуару с помощью зажимов шланга.
Резервуар
Резервуар изготовлен из пластмассы.
Резервуар оснащен фильтрующим элементом, который фильтрует возвратное масло.
Фильтр не установлен на линию подачи, поскольку в таком случае потребовался бы очень большой
резервуар из-за фильтрующего сопротивления фильтрующего элемента.
Перепускной клапан установлен под фильтром. В случае чрезмерного сопротивления фильтра, например, из-за холодного масла или загрязнения фильтра, открывается перепускной клапан. Часть масла поступает в резервуар без фильтрации.
Щуп с отметкой минимального и максимального уровня масла расположен в верхней части
резервуара.
Небольшое выпускное отверстие расположено в резиновой крышке щупа. Данное отверстие всегда
должно быть чистым, поскольку в случае его засорения увеличится обратное давление.

Пластмассовый резервуар
Резервуар (1) оснащен резьбовой крышкой (3) и щупом (2).
Соединение линии подачи (7).
Соединение возвратной линии (8).
Фильтрующий элемент (6) удерживается на месте с помощью пластмассового зажима (4).
В случае чрезмерного сопротивления фильтра, например, из-за холодного масла или загрязнения фильтра, фильтрующий элемент (6) немного смещается. В результате этого некоторое количество масла рулевого управления протекает через нижнюю часть фильтрующего элемента (6) непосредственно в резервуар. Такое смещение фильтрующего элемента (6) возможно, поскольку пружина (5) установлена между фильтрующим элементом (6) и пластмассовым зажимом (4).

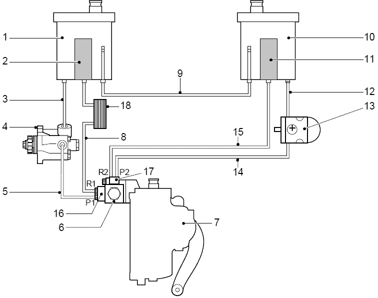
Двухконтурная система

При нормальной работе главный насос рулевого управления с механическим приводом (4) подает масло в двухконтурный клапан (6), который является частью механизма рулевого управления (7).
Масло поступает в механизм рулевого управления (7) через двухконтурный клапан (6).
Насос аварийной системы рулевого управления (13) крепится к коробке передач и приводится в действие с помощью выходного вала коробки передач. При скорости движения автомобиля более 10 км/ч топливный насос аварийной системы подает достаточно масла.
При нормальной работе масло из насоса аварийной системы рулевого управления возвращается в резервуар насоса аварийной системы рулевого управления (10) через двухконтурный клапан (6).
Резервуары (1) и (10) соединены перепускной трубой (9). Труба соединяется таким образом, что при наличии утечки в одном из контуров, другой контур продолжает работать.
Если подача масла главным насосом рулевого управления (4) становится слишком низкой, недостаток подачи масла главным насосом рулевого управления (4) компенсируется двухконтурным клапаном (6) за счет подачи масла насосом аварийной системы рулевого управления (13). Возвратная линия (8) главного насоса рулевого управления также отсекается.
Масло обоих насосов возвращается в резервуар насоса аварийной системы рулевого управления (10).
Если в резервуар насоса аварийной системы рулевого управления подается больше масла, чем забирается насосом аварийной системы рулевого управления, излишки масла поступают в главный насос рулевого управления (1) по перепускной трубе (9).
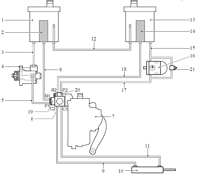
Двухконтурная система с исполнительным цилиндром

При нормальной работе главный насос рулевого управления с механическим приводом (4) подает масло в двухконтурный клапан (6), который является частью механизма рулевого управления (7).
Масло поступает в механизм рулевого управления (7) через двухконтурный клапан (6).
Насос аварийной системы рулевого управления (16) крепится к коробке передач и приводится в действие с помощью выходного вала коробки передач. При скорости движения автомобиля более 10 км/ч топливный насос аварийной системы подает достаточно масла.
При нормальной работе масло из насоса аварийной системы рулевого управления возвращается в резервуар насоса аварийной системы рулевого управления (13) через двухконтурный клапан (6).
Резервуары (1) и (13) соединены перепускной трубой (12). Труба соединяется таким образом, что при наличии утечки в одном из контуров, другой контур продолжает работать.
Если подача масла главного насоса рулевого управления (4) становится слишком низкой, недостаток подачи масла главного насоса рулевого управления (4) компенсируется двухконтурным клапаном (6) за счет подачи масла насосом аварийной системы рулевого управления (16). Возвратная линия (8) главного насоса рулевого управления также отсекается.
Масло обоих насосов возвращается в резервуар насоса аварийной системы рулевого управления (13).
Если в резервуар насоса аварийной системы рулевого управления подается больше масла, чем забирается насосом аварийной системы рулевого управления, излишки масла поступают в главный насос рулевого управления (1) по перепускной трубе (12).
Рулевая передача состоит из исполнительного цилиндра (10) для дополнительного усиления рулевого управления. Данный исполнительный цилиндр расположен параллельно цилиндру механизма рулевого управления, масло в него подается через двухконтурный клапан.