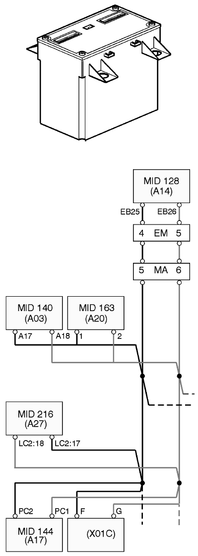
Обучение персонала по MID 128 EECU Volvo Truck
двигатели D9A, D12D, D16C

Содержание
- Инструменты
- Специальные инструменты, двигатель
- Прочее специальное оборудование, двигатель
- Неисправности
- MID 128 Таблица кодов неисправностей
- Таблица FMI
- "Застывшие" рамки
- Обзор датчиков, D9A
- Обзор датчиков, D12D
- Обзор датчиков, D16C
- MID 128 PID 26 Скорость вентилятора в процентах
- MID 128 PID 26 Скорость вентилятора в процентах
- MID 128 PID 45 Состояние предпускового подогревателя
- MID 128 PID 45 Состояние предпускового подогревателя
- MID 128 PID 49 Состояния функционирования системы ABS
- MID 128 PID 84 Скорость автомобиля
- MID 128 PID 85 Состояние системы поддержания заданной скорости
- MID 128 PID 91 Положение педали акселератора
- MID 128 PID 94 Давление подачи топлива
- MID 128 PID 94 Давление подачи топлива
- MID 128 PID 97 Индикатор наличия воды в топливе
- MID 128 PID 97 Индикатор наличия воды в топливе
- MID 128 PID 98 Уровень масла в двигателе
- MID 128 PID 98 Уровень масла в двигателе
- MID 128 PID 100 Давление масла в двигателе
- MID 128 PID 100 Давление масла в двигателе
- MID 128 PID 102 Давление наддува
- MID 128 PID 102 Давление наддува, проверка
- MID 128 PID 105 Температура нагнетаемого воздуха
- MID 128 PID 105 Температура нагнетаемого воздуха
- MID 128 PID 107 Перепад давления на воздушном фильтре
- MID 128 PID 107 Перепад давления на воздушном фильтре
- MID 128 PID 108 Атмосферное давление
- MID 128 PID 110 Температура охлаждающей жидкости
- MID 128 PID 110 Температура охлаждающей жидкости
- MID 128 PID 111 Уровень охлаждающей жидкости
- MID 128 PID 111 Уровень охлаждающей
- MID 128 PID 153 Давление в картере
- MID 128 PID 153 Давление в картере, проверка
- MID 128 PID 158 Напряжение аккумуляторной батареи
- MID 128 PID 158 Напряжение аккумуляторной батареи
- MID 128 PID 172 Температура поступающего воздуха
- MID 128 PID 172 Температура поступающего воздуха
- MID 128 PID 175 Температура масла в двигателе
- MID 128 PID 175 Температура масла в двигателе
- MID 128 PID 224 Электронный иммобилайзер
- MID 128 PID 228 Калибровка датчика скорости автомобиля
- MID 128 PPID 119 Высокая температура охлаждающей жидкости
- MID 128 PPID 122 Компрессионный моторный тормоз VCB
- MID 128 PPID 122 Компрессионный моторный тормоз VCB
- MID 128 PPID 123 Буферный воздух TC
- MID 128 PPID 123 Буферный воздух
- MID 128 PPID 124 Регулятор давления отработавших газов EPG 1
- MID 128 PPID 124 EPG 1, проверка
- MID 128 SID 1/2/3/4/5/6 Форсунка
- MID 128 SID 1/2/3/4/5/6 Насос-форсунка, проверка
- MID 128 SID 18 Сливной клапан водоотделителя
- MID 128 SID 18 Сливной клапан водоотделителя
- MID 128 SID 21 Датчик синхронизации двигателя
- MID 128 SID 21 Датчик синхронизации двигателя
- MID 128 SID 22 Датчик частоты вращения коленчатого вала
- MID 128 SID 22 Датчик частоты вращения коленчатого вала
- MID 128 SID 33 Управление вентилятором
- MID 128 SID 33 Управление вентилятором
- MID 128 SID 70 Предпусковой нагревательный элемент 1
- MID 128 SID 70 Предпусковой нагревательный элемент 1
- MID 128 SID 78 Топливоподкачивающий насос
- MID 128 SID 78 Топливоподкачивающий насос
- MID 128 SID 230 Контрольный выключатель холостого х да 1
- MID 128 SID 231 Канал управления SAE J1939
- MID 128 SID 232 Электропитание 5 вольт постоянного тока
- MID 128 SID 232 Электропитание 5 вольт постоянного тока
- MID 128 SID 250 Информационный канал SAE J1587/1708
- MID 128 SID 253 Запоминающее устройство для набора данных, ЭСППЗУ
- MID 128 SID 254 Электронный модуль управления двигателем (EECU)
- MID 128 PSID 201 SAE J1939 Обрыв канала передачи данных
MID 128 Таблица кодов неисправностей
MID: Описание идентификатора сообщения
(идентификатор блока управления двигателем).
PID: Описание идентификатора параметра
(идентификатор параметра (значения)).
PPID: Описание фирменного идентификатора параметра
(уникальный идентификатор параметра Volvo (значения)).
SID: Описание идентификатора подсистемы
(идентификатор компонента).
PSID: Описание фирменного идентификатора подсистемы
(уникальный идентификатор компонента Volvo).
FMI: Идентификатор характера неисправности
(идентификатор типа неисправности).
Обзор датчиков, D9A
На рисунках показано расположение различных датчиков двигателя и их внешний вид. Обозначения
в скобках показывают номер детали.

1 Датчик скорости, вентилятор/электромагнитный клапан для запуска вентилятора (A43).
2 Датчик уровня охлаждающей эмульсии (S68)
3 Датчик давления в картере двигателя (B54)
4 Датчик давления наддува/температуры воздуха наддува (B37)
5 Температурный датчик на входе/индикатор воздушного фильтра (B39)
6 Датчик температуры охлаждающей жидкости (B21)1
7 Датчик давления подачи топлива (A44)
8 Датчик водного сепаратора/водочувствительный индикатор (A45)
9 Старый тип: Датчик уровня масла (B10)
Новый тип: Датчик уровня масла/температуры масла (B119)
Для обнаружения месторасположения датчика масла:
Отсоедините штепсельный разъем датчика уровня масла на поддоне.
• В штепсельном разъеме есть два контакта:
Датчик температуры масла находится в датчике давления масла на блоке двигателя.
• Четыре контакта в штепсельном разъеме:
Датчик температуры масла находится в датчике уровня масла в поддоне.

1 Датчик скорости, маховик (B04)
2 Датчик распределительного вала, положение двигателя (B05)
3 Старый тип: Датчик давления масла/температуры масла (B38)
Новый тип: Датчик давления масла (B118)
Для обнаружения месторасположения датчика масла:
Отсоедините штепсельный разъем датчика уровня масла на поддоне.
• В штепсельном разъеме есть два контакта:
Датчик температуры масла находится в датчике давления масла на блоке двигателя.
• Четыре контакта в штепсельном разъеме:
Датчик температуры масла находится в датчике уровня масла в поддоне.
Обзор датчиков, D12D
На рисунках показано расположение различных датчиков двигателя и их внешний вид. Обозначения
в скобках показывают номер детали.

1 Датчик давления в картере двигателя (B54)
2 Датчик скорости, вентилятор/электромагнитный клапан для запуска вентилятора (A43).
3 Датчик уровня охлаждающей эмульсии (S68)
4 Датчик распределительного вала, положение двигателя (B05)
5 Старый тип: Датчик давления масла/температуры масла (B38)
Новый тип: Датчик давления масла (B118)
Для обнаружения месторасположения датчика масла:
Отсоедините штепсельный разъем датчика уровня масла на поддоне.
• В штепсельном разъеме есть два контакта:
Датчик температуры масла находится в датчике давления масла на блоке двигателя.
• Четыре контакта в штепсельном разъеме:
Датчик температуры масла находится в датчике уровня масла в поддоне.
6 Датчик давления наддува/температуры воздуха наддува (B37)
7 Температурный датчик на входе/индикатор воздушного фильтра (B39)
8 Датчик температуры охлаждающей жидкости (B21)2
9 Датчик скорости, маховик (B04)
10 Датчик давления подачи топлива (A44)
11 Датчик водного сепаратора/водочувствительный индикатор (A45)
12 Старый тип: Датчик уровня масла (B10)
Новый тип: Датчик уровня масла/температуры масла (B119)
Для обнаружения месторасположения датчика масла:
Отсоедините штепсельный разъем датчика уровня масла на поддоне.
• В штепсельном разъеме есть два контакта:
Датчик температуры масла находится в датчике давления масла на блоке двигателя.
• Четыре контакта в штепсельном разъеме:
Датчик температуры масла находится в датчике уровня масла в поддоне.
Обзор датчиков, D16C
На рисунках показано расположение различных датчиков двигателя и их внешний вид. Обозначения
в скобках показывают номер детали.

1 Датчик скорости, вентилятор/электромагнитный клапан для запуска вентилятора (A43).
2 Датчик уровня охлаждающей эмульсии (S68)
3 Датчик температуры охлаждающей жидкости (B21)
4 Датчик распределительного вала, положение двигателя (B05)
5 Температурный датчик на входе/индикатор воздушного фильтра (B39)
6 Датчик давления наддува/температуры воздуха наддува (B37)
7 Датчик скорости, маховик (B04)
8 Датчик давления масла (B118)
9 Датчик давления подачи топлива (A44)
10 Датчик водного сепаратора/водочувствительный индикатор (A45)
11 Датчик уровня масла/температуры масла (B119)
12 Датчик давления в картере двигателя (B54)
MID 128 PID 26 Скорость вентилятора в процентах

Общие сведения
Компонент: (B32) Датчик скорости вращения вентилятора
Код неисправности
FMI 3
Короткое замыкание на питание батареи или обрыв.
Условия регистрации кода неисправности:
• Работающий двигатель.
• Напряжение на EA6 превышает 65% напряжения батареи (0,65 * Uбат).
Возможная причина:
• Короткое замыкание на питание батареи, сигнальный кабель.
• Короткое замыкание на питание батареи, кабель питания.
• Обрыв, сигнальный кабель.
• Обрыв, кабель питания.
• Обрыв, кабель массы.
• Неисправность в датчике.
Реакция блока управления:
• Зарегистрирован код неисправности.
• Запрос на включение желтого индикатора.
Очевидные внешние признаки:
• Загорается желтый индикатор.
• 100% скорость вентилятора
• Высокий расход топлива
Соответствующая проверка:
• Активное сообщение FMI
28415–2 “MID 128 PID 26 Скорость вентилятора в процентах”.
• Неактивное сообщение FMI
Это сообщение FMI активно только при работающем двигателе. Этот код неисправности будет отображаться как неактивный (когда он считывается) при выключенном двигателе.
VCADS Pro 17004–2 «Коды неисправностей, режим тестирования»
Если код неисправности активен во время теста «Коды неисправностей, режим тестирования»,
продолжайте поиск неисправности в соответствии с разделом «Активное сообщение FMI»
Если код неисправности неактивен, попробуйте включить его при пробной поездке. Для выполнения поиска неисправностей код неисправности должен быть активным.
FMI 8
Несоответствующая норме частота.
Условия регистрации кода неисправности:
• Блок управления двигателем обнаруживает лишние импульсы в сигнале скорости вентилятора.
Возможная причина:
• Плохая изоляция или неисправный жгут проводки.
• Неисправность в датчике.
• Повреждение вентилятора.
Реакция блока управления:
• Зарегистрирован код неисправности.
• Запрос на включение желтого индикатора.
Очевидные внешние признаки:
• Загорается желтый индикатор.
• 100% скорость вентилятора
• Высокий расход топлива
Соответствующая проверка:
• Активное сообщение FMI
28415–2 “MID 128 PID 26 Скорость вентилятора в процентах”.
• Неактивное сообщение FMI
Это сообщение FMI активно только при работающем двигателе. Этот код неисправности будет отображаться как неактивный (когда он считывается) при выключенном двигателе.
VCADS Pro 17004–2 «Коды неисправностей, режим тестирования»
Если код неисправности активен во время теста «Коды неисправностей, режим тестирования»,
продолжайте поиск неисправности в соответствии с разделом «Активное сообщение FMI»
Если код неисправности неактивен, попробуйте включить его при пробной поездке. Для выполнения поиска неисправностей код неисправности должен быть активным.
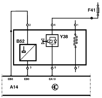
MID 128 PID 45 Состояние предпускового подогревателя

Общие сведения
Компонент: (K48) Реле
Код неисправности
FMI 3
Короткое замыкание на питание батареи.
Условия регистрации кода неисправности:
• Выход активирован.
• Короткое замыкание на питание батареи в EB31.
Возможная причина:
• Короткое замыкание на питание батареи между реле предпускового прогрева и блоком управления двигателем.
• Короткое замыкание в реле предпускового прогрева.
Реакция блока управления двигателем:
• Зарегистрирован код неисправности.
• Запрос на включение желтого индикатора.
• Блок управления двигателем отключает выход.
Очевидные внешние признаки:
• Загорается желтый индикатор.
• Реле предпускового прогрева никогда не включается.
• При запуске холодного двигателя появляется белый дым.
• Сложности с запуском очень холодного двигателя.
Соответствующая проверка:
• Неактивное/активное сообщение FMI
Этот код неисправности включается только на короткое время, при нахождении ключа зажигания в положении предпускового прогрева.
28450–6 “MID 128 PID 45 Состояние предпускового подогревателя”.
FMI 4
Короткое замыкание на массу.
Условия регистрации кода неисправности:
• Выход закрыт.
• Короткое замыкание на массу в EB31.
Возможная причина:
• Короткое замыкание на массу в кабеле между реле предпускового прогрева и блоком управления двигателем.
• Неисправность в предпусковом реле.
Реакция блока управления двигателем:
• Зарегистрирован код неисправности.
• Запрос на включение желтого индикатора.
Очевидные внешние признаки:
• Загорается желтый индикатор.
• Слишком горячий впускной воздух вследствие постоянного включения реле предпускового прогрева.
Соответствующая проверка:
• Активное сообщение FMI
28450–6 “MID 128 PID 45 Состояние предпускового подогревателя”.
• Неактивное сообщение FMI
VCADS Pro 17004–2 «Коды неисправностей, режим тестирования»
Если код неисправности включается во время теста «Коды неисправностей, режим тестирования», продолжайте поиск неисправности в соответствии с разделом «Активное сообщение FMI»
Если код неисправности не становится активным, попытайтесь включить его во время пробной поездки. Для выполнения поиска неисправностей код неисправности должен быть активным.
FMI 5
Обрыв.
Условия регистрации кода неисправности:
• Выход закрыт.
• Прерывание цепи.
Возможная причина:
• Перегорел предохранитель в цепи питания реле предпускового прогрева.
• Обрыв в проводке между блоком управления двигателем и реле предпускового прогрева.
• Разрыв цепи в реле предпускового прогрева.
• Обрыв в кабеле питания реле предварительного прогрева.
Реакция блока управления двигателем:
• Зарегистрирован код неисправности.
• Запрос на включение желтого индикатора.
• Блок управления двигателем отключает выход.
Очевидные внешние признаки:
• Загорается желтый индикатор.
• Реле предпускового прогрева никогда не включается.
• При запуске холодного двигателя появляется белый дым.
• Сложности с запуском очень холодного двигателя.
Соответствующая проверка:
• Активное сообщение FMI
28450–6 “MID 128 PID 45 Состояние предпускового подогревателя”.
• Неактивное сообщение FMI
Это сообщение FMI активно только при включенном реле. Этот код неисправности будет отображаться как неактивный (когда он считывается) при выключенном реле.
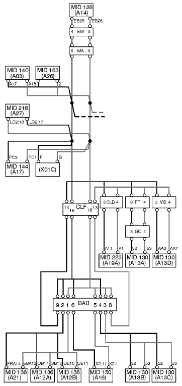
MID 128 PID 49 Состояния функционирования системы ABS

Код неисправности
FMI 9
Проверка состояния ABS недоступна.
Условия регистрации кода неисправности:
• PID 49–сообщение не принимается достаточно часто или вообще недоступно.
Возможная причина:
• Неисправность в блоке управления ABS.
• Ошибка в информационном канале (SAE J1708).
Реакция блока управления двигателем:
• Зарегистрирован код неисправности.
• Запрос на включение желтого индикатора.
Очевидные внешние признаки:
• Загорается желтый индикатор.
Соответствующая проверка:
• См. “Поиск неисправностей для комбинаций кодов неисправностей”.
• См. таблицу кодов неисправностей для MID 136.
Поиск неисправностей для комбинаций кодов неисправностей
Для облегчения поиска неисправностей, проверьте состояние других кодов неисправностей, чтобы
лучше понять, в чем заключается неисправность.
Комбинация кодов неисправностей A
Активно только сообщение MID 128 PID 49 (возможно в комбинации с кодами неисправностей блока управления ABS/EBS)
1 Проверьте, посылает ли информацию блок управления ABS/EBS по каналу J1587/J1708 путем вывода описания блока управления при помощи VCADS Pro (17034-2 «Информация об автомобиле, тест»)
2 Если эта информация читается:
Для обнаружения любых неустойчивых соединений в канале J1587/J1708 между разъемом BAB (за креслом пассажира) и блоком управления ABS/EBS, при помощи VCADS Pro выполните тест 17004–2 «Коды неисправностей, режим тестирования».
Если эта информация не читается:
Проверьте канал J1587/J1708 между разъемом BAB (за креслом пассажира) и блоком управления
ABS/EBS. Выполните также функциональную проверку блока управления ABS/EBS.
Комбинация кодов неисправностей B MID 128 PID 49 в комбинации с дополнительными кодами неисправностей MID 128 (PID 84, PID 85, PID 91, PID 224, PID 228).
1 Проверьте канал J1587/J1708 между разъемом MA (кабель питания, кабина) и блоком управления
двигателем или между разъемом MA и разъемом CLF (центральная консоль распределительной коробки).
Для локализации неисправности, см. также информацию по поиску неисправности для других кодов неисправностей MID 128 (PID 84, PID 85, PID 91, PID 224, PID 228).
Комбинация кодов неисправностей С MID 128 PID 49 в комбинации с кодами неисправностей при неисправности канала J1587/J1708 для пневмоподвески, ABS/EBS, автоматической коробки
передач/замедлителя
1 Проверьте канал J1587/J1708 между разъемом CLF (центральная консоль распределительной коробки) и разъемом BAB (за креслом пассажира).
MID 128 PID 84 Скорость автомобиля

Общие сведения
Компонент: (A17) Блок управления автомобилем
Код неисправности
FMI 9
Недоступен сигнал скорости автомобиля (сообщение SAE J1708).
Условия регистрации кода неисправности:
• Сигнал скорости автомобиля принимается недостаточно часто или вообще недоступен.
Возможная причина:
• Неисправность датчика скорости автомобиля.
• Ошибка в информационном канале (SAE J1708/J1587).
• Ошибка в блоке управления автомобилем.
Реакция блока управления двигателем:
• Зарегистрирован код неисправности.
• Запрос на включение желтого индикатора.
• При установлении кода неисправности FMI 11, система управления двигателем ограничивает его
частоту вращения до примерно 1700 об/мин.
Очевидные внешние признаки:
• Загорается желтый индикатор.
• Если установлен также код неисправности FMI 11, то максимальная частота вращения двигателя
будет примерно 1700 об/мин.
Соответствующая проверка:
• Активное сообщение FMI
См. “Поиск неисправностей для комбинаций кодов неисправностей”.
• Неактивное сообщение FMI
Данный код неисправности не может быть прочитан в неактивном состоянии, поскольку не может быть сохранен. Для проверки постоянства характера этой неисправности, при помощи VCADS Pro выполните тест 17004–2 «Коды неисправностей, режим тестирования».
VCADS Pro 17004–2 «Коды неисправностей, режим тестирования»
Если код неисправности включается во время теста «Коды неисправностей, режим тестирования», продолжайте поиск неисправности в соответствии с разделом «Активное сообщение FMI»
Если код неисправности не становится активным, попытайтесь включить его во время пробной
поездки. Для выполнения поиска неисправностей код неисправности должен быть активным.
FMI 11
Недоступен сигнал скорости автомобиля.
(сообщение SAE J1939).
Условия регистрации кода неисправности:
• Сигнал скорости автомобиля в канале управления (SAE J1939) недоступен.
Возможная причина:
• Неисправность датчика скорости автомобиля.
• Неисправность в канале управления (SAE J1939).
• Ошибка в блоке управления автомобилем.
Реакция блока управления двигателем:
• Зарегистрирован код неисправности.
• Запрос на включение желтого индикатора.
• Вместо этого сообщение выводится через информационный канал (SAE J1708).
• При установлении кода неисправности FMI 9, система управления двигателем ограничивает его
частоту вращения до примерно 1700 об/мин.
Очевидные внешние признаки:
• Загорается желтый индикатор.
• Если установлен также код неисправности FMI 9, то максимальная частота вращения двигателя будет примерно 1700 об/мин.
Соответствующая проверка:
• Активное сообщение FMI См. “Поиск неисправностей для комбинаций кодов неисправностей”.
• Неактивное сообщение FMI
Данный код неисправности не может быть прочитан в неактивном состоянии, поскольку не может быть сохранен. Для проверки постоянства характера этой неисправности, при помощи VCADS Pro выполните тест 17004–2 «Коды неисправностей, режим тестирования».
VCADS Pro 17004–2 «Коды неисправностей, режим тестирования»
Если код неисправности включается во время теста «Коды неисправностей, режим тестирования», продолжайте поиск неисправности в соответствии с разделом «Активное сообщение FMI»
Если код неисправности не становится активным, попытайтесь включить его во время пробной поездки. Для выполнения поиска неисправностей код неисправности должен быть активным.
Поиск неисправностей для комбинаций кодов неисправностей.
Для облегчения поиска неисправностей, проверьте состояние других кодов неисправностей, чтобы
лучше понять, в чем заключается неисправность.
Комбинация кодов неисправности A (только для FMI 9)
MID 128 PID 84 FMI 9 в комбинации с дополнительные коды неисправностей MID 128 (PID 49, PID 85, PID 91, PID 224, PID 228).
1 Проверьте канал J1587/J1708 между разъемом MA (кабель питания, кабина) и блоком управления
двигателем или между разъемом MA и разъемом CLF (центральная консоль распределительной
коробки).
Для локализации неисправности, см. также информацию по поиску неисправности для других кодов неисправностей MID 128 (PID 49, PID 85, PID 91, PID 224, PID 228).
Комбинация кодов неисправности B (только для FMI 11) MID 128 PID 84 FMI 11 в комбинации с MID 128 PSID 201.
1 Производите поиск неисправностей в соответствии с инструкциями для PSID 201.
Комбинация кодов неисправностей С MID 128 PID 84 FMI 9 и FMI 11 в комбинации с кодом неисправности от блока управления автомобилем MID 144 PID 84.
1 Проверьте датчик скорости автомобиля и тахограф, а также кабель между тахографом и блоком управления автомобилем.
Для автомобилей без тахографов:
Проверьте датчик скорости автомобиля и кабель между спидометром и блоком управления автомобилем.
MID 128 PID 85 Состояние системы поддержания заданной скорости

Общие сведения
Компонент: (A17) Блок управления автомобилем
Код неисправности
FMI 9
Недоступно сообщение состояния от системы круиз-контроля (сообщение SAE J1587/J1708).
Условия регистрации кода неисправности:
• Сигнал от круиз-контроля принимается недостаточно часто или вообще недоступен.
Возможная причина:
• Ошибка в информационном канале (SAE J1587/J1708).
• Ошибка в блоке управления автомобилем.
Реакция блока управления двигателем:
• Зарегистрирован код неисправности.
• Запрос на включение желтого индикатора.
Очевидные внешние признаки:
• Загорается желтый индикатор.
• Круиз-контроль не работает
Соответствующая проверка:
• Активное сообщение FMI
См. “Поиск неисправностей для комбинаций кодов неисправностей”.
• Неактивное сообщение FMI
Данный код неисправности не может быть прочитан в неактивном состоянии, поскольку не может быть сохранен. Для проверки постоянства характера этой неисправности, при помощи VCADS Pro выполните тест 17004–2 «Коды неисправностей, режим тестирования».
VCADS Pro 17004–2 «Коды неисправностей, режим тестирования» Если код неисправности включается
во время теста «Коды неисправностей, режим тестирования», продолжайте поиск неисправности в соответствии с разделом «Активное сообщение FMI»
Если код неисправности не становится активным, попытайтесь включить его во время пробной поездки. Для выполнения поиска неисправностей код неисправности должен быть активным.
Поиск неисправностей для комбинаций кодов неисправностей.
Для облегчения поиска неисправностей, проверьте состояние других кодов неисправностей, чтобы
лучше понять, в чем заключается неисправность. Комбинация кодов неисправностей A MID 128 PID 85 в комбинации с дополнительные коды неисправностей MID 128 (PID 49, PID 84, PID 91, PID 224, PID 28).
1 Проверьте канал J1587/J1708 между разъемом
MA (кабель питания, кабина) и блоком управления двигателем или между разъемом MA и разъемом CLF
(центральная консоль распределительной коробки).
Для локализации неисправности, см. также информацию по поиску неисправности для других кодов неисправностей MID 128 (PID 49, PID 84, PID 91, PID 224, PID 228).
Комбинация кодов неисправностей B MID 128 PID 85 в комбинации с кодом неисправности от блока управления автомобилем MID 144 PPID 71 и/или SID 243.
1 Проверьте выключатель и кабели круиз-контроля, а также кабели между выключателем и блоком
управления автомобилем.
MID 128 PID 91 Положение педали акселератора

Общие сведения
Компонент: (A17) Блок управления автомобилем
Код неисправности
FMI 9
Сообщение о положении педали акселератора недоступно. (сообщение SAE J1587/J1708).
Условия регистрации кода неисправности:
• Сигнал о положении педали акселератора принимается недостаточно часто или вообще недоступен.
Возможная причина:
• Неисправность датчика педали акселератора.
• Ошибка в информационном канале (SAE J1587/J1708).
• Ошибка в блоке управления автомобилем.
Реакция блока управления двигателем:
• Зарегистрирован код неисправности.
• Запрос на включение желтого индикатора.
• Если также установлен код неисправности FMI 11, блок управления двигателем переходит в режим
“медленного возвращения домой”.
Очевидные внешние признаки:
• Загорается желтый индикатор.
• Если также установлен код неисправности FMI 11, блок управления двигателем переходит в режим
“медленного возвращения домой” и вместо датчика педали акселератора используется контакт для работы двигателя в режиме малого газа.
Соответствующая проверка:
• Активное сообщение FMI
См. “Поиск неисправностей для комбинаций кодов неисправностей”.
• Неактивное сообщение FMI
Данный код неисправности не может быть прочитан в неактивном состоянии, поскольку не может быть сохранен. Для проверки постоянства характера этой неисправности, при помощи VCADS Pro выполните тест 17004–2 «Коды неисправностей, режим тестирования».
VCADS Pro 17004–2 «Коды неисправностей, режим тестирования»
Если код неисправности включается во время теста «Коды неисправностей, режим тестирования», продолжайте поиск неисправности в соответствии с разделом «Активное сообщение FMI»
Если код неисправности не становится активным, попытайтесь включить его во время пробной поездки. Для выполнения поиска неисправностей код неисправности должен быть активным.
FMI 11
Сообщение о положении педали акселератора недоступно. (сообщение SAE J1939).
Условия регистрации кода неисправности:
• Сведения о неисправности датчика педали акселератора переданы в канал управления (SAE J1939).
• Сигнал о положении педали акселератора недоступен в канале управления (SAE J1939).
Возможная причина:
• Неисправность датчика педали акселератора.
• Неисправность в канале управления (SAE J1939).
• Ошибка в блоке управления автомобилем.
Реакция блока управления двигателем:
• Зарегистрирован код неисправности.
• Запрос на включение желтого индикатора.
• Сигнал о положении педали акселератора берется из информационного канала (SAE J1708).
• Если также установлен код неисправности FMI 9, блок управления двигателем переходит в режим
“медленного возвращения домой”.
Очевидные внешние признаки:
• Загорается желтый индикатор.
• Если также установлен код неисправности FMI 9, блок управления двигателем переходит в режим
“медленного возвращения домой” и вместо датчика педали акселератора используется контакт для работы двигателя в режиме малого газа.
Соответствующая проверка:
• Активное сообщение FMI
См. “Поиск неисправностей для комбинаций кодов неисправностей”.
• Неактивное сообщение FMI
Данный код неисправности не может быть прочитан в неактивном состоянии, поскольку не может быть сохранен. Для проверки постоянства характера этой неисправности, при помощи VCADS Pro выполните тест 17004–2 «Коды неисправностей, режим тестирования».
VCADS Pro 17004–2 «Коды неисправностей, режим тестирования»
Если код неисправности включается во время теста «Коды неисправностей, режим тестирования», продолжайте поиск неисправности в соответствии с разделом «Активное сообщение FMI»
Если код неисправности не становится активным, попытайтесь включить его во время пробной поездки. Для выполнения поиска неисправностей код неисправности должен быть активным.
Поиск неисправностей для комбинаций кодов неисправностей.
Для облегчения поиска неисправностей, проверьте состояние других кодов неисправностей, чтобы
лучше понять, в чем заключается неисправность.
Комбинация кодов неисправности A (только для FMI 9) MID 128 PID 91 FMI 9 в комбинации с дополнительные коды неисправностей MID 128 (PID 49, PID 84, PID 85, PID 224, PID 228).
1 Проверьте канал J1587/J1708 между разъемом MA (кабель питания, кабина) и блоком управления
двигателем или между разъемом MA и разъемом CLF (центральная консоль распределительной
коробки).
Для локализации неисправности, см. также информацию по поиску неисправности для других кодов неисправностей MID 128 (PID 49, PID 84, PID 85, PID 224, PID 228).
Комбинация кодов неисправности B (только для FMI 11) MID 128 PID 91 FMI 11 в комбинации с MID 128 PSID 201.
1 Производите поиск неисправностей в соответствии с инструкциями для PSID 201.
Комбинация кодов неисправностей С MID 128 PID 91 FMI 9 и FMI 11 в комбинации с кодом неисправности от блока управления автомобилем MID 144 PID 91 и/или PPID 72.
1 Проверьте педаль акселератора и кабель между педалью акселератора и блоком управления
автомобилем.
MID 128 PID 94 Давление подачи топлива

Старый вариант с электрическим топливным насосом.

Новый вариант с ручным насосом
Общие сведения
В дополнение к измерению давления топлива, датчик также измеряет его температуру.
Компонент: (B51) Датчик давления/температуры топлива
Код неисправности
FMI 3
Короткое замыкание на питание батареи.
Условия регистрации кода неисправности:
• Напряжение EA27 превышает 4,95 В.
Возможная причина:
• Короткое замыкание на питание батареи, сигнальный кабель.
• Неисправность в датчике.
Реакция блока управления двигателем:
• Зарегистрирован код неисправности.
• Запрос на включение желтого индикатора.
Очевидные внешние признаки:
• Загорается желтый индикатор.
Соответствующая проверка:
• Активное сообщение FMI 28454–6 “MID 128 PID 94 Давление подачи топлива”.
• Неактивное сообщение FMI VCADS Pro 17004–2 «Коды неисправностей, режим тестирования»
Если код неисправности включается во время теста «Коды неисправностей, режим тестирования», продолжайте поиск неисправности в соответствии с разделом «Активное сообщение FMI»
Если код неисправности не становится активным, попытайтесь включить его во время пробной поездки. Для выполнения поиска неисправностей код неисправности должен быть активным.
FMI 4
Короткое замыкание на питание батареи или долговременная потеря сигнала (обрыв).
Условия регистрации кода неисправности:
• Напряжение EA27 ниже 0,08 В.
Возможная причина:
• Обрыв, кабель питания 5 В.
• Обрыв, сигнальный кабель.
• Обрыв, кабель массы.
• Короткое замыкание на массу, сигнальный кабель.
• Неисправность в датчике.
Реакция блока управления двигателем:
• Зарегистрирован код неисправности.
• Запрос на включение желтого индикатора.
Очевидные внешние признаки:
• Загорается желтый индикатор.
Соответствующая проверка:
• Активное сообщение FMI 28454–6 “MID 128 PID 94 Давление подачи топлива” .
• Неактивное сообщение FMI VCADS Pro 17004–2 «Коды неисправностей, режим тестирования»
Если код неисправности включается во время теста «Коды неисправностей, режим тестирования», продолжайте поиск неисправности в соответствии с разделом «Активное сообщение FMI»
Если код неисправности не становится активным, попытайтесь включить его во время пробной поездки. Для выполнения поиска неисправностей код неисправности должен быть активным.
FMI 7
Слишком низкое давление.
Условия регистрации кода неисправности:
• Напряжение на EA27 ниже границы сигнализации (см. таблицу).

Возможная причина:
• Забитый топливный фильтр.
• Попадание воздуха в топливную систему или утечка из нее.
• Слишком низкое давление открывания на
байпасном клапане.
• Износ топливного насоса.
• Механическая неисправность в датчике.
Реакция блока управления двигателем:
• Зарегистрирован код неисправности.
• Запрос на включение желтого индикатора.
Очевидные внешние признаки:
• Загорается желтый индикатор.
• Малая выходная мощность.
• Сложности с запуском.
• Синий дым.
Необходимое действие:
• Активное сообщение FMI
См. информацию об обслуживании «Давление подачи, поиск неисправностей» (Контрольный листок B), Диагностика, группа 2309.
• Неактивное сообщение FMI
Это сообщение FMI активно только при работающем двигателе. Этот код неисправности будет отображаться как неактивный (когда он считывается) при выключенном двигателе.
VCADS Pro 17004–2 «Коды неисправностей, режим тестирования»
Если код неисправности включается во время теста «Коды неисправностей, режим тестирования», продолжайте поиск неисправности в соответствии с разделом «Активное сообщение FMI»
Если код неисправности не становится активным, попытайтесь включить его во время пробной поездки. Для выполнения поиска неисправностей код неисправности должен быть активным.
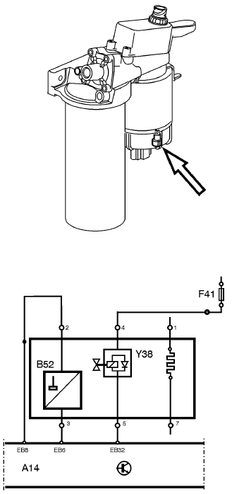
MID 128 PID 97 Индикатор наличия воды в топливе

Старый вариант с электрическим топливным насосом

Новый вариант с ручным насосом
Общие сведения
Компонент: (B52) Индикатор наличия воды в топливе
Код неисправности
FMI 3
Короткое замыкание на питание батареи.
Условия регистрации кода неисправности:
• Напряжение на EB6 превышает 91% напряжения батареи (0,91 * Uбат).
Возможная причина:
• Короткое замыкание на питание батареи, сигнальный кабель.
• Обрыв, сигнальный кабель.
• Неисправность в индикаторе.
Реакция блока управления двигателем:
• Зарегистрирован код неисправности.
• Запрос на включение желтого индикатора.
Очевидные внешние признаки:
• Загорается желтый индикатор.
• Индикатор не работает.
Соответствующая проверка:
• Активное сообщение FMI 28416–2 “MID 128 PID 97 Индикатор наличия воды в”.
• Неактивное сообщение FMI VCADS Pro 17004–2 «Коды неисправностей, режим тестирования»
Если код неисправности включается во время теста «Коды неисправностей, режим тестирования», продолжайте поиск неисправности в соответствии с разделом «Активное сообщение FMI»
Если код неисправности не становится активным, попытайтесь включить его во время пробной поездки. Для выполнения поиска неисправностей код неисправности должен быть активным.
FMI 4
Короткое замыкание на массу.
Условия регистрации кода неисправности:
• Напряжение на EB6 менее 5% от напряжения батареи (0,05 * Uбат).
Возможная причина:
• Короткое замыкание на массу, сигнальный кабель.
• Неисправность в индикаторе.
Реакция блока управления двигателем:
• Зарегистрирован код неисправности.
• Запрос на включение желтого индикатора.
• Индикатор не работает.
• Загорается желтый индикатор.
Соответствующая проверка:
• Активное сообщение FMI 28416–2 “MID 128 PID 97 Индикатор наличия воды в”.
• Неактивное сообщение FMI VCADS Pro 17004–2 «Коды неисправностей, режим тестирования»
Если код неисправности включается во время теста «Коды неисправностей, режим тестирования», продолжайте поиск неисправности в соответствии с разделом «Активное сообщение FMI»
Если код неисправности не становится активным, попытайтесь включить его во время пробной поездки. Для выполнения поиска неисправностей код неисправности должен быть активным.
FMI 14
Этот информационный код отображается при работающем электрическим топливоподкачивающем насосе.
Условия регистрации кода неисправности:
• Насос работает.
Возможная причина:
• Насос включен.
Реакция блока управления двигателем:
• Зарегистрирован информационный код.
• Запрос на включение синего индикатора.
Очевидные внешние признаки:
• Горит синяя лампа.
Продолжение и полное описание проверок всех компонентов -
смотрите в 65 обновлении