Функциональное описание компонентов кондиционера с электронным управлением MAN TGS/TGX
Блок управления отопителя/кондиционера (A250) Штекерная разводка контактов штекера A

Штекер A

Штекерная разводка контактов штекера B

Штекер B

Штекерная разводка контактов штекерного разъема бортовой сети

- (1) Штекерный разъем бортовой сети

Прибор управления отоплением кабины с системой климат-контроля (A474)

Органы управления кондиционером

Распределение воздуха

Органы управления автономным кондиционером (приобретается отдельно)

Органы управления дополнительным воздушным обогревом/независимым обогревом (приобретается отдельно)

Индикации на дисплее устройства управления обогревом кабины водителя с кондиционером (А474)

Индикации на экране кондиционера и автономного кондиционера

Индикации на экране дополнительного воздушного обогрева/независимого обогрева (приобретается отдельно)

Расположение контактов

Вилка соединителя X1

Датчик температуры наружного воздуха
Для системы климат-контроля базовым параметром является измеренное значение температуры наружного воздуха. Сигналы других датчиков обеспечивают согласование требуемой тепло- и холодопроизводительности и работы вентилятора.
Датчик испарителя
Датчик испарителя измеряет температуру испарителя и служит для регулирования холодопроизводительности. Когда температура ниже 0°С, защита от замерзания блокирует процесс регулирования. Защита осуществляется посредством отключения и включения компрессора.
Датчик теплообменника (датчик температуры продуваемого воздуха)
Электронный блок управления устанавливает температуру продуваемого воздуха в зависимости от требуемой теплопроизводительности. Регулирование осуществляется за счет управления импульсным водяным клапаном (задание рабочего цикла) в регуляторе расхода воды.
Датчик температуры внутреннего воздуха кондиционера (B393)

- (1) Датчик температуры внутреннего воздуха
Датчик температуры внутреннего воздуха кондиционера встроен в устройство управления обогревом кабины водителя с кондиционером (A474).
Сравнение уставки с фактическим значением: Датчик температуры воздуха на внутреннем выпуске системы климат-контроля измеряет действительную температуру в кабине. Это самая важная регулируемая величина, поскольку именно с ее помощью измеряются параметры микроклимата водителя. На внутреннюю температуру влияют все компоненты системы автоматического регулирования (электромагнитный клапан переднего кондиционера, электромагнитное сцепление компрессора, вентилятор).
Ввод требуемого значения: Для внутренней температуры можно задать номинальное значение от 16°C до 31°C. Нижняя ступень отображается с помощью LO, а максимальная ступень отображается на экране с помощью HI. Заданное с помощью органа управления номинальное значение корректируется в зависимости от наружной температуры. При низких значениях наружной температуры система стремится поддержать более высокую внутреннюю температуру, при высоких значениях наружной температуры – более низкую внутреннюю температуру.
Выбор режима эксплуатации кондиционера – AC или AC/ECO
В положении AC/ECO кондиционер регулируется за счет изменения температуры испарителя. Это означает, что температура воздуха на выходе кондиционера на датчике теплообменника и внутри кабины регулируется продолжительностью включения компрессора. В этом положении система управления климат-контролем автоматически переключается между состояниями: охлаждение – вентиляция – нагрев. Если наружная температура соответствует желаемой, но воздух влажный, то хотя кондиционер поддерживает требуемую температуру, но из-за высокой влажности воздуха не может обеспечить в кабине водителя требуемый микроклимат. В этом случае выберите режим AC. В режиме AC температура кондиционера устанавливается на уровне температуры испарителя 2-7°C, а внутренняя температура поддерживается дополнительным обогревом. При прохождении через кондиционер воздух охлаждается, часть содержащейся в нем влаги конденсируется и уходит через сток. Благодаря дополнительному нагреву воздух внутри кабины становится более сухим. Режим AC можно использовать при наружной температуре прибл. до 5°C, а также для быстрого снятия мембраны с конденсатом. В режиме AC/ECO потребляется меньше топлива, чем в режиме AC, так как компрессор включается не столь часто.
Перепускная заслонка отопителя

Перепускная заслонка (1) позволяет подавать параллельный поток воздуха, что при обогреве с помощью теплообменника невозможно. Когда кондиционер работает, заслонка полностью открыта, чтобы расход воздуха был как можно больше. Во время обогрева выполняется бесступенчатая регулировка заслонки в зависимости от необходимой мощности обогрева (на полной мощности обогрева заслонка закрыта/при выключенном обогреве – полностью открыта). Таким образом обеспечивается приток свежего воздуха к центральным отверстиям. Благодаря этому улучшается температурное распределение в кабине (ноги в тепле, голова в холоде). Из-за непосредственного подмешивания свежего воздуха колебания температуры у центральных отверстий оказываются столь же сильными, как при использовании дополнительных выпусков воздуха.
Компрессор с электромагнитным сцеплением (Y114)
Установленный в автомобиле компрессор играет для кондиционера роль привода, образуя в системе охлаждения точку раздела между стороной высокого и низкого давления. На впуск компрессора (сторона низкого давления) от испарителя поступает холодный хладагент, и компрессор его сжимает. В ходе этого процесса хладагент разогревается и нагнетается в конденсатор (сторона высокого давления).
Включение и отключение компрессора осуществляет электромагнитное сцепление (Y114).
Электромагнитное сцепление расцеплено

- (1) Шкив
- (2) Электромагнит
- (3) Пластина якоря
- (4) Упругая пластина
Электромагнитное сцепление сцеплено

Ресивер-осушитель хладагента

От конденсатора хладагент течет в ресивер-осушитель (1), где находится запас хладагента, и далее по мере изменения его потребления идет в испаритель. Ресивер-осушитель хладагента установлен после конденсатора на стороне высокого давления системы охлаждения. В нем находится хладагент, поступающий из конденсатора в жидком состоянии, там он собирается и соединяется с хладагентом, уже находящимся в ресивере-осушителе.
Гидробак реле высокого/низкого давления (B203)

Для контроля или ограничения режима давления в закрытом циркуляционном контуре после гидробака устанавливается реле высокого/низкого давления (1).
Этот датчик (1) отключает компрессор, расцепляя электромагнитное сцепление, когда давление в системе принимает недопустимое значение, что позволяет защитить кондиционер от возможного повреждения.
Если давление в системе ниже прибл. 2 бар, например из-за недостатка хладагента в циркуляционном контуре, реле высокого/низкого давления открывается и выключает компрессор. Если давление в системе увеличивается, например в результате сильного загрязнения конденсатора, реле высокого/низкого давления выключает компрессор при давлении прибл. 26 бар.
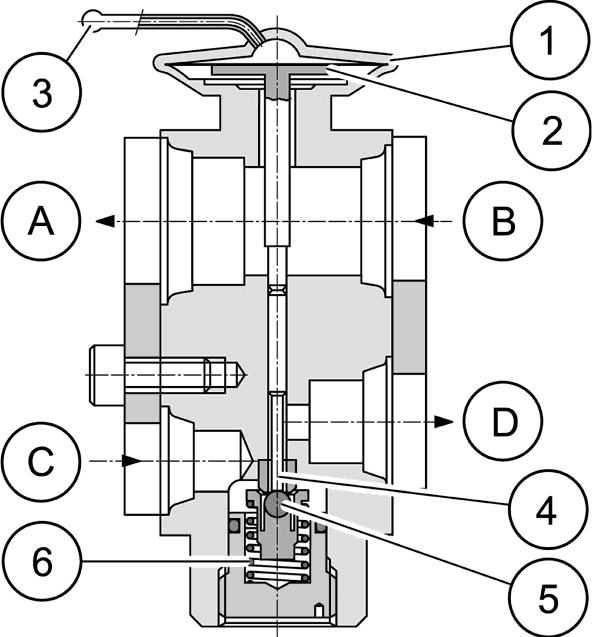
Термостатический расширительный клапан
Термостатический расширительный клапан служит средством разграничения сторон высокого и низкого давления в системе охлаждения. Он установлен перед испарителем и выполняет роль блокирующего клапана. Расширительный клапан (также называемый клапанной форсункой) служит для подачи в испаритель оптимального количества хладагента. При этом он позволяет управлять подачей хладагента.
Регулирование осуществляется с учетом следующих факторов:
- Давление, создаваемое датчиком температуры
- Давление на выпуске испарителя
- Давление, создаваемое пружиной
В равновесном состоянии: Давление от датчика температуры = Давление на выпуске испарителя + Давление пружины

- (1) Анероидная коробка
- (2) Диафрагма
- (3) Датчик температуры
- (4) Палец
- (5) Шарик
- (6) Пружина
- (A) к компрессору
- (B) от испарителя
- (C) от конденсатора
- (D) к испарителю
Компрессор откачивает хладагент, в результате давление в испарителе падает. Давление на впуске компрессора действует на диафрагму (2) и тянет ее вниз. Движение диафрагмы передается на палец (4) и шарик (5). Клапан открывается против действия пружины, сжатый жидкий хладагент течет через клапан в испаритель и там испаряется. При протекании хладагента через испаритель и расширительный клапан он вследствие испарения отбирает тепло от измерительной среды в датчике температуры (3), датчик вытягивается (объемное сокращение), то есть давление на температурный датчик падает. Температурный датчик и анероидная коробка (1) заполнены одинаковой средой. Это сжиженный газ или адсорбционное вещество, которое при повышении температуры переходит в газообразную форму. В результате нарушается баланс приложенных к шарику (5) сил, шарик под действием пружины поднимается вверх и впрыскиваемое количество уменьшается до восстановления баланса сил.
За счет такого регулирования термостатический расширительный клапан обеспечивает перегрев хладагента. Под понятием перегрева хладагента понимают разность между теоретической температурой испарения при соответствующем давлении и измеренной температурой после испарителя (температура датчика). Величина перегрева составляет для данного расширительного клапана 2,8°С. Таким образом система не разрешает поступить в испаритель такому количеству хладагента, которое не сможет полностью испариться. Если это произойдет, то на впуск компрессора попадет жидкий хладагент и вследствие гидравлического удара компрессор может быть испорчен.
Испаритель

- (1) Испаритель
- (2) Расширительный клапан
Испаритель установлен в кожухе кондиционера сразу у впускного отверстия, по которому поступает свежий или рециркуляционный воздух. Его назначение – охладить и осушить теплый воздух, поступающий в кондиционер из кабины автомобиля. Испаритель является вторым теплообменником системы охлаждения.
Испаритель выполнен в виде дискового испарителя. С помощью расширительного клапана жидкий хладагент, находящийся под давлением, впрыскивается в испаритель. Там он расширяется и в результате отбора тепла испаряется. Необходимую для испарения теплоту пластины испарителя отбирают от потока воздуха, который в результате охлаждается и отдает влагу. Конденсируемая на пластинах испарителя вода свободно вытекает через отверстие отвода конденсата. Чтобы пластины испарителя не замерзали, его минимальную температуру ограничивают приблизительно +2°С.
Конденсатор
Конденсатор служит для охлаждения и сжижения горячего хладагента. Он установлен в автомобиле таким образом, что охлаждается встречным потоком воздуха, поступающим от вентилятора системы охлаждения двигателя.
Компрессор нагнетает нагретый до 60-100°С хладагент в змеевик конденсатора. Большое количество пластин конденсатора обеспечивает получение большой площади и соответственно хороший принудительный теплообмен. Нагретый газ отдает тепло встречному потоку, его температура становится ниже точки росы, и он конденсируется. Жидкий хладагент вытекает из конденсатора и под давлением поступает в ресивер-осушитель.
Присоединительные вентили
С помощью присоединительных вентилей в агрегат можно заливать или сливать хладагент. Для проверки кондиционера к нему можно присоединить манометр. Присоединительные вентили выполнены в виде игольчатых клапанов.

- (1) Присоединительный элемент
- (2) Игольчатый клапан
Чтобы присоединительные вентили нельзя было перепутать, они сделаны разного размера

- (1) Малый клапан – сторона всасывания – сторона низкого давления
- (2) Большой клапан – сторона давления – сторона высокого давления
Присоединительные вентили находятся под передней крышкой. Для доступа к присоединительным вентилям необходимо снять заглушки.
Серводвигатели (шаговые двигатели)
Серводвигатели (шаговые двигатели) заменяют существующие тросы Боудена. Они соединены электрическим соединением с блоком управления кондиционера (A250) и управляются в зависимости от заданной настройки устройства управления. С помощью вращательного движения серводвигателя открываются или закрываются различные заслонки и клапаны в кожухах с фильтрами или кожухах отопителя.
Серводвигатель (шаговый двигатель) свежего/рециркуляционного воздуха

Серводвигатель для свежего/рециркуляционного воздуха (1) находится в камере на корпусе фильтра. Он открывается или закрывается в зависимости от заданной пользователем настройки заслонки рециркуляционного воздуха.
Серводвигатель (шаговый двигатель) регулировочного клапана температуры

Серводвигатель для регулировочного клапана температуры (1) находится сбоку кожуха отопителя.
Серводвигатель (шаговый двигатель) распределения воздуха/боковые форсунки

Серводвигатели для боковых форсунок (1) и распределения воздуха (2) находятся вверху кожуха отопителя.
Хладагент R 134a
Чтобы обеспечить в кондиционере процесс испарения, в качестве рабочей среды применено вещество с низкой температурой кипения, называемое хладагентом. Известно, что по мере понижения давления воды также понижается температура кипения. Аналогично ведут себя все однородные жидкости. Когда давление падает, температура кипения понижается, когда давление растет, температура кипения увеличивается. Хладагент (тетрафторэтан) 134a является неполностью галогенизированным веществом из группы фторуглеводородных соединений (FKW, химическая формула CF3CH2F), кипит при 26,5°С. Время существования в атмосфере неполностью галогенизированных веществ мало, и поскольку они не содержат хлор, то не разрушают озоновый слой. Кроме того, их вклад в парниковый эффект сравнительно мал. Хладагент 134a является бесцветной жидкостью со слабым запахом эфира. При контакте хладагента с огнем или горячими поверхностями возможно образование продуктов распада (пары) с сильным раздражащим действием, при соединении с воздухом возможно образование взрывоопасной смеси. Продуктами распада являются галогеноводород и карбонилгалогенид. При существенном превышении значений ПДК в воздухе 134a может оказывать наркотическое действие.
ПДК: Предельно Допустимая Концентрация вещества в воздухе, например 1000 мл/м3. Вдыхание продуктов распада 134a при больших концентрациях может привести к затруднению дыхания. Испарение хладагента на коже может привести ведет к замерзанию мест контакта.