См. также:
Топливная система Common Rail System 2 ЯМЗ-650
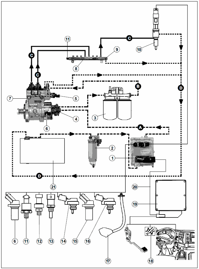
Описание системы:
Составные части электронной системы впрыска топлива "COMMON RAIL SYSTEM 2":
- электронный блок управления двигателя с охладителем (ЭБУ) (1) (650.3763010);
- фильтр грубой очистки топлива (2) (устанавливается потребителем);
- фильтры тонкой очистки топлива (3) (650.1028010 - в сборе);
- топливоподкачивающий (4);
- электромагнитный клапан-дозатор насоса топливного (5) (650.1111674));
- датчик частоты вращения вала топливного (датчик фазы) (6);
- насос топливный (7) (650.1111005);
- рампа (8) (650.1112552);
- перепускной (9);
- форсунки (10) (650.1112010);
- датчик давления в рампе (11) (650.1130540);
- датчик давления масла (12) (650.1130552);
- датчик температуры в контуре системы охлаждения (13) (650.1130556);
- датчик давления и температуры воздуха во впускном коллекторе (14) (650.1130548);
- датчик частоты вращения коленчатого вала двигателя (15) (650.1130544);
- датчик давления и температуры топлива (16);
- аварийный сигнализатор (18) (ChekEngen).
Компоненты остальных вспомогательных функций:
- муфта отключения вентилятора (17);
- заслонка системы выпуска отработавших газов.
Информация, получаемая от датчиков.
Электронный блок управления транспортным средством (19) обменивается информацией с ЭБУ двигателя (1) посредством шлейфа (20).
Гидравлические контуры:
- (А) - система всасывания;
- (В) - система низкого давления;
- (С) - система высокого давления;
- (D) - система возврата в топливный бак (21).

Принцип действия системы Common Rail System 2.
Топливная система аккумуляторного типа - Common Rail System 2 (CRS2) с электронным управлением
подачей топлива производства фирмы Robert Bosch (Германия).
CRS2 BOSCH с электронным блоком управления обеспечивает:
- точную дозировку цикловой подачи топлива для каждого рабочего режима;
- регулировку углов опережения впрыска топлива в зависимости от оборотов, нагрузки, температуры;
- легкий пуск двигателя с минимальным выбросом вредных веществ в атмосферу при любых
температурных условиях;
- корректировку процесса топливоподачи в зависимости от условий окружающей среды с целью снижения выбросов вредных веществ;
- совместимость с электронным блоком управления автомобиля (ABS, ASR, круиз-контроль и др.).
Топливная система работает следующим образом:
топливо из топливного бака через фильтр-отстойник грубой очистки и охладитель электронного блока
управления засасывается топливоподкачивающим насосом и под давлением 700…800 кПа (7…8 кгс/см2)
подается в фильтр тонкой очистки с очень высокой степенью очистки, так как система Common Rail
более чувствительна к загрязнению, чем системы с обычным плунжерным топливным насосом. Далее
топливо поступает в топливный насос высокого давления, который имеет две секции, каждая из которых запитывается через дозирующее устройство с электроклапаном. Из топливного насоса топливо под давлением поступает в общий топливопровод-накопитель (рампу) и далее по индивидуальным топливопроводам подводится к каждой форсунке. Форсунки подают топливо под давлением в камеру сгорания, продолжительность впрыскивания определяется длительностью электрического импульса от электронного блока управления двигателя. Пиковый электроимпульс на форсунку характеризуется напряжением до 80 В и 20 А.
Впрыскивание топлива осуществляется ступенчато:
- пилотный впрыск (1…3 %) при ранних углах опережения впрыскивания - для снижения шума
двигателя;
- основной впрыск (94…96 %);
- дополнительный впрыск после основного - для снижения дымности отработавших газов (1…5 %).
Баланс впрыскиваемого топлива для указанных впрысков определяется режимом работы двигателя.
Электроклапаны позволяют регулировать давление топлива, поступающего в надплунжерное пространство топливного насоса.
В штуцерах рампы на входе в трубопроводы высокого давления находятся гидравлические ограничители расхода топлива (по одному на каждый цилиндр), которые перекрывают подачу топлива в форсунки при превышении заданной длительности впрыска (например, при засорении форсунки).
После устранения отказа форсунки нормальная работоспособность ограничителя восстанавливается
автоматически.
Датчики, расположенные на двигателе, передают информацию на электронный блок управления
о работе систем. Электронный блок управления использует эту информацию для управления впрыском
и подачи сигнала о работе других систем на приборный щиток, и управления исполнительными механизмами, обеспечивающими работу двигателя.
Эта информация поступает от следующих датчиков:
- датчик давления в рампе (1);
- датчик фазы (2);
- датчик температуры и давления воздуха во впускном коллекторе (3);
- датчик частоты вращения двигателя (4) (на картере маховика);
- датчик давления масла (5);
- датчик температуры охлаждающей жидкости (6);
- датчик температуры и давления топлива (7);
- датчик режима работы вентилятора (встроен в муфту включения вентилятора).


Электронный блок управления (ЭБУ).
Электронный блок управления получает информацию от датчиков и вычислительного блока, управляющего автомобилем. В зависимости от параметров на входе, этот блок управляет впрыском
топлива и рядом вспомогательных функций (вентилятором двигателя). Этот блок информирует водителя о состоянии системы впрыска топлива посредством сигнализаторов (лампочек, светосигналов), расположенных на панели приборов, а в случае какой-либо неисправности он работает в аварийном режиме.

Фильтр грубой очистки топлива.
Полнопоточный фильтр-отстойник с влагоотделителем, ручным топливозакачивающим насосом
и сменным фильтрующим элементом (устанавливается на автомобиле).
(1) - фильтр автомобиля МАЗ,
(2) - фильтр автомобиля "Урал".

Фильтр тонкой очистки топлива.
Полнопоточный фильтр с двумя сменными фильтрующими элементами и устройством для автоматического подогрева топлива в холодное время года.
Для сохранения их специфических параметров по ёмкости и степени
фильтрации, эти фильтры следует менять исключительно на такие же.
При их установке фильтрационные патроны заливать не следует.

Насос топливный высокого давления.
С шестеренчатым топливоподкачивающим насосом и двумя плунжерными секциями высокого давления, с шестеренчатым приводом; передаточное отношение привода 0,5:1.

Рампа высокого давления.
Она обеспечивает связь между насосом топливным и форсунками.
Рампа оборудована:
- датчиком давления,
- перепускным клапаном.
Перепускной клапан предохраняет контур высокого давления от избыточного давления за счет отвода топлива в систему возврата в бак.
Тарирование перепускного клапана:
1650 ± 50 бар.
Датчик давления в рампе при 5-ти вольтовом напряжении питания выдаёт на выходе напряжение в пределах 0,5 - 4,5 вольт, в зависимости от величины замеренного давления. Информация об этой величине передаётся ЭБУ двигателя.

Электроуправляемая форсунка.
В состав такой форсунки входит электроклапан, который управляет открытием и закрытием
распылителя. Электроуправляемая форсунка не ремонтируется. Уплотнительные прокладки
следует обязательно заменить после каждого демонтажа. Зажимы не поляризованы.

Датчик фазы.
Этот датчик индуктивного типа выдаёт синусоидальное напряжение, вызванное прохождением впадин
маховика и зубчатого колеса насоса.
Частота этого сигнала пропорциональна скорости вращения двигателя.
На маховике имеется 58 впадин.

Датчик температуры охлаждающей жидкости.

Датчик давления и температуры воздуха во впускном коллекторе.
В одном датчике встроено 2 измеряющих элемента.
При 5-ти вольтовом напряжении питания этот датчик выдаёт на выходе напряжение в пределах 0,5 В и 4,5 В.
Технические данные (между зажимами № 1 и № 2).


Датчик давления масла.
При 5-ти вольтовом напряжении питания этот датчик выдаёт определенное напряжение, зависящее от давления в масляном контуре (от 0 до 7 бар).

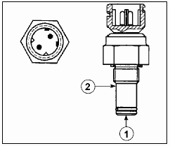
Датчик засорения топливных фильтров.
Переключается тогда, когда расхождение в давлениях между Р1 (1) и Р2 (2) доходит примерно до 3 бар. Информация о засорении фильтров передаётся на дисплей только при горячем двигателе
(во избежание выявления неисправностей, появляющихся при пиковой ситуации по давлению или из-за повышения вязкости топлива в холодное время года).

Муфта включения вентилятора.
Муфта включения вентилятора состоит из датчика частоты вращения, контрольного электроклапана вискомуфты.
Электронный вычислительный блок управляет вискомуфтой посредством электроклапана по мере востребованного двигателем параметра (температура, режим сниженной эффективности, включение отопителя или кондиционера).
