Электросхема тормозной системы BS Mercedes Actros
- Цветовая маркировка проводов -
- bl Синий
- br Коричневый
- ge Жёлтый
- gn Зелёный
- gr Серый
- rs Розовый
- rt Красный
- sw Чёрный
- vi Фиолетовый
- ws Белый
- tk Бирюзовый (бензин)
- or Оранжевый
- tr Световое табло
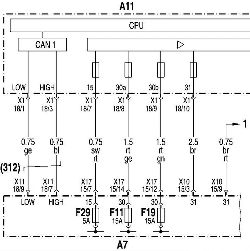
А7- A ll: Фрагмент электросхемы электропитания и шины CAN

- A l l : BS управление тормозной системой
- А7: Базовый модуль
- 1: Электропитание клеммы 31
- HIGH: Сигнал CAN-High шины CAN а/м
- LOW: Сигнал CAN-Low шины CAN а/м
- CAN1 Шина CAN а/м
- (312) Провода скручены.
А28: Модулятор тормозного усилия

- АН : Блок управления BS управление тормозной системой
- Модулятор тормозного усилия А28:
- Х4.2: Штекерное соединение 'Плата штекеров - Кабина водителя - шасси'
- Х2: Штекерное соединение на блоке управления BS управление тормозной системой
- В32: Датчик числа оборотов на заднем мосту слева
- ВЗЗ: Датчик числа оборотов на заднем мосту справа
- UA: Осевой модуль ведущего моста Электропитание
- SCLA: Осевой модуль ведущего моста Тормоза Шина CAN Low
- SCHA: Осевой модуль ведущего моста Тормоза Шина CAN High
- CAN6: Шина CAN тормозной системы
- 1: Соединение с клеммой Х10 15/9 на базовом модуле
- (116) Установлено только на б х 4
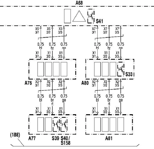
А68: Модульная панель переключателей MSF / Иллюстрация для правого руля

- А68: Блок управления MSF модульная панель переключателей (модуль переключателей 4 'Master')
- А7б: Модуль переключателей 2 'Консоль'
- А77: Модуль переключателей 1 'Консоль'
- А80: Модуль переключателей 7 'Консоль'
- А81: Модуль переключателей 8 'Консоль'
- S33: Выключатель Остановочный тормоз
- S39: Клавиша Отключение ABS
- S40: Клавиша Отключение ASR
- S41: Выключатель Устройство удержания на уклоне
- S158: Выключатель Отключение ASR
- (188): Иллюстрация для левого руля
А68: Модульная панель переключателей MSF / Иллюстрация для левого руля

- А7: Блок управления Базовый модуль GM
- А68: Блок управления MSF модульная панель переключателей (модуль переключателей 4 'Master')
- XI: Штекерное соединение на блоке управления MSF модульная панель переключателей (модуль переключателей 4 'Master')
- Х4: Штекерное соединение на блоке управления Базовый модуль GM
А74,В68: FDR система управления динамикой движения Датчик угла поворота рулевого колеса

- А74: Блок управления FDR система управления динамикой движения
- В68: Датчик угла поворота рулевого колеса
- А40: Блок управления Воздушная подушка безопасности
- Х4.2: Штекерное соединение 'Плата штекеров - Кабина водителя - шасси1
- Х2: Штекерное соединение на блоке управления BS управление тормозной системой
- (312): Провода скручены.
- CAN6: Шина CAN тормозной системы
ВЗО: Датчик числа оборотов на переднем мосту слева

- АН : Блок управления BS управление тормозной системой
- ВЗО: Датчик числа оборотов на переднем мосту слева
- DVL1: Соединение к конструктивному узлу Датчик числа оборотов на переднем мосту слева - Подключение: контакт 1
- DVL2: Соединение к конструктивному узлу Датчик числа оборотов на переднем мосту слева - Подключение: контакт 2
- Х3.1: Штекерное соединение 'Плата штекеров - Кабина водителя - шасси'
- Х4: Штекерное соединение на блоке управления BS управление тормозной системой
В31: Датчик числа оборотов на переднем мосту справа

- АН : Блок управления BS управление тормозной системой
- В31: Датчик числа оборотов на переднем мосту справа
- DVR1: Соединение к конструктивному узлу Датчик числа оборотов на переднем мосту справа - Подключение: контакт 1
- DVR2: Соединение к конструктивному узлу Датчик числа оборотов на переднем мосту справа - Подключение: контакт 2
- ХЗ: Штекерное соединение на блоке управления BS управление тормозной системой
- Х3.1: Штекерное соединение 'Плата штекеров - Кабина водителя - шасси'
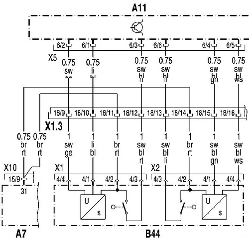
В44: Датчик тормозного крана

- В44: Датчик тормозного крана
- А7: Базовый модуль
- A l l : BS управление тормозной системой
- X I.3: Штекерное соединение 'Плата штекеров - Кабина водителя - шасси1
- Х5: Штекерное соединение на блоке управления BS управление тормозной системой
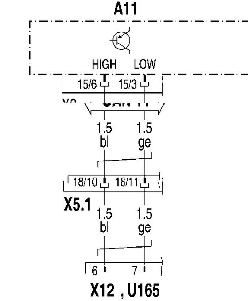
Х12: 7-полюсная розетка ABS прицепа

- A l l : BS управление тормозной системой
- Х12: 7-полюсная розетка ABS прицепа
- U165: ANH блок управления прицепом
- Х5.1: Штекерное соединение 'Плата штекеров - Кабина водителя - шасси1
- Х2: Штекерное соединение на блоке управления BS управление тормозной системой
- CAN11: Шина CAN прицепа
- HIGH: Прицеп Шина CAN High
- LOW: Прицеп Шина CAN Low
Y16: Электромагнитный клапан ABS на переднем мосту слева

-АН : Блок управления BS управление тормозной системой
- Х3.1: Штекерное соединение 'Плата штекеров - Кабина водителя - шасси1
- Y16: Электромагнитный клапан ABS на переднем мосту слева
- Y17: Электромагнитный клапан ABS на переднем мосту справа
- ХЗ: Штекерное соединение на блоке управления BS управление тормозной системой
- Х4: Штекерное соединение на блоке управления BS управление тормозной системой
- AV: Выпускной клапан
- EV: Впускной клапан
Y17: Электромагнитный клапан ABS на переднем мосту справа

- АН : Блок управления BS управление тормозной системой
- ХЗ: Штекерное соединение на блоке управления BS управление тормозной системой
- Х3.1: Штекерное соединение 'Плата штекеров - Кабина водителя - шасси1
- Y17: Электромагнитный клапан ABS на переднем мосту справа
- AV: Выпускной клапан
- EV: Впускной клапан
Y16^Y17: Электромагнитные клапаны ABS на переднем мосту

- АН : Блок управления BS управление тормозной системой
- Х3.1: Штекерное соединение 'Плата штекеров - Кабина водителя - шасси1
- Y16: Электромагнитный клапан ABS на переднем мосту слева
- Y17: Электромагнитный клапан ABS на переднем мосту справа
- ХЗ: Штекерное соединение на блоке управления BS управление тормозной системой
- Х4: Штекерное соединение на блоке управления BS управление тормозной системой
- AV: Выпускной клапан
- EV: Впускной клапан
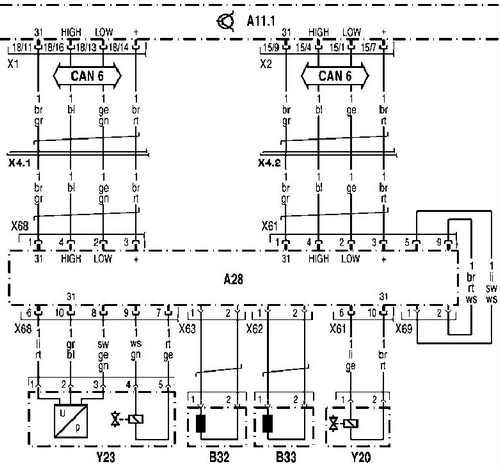
Y20: Электромагнитный клапан 'ASR'

- А11.1: Блок управления BS управление тормозной системой
- Модулятор тормозного усилия А28:
- Y23: Электропневматический клапан управления прицепом
- Y20: Электромагнитный клапан 'ASR'
- В32: Датчик числа оборотов на заднем мосту слева
- ВЗЗ: Датчик числа оборотов на заднем мосту справа
- CAN6: Шина CAN тормозной системы
- Х4.1 / Х4.2: Штекерное соединение 'Плата штекеров - Кабина водителя - шасси'
- X I / Х2: Штекерное соединение на блоке управления BS управление тормозной системой
- Х69: Штекерное соединение на конструктивном узле
Дублирующий клапан 'Задний мост'
Указание:
- Дублирующий клапан 'Задний мост' установлен на модуляторе тормозного усилия.
- Дублирующий клапан 'Задний мост' не допускается снимать с модулятора тормозного усилия.
Y21: Пропорциональный ускорительный клапан переднего моста

- А11.1: Блок управления BS управление тормозной системой
- Y21: Пропорциональный ускорительный клапан переднего моста
- Х3.2: Штекерное соединение 'Плата штекеров - Кабина водителя - шасси'
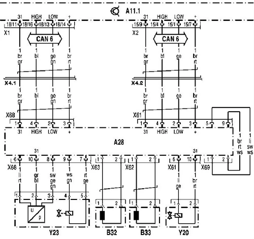
Y23: Электропневматический клапан управления прицепом

- А11.1: Блок управления BS управление тормозной системой
- Модулятор тормозного усилия А28:
- Y23: Электропневматический клапан управления прицепом
- Y20: Электромагнитный клапан 'ASR'
- В32: Датчик числа оборотов на заднем мосту слева
- ВЗЗ: Датчик числа оборотов на заднем мосту справа
- CAN6: Шина CAN тормозной системы
- Х4.1 / Х4.2: Штекерное соединение 'Плата штекеров - Кабина водителя - шасси'
- X I / Х2: Штекерное соединение на блоке управления BS управление тормозной системой
- Х69: Штекерное соединение на конструктивном узле
Дублирующий клапан 'Задний мост'
Указание:
- Дублирующий клапан 'Задний мост' установлен на модуляторе тормозного усилия.
- Дублирующий клапан 'Задний мост' не допускается снимать с модулятора тормозного усилия.
Y95: Дублирующий клапан 'Передний мост'

- А11.1: Блок управления BS управление тормозной системой
- Y95: Дублирующий клапан 'Передний мост'
- Х3.2: Штекерное соединение 'Плата штекеров - Кабина водителя - шасси'
Y96: Дублирующий клапан 'Задний мост'

- А11.1: Блок управления BS управление тормозной системой
- Модулятор тормозного усилия А28:
- Y23: Электропневматический клапан управления прицепом
- Y20: Электромагнитный клапан 'ASR'
- В32: Датчик числа оборотов на заднем мосту слева
- ВЗЗ: Датчик числа оборотов на заднем мосту справа
- CAN6: Шина CAN тормозной системы
- Х4.1 / Х4.2: Штекерное соединение 'Плата штекеров - Кабина водителя - шасси'
- X I / Х2: Штекерное соединение на блоке управления BS управление тормозной системой
- Х69: Штекерное соединение на конструктивном узле
Дублирующий клапан 'Задний мост'
Указание::
- Дублирующий клапан 'Задний мост' установлен на модуляторе тормозного усилия.
- Дублирующий клапан 'Задний мост' не допускается снимать с модулятора тормозного усилия.