Система управления двигателем MR MB AXOR II
ЭЛЕКТРОСХЕМЫ
Предохранитель F41

- А95: Модуль SCR на раме (Евро 4 или Евро 5)
- F41 Предохранитель Клемма 30
- Х4/3: Штекерное соединение 'Кабина водителя-шасси'
- XR.5.1: Место спайки проводов 'кл. 31'
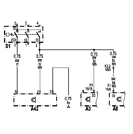
Фрагмент электросхемы WSP иммобилайзер

- АЗ: Блок управления FR система управления движением
- Аб: Блок управления MR система управления двигателем
- А42: WSP иммобилайзер
- S1: Замок зажигания
- Х2.2: Штекерные соединения платы штекеров кабина водителя - шасси
Датчик NOx

- А95: Модуль SCR на раме
- А113: Датчик NOx
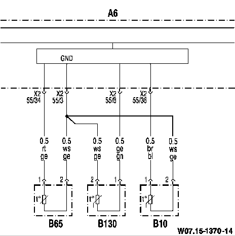
Датчик температуры топлива

- Аб: Блок управления MR система управления двигателем
- Х2: Штекерное соединение (55-контактное)
- В10: Датчик температуры топлива
Заданные значения и параметры :
- Заданное сопротивление прим. при 25 °С: 1975 - 2155 Ом
- Заданное сопротивление прим. при 60 °С: 575 - 613 Ом
- Заданное сопротивление прим. при 90 °С: 239 - 249 Ом
- Заданное сопротивление прим. при 120 °С: 111 - 117 Ом
Датчик температуры масла

- Аб: Блок управления MR система управления двигателем
- В11: Датчик температуры масла
- В12: Датчик давления масла
- В14: Датчик уровня масла
- S166: Датчик давления масла
- 100: На выбор в зависимости от исполнения
Заданные значения и параметры :
- Заданное сопротивление прим. при 25 °С: 1975 - 2155 Ом
- Заданное сопротивление прим. при 60 °С: 575 - 613 Ом
- Заданное сопротивление прим. при 90 °С: 239 - 249 Ом
- Заданное сопротивление прим. при 120 °С: 111 - 117 Ом
Датчик давления масла

- Аб: Блок управления MR система управления двигателем
- В11: Датчик температуры масла
- В12: Датчик давления масла
- В14: Датчик уровня масла
- S166: Датчик давления масла
- 100: На выбор в зависимости от исполнения
Заданные значения и параметры :
- Напряжение питания : 5 V
- Напряжение датчиков : 0,5 V - 4,5 V
- Заданное значение при 0,5 бар: 0,5 В
- Заданное значение при б бар: 4,5 В
Датчик уровня масла

- Аб: Блок управления MR система управления двигателем
- В11: Датчик температуры масла
- В12: Датчик давления масла
- В14: Датчик уровня масла
- S166: Датчик давления масла
- 100: На выбор в зависимости от исполнения
Фрагмент электросхемы датчика положения

- Аб: Блок управления MR система управления двигателем
- Х2: Штекерное соединение (55-контактное)
- В15: Датчик положения коленвала
- В16: Датчик положения распредвала
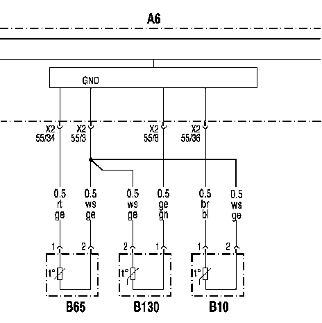
Датчик температуры охлаждающей жидкости

- Аб: Блок управления MR система управления двигателем
- Х2: Штекерное соединение (55-контактное)
- В65: Датчик температуры охлаждающей жидкости
Заданные значения и параметры :
- Заданное сопротивление прим. при 25 °С: 1975 - 2155 Ом
- Заданное сопротивление прим. при 60 °С: 575 - 613 Ом
- Заданное сопротивление прим. при 90 °С: 239 - 249 Ом
- Заданное сопротивление прим. при 120 °С: 111 - 117 Ом
Комбинированный датчик 'Давление и температура нагнетаемого воздуха'

- Аб: Блок управления MR система управления двигателем
- Х2: Штекерное соединение (55-контактное)
- B i l l : Комбинированный датчик 'Давление и температура нагнетаемого воздуха'
Датчики температуры на катализаторе

- А95: Модуль SCR на раме (Евро 4 или Евро 5)
- В115: Датчик температуры перед катализатором
- В116: Датчик температуры после катализатора
Датчик 'Уровень/температура бака AdBlue'

- А95: Модуль SCR на раме (Евро 4 или Евро 5)
- В117: Датчик 'Уровень/температура бака AdBlue'
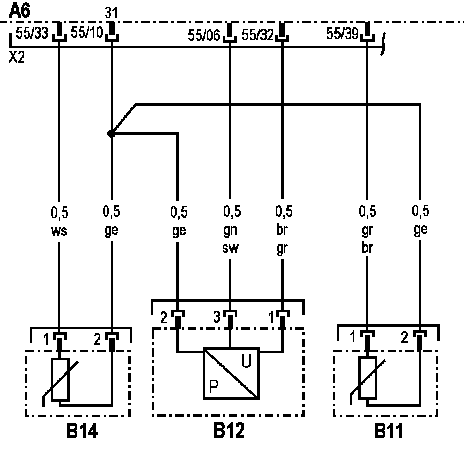
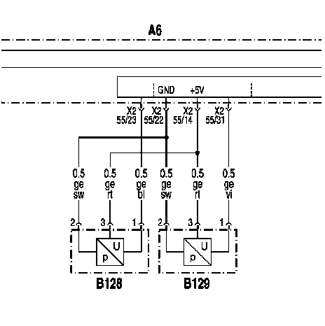
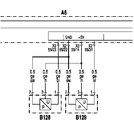
Датчик давления AdBlue / Датчик сжатого воздуха SCR

- Аб: Блок управления MR система управления двигателем
- В128: Датчик сжатого воздуха SCR
- В129: Датчик давления AdBlue
Датчик 'Влажность воздуха/температура воздуха1

- А95: Модуль SCR на раме (Евро 4 или Евро 5)
- В132: Датчик 'Влажность воздуха/температура воздуха'
Датчик температуры AdBlue

- Аб: Блок управления MR система управления двигателем
- В10: Датчик температуры топлива
- В65: Датчик температуры охлаждающей жидкости
- В130: Датчик температуры AdBlue
Фрагмент электросхемы электропитания блока управления MR система управления двигателем

- Аб: Блок управления MR система управления двигателем
- F18: Предохранитель Клемма 15 - Система управления двигателем
- G6: Генератор
- XI: Штекерное соединение 16-контактное
Стартер с реле стартера

- АЗ: Блок управления FR система управления движением
- Аб: Блок управления MR система управления двигателем
- F18: Предохранитель Клемма 15 - Система управления двигателем
- G6: Генератор
- Ml : Стартер с реле стартера
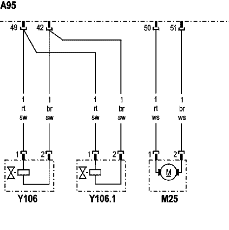
Насос AdBlue

- А95: Модуль SCR на раме (Евро 4 или Евро 5)
- М25: Насос AdBlue
- Y106: Электромагнитный клапан 'Ограничение сжатого воздуха'
- Y106.1: Электромагнитный клапан 'Ограничение сжатого воздуха'
Кнопка пуска и остановки двигателя

- Аб: Блок управления MR система управления двигателем
- N3: Штекерное соединение (55-контактное)
- S16: Кнопка пуска двигателя
- S17: Кнопка остановки двигателя
Переключающий клапан сжатого воздуха SCR

- А95: Модуль SCR на раме (Евро 4 или Евро 5)
- М25: Насос AdBlue
- Y106: Переключающий клапан сжатого воздуха SCR
- Y106.1: Электромагнитный клапан 'Ограничение сжатого воздуха'
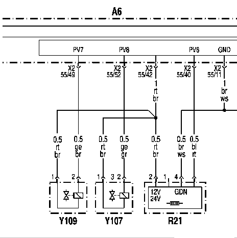
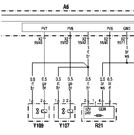
Дозирующий клапан AdBlue

- Аб: Блок управления MR система управления двигателем
- Y107: Электромагнитный клапан 'Подогрев бака AdBlue'
- Y109: Дозирующий клапан AdBlue
- R21: Нагревательный фланец Нагнетаемый воздух
Блокирующий клапан сжатого воздуха SCR

- А95: Модуль SCR на раме (Евро 4 или Евро 5)
- Y128: Блокирующий клапан сжатого воздуха SCR
Указание:
- Только на а/м GGVS
ТНВД цилиндров 1 ряда

- Аб: Блок управления MR система управления двигателем
- ВК1: Ряд 1
- К10...К15: Винтовые клеммы электромагнитных клапанов ТНВД цилиндров
- N3: Штекерное соединение (55-контактное)
- Y6...Y8: Электромагнитные клапаны ТНВД цилиндров 1...3 (на двигателе R6)
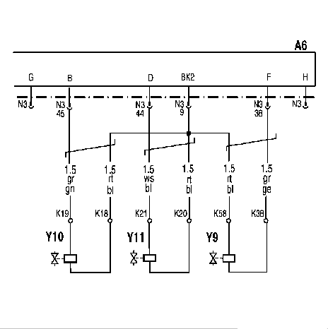
ТНВД цилиндров 2 ряда

- Аб: Блок управления MR система управления двигателем
- ВК2: Ряд 2
- К18...К58: Винтовые клеммы электромагнитных клапанов ТНВД цилиндров
- N3: Штекерное соединение (55-контактное)
- Y9...Y11: Электромагнитные клапаны ТНВД цилиндров 4...6 (на двигателе R6)
Шина данных CAN двигателя

- АЗ: Блок управления FR система управления движением
- Аб: Блок управления MR система управления двигателем
- XI: Штекерное соединение (16-контактное)
- Х2.2: Штекерное соединение (18-контактное)
- Х4: Штекерное соединение (18-контактное)
Указание:
- Место установки штекерного соединения Х2.2 на плате штекеров 'Кабина водителя - шасси'
CAN A95 - Аб

- Аб: Блок управления MR система управления двигателем
- А95: Модуль SCR на раме (Евро 4 или Евро 5)
- Х1/4: Штекерное соединение 'Кабина водителя-шасси'
- Х4/3: Штекерное соединение 'Кабина водителя-шасси'
- Z3: Точка звезды CAN
Электропитание блока управления FR система управления движением

- АЗ: Блок управления FR система управления движением
- А7: Блок управления Базовый модуль GM
- F28-A7: Предохранитель Клемма 15 - FR система управления движением
- K4: Реле 'Клемма 15'
euro 4 - 5
Предохранитель F41

- А95: Модуль SCR на раме (Евро 4 или Евро 5)
- F41 Предохранитель Клемма 30
- Х4/3: Штекерное соединение 'Кабина водителя-шасси'
- XR.5.1: Место спайки проводов 'кл. 31'
Датчик NOx

- А95: Модуль SCR на раме
- А113: Датчик NOx
Датчики температуры на катализаторе

- А95: Модуль SCR на раме (Евро 4 или Евро 5)
- В115: Датчик температуры перед катализатором
- В116: Датчик температуры после катализатора
Датчик 'Уровень/температура бака AdBlue'

- А95: Модуль SCR на раме (Евро 4 или Евро 5)
- В117: Датчик 'Уровень/температура бака AdBlue'
Датчик давления AdBlue / Датчик сжатого воздуха SCR

- А6: Блок управления MR система управления двигателем
- В128: Датчик сжатого воздуха SCR
- В129: Датчик давления AdBlue
Датчик 'Влажность воздуха/температура воздуха1

- А95: Модуль SCR на раме (Евро 4 или Евро 5)
- В132: Датчик 'Влажность воздуха/температура воздуха'
Датчик температуры AdBlue

- Аб: Блок управления MR система управления двигателем
- В10: Датчик температуры топлива
- В65: Датчик температуры охлаждающей жидкости
- В130: Датчик температуры AdBlue
Стартер с реле стартера

- АЗ: Блок управления FR система управления движением
- Аб: Блок управления MR система управления двигателем
- F18: Предохранитель Клемма 15 - Система управления двигателем
- G6: Генератор
- Ml : Стартер с реле стартера
Насос AdBlue

- А95: Модуль SCR на раме (Евро 4 или Евро 5)
- М25: Насос AdBlue
- Y106: Электромагнитный клапан 'Ограничение сжатого воздуха'
- Y106.1: Электромагнитный клапан 'Ограничение сжатого воздуха'
Подогрев диффузора

- Аб: Блок управления MR система управления двигателем
- R28: Подогрев диффузора
- Х2: Штекерное соединение 55-контактное
Заданные значения и параметры:
- Диапазон заданного значения: 35 Ом - 65 Ом при 25 °С
Переключающий клапан сжатого воздуха SCR

- А95: Модуль SCR на раме (Евро 4 или Евро 5)
- М25: Насос AdBlue
- Y106: Переключающий клапан сжатого воздуха SCR
- Y106.1: Электромагнитный клапан 'Ограничение сжатого воздуха'
Электромагнитный клапан 'Подогрев бака AdBlue'

- Аб: Блок управления MR система управления двигателем
- Y107: Электромагнитный клапан 'Подогрев бака AdBlue'
- Y109: Дозирующий клапан AdBlue
- R21: Нагревательный фланец Нагнетаемый воздух
Дозирующий клапан AdBlue

- Аб: Блок управления MR система управления двигателем
- Y107: Электромагнитный клапан 'Подогрев бака AdBlue'
- Y109: Дозирующий клапан AdBlue
- R21: Нагревательный фланец Нагнетаемый воздух
Блокирующий клапан сжатого воздуха SCR

- А95: Модуль SCR на раме (Евро 4 или Евро 5)
- Y128: Блокирующий клапан сжатого воздуха SCR
Указание:
- Только на а/м GGVS
Шина данных CAN двигателя

- АЗ: Блок управления FR система управления движением
- Аб: Блок управления MR система управления двигателем
- XI: Штекерное соединение (16-контактное)
- Х2.2: Штекерное соединение (18-контактное)
- Х4: Штекерное соединение (18-контактное)
Указание:
- Место установки штекерного соединения Х2.2 на плате штекеров 'Кабина водителя - шасси'
CAN A95 - A6

- Аб: Блок управления MR система управления двигателем
- А95: Модуль SCR на раме (Евро 4 или Евро 5)
- Х1/4: Штекерное соединение 'Кабина водителя-шасси'
- Х4/3: Штекерное соединение 'Кабина водителя-шасси'
- Z3: Точка звезды CAN
СОЕДИНЕНИЯ
XI / X2: Штекер на блоке управления MR

Назначение штекерных соединений Х2 (слева) и XI (справа) на блоке управления MR система управления двигателем
a) Штекерное соединение Х2
(55-контактное):
- 0: Электростатический маслоотделитель (Диагностический провод)
- 1: Датчик положения распредвала (-)
- 2: Датчик положения коленвала (-)
- 3: Обратная связь датчика температуры охлаждающей жидкости
- 4: Обратная связь датчика температуры топлива
- 5: Датчик числа оборотов турбонагнетателя (-)
- 6: Датчик давления масла (активный датчик) - Питание 5 В
- 7: Комбинированный датчик 'Давление и температура нагнетаемого воздуха': питание - 5 V
- 8: Не используется
- 9: Обратная связь ТНВД цилиндров 2 ряда
- 10: Датчик давления масла (активный датчик) - Провод массы
- 11: Электростатический маслоотделитель (Провод массы)
- 12: Обратная связь пропорциональных клапанов 1, 3 и 4
- 13: Не используется
- 14: Не используется
- 15: Обратная связь датчика температуры масла
- 16: Обратная связь ТНВД цилиндров 1 ряда
- 17: Не используется
- 18: Управление стартером 'Клемма 50'
- 19: Датчик положения коленвала (+)
- 20: Датчик положения распредвала (+)
- 21: Не используется
- 22: Не используется
- 23: Комбинированный датчик 'Давление и температура нагнетаемого воздуха': обратная связь
- 24: Датчик числа оборотов турбонагнетателя (+)
- 25: Вход кнопки пуска двигателя
- 26: Не используется
- 27: Электростатический маслоотделитель (Провод питания 24 V)
- 28: Не используется
- 29: Комбинированный датчик 'Давление и температура нагнетаемого воздуха': сигнал давления
- 30: Питание кнопки пуска и остановки двигателя
- 31: Не используется
- 32: Датчик давления масла (активный датчик) - Сигнальный провод
- 33: Сигнал датчика уровня масла
- 34: Сигнал датчика температуры охлаждающей жидкости
- 35: Вход кнопки остановки двигателя
- 36: Сигнал датчика температуры топлива
- 37: Не используется
- 38: Активация ТНВД цилиндра 6
- 39: Сигнал датчика температуры масла
- 40: Не используется
- 41: Пропорциональный клапан 3
- 42: Не используется
- 43: Пропорциональный клапан 4
- 44: Активация ТНВД цилиндра 5
- 45: Активация ТНВД цилиндра 4
- 46: Не используется
- 47: Активация ТНВД цилиндра 3
- 48: Комбинированный датчик 'Давление и температура нагнетаемого воздуха': сигнал температуры
- 49: Обратная связь датчика уровня масла
- 50: Пропорциональный клапан 2
- 51: Пропорциональный клапан 1
- 52: Обратная связь пропорционального клапана 2
- 53: Активация ТНВД цилиндра 2
- 54: Активация ТНВД цилиндра 1
b) Штекерное соединение XI
(16-контактное):
- 1: CAN-H
- 2: CAN-L
- 3: CAN-GND (масса)
- 4: CAN-GND (масса)
- 5: Клемма 30
- 6: Клемма 30
- 7: Не используется
- 8: Клемма 50 (вход)
- 9: Клемма 31 (масса)
- 10: Не используется
- 11: Клемма 31 (масса)
- 12: Управление стартером 'Клемма 50'
- 13: Диагностический разъем ISO (провод активации контроля
АЗ / Х4: Штекер на блоке управления FR

- 1: Шина CAN Low
- 2: Шина данных CAN j_
- 3: Шина CAN High
- 4: Подводящий провод датчика входного числа оборотов КП (отсутствует в случае наличия EPS)
- 5: Провод обратной связи датчика входного числа оборотов КП (отсутствует в случае наличия EPS)
- 6: Провод электропитания датчика температуры наружного воздуха
- 7: Провод обратной связи по массе электромагнитного клапана 'Делитель 1' и 'Делитель 2' (отсутствует в случае наличия EPS)
- 8: Выход электромагнитного клапана 'Делитель 1' (отсутствует в случае наличия EPS)
- 9: Провод обратной связи датчика температуры наружного воздуха
- 10: Выход электромагнитного клапана 'Делитель 2' (отсутствует в случае наличия EPS)
- 11: Сигнал числа оборотов коленвала двигателя с клеммы W
-12: Электропитание переключателя КП (отсутствует в случае наличия EPS)
-13: Предварительное возбуждение 'D+' к генератору
-14: Провод электропитания датчика положения сцепления (отсутствует в случае наличия EPS)
- 15: Провод обратной связи датчика положения сцепления (отсутствует в случае наличия EPS)
-16: Вход датчика нейтрального положения (отсутствует в случае наличия EPS)
Штекерное соединение XI 62-контактное

- Все неуказанные контакты не заняты.
- 5: CAN-GND (масса)
- 9: CAN-GND (масса)
- И: CAN-High
- 16: CAN-Low
- 17: Провод датчика Датчик температуры перед катализатором
- 18: Провод массы Датчик температуры перед катализатором
- 21: Провод массы Датчик 'Уровень/температура бака AdBlue'
- 22: Провод датчика Датчик 'Уровень/температура бака AdBlue'
- 25: Провод датчика Датчик температуры после катализатора
- 26: Провод массы Датчик температуры после катализатора
- 29: Провод массы Датчик 'Уровень/температура бака AdBlue'
- 30: Провод датчика Датчик 'Уровень/температура бака AdBlue'
- 32: Напряжение питания Датчик 'Влажность воздуха/температура воздуха'
- 34: Провод датчика Датчик 'Влажность воздуха/температура воздуха'
- 37: Провод датчика Датчик 'Влажность воздуха/температура воздуха'
- 38: Провод массы Датчик 'Влажность воздуха/температура воздуха'
- 42: Электромагнитный клапан 'Ограничение сжатого воздуха'
- 44: Напряжение питания 'Кл. 15' от базового модуля
- 49: Напряжение питания Электромагнитный клапан 'Ограничение сжатого воздуха'
Взаимодействие иммобилайзера, блока управления движением и двигателем

- 3: Провод 'кл. 50'
- 5: Замок зажигания
- 7: Шина данных CAN двигателя
- 8: Стартер
- 9: ТНВД цилиндров
- 10: Считывающий блок иммобилайзера
- FR: Блок управления FR система управления движением
- MR: Блок управления MR система управления двигателем
Полное описание с местами установки всех компонентов - доступно в