Компоненты электрофакельного подогревателя воздуха
FLA Mercedes Actros
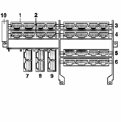
Место установки блоков управления FLA электрофакельный
подогреватель воздуха и FR система управления движением

- 1: Блок управления FR система управления движением (FMR)
- 2: Блок управления BS блок управления тормозной системой (ЕРВ)
- 3: Блок управления PSM параметрируемый спецмодуль
- 4: Место блока управления в настоящее время не занято.
- 5: Блок управления EHZ электронно-гидравлический дополнительный рулевой привод
- б: Блок управления RS система управления тормозом-замедлителем - 'ретардером' (RET) или WSK сцепление с гидротрансформатором
- 7: Блок управления HPS система гидропневматического переключения передач
- 8: Блок управления FLA электрофакельный подогреватель воздуха
- 9: Блок управления RDK система контроля давления в шинах
- 10: Точка звезды CAN Z2
Блок управления MR система управления двигателем

- Аб: Блок управления MR система управления двигателем
Базовый модуль

- А7: Базовый модуль
Факельная свеча накаливания R3

- R3: Факельная свеча накаливания
Плата штекеров кабина водителя - шасси

- 1: Плата штекеров кабина водителя - шасси
- А7: Базовый модуль
Электромагнитный клапан Y5

- Y5: Электромагнитный клапан электрофакельного подогревателя воздуха