Описание топливной системы VOLVO FE3 / FL3 (EU6)
Топливная система, обзор


A Форсунка
B Корпус главного топливного фильтра
C Топливный аккумулятор
D Первичный топливный фильтр
E Змеевик охлаждения
F Насос высокого давления
(A) В каждой топливной форсунке имеется электромагнитный клапан.
(B) Главный фильтр располагается между подающим насосом и насосом высокого давления.
(C) На топливном аккумуляторе имеется четыре соединителя для топливопроводов высокого давления.
(D) Первичный фильтр с водоотделителем расположен перед подающим насосом. На нем имеется ручной насос для прокачки системы при необходимости.
(E) Змеевик охлаждения сверху на двигателе охлаждает систему управления двигателем EMS (Система управления двигателем) топливом со стороны всасывания подающего насоса.
(F) Подающий насос встроен в насос высокого давления и приводится в действие тем же валом.
Система подачи топлива, принцип работы
Принцип работы топливной системы

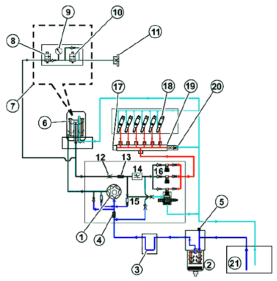
1 Подающий насос
2 Первичный фильтр
3 Змеевик охлаждения
4 Фильтр
5 Ручной насос
6 Главный фильтр
7 Модуль AHI (Дополнительная обработка углеводородной форсунки)
8 Отсечной клапан топлива
9 Датчик давления
10 Клапан-дозатор топлива
11 Форсунка AHI
12 Ограничитель
13 Фильтр
14 Клапан управления
15 Регулирующий клапан
16 Впускные клапаны
17 Датчик давления
18 Топливные форсунки
19 Топливный аккумулятор
20 Клапан сброса давления
21 Топливный бак
Топливо всасывается подающим насосом (1) через сетчатый фильтр в узле бака, проходит вверх через первичный фильтр (2) и водоотделитель. Затем топливо проходит через змеевик охлаждения (3), охлаждающий систему управления двигателем EMS, и вверх через фильтр (4).
Подающий насос непрерывно прокачивает топливо через главный фильтр (6), очищающий топливо и направляющий его в двух направлениях. Часть топлива проходит на клапанный блок (7), установленный в главный фильтр с отсечным клапаном и клапаном-дозатором топлива (8), через обратный клапан (9) на датчик давления (10), а затем наружу, на форсунку (AHI)(11).
Другая часть топлива проходит через ограничитель (12) и сетчатый фильтр (13).
Регулирующий клапан (14) регулирует количество подаваемого топлива. Излишки топлива стекают обратно в подающий насос через регулирующий клапан (15), а топливо для сгорания проходит через впускные клапаны (16), которые пропускают топливо на поршни топливного насоса высокого давления.
В насосе имеется канал, по которому протекает топливо для смазки кулачкового вала насоса.
Поршни в насосе высокого давления нагнетают топливо под высоким давлением в топливный
аккумулятор (17) и форсунки (18). При превышении давления топливо выходит из топливного
аккумулятора через клапан сброса давления (19) и возвращается по возвратному топливопроводу. Излишки топлива проходят по возвратной линии обратно на первичный фильтр и в топливный бак (21).
На первичном фильтре имеется ручной насос для прокачки топлива (при выключенном двигателе), если топливная система была опорожнена.
Внимание! Запрещается использовать ручной насос при работающем двигателе!
Топливная система, компоненты

1 Форсунка
2 Главный топливный фильтр
3 Ручной насос
4 Топливный аккумулятор
5 Датчик давления и температуры
6 Насос высокого давления
7 Подающий насос
8 Змеевик охлаждения
9 Датчик давления
10 Топливная форсунка (AFI (Топливная форсунка системы доочистки выхлопных газов)
11 Возвратный топливопровод
12 Топливопровод на форсунку (AFI)
13 Первичный топливный фильтр и водоотделитель (установленный на шасси)
Топливная система управляется электронной системой по сигналам EMS. Впрыск топлива осуществляется под высоким давлением топливными форсунками, расположенными по одной на каждом цилиндре. Высокое давление создается механическим топливным насосом высокого давления. Фазы впрыска и количество впрыскиваемого топлива регулируются системой управления двигателем EMS, на который поступают сигналы от ряда датчиков. На иллюстрации показаны основные компоненты системы топливного аккумулятора.
Фильтры
Основной фильтр с водным сепаратором расположен на ходовой части. Блок также оснащен ручным насосом. В нижней части водного сепаратора расположен клапан слива воды.
Опциональный электрический элемент обогрева устанавливается на корпус первичного топливного фильтра для рынков сбыта с холодными зимами.
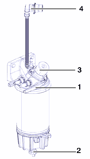
Предварительный фильтр с водным сепаратором

1 Корпус топливного фильтра
2 Сливной клапан
3 Ручной насос
4 Разъем электрического обогревателя (опция)
Корпус топливного фильтра

1 Фильтр
2 Корпус топливного фильтра
3 ВХОД ТОПЛИВА с насоса подачи
4 ВЫХОД ТОПЛИВА на бак
5 ВЫХОД ТОПЛИВА на насос высокого давления
Имеется фильтр (1) в корпусе топливного фильтра (2). Три быстроразъемных соединения расположены на боковой стороне корпуса, ВХОД ТОПЛИВА со стороны насоса подачи (3), ВЫХОД ТОПЛИВА на бак (4), ВЫХОД ТОПЛИВА на насос высокого давления (5).
Топливный насос высокого давления
Асимметричный шестеренчатый насос подает топливо на насос высокого давления. Это означает, что топливо нагнетается кулачковым валом насоса высокого давления. При таком приводе топливо подается только после пуска двигателя. Скорость вращения определяет количество топлива. Клапан управления всасыванием регулирует расход топлива на насос высокого давления.
В блоке топливного насоса высокого давления, приводимом механической передачей, имеется
три отдельных поршневых насоса, создающих давление в системе и накачивающих топливо.

Обзор насоса

1 Клапан управления всасыванием
2 Насосы высокого давления
3 Впуск топлива из змеевика охлаждения блока управления двигателем
4 Впуск топлива — с главного фильтра
5 Выпуск топлива — на главный фильтр
6 Подающий топливный насос
7 Выпуск топлива на топливный аккумулятор
8 Выпуск топлива в возвратную линию
Форсунка
Топливные форсунки представляют собой загерметизированные узлы, не подлежащие ремонту. Запасные части для них не поставляются. Они располагаются вертикально по центру каждого цилиндра, между четырьмя клапанами, и каждая удерживается на месте скобой.
Форсунки состоят из трех основных частей:

1 Деталь управления с электромагнитным клапаном
2 Корпус форсунки
3 Форсунка
Процесс впрыска состоит из трех этапов: начальный впрыск, основной впрыск и завершающий впрыск. Все этапы впрыска осуществляются одинаково.
Когда блок управления двигателем подает напряжение на электромагнитный клапан, ограничителем открывается управляющая камера возврата топлива. Давление в камере падает, игла жиклера поднимается, и начинается впрыск.
Так как ограничитель для выходного давления имеет больший диаметр, чем для входного давления, топливо в управляющей камере подвергается разрежению, даже если камера постоянно соединена со стороной высокого давления через ограничитель.
Когда напряжение на электромагнитном клапане падает до нуля, управляющий клапан возвращается на свое седло. Затем управляющая камера снова заполняется через ограничитель. Давление в управляющей камере воздействует на верхнюю часть иглы жиклера через управляющий поршень, и таким образом игла жиклера удерживается в закрытом положении. Возвратная игла жиклера также помогает удерживать иглу в закрытом положении.
Объем впрыска определяется давлением в нагнетательной трубке форсунки, расходом топлива через иглу жиклера и длиной импульса, что устанавливается сигналами от блока управления двигателем.
Процесс впрыска в целом контролируется системой управления двигателем EMS.
При замене одной или нескольких форсунок в блоке управления двигателем необходимо
запрограммировать новые коды поправок форсунок, так как каждая форсунка уникальная, и двигатель настраивается на оптимальный впрыск топлива с минимальными возможными выбросами. Эти коды поправки программируются с помощью функции программирования VCADS Pro. Такое программирование требуется только при замене форсунок.
Комплектующие детали форсунки

1 Уплотнительное кольцо
2 Медная шайба
3 Код настройки
Форсунки уплотняются относительно головки цилиндров уплотнительными кольцами (1), расположенными в углублении для форсунки в форме кольца. Нижняя часть форсунки
уплотняется медной шайбой (2). Код поправки (3) указывается на верхней части форсунки.
Топливный аккумулятор

1 Топливный аккумулятор
2 Датчик давления и температуры
3 Клапан сброса давления
В топливном аккумуляторе накапливается топливо под давлением для насос-форсунок.
Топливный аккумулятор оснащен клапаном сброса давления и комбинированным датчиком
температуры и давления.
Датчик давления и температуры
Датчик давления и температуры отслеживает колебания температуры и давления в топливном
аккумуляторе. Сигналы от обоих датчиков передаются в электронный блок управления двигателем.
Клапан сброса давления
Клапан сброса давления управляется системой EMS и служит для регулирования возврата топлива обратно в бак для поддержания давления, установленного в топливном аккумуляторе системой управления двигателем (EMS).