Техническое описание MS5 SCANIA
Общие сведения
В этой инструкции содержится описание работы электронного блока управления EDC типа MS5. EDC это сокращение для обозначения "электронное управление дизельным двигателем" или "электронный
блок управления дизелем".
EDC типа MS5 это электронная система, управляющая количеством впрыскиваемого топлива и его углом опережения впрыскивания. Блок управления ЕDC MS5 устанавливается на транспортные средства
вместе с ТНВД.
Цикловая подача и момент впрыскивания топлива
EDC типа MS5 определяет количество впрыскиваемого в цилиндры двигателя топлива, т.е. цикловую подачу топлива. В некоторых случаях EDC MS5 также определяет необходимый момент (угол)
опережения впрыскивания топлива. При подобном управлении впрыскиванием топлива возможна оптимизация процесса сгорания, которая, в свою очередь, приводит к снижению токсичности отработавших газов и улучшению топливной экономичности.
Блок управления выполняет функцию мозга системы EDC. Блок управления обрабатывает информацию, получаемую от датчиков и элементов системы EDC, а также от блоков управления других систем.
Обратитесь к рисунку.
По мере обработки информации, блок управления посылает соответствующий сигнал в электронноуправляемый регулятор ТНВД. Эти сигналы управляют топливоподачей в цилиндры двигателя.
Система управления EDC позволяет реализовать такие дополнительные функции, как стабилизация скорости автомобиля (круиз-контроль), установка оборотов двигателя вручную, ограничение
скорости автомобиля, ограничение дымления, а также специальную программу холодного запуска двигателя.

1 Топливный бак
2 Топливоподкачивающий насос
3 Топливный фильтр
4 Топливный клапан
5 Топливный насос высокого давления (ТНВД)
6 Перепускной клапан
7 Регулятор
8 Нагнетательный клапан
9 Форсунка
10 Основной датчик оборотов двигателя
11 Дополнительный датчик оборотов двигателя
12 Датчик положения педали акселератора
13 Датчик температуры охлаждающей жидкости
14 Датчик давления наддува
15 Датчик температуры воздуха во впускном коллекторе
16 Конечные выключатели педали тормоза
17 Конечный выключатель педали сцепления
18 Управление системой круиз-контроля
19 Тахограф (спидометр)
20 Лампа-индикатор
21 Диагностический выключатель
22 Блок управления
23 Замок стартера
24 Аккумуляторная батарея
Система EDC и ее связь с датчиками и исполнительными устройствами системы топливоподачи
Блок управленя EDC является мозгом системы EDC. Ниже можно видеть как элементы блока управления связаны между собой, а также направление потока информации.

1 Реле питания
2 Датчик положения педали акселератора
3 Конечные выключатели педали тормоза
4 Конечный выключатель педали сцепления
5 Управление системой круиз-контроля
6 Тахограф (спидометр)
7 Сигнализатор неисправности системы EDC (грузовые автомобили)
8 Сигнализатор неисправности системы EDC (автобусы)
9 Диагностический выключатель с индикатором
10 Диагностический разъем для компьютера (PC)
11 Датчик температуры охлаждающей жидкости
12 Датчик температуры воздуха во впускном коллекторе
13 Датчик давления наддува
14 Два датчика частоты вращения коленчатого вала двигателя
15 Датчик перемещения иглы распылителя форсунки
16 Топливный клапан
17 Регулятор
18 Системы АBS/TC, EBS
19 Гидравлический замедлитель
20 Система управления шарнирно-сочлененной конструкцией транспортного средства (автобуса,
автопоезда)
21 Моторный замедлитель (горный тормоз)
22 Автоматическая коробка передач
23 Система автоматического переключения механической коробки передач
Элементы системы управления EDC, расположенные на двигателе
Расположение элементов на 9- литровом двигателе

1 Монтажный блок, соединяющий блок управления EDC с элементами системы EDC, расположенными на двигателе
2 Датчик перемещения иглы распылителя форсунки
3 Датчик давления наддува и температуры воздуха во впускном коллекторе
4 Датчик температуры охлаждающей жидкости
5 Дополнительный датчик оборотов двигателя (5a на автобусной модификации двигателя)
6 Основной датчик оборотов двигателя (6a на автобусной модификации двигателя)
7 Регулятор (датчик положения рейки ТНВД и установочные соленоиды: дозирующий цикловую подачу топлива и управляющий моментом (углом) опережения впрыскивания топлива)
8 Топливный клапан
9 ТНВД
Расположение элементов на 12- литровом двигателе

1 Монтажный блок, соединяющий блок управления EDC с элементами системы EDC, установленными на двигателе
2 Датчик давления наддува и температуры наддувочного воздуха (могут быть установлены два
отдельных датчика)
3 Дополнительный датчик оборотов двигателя
4 Топливный клапан
5 ТНВД
6 Регулятор (датчик положения рейки ТНВД, главный датчик оборотов двигателя и установочный соленоид цикловой подачи топлива)
7 Датчик температуры охлаждающей жидкости
Расположение элементов на 14- литровом двигателе

1 Монтажный блок, соединяющий блок управления EDC с элементами системы EDC, установленными на двигателе
2 Датчик перемещения иглы распылителя форсунки
3 Датчик температуры охлаждающей жидкости
4 Датчик давления и температуры наддувочного воздуха (могут быть установлены два отдельных датчика)
5 Основной датчик оборотов двигателя
6 Дополнительный датчик оборотов двигателя
7 Регулятор (датчик положения рейки ТНВД и установочные соленоиды: цикловой подачи топлива и угла опережения впрыскивания топлива)
8 Топливный клапан
9 ТНВД
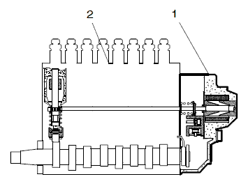
Регулятор ТНВД E15
Блок управления EDC связан со следующими элементами регулятора ТНВД:
• Датчиком положения рейки ТНВД
• Установочным соленоидом управления цикловой подачей топлива
• Установочным соленоидом управления моментом (углом) опережения впрыскивания топлива (для 9-и и 14-и литровых двигателей).
• Основным датчиком оборотов двигателя. Этот датчик расположен в корпусе регулятора 12-и литрового дизеля транспортного средства.

1 Регулятор необходим для регулирования цикловой подачи топлива
2 ТНВД

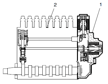
1 Регулятор необходим для регулирования угла опережения впрыскивания топлива и цикловой
подачи топлива
2 ТНВД
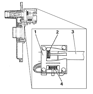
Датчик положения рейки ТНВД
Датчик положения рейки ТНВД сообщает блоку управления EDC о текущем положении рейки топливного насоса.
Датчик положения рейки ТНВД состоит из стального сердечника, измерительной катушки и контрольной катушки.
Сигнал измерительной катушки сообщает положение рейки ТНВД. Величина сигнала изменяется при перемещении рейки ТНВД.
Сигнал контрольной катушки позволяет блоку управления учитывать внешние факторы, такие как, например, температуру, изменение которой в значительной степени влияет на величину сигнала измерительной катушки. Сигнал контрольной катушки не изменяется при перемещении рейки ТНВД.

1 Стальной сердечник
2 Измерительная катушка
3 Рейка ТНВД
4 Контрольная катушка
Установочный соленоид цикловой подачи топлива
Установочный соленоид цикловой подачи топлива перемещает рейку ТНВД в положение полной подачи. Установочный соленоид, перемещаясь, сжимает возвратную пружину, которая стремится
переместить назад рейку ТНВД.
Установочный соленоид запитывается бортовым напряжением +24 В от реле питания и соединяется с "массой" через контакты 1 и 2 блока управления EDC.
Блок управления регулирует величину тока через соленоид, что, таким образом, позволяет изменять положение рейки ТНВД.
Увеличение тока перемещает рейку ТНВД в сторону увеличения цикловой подачи и наоборот.
При разрыве цепи, рейка ТНВД возвратной пружиной перемещается в сторону выключения подачи топлива.

1 Установочный соленоид изменения цикловой подачи топлива
2 Возвратная пружина
3 Рейка ТНВД
Установочный соленоид изменения момента (угла) опережения впрыскивания топлива
Установочный соленоид изменения момента (угла) опережения впрыскивания топлива монтируется только на некоторых регуляторах. Он проворачивает валик изменения хода плунжера в сторону раннего впрыскивания топлива. Соленоид, перемещаясь, против действия возвратной пружины, стремится повернуть валик.
Установочный соленоид запитывается бортовым напряжением +24 В от реле питания и соединяется с "массой" через контакты 3 и 4 блока управления EDC.
Блок управления регулирует величину тока через соленоид, который, в свою очередь, изменяет положение валика изменения хода плунжера. При возрастании тока, валик изменения хода плунжера поворачивается в сторону величения момента (угла) опережения впрыскивания топлива и наоборот.
При разрыве цепи, валик повернется в обратную сторону посредством обратной пружины, в результате угол опережения уменьшится.

1 Установочный соленоид угла опережения впрыскивания топлива
2 Возвратная пружина
3 Валик изменения ходо плунжера

Установочный соленоид угла опережения зажигания поворачивает валик изменения хода плунжера в сторону увеличения угла опережения впрыскивания топлива.
Основной датчик оборотов двигателя
Основной датчик оборотов двигателя регулятора воспринимает импульсы колеса, установленного на вращающемся кулачковом валу ТНВД.
Когда блок управления EDC обнаруживает неисправность, появляется код неисправности 12.
Примечание: Датчик чувствителен к полярности, поэтому его клеммы должны быть соединены так, как указывается ниже.
Клемма 21— напряжение сигнала.
Клемма 13 — "масса".
• Основной датчик частоты вращения двигателя T74. Этот датчик установлен на автомобилях с блоком управления EDC MS5 и с 9-и и 14-и литровых двигателях.
• Основной датчик оборотов коленчатого вала двигателя взаимодействует со вспомогательным датчиком оборотов.
Датчики частоты вращения коленчатого вала двигателя
Система EDC оборудована двумя датчиками частоты вращения коленчатого вала двигателя: Основным и вспомогательным датчиками. Датчики - индуктивного типа.
По причине безопасности, блок управления считывает показания показания датчика толвко при достижении максимальной частоты вращения коленчатого вала двигателя.
Если блок управления EDC не получает сигнал от одного из датчиков, крутящий момент двигателя будет ограничен. При появлении пропавшего сигнала, двигатель снова вернется в нормальный режим
работы.
Если блок управления не получает сигналов ни от одного из датчиков, то запуск двигателя становится невозможным. Если потеря сигналов случится во время работы двигателя, он будет заглушен.
На следующей странице приведено более подробное описание обоих датчиков.

Основной датчик оборотов коленчатого вала двигателя T74 (расположен в картере маховика)
Примечание: Основной датчик оборотов коленчатого вала двигателя T74 устанавливается на автомобилях с 9-ю и 14-ю литровыми двигателями.
По краю маховика просверлено некоторое количество отверстий. При вращении маховика основной датчик оборотов реагирует на прохождение каждого отверстия и посылает в блок управления EDC соответствующий импульсный сигнал.
Это позволяет блоку управления EDC вычислить угол поворота и частоту вращения коленчатого вала.
Блок управления воспринимает напряжение от основного датчика оборотов через клеммы 21 и 13.
Если блок управления обнаруживает отказ, то он устанавливает код неисправности 12.
Примечание: Датчик оборотов чувствителен к изменению полярности, поэтому его клеммы должны быть соединены так, как показано ниже.
клемма 21 — напряжение сигнала.
клемма 13 — "масса".
Вспомогательный датчик оборотов коленчатого вала двигателя T75
Вспомогательный датчик оборотов коленчатого вала двигателя воспринимает импульсы зубчатого венца вращающегося маховика. Это позволяет блоку управления также вычислить частоту вращения
коленчатого вала.
Блок управления воспринимает сигнал напряжения датчика скорости между клеммами 22 и 17.
Если блок управления обнаруживает отказ, то он устанавливает код неисправности 13.
Примечание: Датчик чувствителен к полярности, поэтому его клеммы должны быть соединены так, как указывается ниже.
клемма 22 — напряжение сигнала.
клемма 17 — "масса".
Топливный клапан V45
Топливный клапан это клапан электромагнитного типа, который открыт при подаче на него бортового напряжения при включенном зажигании. Поэтому при удалении воздуха из топливной системы, на
топливный клапан должно быть подано напряжение.
Топливный клапан получает напряжение в +24 В от клеммы 14 блока управления EDC и "массы" через шасси автомобиля.

Датчик перемещения иглы распылителя форсунки T76
Датчик перемещения иглы, встроенный в корпус форсунки, распознает перемещение иглы распылителя форсунки, то есть когда топливо начинает впрыскиваться в цилиндр двигателя. Такой датчик применяется в двигателях с переменным углом опережения впрыскивания топлива. В этом случае
только один цилиндр (первый) оборудуется форсункой с датчиком перемещения иглы распылителя. Этот датчик - индуктивного типа. Он намагничивается током от блока управления.
Датчик перемещения иглы распылителя получает напряжение с клеммы 32 блока управления EDC и "массовой" клеммы 17.

Датчик давления наддува и температуры наддувочного воздуха
Датчики давления наддува и температуры наддувочного воздуха могут быть либо объединены в один узел (Т47), либо состоять из двух отдельных узлов (Т31 и Т32). Однако функции датчиков одни и те же.

T47 — комбинированный датчик давления наддува и температуры наддувочного воздуха.

T31 — датчик давления наддува

T32 — датчик температуры наддувочного воздуха.
Датчик давления наддува, T47 или T31
Датчик давления наддува измеряет абсолютное давление во впускном коллекторе двигателя, то есть атмосферное давление плюс избыточное давление, которое обеспечивается турбокомпрессором.
Блок управления EDC использует сигнал датчика давления воздуха, для того чтобы ограничивать цикловую подачу топлива, когда абсолютное давление во впускном коллекторе падает ниже определенного уровня. Чем меньше давление, тем меньшее количество топлива блок управления подает
через ТНВД. В этом случае исключается возможность формирования черного дыма (сажи) в отработавших газах двигателя.
Датчик работает от напряжения питания +5 В, подаваемого от клеммы 33 блоком управления EDC и "массовый" провод через клемму 13.
Клемма 36 блока управления получает сигнал напряжения от датчика. Напряжение сигнала прямо пропорционально давлению воздуха во впускном трубопроводе. Высокое давление наддува инициирует высокое значение напряжения сигнала и наоборот.
При нарушении вида и/или формы сигнала, блок управления оперирует с наперед запрограммированным значением давления— в то время как появляется код неисправности 16.
В качестве меры безопасности, момент двигателя ограничивается.
Датчик температуры наддувочного воздуха, T47 или T32
Датчик температуры наддувочного воздуха воспринимает температуру во впускном коллекторе двигателя. Блок управления EDC использует сигнал датчика температуры воздуха для тонкой
регулировки цикловой подачи топлива, с тем чтобы исключить дымление двигателя. Чем теплее воздух на впуске, тем больше ограничивает цикловую подачу топлива блок управления.
Датчик NTC типа (с отрицательным температурным коэффициентом), что означает зависимость его сопротивления от температуры. При увеличении температуры сопротивление датчика падает.
Датчик соединен с "массой" через клемму 13. Блок управления определяет уровень напряжения между клеммами 13 и 55.
Если величина напряжения выходит за установленный диапазон, блок управления переходит в режим работы по заранее запрограммированному значению температуры — причем, в этот момент
появляется код неисправности 15.
Двигатель реагирует на эти изменения медленнее, чем обычно на перемещение акселератора при работе холодного двигателя, поскольку ограничитель "белого дыма" адекватно не срабатывает.
Датчик температуры охлаждающей жидкости T33
Датчик температуры охлаждающей жидкости оказывает влияние на величину цикловой подачи топлива при запуске двигателя. Он также оказывает влияние на величину оборотов холостого хода и на
величину максимальной частоты вращения коленчатого вала двигателя при работе холодного двигателя.
Если при запуске двигателя блок управления EDC получает сигнал о низкой температуре охлаждающей жидкости (запуск холодного двигателя), то происходит следующее. Если двигатель не запустился в течение 2 секунд, цикловая подача топлива последовательно увеличивается до тех пор, пока двигатель не запустится.
Сразу же после холодного запуска, обороты двигателя ограничиваются 1000 об/мин, для того, чтобы сохранить двигатель — обороты холостого хода двигателя поднимаются до 600 об/мин.
Продолжительность действия ограничения оборотов двигателя зависит от температуры охлаждающей жидкости:
Ниже +10 °C - 30 секунды
Выше +20 °C - 3 секунды
Обороты холостого хода приходят к нормальному уровню, когда температура охлаждающей жидкости поднимается до 50 °C.
Датчик соединен с "массой" через клемму 13. Блок управления EDC определяет уровень напряжения на
клеммах 13 и 53.
Если измеренное напряжение выходит за допустимый диапазон, блок управления переходит в режим заранее запрограммированного значения температуры охлаждающей жидкости — причем, одновременно с этим, появляется код неисправности 14.
При этом характеристики холодного запуска двигателя ухудшаются, а частота холостого хода увеличивается до 600 об/мин и не может регулироваться водителем.

Монтажный блок
Монтажный блок двигателя соединяет элементы системы EDC двигателя с системой электрооборудования шасси автомобиля. Монтажный блок защищает разъемы от загрязнений и повреждений.
Все элементы системы EDC двигателя соединены проводами, соединяющимися в монтажном блоке.
