Автономный отопитель Stroco
Общая информация
Отопитель Stroco в автобусах OmniLink обычно расположен с правой стороны моторного отсека.
В автобусах Omni Express он обычно расположен над глушителем сзади с левой стороны. На автомобилях с короткой колесной базой дополнительный отопитель, напротив, расположен с правой стороны заднего моста.
Отопитель Stroco поставляется в двух вариантах исполнения: для работы на дизельном топливе или на биодизельном топливе. Эти варианты исполнения отличаются пластинами в камере сгорания и фотоэлементами. Данное руководство применимо ко всем трем дополнительным отопителям.
Дополнительный отопитель запускается таймером, который расположен в зоне водителя. В автобусах OmniExpress для запуска дополнительного отопителя используется бортовой компьютер или кнопка на панели управления микроклиматом в зоне водителя.
Дополнительный отопитель подключен к штатной системе отопления автобуса.
Описание элементов
Дополнительный отопитель состоит из теплообменника и камеры сгорания с нагнетателем воздуха. Большая часть узлов расположена под защитным кожухом дополнительного отопителя.
Центробежный нагнетатель с электрическим приводом подает через отверстия камеры сгорания воздух, необходимый для сгорания топлива. Подача воздуха может регулироваться поворотом заслонки, которая расположена в крышке нагнетателя.
Топливный фильтр расположен снаружи корпуса дополнительного отопителя.
Топливный насос через форсунку подает топливо в камеру сгорания, где оно тонко распыляется. Топливовоздушная смесь поджигается искрой между электродами. Процесс сгорания топлива происходит в жаровой трубе, которая расположена внутри корпуса отопителя.
Для контроля за процессом горения топлива и управления электрическими элементами отопителя служит отдельный блок управления.
Водяной насос обеспечивает циркуляцию охлаждающей жидкости.


- 1 Корпус
- 2 Кронштейн для топливного фильтра (топливный кран не показан)
- 3 Фитинг топливного фильтра
- 4 Кронштейн
- 5 Фильтрующий элемент
- 6 Коленчатый штуцер 1/4 x 1/4 RG
- 7 Хомут
- 8 Топливопровод - всасывающий
- 9 Топливопровод - обратный
- 10 Датчик
- 11 Предохранитель
- 12 Провод
- 13 Шпилька 8 мм
- 14 Прокладка
- 15 Жаровая труба
- 16 Камера сгорания
- 17 Болт 4 мм
- 18 Гайка 8 мм
- 19 Сопло
- 20 Пластина
- 21 Предварительный подогреватель
- 22 Топливный трубопровод
- 23 Держатель форсунки
- 24 Держатель электродов
- 25 Электроды воспламенения
- 26 Фотоэлемент LDR
- 27 Прерыватель зажигания
- 28 Плата реле
- 29 Реле циркуляционного насоса
- 30 Блок управления
- 31 Фланец
- 32 Крепление катушки зажигания
- 33 Катушка зажигания
- 34 Жгут электропроводки
- 35 Электродвигатель вентилятора
- 36 Корпус нагнетателя, сторона электродвигателя
- 37 Рабочее колесо воздушного нагнетателя
- 38 Штуцер
- 39 Крышка корпуса нагнетателя (со стороны подвода воздуха)
- 40 Воздушная заслонка
- 41 Топливный насос
- 42 Электромагнитная катушка
- 43 Гайка
- 44 Защитный кожух
- 45 Топливопровод
- 46 Отопитель
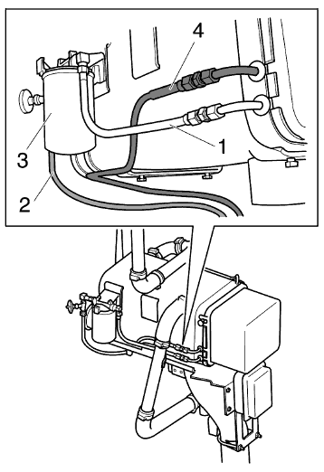
Топливопроводы
Топливопроводы (8), (9) и шланг (45), показанные на рис. на стр. 12, подсоединены по схеме, которая показана на этой иллюстрации.
Более короткий нижний шланг (1) является заборным и подсоединен со стороны фильтрующего элемента топливного фильтра (3) к нижнему топливопроводу. Топливо поступает из топливного бака в фильтрующий элемент топливного фильтра, который установлен на длинном заборном шланге (2). Верхний шланг (4) является возвратным и подсоединен к верхнему топливопроводу.

Предварительный подогреватель топлива
Нагревательный элемент предварительного подогревателя топлива (21) расположен в держателе форсунки, которую он также подогревает. Предварительный подогрев обеспечивает надежное поджигание топлива при холодном запуске отопителя. Предварительный подогреватель топлива включается на стадии запуска отопителя и выключается в процессе работы отопителя.
В зависимости от типа топлива, используются предварительные подогреватели топлива разной мощности и с разными пластинами (20).
• Дизельное топливо: 60 Вт
• Биодизель: 160 Вт
• Этанол: Предварительный подогреватель топлива отсутствует.
Топливный насос
Топливный насос (43) расположен на крышке нагнетателя воздуха (41) и приводится от вала электродвигателя (37) нагнетателя. Электромагнитный клапан топливного насоса управляет подводом топлива к форсунке. Для удаления воздуха из топливного насоса служит сливная магистраль.
Минимальное допустимое напряжение (по срабатыванию защиты)
Дополнительный отопитель снабжен защитой от падения электрического напряжения, которая срабатывает при снижении напряжения до минимального допустимого уровня 20,5 В.
Защита от перенапряжения
Дополнительный отопитель снабжен защитой от скачков электрического напряжения, которая срабатывает при повышении напряжения до максимального допустимого уровня.
Электрическая схема дополнительного отопителя

- X1 Разъем блока управления
- X2 Главный разъем
- X3 Разъем предварительного подогревателя форсунки
- X4 Разъем электромагнитной катушки
- X5 Разъем
- X6 Разъем
- X7 Разъем
- X8 Разъем
- X9 Разъем фотоэлемента
- X10 Разъем термостата
- X11 Предварительный подогрев форсунки
- X12 Электромагнитная катушка
- X13 Катушка зажигания
- X14 Прерыватель зажигания
- X15 Фотоэлемент
- X16 Датчик термостата
- X17 Разъем электродвигателя нагнетателя
- X18 Разъем теплового реле защиты от перегрева
- X19 Разъем электродвигателя нагнетателя
- X20 Разъем циркуляционного насоса
- X21 Тепловое реле защиты от перегрева
- X22 Электродвигатель вентилятора
- X23 Реле циркуляционного насоса
- X24 Циркуляционный насос
- X25 Накопитель
- X26 Предохранитель: 10 A для циркуляционного насоса (X24), 15 A для дизельного или этанольного отопителя, 20 A для биодизельного отопителя
- P1 Главный выключатель
Функционирование отопителя
Перед запуском камеры сгорания производится предварительная 120-секундная продувка, при этом работает нагнетатель воздуха и на электроды подается напряжение. После 120-секундной продувки включается электромагнитный клапан топливного насоса и одновременно с ним таймер устройства безопасности. После появления устойчивого пламени форсунка продолжает работать до тех пор, пока датчик температуры не выключит подачу топлива. При этом начинается заключительная продувка камеры сгорания. После снижения температуры термостат снова замыкает электрическую цепь. Процедура запуска камеры сгорания начинается с продувки. Однако в данном случае продувка продолжается только 10 секунд.
Неисправность
Меры обеспечения безопасности
• Если топливо не воспламеняется в процессе запуска отопителя, реле защиты остается включенным примерно в течение 10 секунд, после чего оно выключается, и начинается заключительная продувка камеры сгорания продолжительностью 120 секунд.
• Если процесс горения прекращается во время работы дополнительного отопителя, реле защиты включает зажигание в течение 15 секунд, для того чтобы восстановить горение. Если это не удается, подача топлива прекращается и запускается период заключительной продувки продолжительностью 120 секунд.
• В случае перегрева срабатывает тепловое реле защиты и подача топлива сразу прекращается.
• Если напряжение падает ниже 20,5 В ± 1,0 В более чем на 20 секунд, то подача топлива прекращается.
Повторный запуск
• Если дополнительный отопитель выключился из-за неисправности, то прежде чем можно будет вновь запустить его, необходимо перевести выключатель отопителя на несколько секунд в нулевое положение. Это выполняется с помощью кнопки 7 на панели управления отопителем. Естественно, что перед повторным запуском отопителя необходимо определить и устранить причину неисправности.
• Если дополнительный отопитель выключился из-за перегрева, то прежде чем можно будет вновь запустить его, необходимо снять блокировку. Для этого следует нажать на выключатель теплового реле. Тепловое реле может быть возвращено в исходное состояние, только если температура охлаждающей жидкости опустилась ниже 60°C.
• Перед повторным запуском дополнительного отопителя обязательно проверяйте причину его отключения.
Диагностика неисправностей
Подготовка
Ниже приведен перечень простых проверочных операций, выполнение которых должно предшествовать диагностике неисправностей непосредственно дополнительного отопителя.
1 Проверьте исправность плавких предохранителей дополнительного отопителя.
2 Проверьте надежность соединения блока управления с «массой». Сила тока достигает примерно 15 A.
3 Убедитесь в наличии электрического питания блока управления от панели приборов.
4 Проверьте, не сработало ли тепловое реле защиты от перегрева. Измерьте сопротивление электрической цепи защиты от перегрева. Если защита от перегрева не сработала, то электрическая цепь будет замкнута.
5 Убедитесь в наличии топлива.
ВНИМАНИЕ!
Дополнительные отопители, работающие на этаноле, должны регулярно запускаться, чтобы избежать утечки топлива.
Отсутствие пламени
Возможные причины
• Воздух во всасывающей магистрали
• Всасывающий топливопровод закупорен.
• Топливный электромагнитный клапан не открывается.
• Грязь в топливной системе.
• Низкая температура топлива (только биодизель)
• Перепутаны местами топливопроводы
• Отсутствие искры из-за неисправности катушки зажигания, прерывателя зажигания или кабеля системы зажигания, или из-за короткого замыкания электродов.
Проверка элементов
Проверка всасывающей магистрали топливного насоса
Если топливо не поступает в насос:
Убедитесь в наличии топлива в баке.
Присоедините прозрачную трубку к штуцеру всасывающего топливопровода и проверьте наличие в топливе воздушных пузырьков.
Если всасывающий топливопровод засорен работа топливного насоса будет сопровождаться гулом. В этом случае проверьте, не забит ли топливный фильтр, всасывающий топливопровод или форсунка.
Топливный фильтр
Проверьте герметичность соединений топливного фильтра.
Электромагнитный клапан топливного насоса
1 Измерьте электрическое напряжение на катушке клапана. Для этого присоедините вольтметр к контактному выводу 2 разъема и к «массе».
Примечание: Напряжение подается только после окончания фазы предварительной продувки и отключается спустя примерно 10 секунд, если фотоэлемент не среагировал на пламя.
2 При наличии напряжения проверьте (например, с помощью отвертки), работает ли электромагнитная катушка клапана.
Проверка напорной магистрали топливного насоса
Проверка и регулировка давления топлива
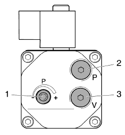
1 Подсоедините манометр к контрольному выводу насоса P для проверки давления (2).
Подсоедините манометр к контрольному выводу топливного насоса с помощью гибкого, коленчатого вставного соединения (90°), расположенного на проверочном шланге.
2 Подсоедините манометр к контрольному выводу насоса V для проверки разрежения (3).
Разрежение не должно превышать -0,4 бар.
Слишком высокое разрежение может быть обусловлено закупоркой топливного фильтра или сетчатого фильтра топливопровода.

Топливный насос, новый вариант.
- 1 Регулировочный винт
- 2 Контрольный вывод Р
- 3 Контрольный вывод V

- Топливный насос, старый вариант.
3 Закрепите манометры на крышке моторного отсека при помощи хомутиков.
4 Запустите дополнительный отопитель.
5 С помощью регулировочного винта (1) установите давление топлива и разрежение.
Нестабильное давление топлива свидетельствует о наличии воздуха во всасывающем топливопроводе или о неисправности насоса.
6 Измерьте содержание CO2 в отработавших газах и при необходимости отрегулируйте значения. Значения могут варьироваться, когда отопитель прогрет, и при его запуске и остановке.

Проверка функционирования электродов системы зажигания
ПРЕДOCTEPEЖЕНИЕ
Помните о том, что на электроды подается высокое напряжение. Неосторожность может привести к несчастному случаю с летальным исходом.
Используйте проверочный инструмент компании Stroco для проверки функционирования. Если проверочный инструмент компании Stroco отсутствует, следуйте инструкциям ниже.
Примечание: Для проверки функционирования системы зажигания необходимо соединить накоротко контакты теплового реле защиты от перегрева.
1 Снимите защитный корпус.
2 Рассоедините разъем датчика температуры.

- Разъем датчика температуры

- Разъем теплового реле защиты от перегрева
3 Рассоедините разъем теплового реле защиты от перегрева
4 Отсоедините топливопроводы.
5 Отверните две гайки крепления камеры сгорания и выньте ее из теплообменника.
6 Снимите разъем электромагнитной катушки, см. Электромагнитная катушка.
7Запустите дополнительный отопитель, чтобы проверить наличие разряда между электродами.

Возможные причины отсутствия разряда:
• Неисправен кабель системы зажигания.
• Топливная форсунка находится не в центре камеры сгорания. Проверьте, как показано на рисунке.
• Камера сгорания имеет овальное отверстие. Проверьте, как показано на рисунке.

• Нарушение правильной установки электродов. Проверьте, как показано на рисунке.
• Загрязнение электродов.
• Неисправен фарфоровый изолятор электродов.
• Неисправна катушка зажигания, прерыватель зажигания или блок управления.

Фотоэлемент
• Если фотоэлемент не дает сигнала пламени (горение топлива должно начаться после предварительной продувки), реле защиты прерывает рабочий цикл отопителя.
• Если фотоэлемент замкнут накоротко или неисправен по другой причине, реле защиты прерывает рабочий цикл отопителя.
• Проверьте правильность установки фотоэлемента, а также не загрязнен ли фотоэлемент. Замените фотоэлемент, если он неисправен.
Датчик температуры
Неисправность датчика температуры проявляется в том, что отопитель продолжает работать и после достижения заданной температуры охлаждающей жидкости, что приводит в конечном счете к срабатыванию теплового реле защиты от перегрева.
Измерьте напряжение датчика температуры.
В процессе работы отопителя (фаза нагрева) напряжение сигнала датчика должно снижаться до 2,5 В в момент выключения отопителя.
С другой стороны, напряжение сигнала датчика должно увеличиться примерно до 3,6 В в момент включения отопителя в работу.
Если напряжение сигнала датчика не изменяется в процессе работы отопителя, то датчик неисправен и подлежит замене.
Тепловое реле защиты от перегрева
Защита от перегрева не позволяет температуре в системе превысить 110°C. Если сработала защита от перегрева, то для того чтобы снять блокировку, необходимо нажать на выключатель, расположенный под крышкой рядом с датчиком температуры. Выключатель может быть утоплен (блокировка снята), только после того как температура охлаждающей жидкости снизится до 60°C.
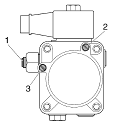
Регулировка подачи воздуха
Расход воздух регулируется при установке правильного давления топлива путем отпускания винтов (1) и поворота воздушной заслонки (2).
Правильность регулировки проверяется по составу отработавших газов. Для получения сведений о токсичности отработавших газов.

- 1 Болты воздушной заслонки
- 2 Воздушная заслонка
Дополнительный отопитель, работающий на дизельном топливе
Если топливо сгорает не полностью и отопитель выбрасывает черный дым, или если в камеру сгорания поступает слишком много воздуха и отопитель выбрасывает сизый дым, необходимо отрегулировать подачу воздуха.
Дополнительный отопитель, работающий на этаноле
Если дополнительный отопитель работает на этаноле, то отработавшие газы бесцветны.
Дополнительный отопитель, работающий на биодизельном топливе
Если дополнительный отопитель правильно отрегулирован, в отработавших газах не будет дыма. В случае появления дыма замените форсунку.